Тема дипломной работы: “Управление персоналом промышленного предприятия в условиях формирования рыночных отношений”.
План.
Введение.
Глава. 1.
Теоретические основы управления персоналом.
1.1. Эволюция теории и практики управления персоналом.
1.2. Планирование и управление персоналом в структуре общих
управленческих задач предприятия.
1.3. Специфика управления персоналом в условиях рыночных
отношений
Глава 2.
Система управления персоналом предприятия.
2.1. Характеристика системы управления персоналом
предприятия.
2.2. Функции системы управления персоналом.
2.3. Проблемы формирования и управления персоналом.
Глава 3. Совершенствование управления персоналом предприятия.
3.1. Современные методы и стили управления персоналом.
3.2. Рекомендации по формированию трудового коллектива.
3.3. Рекомендации по использованию этики в управлении персоналом.
Заключение.
Литература.
Введение.
С начала века (т.е. момента зарождения современной теории управления как науки) и до 60-х годов руководителей мало интересовали проблемы, возникающие за пределами предприятий, а именно: конкуренция, вопросы сбыта и другие внешние проблемы. Работа фирмы рассматривалась с точки зрения закрытой системы.
На таких принципах до настоящего времени базировалась управленческая деятельность и в нашей стране.
Лишь с развитием общества, усложнением выпускаемой продукции, ростом наукоемких производств управленческая наука стала подходить к решению возникающих проблем, исходя из того обстоятельства, что работа фирмы во многом обусловлена внешней средой.
С другой стороны, в своем развитии управленческая мысль постепенно пришла к пониманию того, что эффективное функционирование производственных структур, получение максимальной прибыли, что особенно актуально в условиях рынка, возможно лишь при совпадении интересов и целей фирмы с интересами персонала, т.е. руководителей, рабочих и служащих.
В последние годы в науке об управлении производственными организациями наблюдается коренное изменение представлений о роли персонала в деятельности предприятия. В отличии от господствовавших ранее взглядов, экономически включавших персонал в категорию издержек, подлежащих строгому контролю и возможно большему сокращению, появилась концепция управления человеческими ресурсами, в соответствии с которой персонал представляет собой один из важнейших ресурсов предприятия, который по своей экономической природе нуждается в эффективном и многоплановом управлении, включающем, как необходимый фактор, обеспечение социального, профессионального и структурного развития персонала. Согласно современным представлениям, стратегия управления персоналом является существенной составной частью стратегии предприятия и должна разрабатываться и реализовываться в соответствии перспективными задачами развития предприятия.
Забиваем Сайты В ТОП КУВАЛДОЙ - Уникальные возможности от SeoHammer
Каждая ссылка анализируется по трем пакетам оценки: SEO, Трафик и SMM.
SeoHammer делает продвижение сайта прозрачным и простым занятием.
Ссылки, вечные ссылки, статьи, упоминания, пресс-релизы - используйте по максимуму потенциал SeoHammer для продвижения вашего сайта.
Что умеет делать SeoHammer
— Продвижение в один клик, интеллектуальный подбор запросов, покупка самых лучших ссылок с высокой степенью качества у лучших бирж ссылок.
— Регулярная проверка качества ссылок по более чем 100 показателям и ежедневный пересчет показателей качества проекта.
— Все известные форматы ссылок: арендные ссылки, вечные ссылки, публикации (упоминания, мнения, отзывы, статьи, пресс-релизы).
— SeoHammer покажет, где рост или падение, а также запросы, на которые нужно обратить внимание.
SeoHammer еще предоставляет технологию Буст, она ускоряет продвижение в десятки раз,
а первые результаты появляются уже в течение первых 7 дней.
Зарегистрироваться и Начать продвижение
В настоящей дипломной работе одной из основных целей является исследование возможностей и перспектив планирования, формирования и управления персоналом как одной из важных управленческих проблем предприятия.
Эта цель в дипломной работе достигается на базе конкретного предприятия электротехнической промышленности – заводе “Электрощит” г. Самара.
В первой главе работы даны теоретические основы управления персоналом, а во второй и третьей главах – отражен опыт работы с персоналом на исследуемом предприятии, а также разработки и рекомендации по совершенствованию управления персоналом предприятия.
Глава 1. Теоретические основы управления персоналом
1.1.Эволюция теории управления персоналом.
Теории управления и прежде всего управления людьми в процессе производственной деятельности описывается авторами с различных позиций. Например, Р. Скотт, рассматривал теорию управления в развитии с двух точек зрения: с точки зрения закрытой и открытой систем и с точки зрения рационального и социального факторов[1]
. Он выделил четыре этапа в развитии теории и практики управления. При этом под открытой системой он понимал систему, воспринимающую и реагирующую (в отличии от замкнутой) на внешние воздействия, будь то изменение цен на сырье, ужесточение конкурентной борьбы или другие факторы.
Рациональный же фактор управления, в противовес социальному, низводит роль человека в процессе производства до простого механизма, отдавая приоритет чисто техническим аспектам.
Выделенные Р. Скотом четыре этапа достаточно удачно конкретизируются и дополняются классификацией А. Силадьи[2]
, который характеризует теории управления на фоне эволюции среды (прежде всего науки и промышленности), а также управленческим континуумом Клода Ст. Джоржа – младшего (табл. 1)[3]
.
Таблица 1.
Эволюция теории управления персоналом.
| Вклад в развитие науки |
Выдающиеся представители |
Внешняя среда |
| Классическая школа |
Научное управление; система контроля; хронометраж;
Сервис онлайн-записи на собственном Telegram-боте
Попробуйте сервис онлайн-записи VisitTime на основе вашего собственного Telegram-бота:
— Разгрузит мастера, специалиста или компанию;
— Позволит гибко управлять расписанием и загрузкой;
— Разошлет оповещения о новых услугах или акциях;
— Позволит принять оплату на карту/кошелек/счет;
— Позволит записываться на групповые и персональные посещения;
— Поможет получить от клиента отзывы о визите к вам;
— Включает в себя сервис чаевых.
Для новых пользователей первый месяц бесплатно.
Зарегистрироваться в сервисе
Изучение движений; функции управления; административная теория
|
Гант (1908), Тейлор (1911), Гилберт (1914), Черч (1914), Файоль (1916), Муни и Рейли (!931), Девис (1935), Урвик (1943), Гьюлик (1943). |
Рост размеров организации; рост рынка товаров и услуг; первая мировая война; депрессия; постиндустриальная революция; снижение роли собственника в управлении; рост влияния профессиональных менеджеров. |
| Поведенческая школа |
| Партисипативный подход; прикладная мотивация; профессиональные менеджеры; хоторнские исследования; управление в целом. |
Ротлисбергер (1939), Барнард (1938), Мэйо (1945), Друкер (1945), Макгрегор (1960), Ликерт (1961). |
Вторая мировая война; рост профсоюзов; потребность в подготовленных менеджерах. |
| Школа управленческой науки |
| Исследование операций; моделирование; теория игр; теория решений; математические модели. |
Черчмен (1957), Марч и Саймон (1958), Форрестер (1961), Райфа (1968). |
Рост размеров корпораций,; конгломераты; “холодная война”; спад производства; военно-промышленный комплекс. |
| Ситуационный подход в управлении |
| Динамическое окружение; органикомеханистическая теория; матричные разработки; социальная ответственность; организационные изменения; информационная система. |
Бернс Сталкер (1961), Вудфорт (1965), Томпсон (1967), Лоуренц и Лорш (1967). |
Расширяющаяся экономика; космическое соперничество; высокотехнологичные продукты; война во Вьетнаме; борьба за гражданские права; рост числа профессий, требующих высокой квалификации. |
С другой стороны, как это видно в табл. 1, имеет место эволюция и в другом направлении – от рационального фактора к социальному. Рациональный (можно назвать – механический ) фактор имеет в виду достижение конкретных целей – прежде всего максимизацию прибыли. Исходя из этого построена вся работа организации.
Таблица 2.
| Закрытая система |
Открытая система |
Фактор
рациональности
|
1. 1900-1930
Вебер
Тейлор
|
3. 1960-1970
Чандлер
Лоуренс
Лорш
|
Фактор
социальный
|
1. 1930-1960
Мэйо и др.
Барнард
Селзинк
|
3. 1970 – по
настоящее время
Уэйк
Марч
|
1.2. Планирование и управление персоналом в структуре общих управленческих задач предприятия.
Одним из подходов к планированию персонала на предприятии может быть следующий . Анализируя миссию предприятия и состояние окружающей его среды ( в это понятие включаются: социальная, экологическая, экономическая, конкурентная, технологическая и другие составляющие) предприятие формулирует основную стратегическую цель - состояние, которое необходимо достигнуть к определенному моменту времени. Например, для предприятия электротехнической отрасли основная цель может быть следующей : “к 2005 году войти в десятку крупнейших производителей электротехнической продукции в России”, или “обеспечить в 2003 году выплаты акционерам по дивидендам в размере 25% текущей курсовой стоимости акций”. Далее необходимо определить способы достижения цели, т.е. разработать собственно стратегию. Под стратегией в данном случае подразумевается стратегия включающая определенный набор и последовательность действий, совокупность методов, реализация которых обеспечит достижение поставленной цели. Например, “расширение сбыта за счет снижения цен на основе применения прогрессивных технологий”, “повышение рентабельности производства за счет выпуска новых, более конкурентоспособных изделий” и т.д.
Для формирования эффективной стратегии, ее авторы должны хорошо прогнозировать изменения внешней среды (характер потребностей клиентов, возможное поведение конкурентов и поставщиков, региональную экологическую и социальную ситуацию, значимые для отраслевой экономики действия государства, изменения на международной экономической арене и т.д.) и состояние внутренних ресурсов предприятия (динамика рабочей силы, состояние производственных мощностей, уровень технологии, финансовое положение и т.д.). Один из эффективных методов анализа состоит в последовательном изучении сильных и слабых сторон предприятия на фоне изучения внешней среды. В основу стратегии кладутся действия, использующие сильные стороны предприятия, реализующие возможности, внешней среды, и блокирующие или уменьшающие действие угроз. На эффективное использование возможностей персонала можно рассчитывать, если стратегия планирования и управления персоналом является составной частью общего стратегического планирования предприятия.
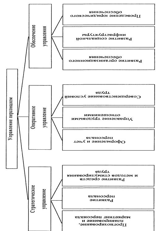
Проведение в жизнь принятой стратегии обеспечивается за счет стратегического и оперативного управления. Укрупненная структура функций, а также роль и место стратегического и оперативного управления, в руководстве персоналом предприятия показана на рис.1[4]
.
  
Рис.1 Структура функций управления персоналом
Кадровое планирование включает применение базисного процесса планирования к решению потребностей человеческого ресурса в организации. Чтобы быть эффективным, любой план человеческого ресурса должен быть основан на долговременных планах организации. В сущности, успех кадрового планирования зависит в значительной степени от того, насколько тесно отдел кадров в состоянии объединить эффективное планирование персоналас плановым процессом организации. К сожалению кадровое планирование подчас недостаточно адекватно связано с полным общим планированием. Ниже проиллюстрированы результаты опроса, имеющего отношение к этой проблеме.
При опросе более чем 9000 менеджеров в 60 компаниях США выяснилось, что кадровое планирование требует значительного усовершенствования[5]
. Реципиенты идентифицировали несколько главных препятствий успешному стратегическому планированию:
1) отказ синхронизировать планирование персонала с циклом стратегического планирования;
2) тенденция планировать в ответ на краткосрочные, текущие проблемы;
3) неадекватная база данных для планирования;
Многие из описанных проблем являются следствием недостаточной координации между проведением плановых операций в отделе кадров и общим планированием.
На эти же проблемы в области управления часто указывают специалисты завода “Электрощит”.
Стратегическое планирование должно отыскивать факторы, которые являются ключевыми для успеха организации.
Процесс планирования должен обеспечивать:
- определение цели организации;
- определение предположений, допущений;
- план действия в свете имеющихся ресурсов, включая обученный персонал.
Кадровое планирование способно оказать значительную поддержку стратегическому процессу планирования при обеспечении средствами для достижения желаемых результатов.
Распространенная ошибка при кадровом планировании - сосредоточение на краткосрочных потребностях и отсутствие коордмнации их с долгосрочными планами организации. Сосредоточенность на краткосрочных потребностях - естественное следствие неинтегрирования кадрового планирования со стратегическим планированием. Этот подход почти всегда ведет к неожиданностям, которые вынуждают отдел кадрового планирования сконцентрироваться на краткосрочных кризисах (замкнутый круг).
Хотя кадровое планирование методически имеет много общего с другими областями планирования, тем не менее по ряду важных аспектов оно от них отличается.
Проблемы кадрового планирования состоят в следующем:
Трудность процесса планирования кадров
, обусловленная сложностью прогнозирования трудового поведения, возможностью возникновения конфликтов и так далее. Возможности использования кадров в будущем и будущее отношение их к работе прогнозируется, если это вообще возможно, с высокой степенью неопределенности. В связи с этим в процессе планирования они представляют собой ненадежные элементы. К тому же участники организации сопротивляются тому, чтобы быть “объектами” планирования, не соглашаются срезультатами планирования и реагируют на это так, что не исключается возможность возникновения конфликта.
Двойственность системы экономических целей в кадровой политике
. Если при планировании в области маркетинга, инвестиций и так далее цели планирования затрагивают экономические аспекты, то при планировании кадров сюда добавляются компоненты социальной эффективности. Если в других областях можно можно оперировать количественными величинами (суммы денег), то данные при кадровом планировании носят преимущественно качественный характер (данные о способностях, оценки проделанной работы).
Итак, полностью эффективным кадровое планирование является лишь в том случае, если оно интегрировано в общий процесс планирования (рис. 2 и 3 ). В качестве интегрированной составной части кадровое планирование обеспечивает предоставление работникам рабочих мест в нужный момент и в необходимом количестве в соответствии с их способностями и склонностями.
Особого внимания заслуживают стратегии управления персоналом, применяемые за рубежом. Основными чертами стратегии, применяемой, например, в Японии, являются :
- система пожизненного найма на одной фирме, до достижения 55-летнего возраста;
- интенсивное вовлечение работников в процессы планирования и принятия решений;
- повышение квалификации на рабочем месте и систематическая ротация персонала;
- высокая степень самоуправления, личной ответственности и самоконтроля работников при различных формах групповой работы;
- относительно большое значение фактора старшинства для продвижения по службе и повышения заработной платы посредством системы бонусов, причем величина зарплаты зависит от прибыльности фирмы.
Во многих странах Европы и США в наиболее сложных (наукоемких) отраслях промышленности, например, автомобилестроения, авиастроения в целях повышения продуктивности труда пытаются изменить традиционные стратегии управления персоналом. Эти стремления вызваны отчасти и боязнью острой конкурентной борьбы с преуспевающими японскими компаниями. Форсируется ведение на производстве работы в группах качества. Создаются более “плоские”, “горизонтальные” управленческие иерархии, за счет значительного сокращения уровней управления, при которых функции координации в основном передаются тем же группам[6]
.
Стратегическое планирование персонала является интегральной составляющей всего планирования на предприятии особенно в таких сферах, как:
- планирование программы и методов сбыта;
- планирование производства и необходимых для этого человеческих ресурсов;
- планирование обеспечения сырьем, материалами и привлечения услуг со стороны;
- планирование капитальных вложений на приобретение имущества долгосрочного пользования;
- финансовое планирование, важным элементом которого является согласование доходов и расходов, в т.ч. и по человеческим ресурсам;
- организационное планирование структуры труда, обеспечивающее
выполнение стоящих перед предприятием задач.
В основе стратегического планирования персонала лежит сравнение потребностей производства в человеческих ресурсах и фактическим их наличием. При обосновании качественного и количественного состава персонала должны быть соблюдены существующие ограничения на финансовые ресурсы, а также учтены внешние и внутренние факторы. На заводе “Электрощит”, в частности, наблюдается следующая показательная, на наш взгляд, тенденция. Некоторые цеха и другие технологические подразделения завода отказываются от планирования численности персонала по принципу лимитов, то есть заранее согласованной и утвержденной на некоторой срок максимальной численности работников и фонда заработной платы, а вместо этого напрямую увязывают свои потребности в трудовых ресурсах исходя из портфеля заказов и оценки производственных перспектив.
Рис.2. Планирование персонала исходя из результатов планирования других сфер.
Рис. 3. Интегральное планирование персонала.
1.3.Специфика управления персоналом в условиях рыночных отношений.
В настоящее время сложилось устойчивое мнение, что эффективность (производительность) предприятия зависит от трех важнейших условий :
- благоприятной деловой окружающей среды;
- правильной стратегии предприятия;
- качества человеческих (особенно управленческих) ресурсов.
Остальные классические факторы производства - капитал, технологии и др. - результат вышеназванных условий. Первые два условия - так же результаты третьего (качества менеджеров и всего человеческого потенциала организации). Многочисленные исследования в разных странах свидетельствуют, что компании, эффективно управляющие человеческими ресурсами, достигают более высокого уровня прибыльности и финансового роста, чем их конкуренты.
Происходящий сдвиг от “кадровой политики” к управлению человеческими ресурсами вызван многими причинами, лежащими в основе структурных перестроек и возрастания роли человека на всех уровнях организации, принятии решения в связи с децентрализацией и приватизационными процессами. В процессе перехода к рыночной экономике руководители должны не только распознавать возможные выгоды и риск, связанный с рынком, не только развивать на базе имеющихся ресурсов соответствующие стратегии, но и управлять процессом развития сознания и основанным на нем организационным процессом. Успех рыночных реформ зависит от того, насколько руководители и менеджеры российских предприятий в состоянии справиться с этой трудной задачей.
Задачи менеджера в условиях рыночной экономики отличаются большим разнообразием. Наряду с профессиональной компетенцией большое значение приобретает методическая подготовленность, как способность к восприятию и интерпретации информации, структурированию проблем, системному мышлению. Менеджер в условиях рынка при управлении персоналом должен основное внимание уделять организационным и социальным взаимосвязям.
Особое значение имеет социальная компетентность менеджера, способность к обобщению, сотрудничеству, разрешению конфликтов, иначе, способность к руководству. Кроме этих способностей руководство персоналом невозможно без умения вести переговоры, достигать поставленных целей, способности к адаптации, обучению, проявление личной инициативы, готовности принимать решения, быть контактным. В условиях рыночных отношений необходимо по новому организовывать и координировать работу, сокращать излишнее потребление ресурсов. На смену практике “план любой ценой” должна придти индивидуальная активность, направленная на качественное улучшение продукции и производственного процесса. В условиях, когда многие исполнители теряют уверенность в себе, для них необходимо руководство со стороны уверенных в себе и в “правоте своего дела” менеджеров. Несмотря на неопределенность положения, необходимо не допускать распространения настроений неуверенности и использовать атмосферу “рывка вперед”.
Менеджер должен уметь справляться с конфликтами, порожденными неуверенностью, разницей в трудовой нагрузке сотрудников, уметь объединять отдельных сотрудников в группы. Требуется в значительной степени больше, чем раньше привлекать персонал к сотрудничеству.
На заводе “Электрощит”, например, создаются группы сотрудников по производственным темам и проектам на ограниченный срок для выполнения конкретных, обычно, инновационных задач, и действующих в значительной мере на принципах внутреннего самоуправления. Использование таких групп имеет важное значение именно в переходный период, поскольку оно:
- приводит сотрудников к выполнению заданий под их собственную ответственность и приучает их оказывать влияние на принятие решений,
- поднимает уровень квалификации и выявляет потенциал сотрудников как руководителей;
- в условиях недостатка соответствующих руководящих сотрудников фирмы или предприятия члены группы могут сыграть замещающую роль.
Планирование потребности в персонале включает:
- оценку наличного потенциала трудовых ресурсов;
- оценку будущих потребностей;
- разработку программ по развитию персонала.
Конкретное определение потребности в персонале представляет собой расчет необходимого числа работников по их количеству, квалификации, времени, занятости и расстановке в соответствии с текущими и перспективными задачами развития предприятия. Расчет производится на основе сравнения расчетной потребности в рабочей силе и фактического состояния обеспеченности на определенную дату и представляет собой информационную основу для принятия управленческих решений в области привлечения персонала, его подготовки и переподготовки.
Таблица 3.
Действующие взаимосвязи в планировании потребности в персонале.
| Факторы |
Их влияние |
Методы определения |
| 1. Факторы, существующие вне предприятия. |
| 1.1.Изменение конъюктуры |
Сбытовые возможности
предприятия
Себестоимость
|
Анализ тенденций,
оценка
|
| 1.2.Изменение структуры рынка |
Анализ рынка |
| 1.3.Конкурентные отношения |
Анализ положения на рынке |
| 1.4.Данные, определяемые экономической политикой |
Анализ экономических данных и процессов |
| 1.5.Тарифное соглашение |
Прогноз последствий, анализ принятых соглашений |
| 2. Факторы, существующие на предприятие (внутренние) |
| 2.1.Запланированный объем сбыта |
Количественные и качественные потребности в кадрах (новый спрос или пониженный спрос) |
Принятие предпринимательских решений в соответствии с оценкой факторов, перечисленных в пункте 1. |
| 2.2.Техника, технология, организация производства и труда |
Численность необходимого персонала
Объем и качество готовой продукции
|
Показатели на основе эмпирических данных организационного характера и науки о труде |
| 2.3.Текучесть кадров |
Дополнительная потребность в работниках для замены выбывших |
Учет убытков |
| 2.4.Простои |
Нерациональное использование персонала
Сокращение объема производства
|
Определение доли текучести кадров и простоев |
| 2.5.Стратегия профсоюза |
Кадровая политика |
Переговоры |
В условиях рыночной экономики на смену административным методам управления персоналом все активнее приходят формы работы с кадрами, основанные прежде всего на заинтересованности в количестве и качестве труда, росте квалификации и профессионализма, конечных результатов работы. Усиливается роль и значение потребностей, интересов, мотивов и стимулов.
Подробное исследование проблемы формирования и развития моти-вационного механизма эффективного труда, роли зарплаты в условиях рыночных отношений проведено в ряде фундаментальных работ. Отмечено, что традиционно действующая, основанная на гарантированных тарифных ставках и должностных окладах, система оплаты труда не заинтересовывает работника трудиться более производительно и качественно, максимально реализовывать свой физический и интеллектуальный потенциал. Поэтому одной из главных задач в управлении персоналом становится возрождение экономической функции заработной платы.
В качестве перспективных форм оплаты труда применяются различные виды бестарифных систем, в том числе с использованием шкалы социальной справедливости, шкалы оценки квалификации, коэффициентов трудового участия, или трудового вклада, “плавающих” окладов и т.п. Однако, несмотря на разные точки зрения и подходы как отечественные, так и зарубежные ученые подтверждают необходимость взаимосвязи вознаграждений за работу и результативности производства.
Характерной особенностью управления персоналом в современных рыночных условиях является вынужденное или плановое высвобождение (сокращение) персонала, вызванное чаще всего продолжающимся сокращением объема промышленного производства в основных отраслях народного хозяйства. С экономической токи зрения высвобождение персонала означает устранение излишней численности персонала и его качественного несоответствия предъявляемым требованиям с целью воссоздания нарушившегося равновесия между количественными и качественными характеристиками рабочих мест и количественными и качественными характеристиками персонала. Это означает преодоление ситуации, при которой расходы на соответствующих работников непропорциональны их трудовому вкладу. Поэтому сокращение персонала и изменение его качественного состава является экономической необходимостью.
Конкретными обстоятельствами, при которых происходит сокращение персонала, являются:
- сокращение происходит на тех рабочих местах и в том количестве, где имеется избыток и несоответствие персонала;
- используемый вариант сокращения должен быть реально осуществим и выверен с правовой точки зрения;
- необходимо минимизировать расходы, связанные с сокращением персонала;
- не должно возникать последующих затрат, связанных с ухудшением климата на предприятии, потерей имиджа или необходимостью производить набор новых работников при изменившихся внешних условиях. Чтобы избегать конфликтов при сокращении, доводы и решения по сокращению должны быть убедительны, а так же чтобы в каждой конкретной ситуации находились компромиссные решения. В настоящее время рекомендуется применять различные варианты высвобождения персонала. Наиболее широко встречаются следующие, используемые, в частности, и на заводе “Электрощит”.
Прекращение найма.
Это обозначает, что на рабочие места, высвобождаемые в результате естественной текучести персонала новые сотрудники не нанимаются. Опыт показывает, что прекращение приема обеспечивает за год сокращение на 5% и более от общей численности.
Перемещение с закрываемых рабочих мест на новые
, которые могут вводится как ввиду резких изменений в сфере деятельности предприятия, так и ввиду их открытия в связи с переходом на новое штатное расписание.
Сокращение регулярной продолжительности рабочего дня.
Отмена (сокращение) сверхурочных.
Введение сокращенного рабочего дня
и активизация использования договоров о занятости неполный рабочий день.
Прекращение выдачи на сторону заказов
, которые предприятие может выполнить собственными силами.
Введение укороченной рабочей недели
. Сокращение рабочего времени практически становится “мотором” рационализации и повышения производительности. В этом варианте происходит сокращение заработной платы.
Отдельные мероприятия по сокращению персонала
, включающие денежные компенсации (тем сотрудникам, которые добровольно уйдут с предприятия).
Может быть принята следующая формула для расчета компенсации (К), действующая на заводе “Электрощит”:
К= Возраст х Стаж х Месячная зарплата /100
Максимальный размер при этом ограничен 12 месячными зарплатами квалифицированного рабочего ( примерно, 30 тыс. руб)[7]
На промышленных предприятиях возможны различные подходы к управлению персоналом. В современной производственной практике можно наблюдать основные черты тейлоровской стратегии управления на производствах с технологически расчлененными, мало меняющимися работами, например, монтажные работы, обслуживание прессов, швейныеработы, ввод данных в компьютеры и т.д. Предпочтение в этих случаях отдается работоспособным, исполнительным работникам с относительно невысокой квалификацией. Нанимаемые работники при соответствующем инструктаже в короткий срок надежно осваивают свои обязанности. За надлежащим выполнением задания и норм следит мастер. Главным инструментом мотивации является вознаграждение в зависимости от объема выполняемой работы в сочетании с заданной нормой производительности. В условиях все более и более усложняющихся производственных и экономических отношений и, обусловленного этим повышения функциональных требований к персоналу, такой подход часто не обеспечивает достижения поставленных целей.
В настоящее время, особенно за рубежом, находит все более широкое применение интегрированная стратегия управления персоналом. Концепция этой стратегии предполагает, что работающий человек мыслит самостоятельно и заинтересованно относится к труду. Поэтому человека на производстве воспринимают как главный ресурс, как ценность,
стимулируют его развитие и используют в соответствии с его конкретными возможностями. Здесь привлекают высококвалифицированных сотрудников с желанием трудиться. Работникам назначаются задания, которые позволили бы им полностью реализовать и повысить имеющуюся у них квалификацию. Функция оплаты труда становится не только инструментом достижения наибольшей производительности, сколько эквивалентом производительности, достигаемой на основе высокой квалификации, сознательного отношения к труду и соответствия профессиональным нормам.
Глава 2. Система управления персоналом предприятия.
2.1 Характеристика системы управления персоналом
предприятия.
В условиях перехода к рыночной экономике резко сократился спрос на отечественную электротехническую продукцию. Из-за этого на ОАО “Самарский завод “Электрощит” скопились большие запасы готовой продукции, произошел резкий спад производства и реализации продукции.
Финансовое положение предприятия последовательно ухудшалось. Динамику объема реализованной продукции (в денежном выражении) можно проследить по таблице 4. В 1994г. объем реализованной продукции по отношению к 1991 г. (в сопоставимых ценах) сократился на 60%, средняя заработная плата сократилась на 42%. Начался отток квалифицированной рабочей силы.
В начале 90-х гг. на предприятии был разработан стратегический план “выживания” и последующего подъема производства. С применением методов системного анализа и декомпозиции, разработанных было обосновано дерево целей и задач предприятия на периоды 1991 - 94 гг. и 1995 - 98 гг. с детализацией до целей и задач отдельных подразделений. Генеральную цель предприятия для первого периода определили так: “Реализация скопившейся на складах электротехнической
Таблица 4
Динамика объема реализованной продукции
Наименование показателей
( годы)
|
1991 |
1992 |
1993 |
1994 |
1995 |
1996 |
1997 |
1998 |
Объем реализован
продукции
(млн. руб.)
|
В действительных
ценах
|
163,3 |
2090,5 |
18824,7 |
54044,0 |
184945 |
219265 |
330000 |
391700 |
в сопоставимых
ценах
|
536585 |
447000 |
345000 |
228000 |
236100 |
269400 |
330000 |
362000 |
| в % к 1991 г. |
100 |
83,3 |
64,3 |
42,5 |
44,0 |
50,2 |
61,5 |
73,0 |
Таблица 5
Динамика структуры выпускаемой продукции
| Структура выпускаемой N. годы продукции в % N. |
1991 |
1992 |
1993 |
1994 |
1995 |
1996 |
1997 |
1998 |
| Электротехника |
58,6 |
57,6 |
47 |
43,8 |
54 |
66.5 |
63,0 |
68,0 |
| Профили и панели |
30.1 |
34,2 |
36,8 |
35,9 |
28,8 |
19,3 |
16,9 |
19,0 |
| Товары народного потребления |
2,7 |
1,9 |
13.4 |
18,6 |
15,6 |
12,8 |
13.5 |
12,0 |
| Прочая продукция |
8,6 |
6,3 |
2,8 |
1,7 |
1,6 |
1,4 |
6,6 |
1,0 |
| Итого |
100 |
100 |
100 |
100 |
100 |
100 |
100 |
100 |
Доля новой продукции в общем
объеме (%)
|
- |
8 |
12 |
14 |
19,6 |
54,4 |
30,9 |
40,0 |
продукции. Диверсификация производства”, для второго периода -“Увеличение выпуска электротехнической продукции на 12- 13%. Доведение объема реализации продукции до уровня не ниже 0,75 от объема 1991 г.
Результаты обоснования целей предприятия в целом и системы управления персоналом как составной части предприятия легли в основу разработки комплекса взаимосвязанных мер по реорганизации производства и повышению эффективности управления персоналом.
Ниже излагаются наиболее значимые аспекты этого комплекса, характеризующие систему управления предприятия в целом и систему управления персоналом, как ее составной части, функционирующих в совершенно новых экономических и организационных условиях:
Для достижения целей первого этапа были реализованы следующие меры.
1. Расширены направления маркетинга, что позволило выявить новую нишу для электротехнической продукции на отечественном рынке - поставка оборудования для оснащения нефтяных и газовых месторождений, т.к. в следствии некоторого увеличения объема добычи нефти и газа и освоения
новых месторождений изменилась потребность в электротехнической аппаратуре для обустройства месторождений.
2. Произведена диверсификация производства - освоен выпуск таких новых видов продукции, как строительные профили и настилы, профилированные строительные панели с утеплителем из пенополиуретана, гаражи, торговые павильоны и киоски, теплицы из перечисленных выше профилей и панелей, металлический штакетник, лопаты и т.п. Их доля в общем объеме производства увеличилась в 1.7 раза и достигла в 1994г. 54,5%. Освоено исполнение так называемых давальческих заказов по производству продукции из материала (металла) заказчика. Динамика изменения структуры выпускаемой продукции представлена в таблице 5.
3. Проведено сокращение численности персонала на 15% (в основном за счет работников непромышленной группы).
В результате предпринятых действий удалось значительно сократить запасы ранее произведенной продукции. Изменилась структура выпускаемой продукции. В итоге уменьшилась численность персонала, темпы падения экономических показателей существенно снизились. Выполненные в этот период маркетинговые исследования показали, что для получения преимуществ перед конкурентами необходимо значительно повысить качество электротехнической продукции. Наиболее перспективным путем решения данной задачи был переход на новые технологии и прогрессивное оборудование. Однако для реализации таких нововведений требовалось существенно повысить уровень квалификации персонала. Поэтому в ходе выполнения первого этапа стратегический план управления персоналом был откорректирован и дополнен новыми деталями.
Рис. 4 Динамика численности рабочих промышленно-производственной сферы
Численность персонала

Численность персонала

Рис. 3.2 Динамика численности инженерно-технических работников и служащих
Стало ясно, что простое уменьшение количества без одновременного повышения качества персонала не дает ожидаемого эффекта. Анализ позволил рекомендовать перейти к новому пониманию роли персонала - как ресурса предприятия, а его развитие рассматривать как инвестиционный проект. Наряду со стратегическим планом производства и реализации продукции, финансовым планом, был разработан комплексный план повышения качества продукции, развития и повышения эффективности производства с экономической оценкой каждого мероприятия плана в целом. Обобщенный вариант структуры и содержания плана предусматривает следующие разделы:
- научно-исследовательские, опытно-конструкторские, опытно-технологические и проектные работы;
- освоение новой техники;
- усовершенствование и модернизация продукции;
- внедрение передовой технологии, механизация и автоматизация производственных процессов, погрузочно-разгрузочных и складских работ;
- улучшение качества выпускаемой продукции, сертификация, метрологическое обеспечение производства;
- обеспечение производства трудовыми ресурсами требуемого качества;
- улучшение условий труда, мотивация труда и техники безопасности;
- информационное обеспечение производства и стандартизация;
- охрана водоемов, воздушного бассейна и другие меры по экологии;
- маркетинг, реклама;
- экономия материальных и топливно-энергетических ресурсов;
- капитальное строительство, реконструкция, ремонт и благоустройство;
- пожарная безопасность.
Прогнозная оценка экономической эффективности комплексного плана производится по следующим показателям:
- затраты;
- прибыль всего:
в том числе:
• за счет увеличения объемов производства серийной продукции;
• за счет внедрения новой техники;
• за счет совершенствования технологий, модернизации;
• экономии материальных и топливно-энергетических ресурсов;
• за счет совершенствования персонала
- прибыль последующих лет.
Оценка экономической эффективности разделов плана производится по следующим показателям:
- расчетная прибыль;
- затраты на внедрение;
- статьи затрат: (себестоимость, прибыль).
2.2. Функции системы управления персоналом.
Для реализации плана руководство стратегическим планированием и управлением персоналом было централизовано и возложено на заместителя генерального директора предприятия по перспективному развитию, реконструкции и персоналу. Данная мера прямо вытекала из анализа целей задач предприятия в целом, но была не единственной. В 1994-95 гг. предприятие перешло на новую структуру управления, в которой было предусмотрено четыре направления: производственное (подготовка производства, диспетчеризация, техническое обеспечение), коммерческое (маркетинг, сбыт, планирование, финансирование, экономика), техническое (инженерные разработки, управление качеством, технологии), перспективного развития, реконструкции и персонала (капитальное строительство, инженерные сети, персонал, соцкультбыт).
Для достижения генеральной цели предприятия были приняты следующие меры по повышению качества продукции.
1. Расширены функциональные возможности с одновременным улучшением показателей надежности изделий электротехники. Осуществлен переход на блочно-модульный принцип их проектирования и создания, что позволило выполнять заказы на мелкосерийные и единичные образцы. Такие изделия получили хороший спрос у нефте- и газодобытчиков, т.к. каждое месторождение уникально и его обустройство требует индивидуального подхода.
2. Внедрены новые технологии и технологические линии.
2.1. Приобретено и освоено технологическое оборудование таких известных фирм, как “Беренс”, “Триумф”, “МАХО”, “Эластогран” (Германия), “Редман” (Англия), “Комек” (Франция), новейшие станки электроэрозионной и лазерной резки металла швейцарских фирм BISTRONYC и HAMMERLI с автоматизированным управлением на основе ЭВМ. Это позволило, в частности, вместо трех заготовительных цехов иметь один. На порядок возросла точность резки, сократились отходы. Высвободившееся оборудование было продано.
2.2. Освоена автоматизированная линия покраски с применением травления, электрофорезной грунтовки, покраски на водяной экран и сушкой после каждой операции. Произведен переход на применение новых красок повышенного качества. В результате резко возросла стойкость красочного покрытия, значительно улучшился внешний вид готовых изделий.
2.3. Произведен переход на применение новых режущих инструментов и их более частую замену, что позволило повысить качество нагрузки строительных панелей. Освоена мерная рука панелей по размерам заказчика с предварительной окраской. Ранее нарезка производилась крупными партиями в один размер для специально подобранных заказов и без покраски. Затем стан перенастраивался на новый размер и выполнялись другие заказы. Сроки выполнения заказов были большие (2-3 месяца). В 1991 -94 гг. по этой причине завод потерял целый ряд заказов от предприятий мелкого бизнеса.
3. За счет инженерных решений снижена на 30% трудоемкость изготовления гаражей, при одновременном повышении качества. Их реализация дает “быстрые” деньги, что позволяет своевременно выплачивать заработную плату рабочим, содержать инженерные сети.
4. Внедрены информационные технологии в деятельность управленческих подразделений, в т.ч. в управление персоналом.
Принятые меры существенно изменили качественный и количественный состав персонала (см. рис. 3.1 и 3.2). Численность работников сократилась до уровня 0,72 от списочной численности в 1990 г. Однако при этом численность рабочих основных цехов сократилась лишь на 3%, а ИТР производственной сферы - на 6 - 7%. Резко сократилось количество маляров, резчиков металла, грузчиков и т.п. Вместо них, но уже в меньшем количестве, потребовались работники новых специальностей: наладчики оборудования, инженеры по радиоэлектронике, инженеры-операторы автоматизированных станков, инженеры-наладчики, инженеры-программисты и т.п.
В соответствии с генеральной целью системы управления персоналом предприятия для удержания на заводе наиболее трудоспособных и активных работников было организовано обучение персонала с целью их переподготовки и повышения квалификации, включая обучение за рубежом. В период 1995 - 96 гг. расходы на обучение персонала возросли в 1.5 - 3,0 раза, причем пик расходов пришелся на 1995 г. Динамика расходов на обучение персонала в сопоставлении с динамикой объема реализованной продукции представлена на рис. 6. В настоящее время расходы на обучение персонала несколько снизились, но превосходят аналогичные расходы на одного работающего в 1994 г. примерно в два раза.
Анализ данных, представленных на рис. 6 позволяет сделать вывод, что дополнительные расходы на персонал оказались оправданными и привели к повышению эффективности предприятия.
Одновременно был проведен комплекс мер по стимулированию труда.
Принятые меры (перечисленные и оставшиеся вне рамок диссертации) по стратегическому планированию предприятия и его персонала с использованием разработанных автором научных методов и моделей позволили остановить падение объема производства и обеспечить его подъем при одновременном уменьшении числа работников. Динамика объема реализованной продукции и численности персонала предприятия за период 1990 - 98 гг. представлена на рис. 7. Данные показывают, что поставленная генеральная цель -увеличение выпуска электротехнической продукции на 12- 13%, доведение реализации продукции до уровня 0,75 от объема 1991 г. достигнута, что позволяет сделать вывод о практической ценности полученных результатов.

Рис. 6 Динамика расходов на обучение персонала.

Рис. 7 Динамика объема реализованной продукции и численности персонала
Полученные результаты легли в основу стандарта предприятия “Комплексная система управления охраной труда в ОАО “Самарский завод “Электрощит”.
Настоящий стандарт устанавливает систему работ по предупреждению несчастных случаев, повышению степени безопасности, снижению заболеваемости, улучшению условий труда и повышению культуры производства на заводе.
Стандарт предусматривает:
- разработку и выполнение мероприятий по предупреждению несчастных случаев, обеспечению безопасности на производстве, снижению заболеваемости, общему улучшению условий труда и повышению культуры производства;
- организацию надзора за объектами повышенной опасности и порядок аттестации лиц, участвующих в их эксплуатации;
- постоянный контроль со стороны всех инженерно-технических работников завода за соблюдением работающими правил техники безопасности и производственной санитарии;
- осуществление мер по своевременному выявлению и ликвидации факторов, приводящих к нарушению правил безопасной работы;
- систематический учет и контроль по установленным на заводе показателям проводимой профилактической работы по технике безопасности, а также анализ и ежемесячную оценку этой работы в каждом цехе (службе, участке);
- организацию лечебно-профилактического, санитарно-бытового обслуживания работающих;
- моральные стимулы и материальную ответственность за невыполнение мероприятий по технике безопасности и культуре производства.
2.3. Проблемы формирования и управления персоналом.
Среди комплекса многообразных проблем по формированию и управлению персоналом на исследуемом предприятии – самарском заводе “Электрощит” в настоящей работе целесообразно остановиться на следующих, имеющих на наш взгляд, принципиальное значение для кадровой политики предприятия.
1. Управление деловой карьерой.
Значение профессионального и должностного роста в структуре управления персоналом трудно переоценить. Это, очевидно один из основных, наряду с материальным вознаграждением, мотивационных факторов, определяющих отношение работников к труду. Осознание невозможности добиться повышения при помощи высоких результатов в производственной деятельности однозначно отрицательно влияет на качество и производительность труда.
Кроме того, правильная и обоснованная ротация персонала (здесь это означает движение по служебной лестнице) создает в коллективе обстановку здоровой конкуренции и, одновременно, уверенности в закономерности и справедливости кадровых решений администрации.
На заводе “Электрощит” действует система должностной ротации на основе периодической переаттестации кадров всех уровней.
Для рабочих специальностей 2-3 раза в год проводится разрядная тарификация. Эта система осталась от советских времен и не является в настоящее время определяющей. На заводе практикуется (частично) выборный характер среднего управленческого звена (бригадиров, помощников мастеров и мастеров). В условиях внедрения контрактной системы найма это находит все большее применение.
В отношении ИТР проводится ежегодная переаттестация и зачисление в резерв управления.
2. Работа с кадровым резервом.
По результатам переаттестации в кадровый резерв ежегодно зачисляются до 5% ИТР. Формирования персонала управления на 90% осуществляется за счет кадрового резерва.
Среди значительной части кадрового резерва наблюдается определенное повышение уровня заинтересованности в результатах производственной деятельности.
В условиях проводимой предприятием широкомасштабной кампании по переподготовке кадров кадровый резерв занимает особое место. Доля ИТР, зачисленных в кадровый резерв, в структуре переподготовки персонала составляет более 60 %.
3. Методы подбора кадров.
При подборе кадров основными являются следующие методы и оценки:
- профессиональный уровень,
- уровень образования,
- характер профессиональной подготовки,
- отношений к труду,
- заинтересованность в работе на конкретном предприятии,
- профессиональный опыт,
- частота перемен места работы,
- готовность осваивать новые специальности,
- квалификация,
- состояние здоровья,
- психологическая устойчивость,
- семейное положение,
- место жительства.
При приеме на работу на завод “Электрощит” проводится собеседование с психологом и психологическое тестирование.
Несмотря на кажущийся избыток трудовых ресурсов и наличие высокого уровня безработицы в регионе, предприятие испытывает определенные трудности с подбором кадров. Это в первую очередь касается следующих специальностей:
- станочники,
- электромонтажники,
- гальваники,
- конструкторы электроаппаратуры,
- мастера производственных цехов,
- начальники участков,
- рабочие строительных специальностей.
Глава 3. Совершенствование управления персоналом предприятия.
3.1. Современные методы и стили управления персоналом.
Управленческий контроль в управлении персоналом.
Контроль - это процесс, обеспечивающий достижение целей предприятия. Он необходим для обнаружения и разрешения возникающих проблем раньше, чем они станут слишком серьезными, и может также использоваться для стимулирования успешной деятельности персонала.
Процесс контроля состоит из установки стандартов, изменения фактически достигнутых результатов и проведения корректировок в том случае, если достигнутые результаты существенно отличаются от установленных стандартов производственной деятельности.
Контроль - это критически важная и сложная функция управления персоналом. Одна из важнейших особенностей контроля, которую следует учитывать в первую очередь, состоит в том, что контроль должен быть всеобъемлющим. Каждый руководитель, независимо от своего ранга, должен осуществлять контроль как неотъемлемую часть своих должностных обязанностей, даже если никто ему специально этого не поручал.
Контроль есть фундаментальный элемент процесса управления персоналом. Ни планирование, ни создание организационных структур, ни мотивацию нельзя рассматривать полностью в отрыве от контроля. Действительно, фактически все они являются неотъемлемыми частями общей системы контроля. Функционально процесс контроля может быть разделен: предварительный, текущий и заключительный. По форме осуществления все эти виды контроля схожи, так как имеют одну и ту же цель: способствовать тому, чтобы фактически получаемые результаты были как можно ближе к требуемым. Различаются они только временем осуществления.
Предварительный контроль обычно реализуется в форме определенной политики, процедур и правил. Прежде всего, он применяется по отношению к трудовым, материальным и финансовым ресурсам. Текущий контроль осуществляется, когда работа уже идет и обычно производится в виде контроля работы подчиненного его непосредственным начальником. Заключительный контроль осуществляется после того, как работа закончена или истекло отведенное для нее время.
Текущий и заключительный контроль основывается на обратных связях. Управляющие системы в организациях имеют разомкнутую обратную связь, так как руководящий работник, являющийся по отношению к системе внешним элементом, может вмешиваться в ее работу, изменяя и цели системы, и характер ее работы.
В процессе контроля есть три четко различимых этапа: выработка стандартов и критериев, сопоставление с ними реальных результатов и принятие необходимых корректирующих действий. На каждом этапе реализуется комплекс различных мер.
Первый этап процесса контроля - это установка стандартов, т.е. конкретных, поддающихся измерению целей, имеющих временные границы. Для управления необходимы стандарты в форме показателей результативности объекта управления для всех его ключевых областей, которые определяются при планировании.
На втором этапе сравнения показателей функционирования с заданными стандартами определяется масштаб допустимых отклонений. В соответствии с принципом исключения, только существенные отклонения от заданных стандартов должны вызывать срабатывание системы контроля, иначе она станет неэкономичной и неустойчивой.
Следующий этап - измерение результатов - является обычно самым хлопотным и дорогостоящим. Сравнивая измеренные результаты с заданными стандартами, менеджер получает возможность определить, какие действия необходимо предпринимать.
Такими действиями могут быть изменения некоторых внутренних переменных системы, изменение стандартов или невмешательство в работу системы.
Люди являются неотъемлемым элементом контроля, как, впрочем, и всех других стадий управления. Поэтому при разработке процедуры контроля менеджер должен принимать во внимание поведение людей.
Конечно, то обстоятельство, что контроль оказывает сильное и непосредственное воздействие на поведение, не должно вызывать никакого удивления. Менеджеры часто намеренно делают процесс контроля нарочито видимым, чтобы оказать воздействие на поведение сотрудников и заставить их направить свои усилия на достижение целей организации.
К сожалению, хотя большинство менеджеров хорошо знают о том, что процесс контроля может быть использован для оказания положительного воздействия на поведение сотрудников, некоторые забывают о возможностях контроля вызывать непреднамеренные срывы в поведении людей. Эти негативные явления часто являются побочными результатами наглядности действия системы контроля.
Контроль часто оказывает сильное влияние на поведение системы. Неудачно спроектированные системы контроля могут сделать поведение работников ориентированным на них, т.е. люди будут стремиться к удовлетворению требований контроля, а не к достижению поставленных целей. Такие воздействия могут также привести к выдаче неверной информации.
Проблем, возникающих вследствие воздействия системы контроля, можно избежать, задавая осмысленные приемлемые стандарты контроля, устанавливая двустороннюю связь, задавая напряженные, но достижимые стандарты контроля, избегая излишнего контроля, а также вознаграждая за достижение заданных стандартов контроля.
Поведение людей, естественно, не единственный фактор, определяющий эффективность контроля. Для того чтобы контроль мог выполнить свою истинную задачу, т.е. обеспечить достижение целей организации, он должен обладать несколькими важными свойствами.
Контроль является эффективным, если он имеет стратегический характер, нацелен на достижение конкретных результатов, своевременен, гибок, прост и экономичен.
Когда организации осуществляют свой бизнес на зарубежных рынках, функция контроля приобретает дополнительную степень сложности.
Контроль на международном масштабе является особенно трудным делом из-за большого числа различных областей деятельности и коммуникационных барьеров. Результативность контроля можно улучшить, если периодически проводить встречи ответственных руководителей в штаб-квартире организации и за границей. Особенно важно не возлагать на иностранных управляющих ответственность за решение тех проблем, которые от них не зависят.
Контролировать надо уметь, необходимо оценивать свои действия в каждой конкретной ситуации находить наиболее целесообразные формы контроля. Здесь можно выделить ряд правил, лежащих в основе корректного контроля (этика контроля)
1. Контроль не должен ограничиваться инцидентами.
Нормальный контроль – постоянная задача. При соблюдении этого правила контроль не получит негативной окраски со стороны управленца и подчинённых.
2. Тотальный контроль делает людей неуверенными и несамостоятельными.
Если подвергать контролю всё и вся, из принципа, что не было критически проверено, чревато ошибками, то подчинённые стремятся освободиться от ответственности в силу своей неуверенности.
3. Контроль должен быть открытым.
Срытый контроль, т. е. основанный на подозрениях, порождает всеобщее недоверие, что подрывает моральный климат в коллективе.
4. Контролю должны подвергаться не только наиболее известные участки деятельности.
Слабое знание определённых участков зачастую ведёт к притуплению контроля в целом и создаёт почву для проступков со стороны рядовых работников.
5. Не превращать контроль в проформу.
Некоторые руководители считают себя большими демократами, и это приводит к осуществлению поверхностного контроля. С надеждой на лучшее.
6. Не контролировать из недоверия.
Неверно то мнение, что контроль можно считать успешным, если выявлен “негатив”. Нельзя считать, что сотрудники всегда делают что-то не так, а тем более не доверять им. Это снижает удовлетворённость сотрудника своей работой, а соответственно сказывается на качестве и эффективности выполняемых заданий.
7. Не держать своих выводов при себе.
Любому сотруднику небезразлично, что о нём думает руководитель. Негативные результаты контроля бесплодны, если не становятся предметом обсуждения. Только вовремя доведённые выводы до сотрудника позволят ему сделать правильные заключения.
Принятие управленческих решений в сфере руководства персоналом
В современных условиях даже очень опытный руководитель не всегда оказывается в состоянии без применения специальных средств и методов объективно сопоставить преимущества и недостатки вариантов решения в области управления персоналом и выбрать из них наилучший. Как добиться того, чтобы решения, принимаемые руководителями, были наилучшими? Частично ответить на этот вопрос нам поможет Теория обоснования решений.
В последние годы в нашей стране и за рубежом у некоторой части хозяйственных руководителей и специалистов увлечение экономико-математическими методами сменилось некоторым скептицизмом по отношению к ним. Они считают, что применение количественных методов при обосновании решения сложных проблем не всегда способствует повышению качества решений. Причину неудач эти руководители и специалисты видят в несовершенстве математического аппарата. Математики же полагают, что безуспешность отдельных попыток применения математических методов для нахождения наилучшего решения, в том числе в области управления персоналом, - следствие неумения поставить задачу.
Принятие решения - это процесс, в результате которого из ограниченного числа предварительно отобранных вариантов руководитель выбирает один, по его мнению, наилучший, или одобряет предложенный специалистами единственный вариант.
В ходе обоснования решения специалисты в области кадров отсеивают неэффективные (нерациональные) варианты и отбирают один или несколько вариантов, обладающих определенными преимуществами перед остальными, и представляют их руководителю ответственному за принятие решения.
Теория обоснования решений указывает некоторые общие принципы подготовки и обоснования решений:
- комплексный подход к анализу проблемы (предполагает учет всех факторов, прямо или косвенно влияющих на решение проблемы);
- системный подход к оценке ее возможных решений (системный подход, на основе системного анализа, ориентирует на выбор такого решения, которое в наибольшей степени соответствует целям, стоящим перед системой, благодаря этому может быть обеспечено соответствие всех решений по частным вопросам общим целям).
Основное назначение системного анализа - представлять сущность проблем, стоящих перед руководителями, по возможности в более простом, обозримом виде, не предлагая при этом окончательных решений. Одна из целей применения системного анализа при исследовании той или иной проблемы - получить количественные характеристики преимуществ и недостатков возможных вариантов решения. Количественный анализ помогает лицу, принимающему решение, более объективно сравнивать варианты решения и выбирать из них наилучший.
Значительным резервом повышения эффективности управления персоналом является широкое использование для выработки решений математических моделей хозяйственных процессов, реализованных на ЭВМ, создание автоматизированных систем управления персоналом. В настоящее время разработано множество экономико-математических моделей общего назначения, на основе которых составлены алгоритмы и программы решения задач на ЭВМ.
В результате работы по выработке решений мы получаем следующие виды управленческих решений: Приказы и рекомендации.
· Приказы
Чётко сформулированное решение, рассчитанное на конкретное подразделение, подлежащее безукоснительному, обязательному исполнению.
· Рекомендации
Некое управленческое решение, направленное на конкретное подразделение, рекомендательного характера, несущее в себе информацию к размышлению и выработанное для улучшения работы учреждения.
Методы принятия управленческих решений - это конкретные способы, с помощью которых можетбыть решена проблема.
В условиях завода “Электрощит” применяются следующие методы в решении как общих, так и кадровых управленческих задач.
1. Декомпозиция - Представление сложной проблем, как совокупности простых вопросов.
2. Диагностика - Поиск в проблеме наиболее важных деталей, которые решаются в первую очередь. Используется при ограниченных ресурсах.
3. Экспертные оценки - Формируются какие-либо идеи, рассматриваются, оцениваются, сравниваются.
4. Метод Делфи - Экспертам, которые не знают друг друга даются вопросы, связанные с решением проблемы, мнение меньшинства экспертов доводится до мнения большинства. Большинство должно либо согласиться с этим решением, либо его опровергнуть. Если большинство несогласно, то их аргументы передаются меньшинству и там анализируются. Этот процесс повторяется до тех пор, пока все эксперты не придут к одному мнению, либо перейдут к тому, что выделятся группы, которые не меняют своего решения. Этот метод используется для достижения эффективности.
5. Метод неспециалиста - Вопрос решается лицами, которые никогда не занимались данной проблемой, но являются специалистами в смежных областях.
6. Линейное программирование.
7. Имитационное моделирование.
8. Метод теории вероятности.
9. Метод теории игр - Задачи решаются в условиях полной неопределенности.
3.2.
Рекомендации по формированию трудового коллектива.
Интерес представляет динамика расходов на персонал, изменения структуры расходов и другие аспекты, характерные для управления персоналом в рыночных условиях. Рассмотрим данный вопрос на примере ОАО “Самарский завод “Электрощит”.
Результаты обработки и обобщения данных о расходах на персонал в ОАО за период с 1991 по 1998 г. представлены в таблице 6. Анализ произведен по следующим статьям:
Таблица 6.
Расходы на персонал в ОАО “Самарский завод “Электрощит” (в тыс. руб.)
| НаименованиеХ годы показателей \ |
1991 |
1992 |
1993 |
1994 |
1995 |
1996 |
1997 |
1998 |
| Среднесписочная численность персонала |
3396 |
3393 |
3221 |
3073 |
2872 |
2554 |
2470 |
2480 |
| Фонд заработной платы |
в действ, ценах |
13124 |
197659 |
2075716 |
7792229 |
17142700 |
24249316 |
31990000 |
37690000 |
| в сопост. ценах |
43112000 |
42288000 |
38032000 |
3276000 |
21772000 |
2982600 |
31990000 |
37950000 |
| в относит. мере |
1,0 |
0,98 |
0,88 |
0,76 |
0,5 |
0,69 |
0,74 |
).85 |
| Средняя зарплата |
в действ, ценах |
0,333 |
5,117 |
53,73 |
211,3 |
503,7 |
822,6 |
1122 |
1260 |
| в сопост. ценах |
1105 |
1106 |
989 |
886 |
640 |
1012 |
1122 |
1235 |
| в относит. мере |
1,0 |
1,0 |
0,89 |
0,8 |
0,58 |
0,92 |
1,02 |
1,12 |
Расходы на обучение
персонала
|
в действ, ценах |
57.7 |
886 |
10571 |
80882 |
767598 |
337633 |
485267 |
741600 |
| в сопост. ценах |
189600 |
189600 |
193600 |
339700 |
974800 |
415200 |
485267 |
682400 |
| в отн. мере на 1 раб. |
0,17 |
0,17 |
0,2 |
0,35 |
1,0 |
0,48 |
0,58 |
0,81 |
| Расходы на охрану труда |
в действ, ценах |
65,12 |
1005 |
15230 |
88570 |
416000 |
755000 |
650000 |
802000 |
| в сопост. ценах |
214000 |
214000 |
279000 |
372000 |
529000 |
929000 |
650000 |
743000 |
| в отн. мере на 1 раб. |
0,17 |
0,17 |
0,25 |
0,33 |
0,51 |
1.0 |
0,72 |
0,82 |
| Расходы на социальную сферу |
в действ, ценах |
917,5 |
14087 |
84200 |
2354116 |
4060800 |
6376000 |
5750000 |
7020000 |
| в сопост. ценах |
ЗОГ5000 |
3013000 |
1542000 |
7887000 |
5157000 |
7842000 |
5750000 |
6500000 |
| Расходы на материальную помощь |
в действ, ценах |
432,1 |
6625 |
13364 |
206716 |
557000 |
593000 |
1200000 |
1395000 |
| в сопост. ценах |
1420000 |
1417000 |
244800 |
868200 |
707400 |
729400 |
1200000 |
1284000 |
| в отн. мере на 1 раб. |
1,0 |
1,0 |
0,18 |
0,67 |
0,49 |
0,68 |
1,16 |
1,24 |
| Доля зарплаты в расходах на персонал |
0.9 |
0,9 |
0,94 |
0,74 |
0,75 |
0,75 |
0,8 |
0,77 |
| Доля расходов на персонал в объеме реализованной продукции |
0,1 |
0,105 |
0,117 |
0,191 |
0,123 |
0,147 |
0,121 |
0,127 |
- расходы на зарплату;
- расходы на обучение персонала;
- расходы на охрану и улучшений условий труда;
- расходы на социальную сферу;
- расходы на материальную помощь.
Одним из показателей, определяющих расходы на зарплату, является
численность персонала.
Объяснение этого факта следует из материалов, где отмечено изменение качественного состава персонала вследствие перехода на новые технологии. В результате все большую долю в трудоемкости производства составляет высококвалифицированный, а следовательно и более дорогой, труд. Анализ позволяет сделать вывод, что между ростом расходов на персонал и увеличением объема реализованной продукции есть хорошо просматривающаяся корреляционная зависимость: инвестирование развития персонала ведет к повышению эффективности предприятия.
Вместе с тем использование высококвалифицированного персонала позволило сократить численность работников. Это является отражением изложенных выше методов и реализованной на предприятии стратегической линии в управлении персоналом: повышение качества продукции за счет внедрения новых технологий и применения высококвалифицированного труда.
Доля зарплаты в расходах уменьшилась с 0,9 - 0,94 до 0,75 - 0,77, что соответствует общей тенденции в развитых странах, где она составляет 0,5 - 0,7. В то же время средняя зарплата по отношению к 1991 г. повысилась на 12% . Однако из-за сокращения численности персонала фонд заработной платы уменьшился на 15%. Размер материальной помощи вырос на 24%, увеличились расходы на социальную сферу, на обучение персонала, на улучшение условий и охрану труда.
В упоминавшемся комплексном плане был предусмотрен комплекс мер по стимулированию труда с акцентом на восстановление экономической функции зарплаты. В ходе его реализации было произведено повышение окладов на 4 - 7% (в зависимости от трудовой активности) для компенсации инфляции. Произведена аттестация и по ее результатам, пересмотрены оклады инженерно-технических работников (ИТР). Однако в качестве основной меры материального стимулирования было выбрано премирование.
Премирование производится при условии выполнения плана производства и реализации продукции, а также в зависимости от качества труда, определяемого путем расчета коэффициента качества труда. Максимальный размер премии работников производственно-промышленной группы может устанавливаться до 55% от их дополнительного оклада. Для каждого подразделения определены показатели по категориям работников и видам работ, при выполнении которых производится премирование. Для начальников цехов, участков, старших мастеров и мастеров, например, премии начисляются за выполнение следующих показателей:
- соблюдение плановой себестоимости товарной продукции;
- выполнение плана выпуска товарной продукции в заданной номенклатуре;
- выполнение плана по ритмичности производства;
- обеспечение плановой выработки одного рабочего-сдельщика. Работник может быть лишен премии полностью или частично за производственные упущения или нарушения, определенные в специальном
перечне. Среди них следует отметить следующие:
- приписки и искажения в отчетности;
- наличие претензий на качество выпускаемой продукции;
- нарушение технических правил эксплуатации оборудования и др.
Для повышения роли начальников цехов им предоставлены большие права по стимулированию труда работников. Начальнику цеха разрешается:
- повышение до 50% размера премии относительно существующего по положению о премировании за основные результаты хозяйственной деятельности;
- выплата премии из фонда начальника цеха;
- выплата премии за выполнение особо важных производственных заданий;
- установление доплаты за совмещение профессии, расширение зоны обслуживания или увеличения объема работ (до 50%);
- установление надбавок к тарифным ставкам за профессиональное мастерство (до 24%);
- повышение квалификации разрядов (до 7, 8);
- установление окладов взамен тарифных ставок высококвалифицированным рабочим.
Начальникам цехов созданы специальные премиальные фонды. Фонды используются для индивидуального поощрения наиболее отличившихся рабочих за высокие производственные показатели в работе, успешное выполнение заданий, освоение новых технологий и высокое качество продукции. Выплата премии производится поотдельной ведомости, подписанной начальником цеха и инженером по нормированию труда при согласовании с отделом организации труда и заработной платы.
Дополнительно на предприятии введено положение о премировании работников завода за создание и внедрение новой техники и мероприятий комплексного плана развития и повышения эффективности производства. Премирование производится за счет прибыли от снижения себестоимости продукции .
Конкретный размер вознаграждения определяется объемом, сложностью и экономической эффективностью проделанных работ. Расчет экономической эффективности утверждается коммерческим директором предприятия.
Дополнительной и хорошо себя зарекомендовавшей на практике мерой стало внедрение заводского соревнования за высокопроизводительный труд и материальное стимулирование по его результатам.
Основными задачами соревнования являются:
- повышение эффективности работы и качества труда каждого работника, каждого коллектива АО;
- обеспечение роста производительности труда, квалификации и профессионального мастерства работников, лучшего использования рабочего времени, укрепление трудовой дисциплины, внедрение передовых форм организации труда;
- соблюдение режима экономии, рациональное использование материальных ресурсов;
- выполнение и перевыполнение месячных производственных заданий;
- улучшение использования основных производственных фондов,
увеличение коэффициента сменности работы оборудования. Работа по организации соревнования предусматривает:
- доведение до всего коллектива работников месячных производственных заданий;
- распространение передового опыта победителей соревнования и опыта его организации;
- организация учета и отчетности соревнования;
- регулярное подведение итогов соревнования, доведение его результатов до каждого работника коллектива, моральное и материальное поощрение победителей.
Выбор победителей соревнования производится по набору показателей. Для производственных подразделений (цехов) определены, например, следующие показатели:
- выполнение плана по товарной продукции в заданной номенклатуре;
- выполнение плана по себестоимости (смете затрат);
- освоение выпуска новых изделий и технологий;
- обеспечение занятости работников (обеспечение плановой выработки 1-го работника);
- выполнение коэффициента качества продукции;
- уровень воспитательной работы в коллективе (отсутствие нарушений трудовой дисциплины, прогулов и т.п.).
Классные места не присуждаются коллективам цехов, не обеспечивших выполнение плана по выпуску товарной продукции, допустивших несчастные случаи на производстве и перерасход фонда заработной платы.
Выплата надбавок к премии победителям производится ежеквартально в размере: за первое место - на 20%, руководителю подразделения- на 40%, за второе место - на 10%, руководителю - на 20%.
Наиболее отличившиеся получают ценный подарок и заносятся на доску почета, которая обновляется один раз в год.
За общие результаты работы по итогам года при условии выполнения заводом плана по реализации продукции и прибыли работники могут поощряться дополнительным вознаграждением. Размер вознаграждения определяется в зависимости от трудовой активности работника, размера полученной им за год средней заработной платы и продолжительности трудового стажа на предприятии.
Важным элементом управления персоналом является работа с молодежью. Молодые работники чаще нетрадиционно мыслят, проявляют инициативу, обладают большей работоспособностью. Из их числа могут вырасти будущие начальники цехов, руководители производств и завода в целом. В то же время у молодежи своеобразная шкала ценностей и собственные социальные ориентиры, несложившиеся, порой легко меняемые взгляды на жизнь, малый трудовой и жизненный опыт. Поэтому в работе с молодыми сотрудниками по рекомендации был избран путь интенсивной поддержки положительных свойств личности, способствующих повышению эффективности производства.
3.3. Рекомендации по использованию этики в управлении.
За последние несколько лет вопросы культуры и этики и, особенно, этики управления в больших организациях и предприятиях, все больше привлекают внимание теоретиков и исследователей. Действительно, мы живем в такое время, когда тысячи людей знают, чем характеризуется культурная обстановка в организации, и любят порассуждать об этом. Почему история развития организаций вызывает такой интерес?
Можно различить четыре вида эмоций, которые охватывают людей, принадлежащих к определенной организационной культуре, когда они внимают истории своего коллектива, и это помогает объяснить, почему сам предмет культуры столь популярен и почему руководители идругие заинтересованные лица считают концепцию культуры столь многообещающей.
Во-первых, все элементы той культуры, которую мы хорошо знаем, которая нам импонирует, представляется нам такими заманчивыми! Мы переживаем, радость узнавания, возбуждаются глубины памяти. Мы видим себя в различных сценах, окруженными различными людьми. У нас возникает удивительное чувство уверенности, когда мы заполняем свое сознание определенной культурной субстанцией, понятной только нам, культурная информация не несет в себе ничего нового для нас; фактически сама суть ее в том, что она не нова. Но, придавая информации форму рассказа, мы делаем ее занимательной и интересной, короче говоря, члены культурной общности любят заново переживать основные события культуры.
Во-вторых, несмотря на то, что такая информация очень впечатляющая и может вызвать различные чувства, она все-таки не травмирует психику. Это означает, что вы можете сообщить группе сотрудников такое об этике их компании, что имеет для них исключительно личное значение, вещи серьезные и отрезвляющие, а иногда даже опасные и противозаконные.
Концепция культуры и этики позволяет говорить об отношениях, ценностях и действиях людей, принадлежащих к данной культуре, среди руководителей быстро растет интерес к "человеческому фактору".
Суждение об этике позволяет руководителю или руководству почувствовать, что они действительно заботятся о своих сотрудниках, уделяют внимание людям. Это - третье ощущение, имеющее место при разговоре о культуре организации.
Но затем может произойти странная перемена, это и есть четвертое ощущение, возникающее при обсуждении этики. Становится все яснее, что вся структура этики в значительной степени определяет эффективность использования, в которой заинтересовано руководство. Это "странная перемена представляет собой постоянный переход от разговоров о культуре и этике к размышлениям, о том, как лучше направить энергию культуры и возможности этики в желательном для руководителей направлении на повышение эффективности работы организации. Едва осознав это, руководство, подталкиваемое штатными сотрудниками, внештатными консультантами, книгами и рассказами о других организациях, а также острым ощущением необходимости, начинает рассматривать организационную этику, как инструмент управления и серьезно прислушиваться к планам изменения этой этики в более желательном направлении, предмет организационной культуры этики одна из наиболее благовидных новых форм воздействия на организацию наиближайшее время.
Руководство использует этику для привлечения работников определенных типов и для стимулирования определенных типов поведения. Культура, образ формы подкрепляются или ослабляются репутацией компании. Хорошая ли репутация у фирмы в отношении достижения целей? Какова эта компания по сравнению с другими в данной отрасли? Привлекает ли она хороших людей? Ответы на эти вопросы покажут, насколько удачными являются культура и образ компании. Уже отмечалось, что разным культурам соответствуют различные психологические контакты и различная этика, что определенные типы людей будут счастливы и удачливы в одной культуре, а в другой нет; это важная отправная точка для эффективного управления. Развивая эту тему, можно выделить следующие гипотезы:
1. Личности, не допускающие неопределенности, предпочтут более жесткие ролевые этические правила.
2. Большой потребности в безопасности будет отвечать ролевая культура.
3. Потребность утвердить свою личность будет удовлетворяться этикой власти или задачи. В ролевой культуре это будет проявляться в ориентации на "личность" и отрыве мышления.
4. Навыки и таланты личности будут более замечены в культуре и этике власти и задачи. Следовательно, следует уделять большее внимание отбору и оценке личностей в этих культурах.
5. Потребности людей с низкими качествами в смысле интеллекта и умений подталкивают организацию к ролевой культуре, где уровень труда очерчивается уровнем имеющейся рабочей силы. И наоборот, потребности людей с высокими качествами привели бы к культуре задачи или власти.
Этот тезис подтверждается многими излучениями и наблюдениями различных видов организаций и подчеркивает важность понимания факторов культуры при найме. Это зависит от того, должна ли цель усиливать существующую культуру и структуру, чтобы сохранить статус-кво, или цель должна вызывать изменения культуры и структуры.
Наконец, "ключевые" сотрудники в организации, или "доминирующая коалиция", как считают, является важным детерминантом ее культуры и этики . Многое зависит от их личных взглядов и их способности понять и объяснить конфликтные ситуации, возникающие из других пяти факторов, рассмотренных выше. Рассмотренные нами теоретические понятия культуры и этики организации позволяют сделать следующие основные выводы:
1. культура и этика организации это пути выполнения работы и характер отношения к людям в организации.
2. Различные типы организаций имеют различные идей, убеждении традиции; они отличаются внешним видом, атмосферой и методами работы.
3. На этику организации влияют следующие факторы: происхождение, вид собственности, технология, яркие события.
4. Многие основные идеи, убеждения и традиции, из которых складывается этика организации и предприятия, является, скорее, неявными, многое принимается без доказательств и редко подвергается сомнению.
5. Этика важный фактор в достижении эффективности организации.
На наш взгляд, от того, какие мы сами зависит то, что мы делаем. Поэтому сотрудники предприятия постоянно (по мере возможности) должны стараться повышать свой этический, культурный и образовательный уровень. Это может выражаться в непрерывном повышении своего профессионализма и развитии культурных личных предпочтений. Необходимо быть вежливым со всеми абсолютно. Работники должны хорошо выглядеть, в соответствии с рекомендациями стилистов фирмы. На заводе “Электрощит” разработаны стандарты на документооборот внутри предприятия. Руководство разрабатывает программу по формированию корпоративной лояльности. Например, совместное празднование различных дат, праздников и Дней рождений. Руководство должно быть образцовым примером для своих подчиненных. Руководству необходимо с пониманием относится к ошибкам или небрежностям своих подчиненных.
Заключение.
Рыночная экономика, основанная на конкуренции, свободе производителей, а не на иерархическом подчинении хозяйственных процессов воле центра, требует никак не меньше, а даже больше менеджеров, чем прежняя система. Но менеджеры эти должны быть совсем иными, нежели раньше, обладать новыми качествами. Ведь не случайно доля административно-упрвленческих работников (вместе с инженерами и учеными) в общей численности занятых даже в обрабатывающей промышленности США повысилась с 15.0% в конце 50-х годов до 40% в начале годов 90-х, а не некоторых фирмах эта доля достигает и 70-%. И это несмотря на то, что огромная масса специалистов по управлению ушла из административного аппарата фирм в самостоятельные, действующие на основах жесткой самоокупаемости компании по оказанию деловых услуг. Нет никаких заметных тенденций сокращения и государственного аппарата в ведущих капиталистических странах. Повышение численности, удельного веса управленцев происходит в условиях, когда в частном бизнесе идет учет каждого цента или пенни, затраченного на управление, а государственные бюджеты находятся под контролем демократических институтов.
По-видимому, нам следует сделать важный вывод из этого - дело не в механических сокращениях, а в глубоких преобразованиях аппарата управления. Идея приспособления к принципиально новым условиям — вот то главное, что должно выйти на первый план. Разумеется, далеко не все способны на такого рода приспособление. Многим, возможно, придется уступить свое место более молодым, прогрессивным и энергичным менеджерам. Однако основная масса существующих работников управления - это весьма ценный потенциал людей, знающих реальность, имеющих немалую профессиональную подготовку, приученных к дисциплине, упорному целенаправленному труду, обладающих чувством ответственности. С этими людьми необходимо внимательно, вдумчиво работать, обеспечивать их правильную расстановку в новых условиях, обучение, переквалификацию. Нужно создать им стимулы к эффективному труду, защиту их прав, наконец, сформировать активную среду социального отбора руководителей и специалистов нового типа, в которой выживут и добьются успеха именно те, кто быстрее и лучше приспособится к новым условиям.
В заключение можно вспомнить старую, проверенную временем истину: “Именно на управленцах всех уровней лежит задача сделать все возможное для создания подходящего варианта будущего и не дать втянуть себя в водоворот неудач”. Конечно, современный мир многообразен, зависит от многих факторов, но этот тезис должен стать путеводным для тех, кто хочет взять на себя бремя ответственности за руководство хозяйством и кто готов сделать все для того, чтобы быть на уровне этой ответственности.
.
Литература
1. Алан Хоскинг. Курс предпринимательства: Практическое пособие, пер. с англ. — М. Международные Отношения, 1994 г.
2. Виханский О.С. Стратегическое управление. – М.: Издательство Московского Университета, 1995.
3. Вудкок М., Фрэнсис Д., Раскрепощенный менеджер. – М.: Дело, 1994.
4. Герчикова И. Н., Менеджмент. - М.: Юнити, 1994.
5. Грейсон Дж. Младший, О,Делл К. Американский менеджмент на пороге XXI века. – М.: Экономика, 1991.
6. Гусев Ю.В. Стратегия развития предприятий.- СПб.: Изд-во СПбУЭФ,1992.
7. Дэвид Мерсер, ИБМ: Управление в самой преуспевающей корпорации мира. – М.: Прогресс, 1991.
8. Джексон Грейсон младший, Карла О’Делл. “Американский менеджмент на пороге XXI века” М., Экономика 1993.
9. Зигерт В., Ланг Л., Руководить без конфликтов. – М.: Экономика, 1990.
10.Комарова Н. Мотивация труда и повышение эффективности работы. || Человек и труд 1997 №10.
11.Майкл Мескон и др., “Основы менеджмента”, - М., 1995 г.
12.Мескон М.Х., Альберт М., Хедоури Ф. Основы менеджмента:Пер. с англ. – М.: Дело, 1998.
13.Мирская М.И., Дикарева А.Л. Социология труда.
14.Семёнова О. К. Менеджмент. – Братск: Лот, 1993.
15.Ф.Тейлор Основы научного менеджмента, Прогресс, Москва, 1992 г.
16.Телор Фредерик Уинслоу, Менеджмент, - М., 1992 г.
17.Трейси Д., Менеджмент с точки зрения здравого смысла. – М.: Автор, 1993г.
18.Управление исследованиями и инновациями. – М.: Наука, 1993.
19.Щегин Г.В., Как работают с людьми за рубежом. – Киев: 1992.
20.Экономика предприятия / Под ред. Семёнова В. М. – М.: Ника, 1996.
21.Michael H. Mescon, Michael Albert, Franklin Khedouri, "Management", Third-edition, Harper & Row, Publishers, New York, 1988.
22.Berniker, "Sociotechnical systems analysis and design", lectures course, Estonian Business School, 1990
23.Michael Hammer, James Champy, "Reengineering the corporation", HarperCollins Publishers, 1993.
[1]
Скотт Р. Теория управления. Пер с англ. “Прогресс” М.,1991.С. 35-37.
[2]
Силадьи А. Персонал в структуре управления предприятием.Пер.с англ. Терра. М., 1994. С.243.
[3]
Джоржа К. Проблемы управления.Пер с англ. М., 1982. С. 357.
[4]
Попов Р.А.Актуальный проблемы управления персоналом // Управление персоналом № 6 1995.
[5]
Assert R.Е. American management. NY.1994. P.463/
[6]
Гарон П.О. Управление персоналом в экономически развитыхстранах// Экономика №9 1993.
[7]
Отчеты завода “Электрощит” 1990 – 1998 гг.
|