МИНИСТЕРСТВО ОБРАЗОВАНИЯ И НАУКИ РОССИЙСКОЙ ФЕДЕРАЦИИ
ФЕДЕРАЛЬНОЕ АГЕНТСТВО ПО ОБРАЗОВАНИЮ
Государственное образовательное учреждение
Высшего профессионального образования
ИВАНОВСКИЙ ГОСУДАРСТВЕННЫЙ УНИВЕРСИТЕТ
Физический факультет
КАФЕДРА ЭКСПЕРИМЕНТАЛЬНОЙ И ТЕХНИЧЕСКОЙ ФИЗИКИ
Специальность: 010701 – Физика
Специализация: Физическое материаловедение
Дипломная работа
на тему: Свойства краун-эфиров и фуллеренов
Выполнила: студентка 5 курса
Физического факультета
Шмыглева Л.В.
Научный руководитель: проф. к.ф.-м.н.
Александров А.И.
Иваново 2010
Содержание
Введение
1. Структура и свойства краун-эфиров и фуллеренов
1.1 Краун-эфиры
1.1.1 Историческая справка
1.1.2 Номенклатура краун-эфиров
1.1.3 Получение краун-эфиров
1.1.4 Применение краун-эфиров
1.2 Фуллерены
1.2.1 Фуллерены - новые элементарные формы углерода
1.2.2 Строение фуллеренов
1.2.3 Свойства фуллеренов
1.2.4 Получение фуллеренов
1.2.5 Применения фуллеренов
1.3 Монослой на поверхности воды
1.4 Монослои на основе фуллеренов и краун-эфиров
2. Постановка задачи
3. Аппаратура и методика эксперимента
3.1 Исследуемые соединения
3.2 Получение монослоев
3.2.1 Установка для получения монослоев
3.2.2 Расчет порогового значения поля Фредерикса
3.2.3 Расчет необходимого количества вещества
3.2.4 Приготовление растворов
3.2.5 Построение р-А изотерм
3.2.6 Уравнения Фольмера для анализа р-А изотерм
3.3 Молекулярное моделирование и определение площади, занимаемой молекулой в плавающем слое
4. Экспериментальные результаты и обсуждения
Основные результаты и выводы
Список используемой литературы
Введение
Нанотехнология и наноматериалы наряду с биотехнологией, информационными технологиями являются ключевыми технологиями 21 века. Это подтверждается и резким ростом финансирования данной отрасли в последние годы. Технологию Ленгмюра – Блоджетт (ЛБ) так же можно отнести к нанотехнологиям, так как она позволяет производить операции на уровне отдельных монослоев.
Мультислой, сформированный по ЛБ технологии, – принципиально новый объект современной физики, и потому любые их свойства (оптические, электрические, акустические и т.д.) совершенно необычны. Даже простейшие структуры, составленные из одинаковых монослоев, имеют ряд уникальных особенностей, не говоря уже о специально построенных молекулярных ансамблях.
Забиваем Сайты В ТОП КУВАЛДОЙ - Уникальные возможности от SeoHammer
Каждая ссылка анализируется по трем пакетам оценки: SEO, Трафик и SMM.
SeoHammer делает продвижение сайта прозрачным и простым занятием.
Ссылки, вечные ссылки, статьи, упоминания, пресс-релизы - используйте по максимуму потенциал SeoHammer для продвижения вашего сайта.
Что умеет делать SeoHammer
— Продвижение в один клик, интеллектуальный подбор запросов, покупка самых лучших ссылок с высокой степенью качества у лучших бирж ссылок.
— Регулярная проверка качества ссылок по более чем 100 показателям и ежедневный пересчет показателей качества проекта.
— Все известные форматы ссылок: арендные ссылки, вечные ссылки, публикации (упоминания, мнения, отзывы, статьи, пресс-релизы).
— SeoHammer покажет, где рост или падение, а также запросы, на которые нужно обратить внимание.
SeoHammer еще предоставляет технологию Буст, она ускоряет продвижение в десятки раз,
а первые результаты появляются уже в течение первых 7 дней.
Зарегистрироваться и Начать продвижение
Достаточно сравнить, например, двойные ленгмюровские слои (биослои) с биологическими мембранами. Благодаря этим обстоятельствам сегодня мы уже говорим о перспективах развития новой науки – молекулярной электроники. Эта наука своими первыми успехами обязана ленгмюровским пленкам, и прежде всего в том, что касается новых материалов. Уже созданы первые образцы высокопроводящих сверхтонких пленок на основе органических амфифильных молекул. Такие молекулы, как выяснилось [6], обладают донорными и акцепторными свойствами, то есть ведут себя фактически как миниатюрные полупроводники. Далее, полимеризация пленок Ленгмюра – Блоджетт, имеющих исключительно малую и к тому же калиброванную толщину (несколько монослоев), дает возможность вести филигранный литографический процесс с помощью электронного луча. Пространственное разрешение, которое ограничивает в электронной технологии минимальную толщину линий схемы, достигает в этом случае нескольких нанометров. Кроме того, ленгмюровские пленки предлагается использовать в качестве оптических волноводов со специально заданным по толщине профилем показателя преломления.
Еще один пример, демонстрирующий необычные физические свойства ленгмюровских пленок. Оказывается, на молекулярном уровне можно осуществить перенос информации от одного монослоя к другому, соседнему[7]. После этого соседний монослой можно отделить и, таким образом, получить копию того, что было «записано» в первом монослое. Такой копировальный процесс вполне аналогичен процессу репликации информации с молекул ДНК – хранителей генетического кода – на молекулы РНК, переносящие информацию к месту синтеза белков в клетках живых организмов.
Широкое развитие получают сейчас гибридные системы, где ленгмюровские пленки скомбинированы с традиционными транзисторными элементами. Высокая диэлектрическая прочность позволяет использовать такие пленки в полевых транзисторах[7]. Все это расширяет диапазон используемых полупроводниковых кристаллов. Диэлектрические монослои улучшают характеристики солнечных батарей и светоизлучающих (люминесцентных) диодов. Можно создать набор химических сенсоров – чувствительных датчиков.
Ну и, наконец, использование ориентированных молекулярных ансамблей позволяет на совершенно новой основе поставить вопрос о направленных электро- и фотохимических реакциях, таких, как фотосинтез, преобразование солнечной энергии или, скажем, фоторазложение воды[6]. Технология ленгмюровских пленок вскоре окажется замечательной основой для самой передовой области – молекулярной электроники.
Сервис онлайн-записи на собственном Telegram-боте
Попробуйте сервис онлайн-записи VisitTime на основе вашего собственного Telegram-бота:
— Разгрузит мастера, специалиста или компанию;
— Позволит гибко управлять расписанием и загрузкой;
— Разошлет оповещения о новых услугах или акциях;
— Позволит принять оплату на карту/кошелек/счет;
— Позволит записываться на групповые и персональные посещения;
— Поможет получить от клиента отзывы о визите к вам;
— Включает в себя сервис чаевых.
Для новых пользователей первый месяц бесплатно.
Зарегистрироваться в сервисе
Итак, мультислой обладает следующими полезными качествами: молекулярная ориентация в нем строго фиксирована; имеется резко выраженная зависимость от направления – структурная анизотропия – вдоль и поперек плоскостей монослоев, и, наконец, самое главное, – мультислой можно собрать из монослоев различных специально подобранных веществ. Каждому веществу (молекуле) можно поручить выполнение какой-то операции, и тогда можно получить многофункциональный мультислой.
Весьма перспективными материалами для технологии Ленгмюра-Блоджетт являются фуллерены и краун-эфиры. Фуллерены обладают интересными физическими свойствами, в частности полупроводниковыми и проводниковыми, а краун-эфиры могут использоваться не только для захвата ионов металлов, но и нейтральных молекул.
1.
Структура и свойства краун-эфиров и фуллеренов
1.1 Краун-эфиры
1.1.1 Историческая справка
Краун-эфиры
– макроциклы, содержащие в своем составе наряду с метиловыми звеньями (–СН2–СН2–) кислородные атомы, в некоторых случаях часть атомов О заменена атомами N или S. Открытие и синтез краун-эфиров – одна из наиболее ярких страниц в развитии органической химии последних десятилетий. Первый из этого класса макроциклических соединений – дибензо-18-краун-6 – был получен Ч. Педерсеном (США) в 1967 г. (За открытие нового класса соединений он был удостоен Нобелевской премии по химии в 1987г.) Педерсен изучал свойства различных стабилизаторов каучуков, нефтяных масел, резиновых материалов. Основное назначение этих стабилизаторов заключалось в предотвращении разрушения антиоксидантов, которое инициировалось присутствием следовых количеств металлов. Синтезируя дезактиватор катиона ванадия VO2+, Педерсен в качестве побочного продукта выделил макроцикл, содержащий в цикле 12 углеродных и 6 кислородных атомов. Впоследствии Педерсен получил в общей сложности 60 полиэфиров с числом кислородных атомов от 4 до 20 и размером цикла от 12 до 60-членного[13]. Все атомы кислорода как бы выведены из плоскости цикла и ориентированы в одну сторону, что очень облегчает их последующее полярное взаимодействие с катионом металла[24].
Обратив внимание на удивительную способность этих макроциклов заключать в свою полость катионы металлов – "короновать" их, Педерсен и предложил соответствующее название этому новому классу веществ – краун - соединения (от англ. crown – корона) [13].
Появление краун-эфиров заметно расширило возможности экспериментальной химии. Стало возможным переводить в органическую среду типичные неорганические соединения и проводить с ними различные реакции[24].
1.1.2
Номенклатура краун-эфиров
Формально все краун-эфиры можно отнести к классу гетероциклических соединений, однако необычные свойства таких соединений позволили выделить их в самостоятельный класс, в связи с чем для составления названий были предложены специальные правила. Название содержит слово «краун», цифра перед этим словом обозначает общее число атомов в цикле, а цифра в конце названия указывает на количество гетероатомов O, N и S (рис.1) [27].

Рис. 1.
Структурные формулы и номенклатура типичных краун-эфиров.
В названии не указывают наличие в цикле атомов О (это подразумевается), но если в цикле есть иные гетероатомы (кроме кислорода), например, азот или сера, то их количество указывают, добавляя к названию приставки ди- или три - (азакраун - или тиакраун-эфирами [13]), а положение в цикле – с помощью числовых индексов, предварительно нумеруются все атомы в цикле[24].
Краун-эфиры содержат фрагмент С–О–С, характерный для простых эфиров, а также могут включать фрагменты амина C–NH–C, или тиоэфира C–S–C. Характерное свойство этих классов соединений – образовывать комплексы за счет неподеленных электронных пар кислорода, азота и серы. Это свойство многократно усилено в краун-эфирах из-за большого числа гетероатомов в цикле, к тому же неподеленные электронные пары ориентированы внутрь цикла. В результате ионы щелочных и щелочноземельных металлов входят внутрь цикла, образуя прочные комплексы.
Меняя величину цикла и, соответственно, размер внутренней полости, можно точно настроить краун-эфир на удерживание катиона определенного размера, например, 12-краун-4 (рис. 2) наиболее прочно захватывает катион лития, 15-краун-5 соответствует по размеру катиону натрия, а 18-краун-6 «подходит по размеру» катиону калия (рис. 2) [24].

Рис. 2
.
Комплексы краун-эфиров с катионами щелочных металлов (пунктирными линиями показаны координационные связи).
Краун-эфиры, конденсированные с одним или несколькими бензольными или циклогексановыми кольцами, называют соответственно бензокраун - и циклогексанокраун-эфирами (рис.3). Известны также краун - соединения, содержащие в цикле гетероатомы Р, Si, As или др., амидные, сложноэфирные или др. функциональные группы[24].

Рис. 3.
Структурные формулы краун-эфиров с разным числом колец.
1.1.3 Получение краун-эфиров
Существует множество методов синтеза краун - соединений, однако наиболее важный аспект любого из них заключается в подавлении побочных реакций, приводящих к линейным полимерам, для преимущественного протекания реакции циклизации, приводящей к циклическим соединениям.
Обычно для синтеза краун - соединений используют реакцию Вильямсона: . Для подавления образования побочных линейных полимеров часто применяются следующие методы: способ высокого разбавления, двухстадийная конденсация, матричные реакции[27].
С 1978 г. с использованием вышеупомянутых методов промышленностью производятся такие краун-эфиры, как дибензо-18-краун-6, дибензо-24-краун-8, дициклогексил-18-краун-6 и др[24].
При конденсации дихлоралкилов, содержащих в цепи простые эфиры группировки С–О–С, с полиэтиленгликолями протекает циклизация, приводящая к образованию краун-эфира. В зависимости от длины цепочки исходных соединений получают краун-эфиры с различной величиной цикла. Азотсодержащие краун-эфиры получают конденсацией диаминов, содержащих эфирные группировки, с хлорангидридами дикарбоновых кислот. В результате получаются циклические амиды, которые затем восстанавливают, при этом карбонильные группы С=О превращаются в метиленовые СН2. Серосодержащие краун-эфиры получают по схеме А, при этом исходные соединения содержат тиоэфирные группировки С–S–С[24].
1.1.4
Применение краун-эфиров
Применение краун-эфиров определяется, прежде всего, их избирательной способностью захватывать катионы определенного размера. Наибольшее распространение получили краун-эфиры, содержащие только гетероатомы О. Их применяют в технологических процессах, связанных с выделением и очисткой солей щелочных и щелочноземельных металлов, в аналитических исследованиях и работах, связанных с синтезом, когда нужно перевести неорганические соединения из водной фазы в органическую среду[13].
В радиохимии краун-эфиры помогают решать проблему переработки отходов ядерных производств. Первый этап – удаление с помощью краун-эфиров из переработанного ядерного горючего наиболее активных изотопов (стронций-90, цезий-137, технеций-99), на этой стадии предпочтительны S-содержащие краун-эфиры, поскольку они обладают повышенной радиационной стойкостью. Извлеченные изотопы используются затем в установках радиодиагностики, заменяющих рентгеновские аппараты, а также при создании долговременных источников тока для метеостанций, метеозондов и космических аппаратов. Следующий этап переработки ядерного топлива – извлечение с помощью краун-эфиров (специально подобранного состава) неизрасходованных урана и плутония, после чего объем подлежащих утилизации отходов становятся заметно меньше и к тому же отходы обладают слабой радиоактивностью[27].
На основе краун-эфиров созданы электропроводящие материалы нового типа[24].
1.2 Фуллерены
1.2.1
Фуллерены - новые элементарные формы углерода
До недавнего времени было известно, что углерод образует две аллотропных формы: – алмаз и графит. В настоящее время известна третья аллотропная форма углерода, так называемый фуллерен
.
Происхождение термина "фуллерен" связано с именем американского архитектора Ричарда Букминстера Фуллера, конструировавшего полусферические архитектурные конструкции, состоящие в виде шестиугольников и пятиугольников.
В середине 60-х гг. Дэвид Джонс конструировал замкнутые сфероидальные клетки из своеобразным образом свернутых графитовых слоев. Было показано, что в качестве дефекта, внедренного в гексагональную решетку обычного графита, и приводящего к образованию сложной искривленной поверхности, может быть пятиугольник[22].
В начале 70-х гг. физхимик–органик Е.Осава предположил существование полой, высокосимметричной молекулыС60, со структурой в виде усеченного икосаэдра, похожей на футбольный мяч. Чуть позже (1973 г.) российские ученые Д.А. Бочвар и Е.Г. Гальперин сделали первые теоретические квантово-химические расчеты такой молекулы и доказали ее стабильность.
В 1985 ученые: Г. Крото, Хит, 0' Брайен, Р.Ф. Керл и Р. Смолли удалось обнаружить молекулу фуллерена при исследовании масс-спектров паров графита после лазерного облучения твердого образца.
В 1991 японский ученый Иджима на полярном ионном микроскопе впервые наблюдал различные структуры, составленные из шестичленных колец углерода: нанотрубки, конусы, наночастицы.
В 1992 в природном углеродном минерале – шунгите (от названия поселка Шуньга в Карелии) были обнаружены природные фуллерены.
В 1997 Р.Е. Смолли, Р.Ф. Керл, Г. Крото получили Нобелевскую премию по химии за изучение молекул С60[11].
1.2.2
Строение фуллеренов

Рис.4.
Структура молекулы фуллерена С60.
Центральное место среди фуллеренов занимает С60 (рис. 4.), который характеризуется наиболее высокой симметрией и, как следствие, наибольшей стабильностью. В этой молекуле, напоминающей покрышку футбольного мяча, и имеющей структуру правильного усеченного икосаэдра атомы углерода располагаются на сферической поверхности в вершинах 20 правильных шестиугольников и 12 правильных пятиугольников. Так что каждый шестиугольник граничит с тремя шестиугольниками и тремя пятиугольниками, а каждый пятиугольник - с пятью шестиугольниками. Эта фигура высокосимметричная: у нее существует шесть осей пятого порядка, проходящих через двенадцать противоположно лежащих попарно пятиугольников, десять осей третьего порядка, проходящих через двадцать противоположно лежащих шестиугольников, 30 осей второго порядка, проходящие через противоположно лежащие шестьдесят ребер шестиугольник-шестиугольник, 30 осей второго порядка, проходящие через все противоположные шестьдесят вершин фигуры. Существует также несколько типов плоскостей симметрии пятого, третьего и второго порядков[8].
Электронная оболочка s2p2 атома углерода обеспечивает оптимальную структуру углерода, когда соседние атомы образуют пяти и шестиугольники. Эта структура является оптимальной и для наиболее устойчивых кластеров углерода, образующихся в результате термического распыления графита. Поскольку наиболее эффективные способы получения фуллеренов основаны на термическом разрушении графита, естественно заключить, что шестиугольники, имеют те же размеры, что и шестиугольники, входящие в графит [25].
Графит состоит из слоев, которые выложены правильными шестиугольниками со стороной 0.140 нм, и разделены расстоянием 0.335 нм, атомы соседних слоев расположены не друг под другом, а смещены на половину постоянной решетки. Таким образом, радиус молекулы С60 равен 0.35 нм [22].
В структуре С60 имеются два типа связей: двойная (является общей стороной двух шестиугольников) и одинарная (является общей стороной шестиугольника и пятиугольника). Результаты различных экспериментов показывают, что длины этих связей соответственно равны 0.139 ± 0.001 и 0.144 ± 0.001 нм. Поэтому шестиугольники, составляющие С60, несколько отличаются от правильных и представленная выше оценка размера фуллерена справедлива с точностью 1-2%. Более точное значение радиуса молекулы С60, согласно данным рентгеноструктурного анализа составляет 0.357 нм. [13].
Большинство всевозможных низших и не совсем высших (примерно до ста углеродных атомов) уже зафиксировано экспериментально. Как правило, такие структуры обладают более низкими по отношению к С60 симметриями.
Характеристики фуллерена С60:
1. Мелкокристаллический порошок черного цвета, лишенный запаха.
2. Плотность фуллерена С60 – 1,65 г/см3, что значительно меньше, чем у графита (2,3 г/см3) и алмаза (3,5 г/см3). Это связано с тем, что молекулы полые[22].
3. Практически нерастворимы в полярных растворителях (вода, этанол, ацетон); хорошо растворимы в бензоле, толуоле, фенилхлориде [13].
4. Длины углеродных связей в молекуле составляют 0,143 и 0,139 нм, а диаметр внутренней полости составляет 0,714 нм, что благоприятствует включению в полость другого атома или молекулы – "гостя"[8].
5. С60 сохраняет свою термическую стабильность вплоть до 1700К[16].
6. Модуль объемного сжатия отдельной молекулы теоретически составляет 720-900 ГПа [16].
7. Энтальпия образования С60 составляет ≈ 42.5 кДж/моль (для сравнения: энтальпия образования графита - 0 кДж/моль и алмаза - 1.67кДж/моль)[11].
1.2.3
Свойства фуллеренов
Взаимодействие между атомами разных фуллеренов слабее, чем между ближайшими атомами одного фуллерена. Это означает, что взаимодействие двух молекул фуллерена не приведет к их слипанию, как в случае взаимодействия двух кластеров с пространственным расположением атомов. В этом случае образуется система двух слабо взаимодействующих молекул фуллерена, где каждая молекула фуллерена сохраняет свою индивидуальность [25].
Кристаллические фуллерены и пленки из них представляют собой полупроводники с шириной запрещенной зоны 1.2 - 1.9 эВ и обладают фотопроводимостью при оптическом облучении. Фуллерены в кристаллах характеризуются относительно невысокими энергиями связи, поэтому в таких кристаллах уже при комнатной температуре наблюдаются фазовые переходы, приводящему к ориентационному разупорядочению и размораживанию вращения молекул фуллеренов. Кристаллы С60, легированные атомами щелочных металлов обладают металлической проводимостью, и переходят в сверхпроводящее состояние в диапазоне от 19 до 55К в зависимости от типа щелочного металла. Указанный диапазон температуры сверхпроводящего перехода является рекордным для молекулярных сверхпроводников. Еще более высокая температура сверхпроводящего перехода (вплоть до 100К) ожидается для сверхпроводников на основе высших фуллеренов [11].
Молекулы фуллеренов, в которых атомы углерода связаны между собой как одинарными, так и двойными связями, являются трехмерными аналогами ароматических структур. Обладая высокой электроотрицательностью (они способны накачивать на сферу до 6 дополнительных электронов!), они выступают в химических реакциях как достаточно сильные окислители. Присоединяя к себе радикалы различной химической природы, фуллерены способны образовывать широкий класс химических соединений, обладающих различными физико-химическими свойствами. Так, были получены пленки полифуллерита, в которых молекулы С60 уже связаны не слабыми Ван-дер-ваальсовыми связями, а химическим взаимодействием. Эти пленки, обладающие пластическими свойствами, являются новым типом полимерных материалов[8].
По ряду устных свидетельств, под давлением были синтезированы и объемно-прошитые ковалентными связями образцы фуллеренов. Утверждается, что такой материал царапает алмаз. Если это так, то это свойство вполне понятно. Дело в том, что среднее расстояние углерод-углерод в фуллерене (как было описано в п.1.2.1) равно 0.140 нм, как и в графите, тогда как в алмазе - 0.142 нм. Т.е., в фуллерене химическая связь углерод-углерод сильнее, нежели чем в алмазе. Если решетку из молекул фуллерена прошить объемными сильными ковалентными связями, то способность подобного соединения царапать алмаз становится вполне понятной[11].
Присоединение к С60 радикалов, содержащих металлы платиновой группы, позволяет получить ферромагнитный материал на основе фуллерена. Новые химические свойства обнаруживают соединения, структура которых получается в результате замены части атомов углерода на металлы. К таким соединениям, называемым металлокарбонами, относятся, например, Ti8C12, V8C12, Hf8C12, Zr8C12[11].
Другим, не менее перспективным и удивительным свойством фуллеренов является их реакции с водородом. Так, фуллерены способны формировать эндоэдральные комплексы с молекулярным водородом. Внутрь молекулы С70 возможно поместить до трех молекул H2 и сформировать комплекс (H2)@C70. Особо следует отметить способность холодных фуллеренов поглощать 17 атомов водорода на одну молекулу С60 при обработке водородом под давлением порядка 70 атм. Это открывает перспективы в будущем на переход на абсолютно экологически чистое и самое энергонасыщенное горючее - водород.Фуллерены являются в настоящее время самым наилучшим хранилищами для молекулярного водорода [25].
Фуллерены отличаются высокой химической инертностью по отношению к процессу мономолекулярного распада. Так, молекула С60 сохраняет свою термическую стабильность вплоть до 1700К[16], а константа скорости мономолекулярного распада в температурном диапазоне 1720-1970К измеряется в пределах 10-300 сек-1. Однако в присутствии кислорода, окисление этой формы углерода до СО и СО2 наблюдается уже при существенно более низких температурах - порядка 500К. Процесс, продолжающийся несколько часов, приводит к образованию аморфной структуры, в которой на одну молекулу С60 приходится двенадцать атомов кислорода, при этом молекула фуллерена практически полностью теряет свою форму. Дальнейшее повышение температуры до 700К приводит к интенсивному образованию СО и СО2 и приводит к окончательному разрушению упорядоченной структуры фуллеренов. При комнатной температуре окисление С60 происходит только при условии облучения фотонами с энергией в диапазоне 0.5-1200 эВ, что объясняется необходимостью образования ионов О2-, обладающих повышенной реакционноспособностью [16].
В результате хлорирования образуется соединение, содержащее либо 12, либо 24 атома хлора. Привлекательной особенностью хлорсодержащих фуллеренов является то, что атомы хлора могут замещаться на другие органические заместители. Среди таких “фуллероидов” можно отметить продукты присоединения радикалов водорода, фосфора, галогенов, металлов (и их оксидов), одинарных и двойных бензольных колец и их производных (Рис. 6.) [11].
Добавки фуллероидных наночастиц существенное влияют на адгезионную прочность эпоксидных полимерных материалов[8]: увеличивают прочность клеевого соединения на сдвиг клеевых составов в 1,5-2 раза; повышают прочности при отрыве для металлополимерных составов при повышенной температуре (1000С) в 2,5 - 5 раз. Возрастание прочностных характеристик и эластичности большинства модифицированных полимерных материалов связываются с влиянием этого класса наночастиц на надмолекулярную структуру полимеров и полимерных композитов [22].
Получаемые гетеро - и эндоэдральные фуллерены могут обладать весьма интересными и полезными свойствами. Например, если в фуллереновую клетку будет имплантирован и закреплен возбужденный атом водорода, то полученное вещество может стать абсолютным поглотителем электромагнитного излучения [21].
К этому стоит добавить, что чистый C60 обладает сравнимой или даже большей антиоксидантной активностью, чем у природного антиоксиданта витамина Е (a-токоферол), а также демонстрирует мощную гепатопротекторную активность, т.е. защищает печень от токсических повреждений[16].
Фуллериты (фуллерены в конденсированном состоянии) обладают высокой сорбционной способностью и как сорбенты по эффективности намного превышают широко используемый в настоящее время в качестве сорбента активированный уголь [16].
Необычными физико-химическими свойствами обладают также растворы фуллеренов в органических растворителях. Так, температурная зависимость растворимости С60 в толуоле, СS2, гексане имеет немонотонный характер, принимая максимальное значение при Т=280К. Растворы фуллеренов характеризуются нелинейными оптическими свойствами, что проявляется, в частности, в резком снижении прозрачности раствора при превышении интенсивности оптического излучения некоторого критического значения. Это открывает возможность использования фуллеренов в качестве основы для нелинейных оптических затворов, применяемых для защиты оптических устройств от интенсивного оптического облучения [8].
1.2.4 Получение фуллеренов
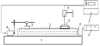
Наиболее эффективный способ получения фуллеренов основан на термическом разложении графита[22]. Используется как электролитический нагрев графитового электрода, так и лазерное облучение поверхности графита. На рис.5. показана схема установки для получения фуллеренов, которую использовал В. Кретчмер. Распыление графита осуществляется при пропускании через электроды тока с частотой 60 Гц , величина тока от 100 до 200 А, напряжение 10-20 В. Регулируя натяжение пружины, можно добиться, чтобы основная часть подводимой мощности выделялась в дуге, а не в графитовом стержне. Камера заполняется гелием, давление 100 Тор. Скорость испарения графита в этой установке может достигать 10г/В. При этом поверхность медного кожуха, охлаждаемого водой, покрывается продуктом испарения графита, т.е. графитовой сажей. Если получаемый порошок соскоблить и выдержать в течение нескольких часов в кипящем толуоле, то получается темно-бурая жидкость. При выпаривании ее во вращающемся испарителе получается мелкодисперсный порошок, вес его составляет не более 10% от веса исходной графитовой сажи, в нем содержится до 10% фуллеренов С60 (90%) и С70 (10%).Описанный дуговой метод получения фуллеренов получил название «фуллереновая дуга»[12].
В описанном способе получения фуллеренов гелий играет роль буферного газа. Атомы гелия наиболее эффективно по сравнению с другими атомами «тушат» колебательные движения возбужденных углеродных фрагментов, препятствующих их объединению в стабильные структуры. Кроме того, атомы гелия уносят энергию, выделяющуюся при объединении углеродных фрагментов. Опыт показывает, что оптимальное давление гелия находится в диапазоне 100 Тор. При более высоких давлениях агрегация фрагментов углерода затруднена[8].

Рис.5.
Схема установки для получения фуллеренов.
1 – графитовые электроды; 2 – охлаждаемая медная шина; 3 – медный кожух, 4 – пружины.
Изменение параметров процесса и конструкции установки ведет к изменению эффективности процесса и состава продукта. Качество продукта подтверждается как масс-спектрометрическими измерениями, так и другими методами (ядерный магнитный резонанс, электронный парамагнитный резонанс, ИК-спектроскопия и др.) [8].
1.2.5 Применение фуллеренов
Фуллерены обладают рядом важных характеристик: химической стойкостью, высокой прочностью, жесткостью, ударной вязкостью, теплопроводностью и электропроводностью. В зависимости от тонких особенностей молекулярной симметрии фуллерены могут быть диэлектриками, полупроводниками, обладать металлической проводимостью и высокотемпературной сверхпроводимостью. Эти свойства в сочетании с наномасштабной геометрией делают их почти идеальными ‑ возможно даже уникальными ‑ материалами для изготовления электрических проводов, сверхпроводящих соединений или целых устройств, которые с полным основанием можно назвать изделиями молекулярной электроники. Химической сборке элементов различных схем благоприятствуют свойства фуллерена, который может образовывать ионы от +6 до ‑6 и в различных матрицах ‑ связи с донорами, акцепторами, свободными радикалами и ионами. Фуллерены могут также использоваться при создании средств молекулярной оптоэлектроники для фемтосекундной оптоволоконной передачи информации. Полимеризация фуллеренов при электроннолучевом или ионизирующем воздействии дает возможность получать резистры нового поколения[8].
В США в 2000 г. были получены нанотранзисторы на основе фуллереновых кластеров C60. Нанотранзистор изготавливался следующим образом. Сначала с помощью электронно-лучевой литографической машины на кремниевой пластине создавалась решетка из узких золотых проводников шириной 200 нм и толщиной 10 нм. Пропуская по решетке электрический ток большой плотности, можно было вызывать электромиграцию атомов золота. В результате провода истончались до нанометровых размеров и разрывались в строго определенных местах, образуя зазоры шириной около 1 нм. Затем пластина покрывалась тонким слоем водного раствора фуллереновых кластеров. Далее растворитель испарялся, а кластеры C60 оказывались в зазоре между двумя электродами — истоком и стоком. Электрод затвора отделялся от остальных электродов изолирующим слоем двуокиси кремния[16].
Другим применением фуллеренов в энергетической области является то, что они способны обратимо формировать соединения типа С60Н36. Еще в 1994 году компания “Мицубиси” распространила сообщение о первом применении фуллеренов в электронике. Согласно этому сообщению, фуллерены используются в качестве основы для производства аккумуляторных батарей. Эти батареи, принцип которых основан на упоминавшейся выше реакции присоединения водорода, во многих отношениях аналогичны широко распространенным металлогидридным никелевым аккумуляторам. Однако в отличие от последних они обладают способностью запасать в пять раз больше энергии. Такие батареи характеризуются более высокой эффективностью, малым весом, экологической и санитарной безопасностью по сравнению с наиболее распространенными в этом плане аккумуляторов на основе лития[22].
Другими уникальными соединениями фуллеренов являются эндоэдральные комплексы. В частности, ожидается, что на основе эндоэдральных комплексов в будущем будут созданы высокоэффективные лекарства против рака. Так, нетрудно представить себе, что внутрь фуллереновой сферы можно поместить атом высокоактивного нуклида, а на сферу поместить органические хвосты, делающие подобное соединение специфичным тем или иным структурам или органам (например - раковой опухоли) организма. Таким образом, можно будет добиться того, что, будет проводиться селективная радиотерапия без повреждения соседствующих органов и тканей[21].
Механические свойства фуллеренов позволяют использовать их в качестве высокоэффективной твердой смазки[11].
Ученые предлагают новые металлоорганические молекулы на базе С60. Авторы показывают, что комплекс циклопентадиенового кольца Ср[ScH2] способен хранить 6.7% недиссоциированного H2, однако, после удаления водорода эти комплексы могут полимеризоваться, что делает процесс необратимым. Оказывается, этого можно избежать, если симметрично распределить такие комплексы на фуллеренах, например, как С60[ScH2]12и С48В12[ScH]12. Образуются стабильные системы, способные обратимо адсорбировать дополнительный водород, при этом достигается емкость 7.0 и 8.77 массового %, соответственно. Более того, обратимо извлекаемый водород “хранится” с энергией связи ~ 0.3-0.4эВ, что идеально для транспортных целей. Очень важно отметить, что такие системы не являются всего лишь красивыми теоретическими моделями. Стабильные фуллерены, покрытые переходными металлами, уже были синтезированы[21].
В 2001-2002 годах в Японии построен завод по производству фуллеренов в объеме десятков тонн, выпускаются первые партии изделий, в которых фуллерены используются как компонент новых композитных материалов. [8]Исследование водорастворимых соединений фуллеренов открыло новое перспективное направление, связанное с возможностью использования их в биологии и медицине, т.к. фуллерены, обладая определенным числом ненасыщенных связей, являются уникальными объектами акцепции электронов, а также идеальными реагентами для радикальных реакций. Это позволяет использовать их в качестве потенциальных "ловушек" (антиоксидантов) при гиперпродуцировании активных форм кислорода, являющегося ведущим механизмом при старении организмов или его патологическом состоянии. В процессе работы исследовалось влияние различных водорастворимых комплексов, содержащих как высшие, так и низшие фуллерены, на кислородный метаболизм в системе крови пациентов с разной патологией. Результаты исследований показали, что высшие фуллерены обладают большей активностью и являются более перспективными в качестве веществ, оказывающих влияние на окислительно-восстановительные процессы в органических соединениях. Это очень важно, так как это может быть использовано для создания препаратов, обладающих биологической активностью противораковой и противовирусной направленности.[11]1.3
Монослой на поверхности воды
Наряду с полностью гидрофильными и гидрофобными молекулами существуют еще и молекулы вроде русалок – одна их часть гидрофильная, а другая гидрофобная. [7]Такие молекулы получили название амфифильных. Они располагаются на поверхности воды так, что их гидрофильная головка (обладающая, как правило, разделенными зарядами – электрическим дипольным моментом) опущена в воду, а гидрофобный хвост (обычно это углеводородная цепочка) высовывается наружу в окружающую газообразную среду (рис. 6). Положение русалок несколько неудобное, но удовлетворяет одному из основных принципов физики систем из многих частиц – принципу минимума свободной энергии.

Рис. 6. Молекула стеариновой кислоты – типичная «русалка».
Амфифильностью, обладают многие вещества, методами химического синтеза можно присоединить гидрофобный хвост практически к любой органической молекуле[6].
Структурой мономолекулярной пленки на поверхности воды можно управлять с помощью подвижного барьера, сжимающего монослой. Это делается в так называемой ленгмюровской ванне, где усилие, передаваемое от барьера к монослою, измеряется путем компенсации приложенной силы с помощью специально сконструированных весов[7,23]. Измеряя p
методом Ленгмюра и зная молекулярную площадь A
, можно построить кривые сжатия, характеризующие состояние пленки. Пример такой кривой представлен на рис. 7. Кривая имеет ступенчатый характер, свидетельствующий об изменении агрегатного состояния. Пленки, соответствующие первому участку, характеризуются большими А
и малыми p
. Такой участок носит название газообразной пленки.

Рис. 7.
Общий вид кривой сжатия (
p
-
A
изотермы) поверхностной пленки
.
[7]
Сжатие такой пленки посредством подвижного барьера приведет к уменьшению A
и росту p
.По достижении некоторого критического p начинается переход газообразной пленки в иное состояние. Этот участок кривой отвечает состоянию жидкой пленки, характеризующийся малым сжатием. На данном этапе можно говорить о конденсации двумерного пара в двумерную жидкость. Такую фазу называют жидко-расширенной. По мере роста p
появляется еще один фазовый переход и далее почти вертикальный участок, характеризующийся почти полной несжимаемостью. Это состояние соответствует жидкости с особыми свойствами, или двумерному твердому телу – это твердокристаллическая фаза. Два последних состояния объединяют понятием сплошной пленки.
Последний участок кривой соответствует разрушению (коллапсу) пленки. Здесь, в мономолекулярной пленке, возникают капли (в случае жидкой пленки) или многослойные образования (в случае твердой). [23]
Итак, поведение ленгмюровского монослоя на поверхности воды имеет много общего с тем, что происходит в трехмерных средах.

Рис. 8.
Способы переноса пленок
на твердую подложку методом Ленгмюра – Блоджетт (вверху) и методом Шеффера (внизу).
Для дальнейшего исследования полученных пленок необходим перенос их на подложку. Существует два способа переноса монослоев на твердые подложки. Первый способ состоит в «протыкании» монослоя вертикально движущейся подложкой (рис. 8A). Он позволяет получать слои как X- (молекулярные хвосты направлены к подложке), так и Z-типа (обратное направление). Второй способ – это просто касание монослоя горизонтально ориентированной подложкой (рис. 8Б). Он дает монослои X-типа.
1.3
Монослой на основе фуллеренов и краун-эфиров
Проведенные исследования [3-5] показали, что молекулы С60 при степени покрытия 0,4-0,5 начинают агрегировать уже в газовой фазе, что исключает возможность формирования монослоя и, как следствие, возможность получения сверхтонкого проводящего слоя на твердой подложке.
При той же степени покрытия молекулы незамещенного ДБ18К6, несмотря на отсутствие гидрофильногидрофобного баланса, способны образовывать устойчивый монослой на поверхности воды, который в результате структурно-фазовых превращений не трансформируется в бислой и не коллапсирует.
В гетеромолекулярном плавающем слое на основе незамещенных краун-эфиров и фуллеренов агрегация молекул С60 в значительной степени подавлена процессом комплексообразования, в результате которогообразуются комплексы типа сэндвич
. Результат прогнозируемый, так как по сравнению с размером макроцикла ДБ18К6 по сравнению с размером С60 должны образовываться комплексы именно этого типа. Образовавшиеся комплексы, так же как и молекулы дибензо18-краун6 образуют на поверхности воды устойчивые монослои. При этом структура пленки такова, что молекулы фуллерена контактируют друг с другом, образуя цепочки, параллельные плоскости слоя. Цепочка контактов С60 друг с другом не выходят за пределы отдельного слоя. Слоевая упаковка в пленке дефектна из-за весьма вероятных гетерогенных включений, которыми могут быть все же образовавшиеся 3d – агрегаты С60 и агрегаты из лишних молекул ДБ18К6.
При формировании слоя на основе дизамещенных краун-8-е с енаминкетонными заместителями вид p
-
A
изотермзависит от температуры, которая влияет на способность молекул крауна удерживать молекул крауна удерживать молекулы растворителя в виде ассоциатов, и от степени ассоциации собственно молекул крауна на исходной стадии формирования монослоя. Растворитель выдавливается из монослоя при достаточно низких давлениях, не превышающих 8 мН/м, и не влияет на его структуру выше этой отметки. От того, ассоциированы или не ассоциированы собственно молекулы крауна, зависит их исходная ориентация на поверхности воды и структура конденсированной фазы. ЛБ пленки кран-6-е8 и краун-6-е12 имеют сходные структуры с однослоевой периодичностью, при этом образование связей между иминными группами в енаминкетонных группировках крауна с атомами кислорода в «коронах» двух соседних молекул фиксируют двумерную структуру ЛБ пленки, препятствуя ее кристаллизации. Таким образом введение в заместители активных в отношении образования водородных связей группировок дает возможность стабилизировать квазидвумерную структуру формируемых ЛБ пленок.
краун эфир фулеррен молекула монослой
2. ПОСТАНОВКА ЗАДАЧИ
Из литературного обзора становится ясно, что получить на основе фуллеренов ленгмюровские монослои достаточно сложно. Причины этого в том, что фуллерен способен структурироваться. Так фуллерен С60 образует фуллерит. Поэтому построение из них цепочечных или однослойных проводящих элементов оказывается непростой задачей.
Чтобы подавить желание фуллерена структурироваться, можно попробовать изолировать их друг от друга другими молекулами. В настоящей работе делается попытка подавить агрегацию фуллерена с помощью молекул краун-эфира, которые способные захватывать своей полостью не только ионы металлов, но и нейтральные молекулы. В этом случае появляется возможность сформировать гетеромолекулярный монослой, содержащий молекулы С60.
Более ранние исследования показали, что в таких сформированных монослоях молекулы С60 могут контактировать друг с другом, образуя цепочечные структуры. Однако сформированный монослой будет иметь одноосную текстуру с осью нормальной плоскости монослоя. В этом случае преимущественная ориентация таких цепей в монослое отсутствует. В случае же использования мезогенного дизамещенного краун-эфира с большой анизометрией можно попробовать ориентировать комплексы, образованные молекулами краун-эфира с фуллереном С60 с помощью магнитного поля в системе гость-хозяин, используя в качестве гостя магнитные комплексы с рекордной для жидких кристаллов магнитной анизотропией. Легируя монослой на стадии формирования этими молекулами в магнитном поле за счет эффекта Фредерикса можно попытаться получить монослой с двуосной текстурой. Решение этих задач и является целью настоящей работы.
3. АППАРАТУРА И МЕТОДИКА ЭКСПЕРИМЕНТА
3.1 Исследуемые соединения
Для реализации поставленных задач в настоящей работе выбраны следующие соединения:

Фуллерен С60

Дизамещенный дибензо-24-краун-8 с енаминными заместителями
(далее краун-эфир или ДБ24К8-8е-12 или ДБ24К8)
, R=
Он обладают большей по сравнению с ДБ18К6 полостью для захвата молекул С60, а наличие енаминкетонных групп дает возможность получить монослой, «прошитый» водородными связями

Мезогенный магнитный комплекс [Tb(LH)3][X3]
LH = C14H29-O-C6H3(OH)-CH=N-C18H37, X = SO4-C12H25
3.2 Получение монослоя
3.2.1 Установка для получения монослоя.
Формирование монослоя и запись p
-А
изотерм выполнялись на установке Ленгмюра-Блонжетт (ЛБ), сконструированной на кафедре технической физики ИвГУ. Эта установка позволяет формировать молекулярные монослои на поверхности воды, осуществлять контроль над их состоянием и переносить сформированные монослои на твёрдую подложку различными методами. Её схема изображена на рис.9.

Рис.10.
Схема ЛБ установки.
Для получения монослоев использовалась тефлоновая ванна размером 13,5 на 26 см. Перед проведением работ на ЛБ установке ванну (2) тщательно моют и просушивают. Затем наполняют её чистой бидистиллированной водой или слабым кислотным (щелочным) раствором с нужным значением pH. После некоторого времени смахивают подвижным барьером (3) поверхностный слой воды для дополнительной очистки субфазы. Затем устанавливают нулевое значение на цифровом приборе (7). На поверхность воды пипеткой или шприцом наносится растворённое в легколетучем органическом растворителе исследуемое вещество. После испарения летучего растворителя на поверхности жидкости получается монослой в виде двумерного газа. Барьер может передвигаться по поверхности воды, уменьшая или увеличивая площадь, занимаемую монослоем. Причём на установке можно установить барьер как из не смачиваемого водой материала, так и из смачиваемого. Перемещение барьера осуществляется электродвигателем (4) через понижающий редуктор и червячную передачу. Запуск и остановка барьера, а также регулировка скорости его перемещения осуществляются с блока управления и с помощью компьютерной программы.
Поверхностное давление монослоя измеряется весами Вильгельми (5) через силоизмерительный датчик (6). В качестве пластины Вильгельми используется фильтровальная бумага размером 50x10 мм. При соприкосновении с поверхностью жидкости бумажная пластинка силами поверхностного натяжения, действующими по её периметру смачивания, втягивается в жидкость до тех пор, пока сила жёсткости пружины датчика и архимедова сила не уравновесят втягивающую силу.
Датчик представляет собой механоэлектрический преобразователь. Основным элементом датчика является плоская бронзовая пружина, консольно закреплённая на шасси головки датчика. На свободном конце пружины укреплены крюк, на который подвешивается пластина Вильгельми, оптическая шторка и постоянный цилиндрический магнит. На шасси закреплены: источник света (электрическая лампа), два фотодиода и соленоид, внутри которого (не касаясь его) расположен магнит. Шторка расположена между источником света и фотодиодами. Изменение поверхностного давления в монослое вызывает изменение силы, втягивающей пластинку в воду, что в свою очередь изменяет нагрузку на крюке датчика и вызывает отклонение пружины от некоторого первоначального положения. В результате на выходе датчика возникает изменение напряжения сигнала, по которому и судят об изменении поверхностного давления. Сигнал с датчика передаются на цифровой прибор, на котором отображается поверхностное давление монослоя в мН/м.
Для создания магнитного поля ванна (2) помещена на специальную приставку (8), которая представляет собой катушку. При протекании тока возникает магнитное поле, максимальное значение которого достигает 0,005 Тл. Напряжение и силу тока, подаваемые на приставку, можно регулировать прибором (9).
Все устройства, за исключением блока управления и самописца, размещены на платформе (1) и находятся в стеклянном шкафе. Стеклянный шкаф предохраняет прибор и монослой от загрязнения пылью и от внешних механических факторов.
Перед тем как наносить плёнки на подложку, необходимо для заданного количества вещества построить p
-А
изотерму и выбрать по ней необходимое давление, соответствующее выбранной фазе монослоя. Построение p
-А
изотерм можно вести вручную, определяя положение барьера по отчётной линейке, а давление монослоя по показаниям цифрового прибора, или же p
-А
изотерму можно строить полностью автоматически на компьютере с помощью специальной программы. Слив отработанную жидкость, и подготовив установку заново, наносят такое же количество вещества на рабочую поверхность ванны. Получив нужное давление перемещением барьера, начинают процесс переноса монослоя на подложку.
3.2.2 Расчет порогового значения поля Фредерикса
Для формирования ленгмюровского слоя с планарной анизотропией был использован эффект Фредерикса ориентации молекул мезогенных комплексов. Расчет минимального значения магнитного поля, при котором происходит переориентация молекул жидких кристаллов, рассчитывался по формуле (СГС):
(3)
Здесь d – параметр ячейка жидкого кристалла;
K – Константа упругости (10-6 дин);
Δχ – величина магнитной анизотропии (в данной работе Δχ = –6300·10-6 см3/моль).
Расчет показал, что величина магнитного поля, необходимая для начала ориентации молекул мезогенного комплекса составляет 0,0027 Тл. Таким образом, величины поля, создаваемого установкой (0,005 Тл), достаточно для ориентации монослоя.
3.2.3 Расчет необходимого количества вещества
Этот расчет необходим для быстрого и эффективного получения монослоя, а также для интерпретации p
-А
изотермы и выводов относительно строения слоя в каждый конкретный момент.
Площадь на одну молекулу S определялась как площадь ванны, приходящуюся на все молекулы.
(4)
где L - длинна ванны (м); D - ширина (м); N - всего молекул рабочего вещества;
(5)
где C - концентрация рабочего раствора (г/мл); V - объём рабочего раствора (мл); M - молярная масса (г/моль); NA - число Авогадро (1/моль).
Отсюда следует:
(6) площадь на 1 молекулу;
(7) рабочий объём раствора концентрации.
Для получения гетеромолекулярного монослоя необходимо смешивание полученных растворов, при этом объем каждого раствора при условии их одинаковой концентрации рассчитывался по формуле:
(8)
Где Vi, Mi и Ci – соответственно объем, молярная масса и концентрация каждого компонента раствора; Ni – желаемое число молекул, в растворе.
Выбор растворителя определялся следующими факторами: нерастворимость в воде, растворимость в нем рабочего вещества, летучесть, плотность растворителя должна быть меньше, чем плотность воды, кроме того, он должен обладать наименьшим вредным воздействием.
В данной работе растворы всех соединений были приготовлены раздельно. В качестве растворителя для фуллеренов был использован бензол; краун-эфиры и магнитные комплексы наносились на поверхность воды из раствора в хлороформе. Концентрация каждого раствора составляла 0,3-0,35 мл/мл. Для формирования гетеромолекулярного слоя использовались смеси этих растворов в количестве, обеспечивающем молекулярное соотношение краун-эфиров, фуллеренов и магнитных комплекса 20:10:2. Такое соотношение было выбрано по причине ожидания, что образующийся комплекс краун– фуллерен будет иметь структуру сэндвича.
Взвешивание исследуемых веществ производилось на весах ВЛР-200, с точностью до 0,15 мг. Измерение объема жидкости проводилось капилляром объемом 0,1мл. Коэффициент покрытия составлял 0,4-0,5.
Как было отмечено выше, для построения p-А изотерм используется ЛБ установка, которая позволяет управлять перемещением барьеров, поддерживать постоянное давление монослоя и осуществлять его двустороннее сжатие. В установке реализуется возможность как ручного (без использования компьютера), так и полностью автоматического управления процессом формирования монослоя (с использованием компьютера).
В режиме автоматического процесса формирования монослоя, управление осуществляется с помощью интерфейсной оболочки программы, а также с помощью сервисной программы, вывод данных при этом осуществляется на компьютер.
Работая с контроллером ванны, она управляет двигателями и осуществляет запись данных. Сохраняемыми данными являются площадь поверхности и поверхностное давление. В сервисной программе реализованы различные моды: компрессия и декомпрессия монослоя, поддержание давления, временная задержка.
После включения движения барьера, установка работает в автоматическом режиме. Вид p
-А
изотерм зависит от скорости движения барьера, следует использовать оптимальную скорость передвижения барьера. Это связано с тем, что при минимальной скорости происходит существенное испарение молекул воды, что в свою очередь приводит искажению полученной p
-
A
изотермы.
В данной работе изотерма была построена автоматически.
3.2.6 Уравнения Фольмера для анализа
p
-А
изотерм
При анализе p-А
изотерм были использованы уравнения Фольмера (9) и (10):
(9),
(10),
где , , z-фактор сжимаемости.
Амол
.- площадь, приходящаяся на одну молекулу в монослое, Аэфф
- площадь, занимаемая гидратированной молекулой на начальной стадии формирования монослоя.
Из уравнения (9) можно определить Аэфф
и фактор сжимаемости, представляя экспериментальную изотерму в координатах . Аэфф
определяется экстраполяцией прямолинейного участка хвоста изотермы до нулевого давления (11):
(11)
Коэффициент сжимаемости z определяется из тангенса угла наклона экстраполируемого прямолинейного участка.
Уравнение (10), записанное в координатах , в том случае, если на изотерме появляются линейные участки, позволяет оценить Амол. (12):
(12)
3.3 Молекулярное моделирование и определение площади, занимаемой молекулой в плавающем слое
Пространственные характеристики молекул, необходимые при анализе зависимостей поверхностного давления от площади, приходящейся на одну молекулу (p
-
A
изотерм), определялись из моделей, построенных с помощью компьютерной программы молекулярного моделирования Hyper
Chemistry
(метод MM+, геометрическая оптимизация), табл.1.
Таблица 1 Площади, занимаемые молекулами в монослое.
| Положение молекул в слое и площадь, приходящаяся на молекулу, Å2 |
| ДБ24К8-8е-12 |

329
|

208,3
|

108
|

311,5
|

198,5
|

268,7
|

197
|
| C60 |

97,8
|

78,1
|

73,3
|

48,9
|

32,6
|

24,4
|
| [Tb(LH)3][X3] |

410
|

205
|
ДБ24К8
+ C60
(вид сверху)
|

495
|

301,8
|

443,9
|

231,3
|
4. ЭКСПЕРИМЕНТАЛЬНЫЕ РЕЗУЛЬТАТЫ И ОБСУЖДЕНИЯ
Зависимости поверхностного давления от площади, приходящейся на одну молекулу (p
-
A
изотермы) для гомо - и гетеромолекулярных плавающих слоев на основе С60, ДБ24К8 и магнитного комплекс представлены ниже.
Плавающие слои на основе фуллерена С60.

Рис. 11.
p
-
A
и схема структурных превращений в плавающем слое на основе изотермы С60.


Рис. 12.
Применение уравнений Фольмера для анализа
p
-
A
изотермы С60.
Важной особенностью p
-
A
изотермы С60 (рис.11) является начало роста давления при площади на молекулу в плавающем слое, заметно меньшей площади, занимаемой молекулой при плотной упаковке на плоскости, что является признаком образования трехмерных агрегатов. Следовательно, молекулы С60 начинают агрегировать на исходной стадии формирования слоя сразу после испарения растворителя, что исключает возможность формирования слоя. Надо заметить, что при сжатии меняется только структура пленки и не происходит деформации самих молекул фуллерена. Это связано с жесткостью молекул С60.
Перегиб изотермы, при площади на молекулу 76 Å2 соответствует переходу из жидкорасширенной в конденсированную фазу, в которой рост давления сопровождается ростом толщины слоя. Такой плавающий слой не может быть гладким, а ЛБ-пленка, сформированная из таких слоев, не будет иметь регулярную слоевую структуру. Для создания монослоя необходимо наличие других молекул, которые бы подавляли агрегацию. Роль таких молекул могут выполнить краун-эфиры, обладающие способностью захватывать ионы и нейтральные молекулы своей полостью.
Плавающие слои на основе дизамещенного ДБ24К8.
Начало роста давления на p
-
A
изотерме краун-эфира (рис.13), полученной при формировании ленгмюровского слоя, соответствует площади на молекулу, заметно превышающей максимальную площадь, приходящуюся на молекулу в монослое. Это объясняется тем, что ДБ24К8 содержит в заместителях активные в отношении образования водородных связей енаминнокетонные группы; при возникновении между ними и молекулами растворителя (хлороформа) связей типа N–H···Cl растворитель может в определенном количестве присутствовать в плавающем слое даже при высоких давлениях[4].
Следует отметить, что вид p
-
A
изотерм дизамещенных краун-эфиров сильно зависит от температуры проведения эксперимента[3]. Эксперимент проводился при температуре 22°С. Этим фактом можно объяснить отсутствие характерного плато (или горба), соответствующего фазовому превращению, при котором плосколежащие молекулы наползают друг на друга, а затем переворачиваются на ребро. Однако существование заметного перегиба на изотерме позволяет заключить, что в данном монослое идут те же превращения, что и при низких температурах.

Рис. 13.
p
-
A
изотермы и схема структурных превращений в плавающем слое на основе краун-эфира.

Рис. 14.
.
Применение уравнений Фольмера для анализа
p
-
A
изотермы краун-эфира.
В связи с тем, что молекула ДБ24К8 является достаточно гибкой, перегиб изотермы связан с конформационным переходом[3]. Исходя из анализа площади, приходящейся на молекулу (табл.1), изменяется конформация центральной части молекулы. В связи с тем, что молекула ДБ24К8 является достаточно гибкой, перегиб изотермы связан с конформационным переходом. Исходя из анализа площади, приходящейся на молекулу, изменяется конформация центральной части молекулы. В этом случае может наблюдаться сначала поворот части молекулы относительно поверхности воды, а затем выталкивание из воды. При больших давлениях молекулы наползают друг на друга с образованием бислоевой структуры.
Необходимо так же обратить внимание на то, что после нанесения на поверхность воды молекулы краун-эфиров достаточно глубоко проникают в поверхностный слой и проскальзывают под барьером. Эта проблема была решена с помощью прикрепленной к барьеру тефлоновой ленты, которая углублялась в субфазу на 3 мм.
Плавающие слои на основе мезогенного комплекса тербия
p-А изотерма, полученная при исследовании процесса формирования монослоя на основе комплекса тербия представлена на рис.15.

Рис.15 .
p
-А изотерма и схема структурных превращений в плавающем слое на основе комплекса тербия.
p-А изотерма прямого хода комплекса тербия демонстрирует ряд характерных изломов, соответствующих определенным структурно-фазовым превращениям в поджимаемом слое. Характерные изломы и перегибы свидетельствуют о том, что комплекс Tb претерпевает в процессе компрессии конформационные изменения, рис.15.
Анализ p-А изотермы показывает отсутствие у тербия газовой фазы . На участке 1-2 происходит выталкивание с поверхности субфазы гибких алифатических хвостов. Участок 2-3, соответствует развороту молекул. Участок 3-4, соответствует стадии наползания алифатических хвостов на центральные части комплексов, с образованием бислоевой структуры. В области существования мультислоевых структур (при давлениях выше 12,5 мН/м) наблюдается «вмерзание» бумажной пластины Вильгельми в образующийся слой. Это приводит к сдвигу пластины датчика синхронно с движущимся барьером. Дальнейшее поджатие плавающей мультислоевой структуры, на сколько это представлялось возможным, не приводит к разрушению последней.
Плавающие слои на основе С60 и дизамещенного ДБ24К8
Начало роста давления на изотерме комплекса краун-эфир – фуллерен (рис.16) соответствует площади на молекулу в плавающем слое, заметно большей площади, занимаемой условной молекулой при плотной упаковке на плоскости. Так как подобная картина наблюдается и для изотермы гомомолекулярного слоя краун-эфира, это можно объясняется способностью дибензо24-краун-8 удерживать молекулы растворителя в монослое.
При дальнейшем росте давления молекулы фуллерена начинают «запрыгивать» в кольцо краун-эфира. Стоит заметить, что молекулы С60 не дают молекулам краун-эфира испытать конформационный переход.
Перегиб изотермы при площади на молекулу, составляющей 150Å2 соответствует перевороту молекулы дибензо24-краун8 на ребро с образованием комплекса типа сэндвич. Дальнейший рост давления приводит к выталкиванию гибких алифатических хвостов молекул краун-эфира с поверхности воды.

Рис.16 .
p
-А изотерма и схема структурных превращений в плавающем слое на основе комплекса краун-эфир – фуллерен.

Рис. 17.
Применение уравнений Фольмера для анализа
p
-
A
изотермы С60.
На рис.18 приведены изотермы сжатия для гомомолекулярного слоя краун-эфира и гетеромолекулярного слоя на основе краун-эфира и фуллерена. Данный график подтверждает образование в плавающем слое комплексов краун-эфир – фуллерен.

Рис. 18.
Изотермы сжатия плавающих слоев на основе краун-эфира и краун-эфира – фуллерена.
Плавающие слои на основе С60, дизамещенного ДБ24К8 и мезогенного комплекса тербия
На рис.19 приведены изотермы плавающего слоя на основе С60, ДБ24К8 и магнитного комплекса с полем и без него. Следует отметить, что в обоих случаях изотермы идентичны, не наблюдается ярко выраженных перегибов, хотя заметно наличие ориентирующего эффекта молекулами мезогенного комплекса тербия. Начало роста давления на изотермах плавающего слоя соответствует площади на молекулу, превышаю максимальную площадь, приходящуюся на условную молекулу при молекулярном соотношении комплекса краун - фуллерен к магнитному комплексу 10:2 молекул, как и в случае чистого крауна. Это так же можно объяснить способностью молекул краун-эфира удерживать молекулы растворителя на поверхности воды, а так же полной дезориентацией молекул плавающего монослоя.

а

б
Рис. 19.
p
-
A
изотермы плавающего слоя на основе С60,
ДБ24К8-8е-12 и
магнитного комплекса без поля (а) и с полем (б)
.
Отличительной особенностью p
-
A
изотермы при наличии поля (рис. 20) является ее сдвиг в область меньших площадей, приходящихся на молекулу. Это связно с ориентацией молекул магнитного мезогенного комплекса, а в месте с ним и молекул краун-эфиров уже на начальной стадии формирования монослоя. Так как молекулы мезогенных комплексов обладают отрицательной магнитной анизотропией, ориентация молекул плавающего слоя происходит параллельно направлению движения барьера (перпендикулярно полю).
Этапы формирование ленгмюровской пленки в присутствии магнитного поля происходит следующим образом. При давлении 3 мН/м монослой переходит из газовой фазы в жидкорасширенную. При дальнейшем росте давления происходит сначала формирование комплекса краун-эфир – фуллерен, и переворот го на ребро, а затем при давлении 7 мН/м происходит конформационный переход комплекса тербия. Дальнейшее сжатие пленки ведет к выталкиванию гибких алифатических хвостов с поверхности воды.

Рис. 20.
p
-
A
изотермы и схема структурных превращений в плавающем слое на основе плавающего слоя на основе С60,
ДБ24К8-8е-12 и магнитного комплекса.

Рис. 21.
Применение уравнений Фольмера для
p
-
A
изотерм плавающего слоя на основе С60,
ДБ24К8-8е-12 и магнитного комплекса (компрессия)
.
Стоит заметить, что при отсутствии магнитного поля анизометричные молекулы, составляющие плавающий слой, располагаются перпендикулярно направлению движения барьера. При этом все этапы формирования пленки происходят аналогично тем, которые наблюдаются при формировании плавающего слоя при наличии магнитного поля, с той лишь разницей, что структурно-фазовые превращения проходят при больших значениях давления. Это так же можно объяснить изначальной дезориентацией молекул.
ОСНОВНЫЕ РЕЗУЛЬТАТЫ И ВЫВОДЫ
1. При исследовании поведения молекул дизамещенного фуллерена С60 при формировании плавающих слоев на их основе показано, что молекулы фуллерена начинают агрегировать практически сразу после ухода молекул растворителя с поверхности воды. Это доказывает невозможность с помощью технологий ЛБ из молекул фуллерена получить конденсированный монослой.
2. В ленгмюровском монослое на основе дибензо24-краун8 и фуллерена С60 происходит образование стерического комплекса, сопровождающееся сдвигом структурно-фазовых превращений в сторону больших площадей на молекулу по сравнению с монослоем на основе чистого краун-эфира.
3. В случае тройной системы краун-эфир, С60 и комплекса тербия в ленгмюровском монослое в присутствии магнитного поля за счет эффекта Фредерикса происходит ориентация молекул краун-эфира молекулами комплекса тербия, сопровождающаяся уплотнением монослоя.
4. Молекулы комплекса тербия испытывают конформационный переход при давлении 7 мН/м, в результате которого теряют ориентирующую способность. Следовательно, переносить плавающие слои на подложку для их дальнейшего исследования необходимо при более низких давлениях, чтобы избежать релаксационных превращений молекул комплекса тербия при отрыве монослоя от воды.
СПИСОК ИСПОЛЬЗУЕМОЙ ЛИТЕРАТУРЫ
1. Alexandrov A.I., Krasnov A.V., Pashkova T.V. Magnetic field effect in floating layers and Langmuir-Blodgett films of mesogenic complex of lanthanids. Sintheyic metals 147 (2004) 205-208.
2. Alexandrov A.I., Pashkova T.V., Dronov V.M., Galyametdinov Yu.V. Structure investigation of mesogenic complex of dysprosium: bulk samples and Langmuir-Blodgett films. Mol. Materials, 2001, Vol 14, pp. 263-274.
3. Александров А.И., Курносов А.В., Пашкова Т.В., Акопова О.Б. Исследование структуры некоторых краун-эфиров в объемных образцах и пленках Ленгмюра-Блоджетт. Химия и химическая технология, 2005. Том 8. Вып. 5. С. 38-43.
4. Александров А.И., Пашкова Т.В., Пятунин А.В. Формирование и структура пленок Ленгмюра-Блоджетт на основе комплексов краун-эфиров. Жидкие кристаллы и их практическое использование. 2007. Вып. 4(22). С. 91-98.
5. Александров А.И., Пашкова Т.В., Пятунин А.В., Липунов И.В. Формирование и исследование структуры пленок Ленгмюра-Блоджетт на основе системы краун-эфир – фуллерен. Жидкие кристаллы и их практическое использование. 2008. Вып. 4(26). С. 73-80.
6. Блинов Л.М. Физические свойства и применение ленгмюровских моно- и мульти-молекулярных структур. Успехи химии. т. 52, №8, С. 1263-1300, 1983.
7. Блинов Л.М. Ленгмюровские пленки Успехи физических наук. т. 155, №3 . 443-480, 1988.
8. Борщевский А.Я., Иоффе И.Н., Сидоров Л.Н., Троянов С.И., Юровская М.А. Фуллерены - Нанометр, июнь 2007
9. Гребенкин М.Ф., Иващенко А.В. Жидкокристаллические материалы. – М.: Химия, 1989.– 288 с.
10. Давлетбаев Р.С., Просвирин А.В., Кадкин О.Н., Рахматуллин А., Гнездилов О.И., Галяметдинов Ю.Г.Структура и магнитные обменные взаимодействия в жидкокристаллических комплексах, содержащих радикал темпо и ферроцен.Химия и компьютерное моделирование. Бутлеровские сообщения. 2001, № 4.
11. Елецкий А.В., Смирнов Б.М. Фуллерены и структуры углерода//УФН, т. 165, № 9, 1995. С 977.
12. Золотухин И.В. Фуллерит – новая форма углерода//Соросовский образовательный журнал №2, 1996. с.51.
13. Карцова А.А. Покорение вещества. Органическая химия: Учебное пособие. Спб.: Химиздат, 1999. – 272 с.
14. Луков В.В. Магнетохимический метод исследования – новые аспекты применения//СОЖ № 8, 1999.
15. Малыхина Л.В., Просвирин А.В., Овчинников И.В., Галяметдинов Ю.Г. Структура и ориентация в мезофазе комплексов лантаноидов с алкилсульфатным противоионом.Химия и компьютерное моделирование. Бутлеровские сообщения. 2001, № 4.
16. Мастеров В.Ф. Физические свойства фуллеренов// Соросовский образовательный журнал №1,1997. С.92-99.
17. Овчинников И.В., Галяметдинов Ю. Г. Магнитные жидкие кристаллы на основе координационных соединений. – Рос. хим. ж. (Ж. Рос. хим. об-ва им. Д.И. Менделеева), 2001, т. XLV, № 3. С.74-79.
18. Пасынский А.Г. Коллоидная химия. Учеб. Для вузов, под ред. акад. Каргина В.А. – М.: Высшая школа, 1959. – 265 с.
19. Разумов В.Ф., Ефимов О.Н., Каплунов М.Г., Клюев М.В., Клюева М.Е., Ломова Т.Н., Тарасов Б.П., Трошин П.А., Шульга Ю.М., Усольцева Н.В., Быкова В.В., Ярмоленко О.В. Наноструктурированные материалы для систем запасания и преобразования энергии; под ред. В.Ф. Разумова и М.В. Клюева. – 2-е изд., испр. и доп.– Иваново: Иван. гос. ун-т, 2008. – 384 с.
20. Романов В.П. Пороговые эффекты в жидких кристаллах// Соросовский образовательный журнал т.7, № 1, 2001. С.96-101.
21. Сидоров Л.Н., Иоффе И.Н. Эндоэдральные фуллерены.// Соросовский образовательный журнал, 2001, т. 7, № 8, С. 30–36.
22. Соколов В. И., Станкевич И. В. Фуллерены - новые аллотропные формы углерода: структура, электронное строение и химические свойства//Успехи химии, т.62 (5), 1993. – 455 с.
23. Фридрихсберг Д.А. Курс коллоидной химии. Учеб для вузов. – 2-е изд., перераб. и доп. – Л.: Химия, 1984. – 368 с.
24. Хираока М. Краун – соединения. Свойства и применения. Пер. с англ. – М.: Мир, 1986.– 363 с.
25. Аврамов П.В. курс лекций «Элементарные формы углерода», http://kristall.lan.krasu.ru/Education/Lection/carbon/carbon1/carbon1.html.
26. Алферов Ж.И., Копьев П.С., Сурис Р.А., Асеев А.Л. «Наноматериалы и нанотехнологии», http://www.microsystems.ru/files/publ/601.htm
27. Левицкий М. «Краун-эфиры» http://www.krugosvet.ru/enc/nauka_i_tehnika/himiya/KRAUN-EFIRI.html
|