Вступ
Тема контрольної роботи «Підшипники кочення».
Підшипники кочення є основним видом опор.
До недоліків підшипниківкочення варто віднести високу чутливість до ударних і вібраційних навантажень, низьку довговічність у високошвидкісних приводах (небезпека руйнування сепаратора від дії відцентрових сил), порівняно великі радіальні розміри, підвищену шумову характеристику при високих швидкостях.
Підшипники кочення класифікуються за наступними ознаками:
1. За напрямком сприймаємого навантаження відносно осі вала: радіальні, що сприймають радіальні навантаження, упорні, що сприймають осьові навантаження, і радіально-упорні, що сприймають водночас радіальні й осьові навантаження.
2. За формою тіл кочення: кулькові і роликові, причому останні можуть бути з цилиндричними, конічними, бочкоподібними, голчастими і крученими роликами.
3. За числом рядів тіл кочення: однорядні і багаторядні.
4. За здатністю самовстановлюватися: несамоустановлювальні і самоустановлювальні (сферичні).
5. За габаритними розмірами: на серії.
Мета роботи - розглянути сучасні методи розрахунку працездатності підшипників і конструювання підшипникових вузлів, вирішити типові приклади розрахунку і проектування опор на підшипниках кочення.
1.
Теоретична частина
1.1
Особливості конструювання підшипникових вузлів
1.1.1 Загальні відомості
Працездатність підшипників кочення залежить не тільки від правильного їх підбору, але і від раціональності конструкції підшипникового вузла.
Підшипники встановлюють у твердих корпусах, прагнучи уникнути перекосів кілець, що можуть виникнути внаслідок неправильної обробки посадкових місць при монтажі.
Обертові відносно навантаження кільця підшипників з’єднують зі сполученими деталями з натягом за допуском r6, m6, n6, тощо, щоб уникнути їхнього провертання за посадковою поверхнею.
Встановлення нерухомих кілець підшипника здійснюють з полем допуску H7, N7, K7, тощо для полегшення осьових переміщень кілець при регулюванні проміжків у підшипнику, а також при температурних деформаціях валів.
При конструюванні підшипникових вузлів прагнуть до того, щоб вал з опорами являв собою статично визначену систему.
Забиваем Сайты В ТОП КУВАЛДОЙ - Уникальные возможности от SeoHammer
Каждая ссылка анализируется по трем пакетам оценки: SEO, Трафик и SMM.
SeoHammer делает продвижение сайта прозрачным и простым занятием.
Ссылки, вечные ссылки, статьи, упоминания, пресс-релизы - используйте по максимуму потенциал SeoHammer для продвижения вашего сайта.
Что умеет делать SeoHammer
— Продвижение в один клик, интеллектуальный подбор запросов, покупка самых лучших ссылок с высокой степенью качества у лучших бирж ссылок.
— Регулярная проверка качества ссылок по более чем 100 показателям и ежедневный пересчет показателей качества проекта.
— Все известные форматы ссылок: арендные ссылки, вечные ссылки, публикации (упоминания, мнения, отзывы, статьи, пресс-релизы).
— SeoHammer покажет, где рост или падение, а также запросы, на которые нужно обратить внимание.
SeoHammer еще предоставляет технологию Буст, она ускоряет продвижение в десятки раз,
а первые результаты появляются уже в течение первых 7 дней.
Зарегистрироваться и Начать продвижение
За здатністю фіксувати осьове положення вала опори розділяють на плаваючі і фіксуючі (рис.1).
“Плаваючі” опори допускають осьове переміщення вала в будь-якому напрямку для компенсації подовження або укорочення вала при температурних коливаннях. Вони сприймають тільки радіальне навантаження.
Як “плаваючі” опори застосовують кулькові і роликові підшипники.
Фіксуючі опори обмежують переміщення вала в одному або обох напрямках. Вони сприймають радіальне і осьове навантаження.
Як фіксуючі опори використовують радіальні і радіально-упорні підшипники (рис.1).
При виборі “плаваючих” і фіксуючих опор за схемами 1 і 2 враховують рекомендації:
- підшипники обох опор повинні бути навантажені, по можливості, рівномірно, тому якщо на вал діє осьова сила, то опору, що плаває, вибирають ту, яка навантажена більшою радіальною силою. При цьому всю осьову силу сприймає підшипник, менш навантажений радіальними силами;
- при відсутності осьових сил за опору, що плаває, приймають менш навантажену опору, щоб зменшити тертя від осьового переміщення підшипника;
- якщо вихідний кінець вала з’єднується з іншим валом муфтою, то фіксуючою приймають опору поблизу цього кінця вала.
У схемах 3 і 4 вал фіксується в двох опорах, причому в кожній опорі в одному напрямку. В опорах цих схем можуть бути прийняті кулькові чи роликові радіальні і радіально-упорні підшипники.
Схеми 3 і 4 застосовують з певним обмеженням за відстанню L між опорами. Пов’язане це зі зміною проміжків у підшипниках при температурних коливаннях.
У схемі 3, яку називають схемою “врозпор”, у перетинах вала між опорами від осьових сил діють напруження стиску, тому, щоб виключити защемлення тіл кочення внаслідок нагрівання при роботі, передбачають осьовий проміжок “а”, трохи більший за очікувану температурну деформацію вала. Величину “а” встановлюють дослідним шляхом (у вузлах з радіальними шарикопідшипниками при L≤300 мм і обмеженому нагріванні а≈0,2...0...0,5 мм). Необхідний проміжок “а” створюють за допомогою набору тонких металевих прокладок (рис.2).
Значення теплових деформацій залежить від довжини вала, тому застосування в схемі 3 радіально-упорних підшипників, чутливих до зміни осьових проміжків, рекомендується при L=(6...8)dn, де dn – діаметр цапфи. Менші значення відносяться до роликових, більші – до кулькових радіально-упорних підшипників.
Для радіальних підшипників L ≥ 10ּdn.
Схему 3 застосовують при відносно коротких валах.
Сервис онлайн-записи на собственном Telegram-боте
Попробуйте сервис онлайн-записи VisitTime на основе вашего собственного Telegram-бота:
— Разгрузит мастера, специалиста или компанию;
— Позволит гибко управлять расписанием и загрузкой;
— Разошлет оповещения о новых услугах или акциях;
— Позволит принять оплату на карту/кошелек/счет;
— Позволит записываться на групповые и персональные посещения;
— Поможет получить от клиента отзывы о визите к вам;
— Включает в себя сервис чаевых.
Для новых пользователей первый месяц бесплатно.
Зарегистрироваться в сервисе

Рис.2. Приклад установки вала на роликових конічнихпідшипниках “врозпор”
У схемі 4 (рис.1), яку називають схемою “врозтяг”, ймовірність защемлення тіл кочення підшипників внаслідок теплових деформацій вала зменшується, тому що в цій схемі при подовженні вала осьовий проміжок у підшипниках збільшується (рис. 3).

Рис.3. Складальний комплект вала з підшипниками
З цієї причини відстань між підшипниками приймають L=(6...10)dn. Менше значення відноситься до роликових, більше - до кулькових радіальних і радіально-упорних підшипників.
В окремих конструкціях застосовують так звані “плаваючі” вали, які мають обидві “плаваючі” опори. Осьова фіксація вала в цьому випадку здійснюється не в опорах, а яким-небудь іншим елементом конструкції, наприклад, зубцями шевронних коліс (рис.4) або торцевими шайбами (рис.5).


Рис.4. Фіксація вала зубцями Рис.5. Фіксація вала
зубцями шевронних коліс торцевими шайбами
Для створення самостійного складального комплекту вала з підшипниками в деяких конструкціях підшипникових вузлів застосовують чавунні стакани. У підшипниковому вузлі вала-шестірні конічної передачі стакан є обов’язковим. За його допомогою виконують регулювання зубчастого зачеплення (рис.6).
1.1.2 Встановлення підшипників
Працездатність, надійність і довговічність підшипників кочення залежить не тільки від матеріалу і якості виготовлення їх деталей, але й від того, як вони встановлені. Підшипники кочення мають точно фіксувати положення вала і не відчувати додаткових навантажень від температурних деформацій вала, перенатягу при монтажі тощо. Довгі вали можуть мати значні температурні деформації і тому кріплення їх в корпусі здійснюється однією нерухомою опорою, інші опори цих валів виконують „плаваючими”, тобто такими, які допускають осьове переміщення вала (рис.7, а). Для здійснення вільних осьових переміщень найбільш підходять радіальні роликові підшипники і радіальні шарикопідшипники з незакріпленими зовнішніми кільцями.

Рис. 7. Встановлення довгих (а) і коротких (б) валів
Короткі вали при відсутності значного нагріву можна кріпити двома опорами таким чином, щоб одна з них утримувала вал в одному, а друга – в іншому осьовому напрямках (рис.7, б). Для усунення можливості защемлення тіл кочення в радіальних підшипниках передбачають осьовий проміжок (0,2÷0,3) мм між кришкою підшипника і зовнішнім кільцем, а в радіально-упорних – осьове регулювання шляхом змін загальної товщини набору прокладок між фланцем кришки підшипника і його корпусом. Якщо в опорах вала встановлені тільки радіальні підшипники, то підшипником, який фіксує вал від осьового зміщення і сприймає осьове зусилля, рекомендується приймати той, який має найменше радіальне навантаження. При наявності упорного або радіально-упорного дворядного або багаторядного підшипника всі радіальні підшипники цього вала мають бути „плаваючими”. Обидва кільця підшипників, що фіксують вал від осьового зміщення, а також кільця, які обертаються, для запобігання їхнього обертання за посадочними поверхнями при динамічних навантаженнях відповідно закріплюють на валах і в корпусі. Це закріплення виконують за допомогою посадок кілець на вали і в корпусах з натягом, а також за допомогою інших засобів закріплення.
Посадки внутрішніх кілець підшипників кочення на вал виконують за системою отвору, а посадки зовнішніх кілець в корпусах – за системою вала. Поля допусків валів і отворів корпусів для встановлення підшипників кочення надані в таблиці 1 і 2.
Таблиця 1. Рекомендовані посадки підшипників кочення на вал
| Машини і підшипникові вузли |
Умови, які визначають вибір посадки |
Посадки кілець підшипників класів точності 0 і 6 |
| Обертання вала |
Вид навантаження |
Режим роботи |
Діаметри підшипників d, мм |
| 1 |
2 |
3 |
4 |
5 |
6 |
Ролики стрічкових транспортерів, ролики конвеєрів
|
Немає |
Місцеве |
Легкий або нормальний |
g6 |
Колеса автомобілів (не приводні), тракторів, вагонеток, літаків
|
Те ж |
Нормальний або важкий |
Всі діапазони розмірів |
h6 |
| Центрифуги, відцентрові насоси, вентилятори |
Є |
Циркуляційне |
Легкий або нормальний |
До 40
Понад 40 До 140
|
k6
k6; h6
|
| Коробки передач автомобілів і тракторів, великі редуктори |
Є |
Циркуляційне або комбіноване |
Нормальний або важкий |
До 40
Понад 40
До 140
Понад 100
До 200
|
k6; j86
m6
n6; p6
k6
|
| Редуктори коробок швидкостей верстатів, ланцюгові передачі |
Є |
Циркуляційне |
Легкий або нормальний |
До 40
Понад 40
До 140
|
k6; h6; j86 |
Примітка: Кільце упорних шарико- та роликопідшипників усіх типів встановлюють на валу за допуском j86. Кільця підшипників по валу у процесі регулювання саджають за допуском h6.
Таблиця 2. Рекомендовані посадки підшипників кочення у чавунний або сталевий корпус
| Машини і підшипникові вузли |
Умови, які визначають вибір посадки |
Посадки кілець підшипників класів точності 0 і 6 |
| Обертання вала |
Вид навантаження |
Режим роботи |
Діаметри підшипників D, мм |
| 1 |
2 |
3 |
4 |
5 |
6 |
| Ролики стрічкових транспортерів, ролики конвеєрів |
Є |
Циркуляційне |
Важкий |
M7 |
| Колеса автомобілів (не приводні), тракторів, вагонеток, літаків |
Те ж |
Нормальний або важкий |
Всі діапазони розмірів |
Р7 |
| Центрифуги, відцентрові насоси, вентилятори |
Немає |
Циркуляційне або комбіноване |
Нормальний або важкий |
К7 |
| Коробки передач автомобілів і тракторів, великі редуктори |
Немає |
Місцеве |
Нормальний |
К7 |
| Редуктори коробок швидкостей верстатів, ланцюгові передачі |
Немає |
Циркуляційне або комбіноване |
Нормальний або важкий |
К7 |
Примітка: Кільця підшипників, що пересуваються по корпусу у процесі їх регулювання, саджають за допуском Н7.
При встановленні підшипників на вал і в корпус обов’язковим є виконання наступної умови: осьове зусилля має передаватися безпосередньо на те кільце, яке напресовується або знімається. Це зусилля не повинне передаватися через тіла кочення (кульки або ролики), інакше на доріжках і самих тілах кочення утворюються вм’ятини.
Існують три види навантаження кілець підшипників:
1) кільце обертається відносно радіального навантаження, зазнаючи так зване циркуляційне навантаження;
2) кільце нерухоме відносно радіального навантаження і зазнає місцеве навантаження;
3) кільце навантажене рівнодіючою радіального навантаження, яка не здійснює повний оберт, а коливається на певній частині кільця; таке навантаження буде коливальним.
Внутрішні кільця підшипників додатково закріплюють на валу виступом вала, розпірною втулкою і стопорним кільцем, яке закладують в канавку вала (рис.7, рис.8, б), торцевою шайбою, яка закріплена на валу гвинтами (рис.8, в), упорною гайкою зі стопорною шайбою, в якій внутрішній зуб входить в паз на валу, а один із зовнішніх зубців відгинається в шлиць гайки (рис.7 а, 8, г), та іншими методами закріплення. Закріплення внутрішніх кілець підшипників кочення на валах постійного діаметра (наприклад, трансмісійного) здійснюють за допомогою конічної розрізної фіксуючої втулки і упорної гайки зі стопорною шайбою (рис.8, д).

Рис.8. Закріплення внутрішніх кілець підшипників
Зовнішні кільця підшипників кочення закріплюють у корпусі, який обертається, за допомогою відповідної посадки (звичайно напруженої або щільної) і додатково наступними засобами: для усунення можливого переміщення в одному осьовому напрямку – виступом (заплечиком, буртиком) в корпусі (рис.9, а), стакані або кришці підшипника (рис.7, рис.9, б), для усунення можливих переміщень в обох осьових напрямках – поєднання виступів у корпусі і в кришці (рис.9, в) або в стакані і в кришці (рис.9, г).

Рис.9. Закріплення зовнішніх кілець підшипників
Для кілець, які рухаються , у „плаваючих” підшипниках або для кілець радіально-упорних підшипників кочення, які отримують осьове переміщення під час регулювання їхнього встановлення, має бути підібрана відповідна посадка.
1.1.3 Конструктивне оформлення посадочних місць
Шорсткість посадочних поверхонь у місцях встановлювання підшипника на валу і у корпусі повинна відповідати ГОСТ 2789 Ra=0,4...1,6 мкм. Таку шорсткість доцільно отримувати шліфуванням. Для виходу шліфувальних кругів виконують канавку. Канавки на валах призводять до підвищеної концентрації напружень і знижують міцність валів при змінних напруженнях. Тому канавки виконують частіше за все на валах, діаметри котрих визначаються за умовами жорсткості. Такими валами є вали редукторів, коробок передач. Канавки (рис.10, а, б) використовують при шліфуванні поверхні вала, а канавки ( рис.10, в) – при шліфуванні отвору в корпусі.

Рис.10. Виконання канавок
Таблиця 3. Розміри канавок
| d |
b |
d1 |
d2 |
R |
R1 |
| Понад 10 до 50 |
3 |
d - 0,5 |
d + 0,5 |
0,1 |
0,5 |
| Понад 50 до 100 |
5 |
1,6 |
0,5 |
| Понад 100 |
8 |
d - 1,0 |
d + 1,0 |
2,0 |
1,0 |
Меншою концентрацією напружень характеризується виконання перехідної поверхні вала галтеллю постійного радіуса (рис.11). Радіус галтелі приймають меншим координати фаски r за таблицею 4. Шліфування галтелі дуже важке. Тому таку форму перехідної поверхні застосовують тільки при високому напруженні вала.
Таблиця 4. Значення радіуса галтелі
| r |
1,0 |
1,5 |
2,0 |
2,5 |
3,0 |
3,5 |
| r1max |
0,6 |
1 |
1,5 |
2 |
При проектуванні підшипникового вузла контакт суміжних з підшипником деталей необхідно передбачати тільки по торцям підшипникових кілець, на висоті заплечика. Інші поверхні суміжних деталей повинні відстояти від торців кілець для усіх типів підшипників (зокрема конічних роликових) на а = (2...3) мм (рис. 12).
Особливістю конструкції конічного роликового підшипника є те, що сепаратор виступає за межі зовнішнього кільця (рис.13, а). Це слід враховувати при встановленні суміжних з підшипниками деталей, наприклад, шлицьових гайок (рис.13, б), або при встановленні двох поряд розташованих підшипників (рис.13, в). Суміжна деталь повинна відстояти від торця зовнішнього кільця конічного роликового підшипника на b = 4...6 мм. Щоб циліндричні поверхні суміжних деталей не торкалися сепаратора, висоти h1 і h2 не повинні бути більшими за наступні величини:


Рис.13. Кріплення конічного підшипника
Тому у дуже поширеному кріпленні конічного підшипника шлицьовою гайкою (рис.13, б) між торцями зовнішнього кільця підшипника і гайки встановлюють дистанційну втулку 1. Приблизно на половину своєї довжини втулка 1 заходить на вал діаметром d, інша половина довжини перекриває канавку для виходу інструмента при нарізанні різьби.
1.1.4 Конструювання опор валів конічних шестірень
У вузлах конічних передач широке застосування знаходить консольне закріплення вала-шестірні. При такому закріпленні опори вала розташовані по один бік від шестірні. Конструкція вузла в цьому випадку буде найбільш простою.
Недоліком консольного розташування шестірні є підвищена концентрація навантаження за довжиною зубця шестірні. Вали конічних шестірень короткі, відстані між підшипниками відносно малі, а навантаження великі. Концентрацію навантаження при консольному розташуванні шестірні зменшують за рахунок підвищення жорсткості вузла. Підвищені вимоги до жорсткості обумовлені також і високою точністю осьового розташування конічної шестірні, яка необхідна за умовами роботи конічного зачеплення.
При проектуванні вузла вибирають напрямок нахилу зубців і напрямок обігу шестірні однаковими для того, щоб осьова сила в зачепленні була спрямована від вершини ділильного конуса. У конструкціях вузлів конічних шестірень установлюють радіально-упорні підшипники. У швидкохідних передачах для зниження втрат в опорах установлюють кулькові радіально-упорні підшипники. Однак найчастіше застосовують конічні роликові підшипники як ті, у яких вантажність більша, вартість менша, а жорсткість, яку вони забезпечують, - найбільша.
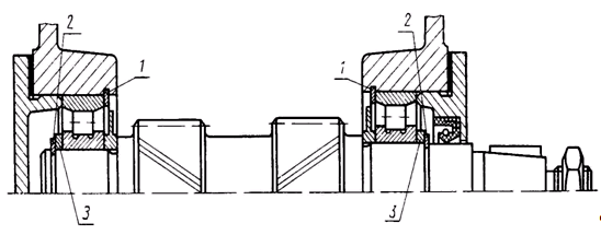
У силових конічних передачах підшипники встановлюють переважно за схемою „врозтяг” (рис.14). При такому встановленні вірогідність защемлення тіл кочення підшипників внаслідок теплових деформацій вала зменшується, тому що в такій схемі при подовженні вала осьовий проміжок у підшипниках збільшується.

Рис.14. Встановлення підшипників у силових конічних передачахза схемою “врозтяг”
Сили, які діють у конічному зачепленні, викликають появу радіальних реакцій опор. Радіальна реакція вважається прикладеною до вала в точці перетину його осі з нормалями, які проведені через середини контактних площадок на кільцях підшипника. При конструюванні потрібно витримати співвідношення: d = 1,3a і b/a = 2÷2,5, де а – величина консолі; b – відстань між точками прикладання реакцій. При такому встановленні вузол буде компактним.
Установлення підшипників за схемою „врозпор” приводить до значного збільшення розмірів вузла в осьовому напрямку. Застосовувати її в силових зубчастих передачах не рекомендується.
При конструюванні вузлів валів конічних шестірень передбачають регулювання підшипників фіксуючих опор й осьового положення вала-шестірні.
За рис.14 підшипники регулюють круглою шлицьовою гайкою 1, а осьове положення вала шестірні - набором тонких металевих прокладок 2.
За рис.15 регулювання підшипників здійснюється набором прокладок 1, а зачеплення - набором прокладок 2.

Рис.15. Встановлення підшипників у силових конічних передачахза схемою “врозпор”
1.1.5 Конструювання опор валів - черв'яків
На черв'як діє значна осьова сила, тому в опорах встановлюють радіально-упорні підшипники, здебільшого конічні роликові (рис.16). Кулькові радіально-упорні підшипники застосовують при тривалій безперервній роботі передачі з метою зменшення втрат потужності й тепловиділення в опорах, а також для зниження вимог до точності виготовлення деталей вузла. Однак розміри опор, виготовлених із застосуванням радіально-упорних кулькових підшипників, внаслідок їхньої меншої вантажності, більші, ніж при конічних роликових. Фіксування валів-черв'яків від осьових зсувів здійснюють за схемою „врозпор”.

Рис.16. Фіксування валів-черв'яків від осьових зсувів за схемою „врозпор”
За схемою „врозпор” не рекомендується встановлювати радіально-упорні підшипники з великим кутом контакту (α > 180). У цьому випадку, а також при великих температурних деформаціях вала для закріплення вала-черв'яка в корпусі використовують схему з однією фіксуючою і однією „плаваючою” опорами.
На рис.17, а–в показані найбільш поширені варіанти виконання фіксуючої опори вала-черв'яка. Радіально-упорні однорядні підшипники сприймають осьове навантаження в одному напрямку, тому для фіксації вала в обох напрямках у фіксуючій опорі необхідно встановити два таких підшипника (рис.17, а).
Найчастіше підшипники фіксуючої опори встановлюють в стакані (рис.17, б ), який потім закріплюють в корпусі. Наявність стакана спрощує встановлення вала-черв'яка. Під час складання черв'як встановлюють в корпусі найчастіше через отвір під підшипник. Інколи діаметр отвору менше за діаметр вершин витків черв'яка і процес складання стає неможливим. В цьому випадку діаметр отвору можна збільшити шляхом встановлення підшипників фіксуючої опори в стакан.
Застосування підшипника з упорним бортом на зовнішньому кільці (рис.17, в) значно спрощує конструкцію (отвір в корпусі без буртика, стакан відсутній). Встановлення підшипників за рис.17, в характеризується великою жорсткістю.
Для того, щоб попередньо комплект вала-черв'яка разом з підшипниками можна було вставити в стакан або в корпус, передбачають проміжок с ≥ (1÷2) мм.
Фіксування від осьових зсувів за схемою „врозпор” застосовують при очікуваній різниці температур черв'яка і корпуса до 20оС і відносно коротких валах. Наприклад, при встановлюванні вала d = (30÷50) мм на кулькових радіально-упорних підшипниках відношення l/d ≤ 8, на конічних роликових – l/d ≤ 6.
Підшипники фіксуючої опори регулюють набором тонких металевих прокладок 1, які встановлюють під фланець кришки підшипника (рис.17). Замість регулюючих прокладок інколи між зовнішніми кільцями підшипників встановлюють точно підігнане за довжиною кільце К.
1.1.6 Конструювання „плаваючих” опор
„Плаваючими” називають вали, обидві опори яких „плаваючі”. „Плаваючою” вважається опора, котра дозволяє валові при підвищенні температури подовжуватись без обмежень, тому що зовнішнє кільце підшипника не закріплене у осьовому напрямку. В цьому випадку забезпечується можливість самовстановлення „плаваючого” вала відносно іншого вала, який зафіксовано від осьових зсувів. Таке самовстановлення необхідне у шевронних або косозубих передачах, що представляють собою розділений шеврон. При виготовленні коліс зазначених передач можлива похибка кутового розташування зуба одного напівшеврона відносно зуба іншого. Ця похибка призводить до того, що спочатку в зачеплення входять зубці тільки одного напівшеврона. Осьове зусилля, яке виникає на цьому напівшевроні, намагається зсунути колесо разом з валом повздовж осі. Якщо опори дозволяють, то вал під дією осьової сили пересувається в таке положення, при якому в зачеплення ввійдуть зубці обох напівшевронів, а осьові сили зрівноважаться. Як опори “плаваючих” валів застосовують радіальні підшипники. Найчастіше використовують підшипники з короткими циліндричними роликами. У випадку застосування цих підшипників значно зменшується сила, потрібна для осьового зсуву вала. Усувається зношення корпусних деталей у місці встановлення підшипника, тому що осьове „плавання” вала забезпечується зсувом внутрішніх кілець підшипників сумісно з комплектом роликів відносно зовнішніх кілець.
Осьова фіксація вала в цьому напрямку здійснюється не в опорах, а в зубцях шевронних коліс.
На рис.18 показана конструктивна схема опор „плаваючих” валів. Тут внутрішні кільця підшипників закріплені на валу, а зовнішні – в корпусі. Одним з недоліків цієї схеми є необхідність виготовлення канавок в корпусі для встановлення кілець, які утворюють упорний буртик.

Рис.18. Конструктивна схема опор “плаваючих” валів з канавкою в корпусі
Цього недоліка не має схема, надана на рис.19. В цій схемі внутрішні кільця підшипників закріплені упором в буртик вала. Зовнішні кільця мають вільне осьове переміщення на величину проміжка Z у бік кришки підшипника (Z = 0,5÷0,8 мм).

Рис.19. Конструктивна схема опор з упором внутрішнього кільця в буртик вала
Величина проміжка Z залежить від розмірів і точності виготовлення сполучених зубчастих шевронних коліс, точності їхнього складання. Приведена на рис.19 - схема відповідає моменту складання передачі. Переміщення в корпусі обмежується бортами обох кілець підшипників.
На рис.20 показане положення деталей підшипника під час роботи передачі. Спочатку ролики підшипників зсувають зовнішні кільця на деяку величину у бік кришок. При цьому проміжок S зменшується і в подальшому за рахунок теплових деформацій вала повністю компенсується. Таким чином зовнішні кільця знаходять своє положення і лишаються нерухомими.
Осьове „плавання” вала відбувається за рахунок зсува внутрішніх кілець разом з роликами відносно зовнішніх кілець. При цьому між роликами і бортом зовнішнього кільця під час „плавання” вала утворюється осьовий проміжок S, котрий при роботі зменшується в деяких межах, які визначаються точністю виготовлення зубців зубчастих коліс
Перевагою такої схеми є можливість регулювання початкової величини осьового зміщення зовнішнього і внутрішнього кілець підшипника.
Регулювання здійснюється набором металевих компенсаторних прокладок 4, які встановлюються під фланці обох кришок підшипників (рис.19). В наслідок регулювання можна досягти точного взаємного розташування зовнішнього і внутрішнього кілець підшипників. Розміри деталей вузла, які впливають на осьове положення кілець, можуть бути виконані за вільними допусками.
1.1.7 Конструювання опор валів, розташованих співвісно
Такі опори зустрічаються в співвісних циліндричних редукторах, у яких на внутрішніх стінках корпусу поряд розташовані різні за габаритами підшипники співвісних валів (рис.21): один з них є опорою швидкохідного вала, а другий – тихохідного.
На рис.22, а показаний варіант, коли отвір під підшипники виконують безпосередньо на внутрішній стінці корпусу. Обробку отворів проводять з двох боків, утворюючи упорні буртики для підшипників у двох отворах, що ускладнює обробку. Але точність установки підшипників у цьому варіанті найбільш висока.
Процес розточення отвору можна зробити більш простим, якщо виконувати його наскрізним за зовнішнім діаметром більшого підшипника D2 (рис.22, б). Але для встановлення підшипника з меншим зовнішнім діаметром D1 необхідна додаткова деталь – кільце 3. Осьова фіксація цього кільця в корпусі виконується кільцевим виступом на зовнішній поверхні кільця, який входить у канавку корпуса. Підшипники встановлюють, спираючи на торцеві поверхні деталі 3. Тому точність виготовлення кільця 3 має бути високою. Для встановлення кільця корпус має бути роз’ємним. Кільце 3 можна зробити без фіксуючого виступу (рис.22, в). В цьому випадку спрощується і обробка отвору корпуса, і конструкція кільця. Але оскільки співвісно розташовані вали утворюють загальну систему, при розрахунку підшипників одного вала необхідно враховувати осьові сили, які діють на нього з боку іншого вала.
При встановленні кільця 3 перевага віддається варіанту, показаному на рис.22, в.
Регулювання осьових проміжків під час складальних операцій опор за рис.21, а, б виконують незалежно для кожного вала, а при складанні опор за рис.21, в – водночас для чотирьох підшипників обох валів.
1.1.8 Конструювання стаканів
Конструкція стакана визначається схемою розташування підшипників (рис.23, а–г). Стакани виконують литими з чавуна марки СЧ15. Товщину стінки δ приймають в залежності від діаметра отвору D під підшипник за таблицею 5.

Рис. 23. Конструкція стаканів
Таблиця 5. Залежність товщини стінки δ від діаметра отвору D
| D |
До 52 |
Понад 52 до 80 |
Понад 80 до 120 |
Понад 52 до 170 |
| δ |
4...5 |
6...8 |
8...10 |
10...12,5 |
Товщина упорного буртика δ1 і товщина фланця δ2 (рис.23, а-г) дорівнюють:
; .
Висоту упорного буртика t погоджують з розміром фаски зовнішнього кільця підшипника та можливістю його демонтажа за допомогою гвинтового знімача.
Діаметр d і число гвинтів z для кріплення стакана до корпусу вибирають за табл. 6.
Таблиця 6. Діаметр і кількість гвинтів для кріплення стаканів
| D |
40...62 |
63...95 |
100...145 |
150...220 |
| d |
6 |
8 |
10 |
12 |
| Число гвинтів, z |
4 |
6 |
Приймаючи с≈d, отримаємо мінімальний діаметр фланця стакана Dф :
.
Щоб забезпечити сполучення торців фланця стакана і корпуса за площиною, на зовнішній циліндричній поверхні стакана перед торцем фланця роблять канавку. На рис.10, а приведений профіль канавки на зовнішній поверхні стакана. Розміри канавки приведені в табл. 3.
Подібні канавки виконують перед буртиками стакана, по торцям яких встановлюються зовнішні кільця підшипників (рис.10, в, табл.3). Інколи на зовнішній поверхні стакана роблять проточку для зменшення довжини ділянки, що обробляється. Довжина точної ділянки l повинна дорівнювати ширині зовнішнього кільця підшипника.
1.1.9 Конструювання кришок підшипників
Кришки підшипників виготовляють з чавуна СЧ 15. Існують кришки привертні (рис.24) і закладні (рис.27). Форма кришки залежить від конструкції опор вала. Найчастіше торець вала не виступає за межі підшипника, тому зовнішня поверхня кришки плоска (рис.24, а - в). Якщо торець вала виступає за межі підшипника, то кришку виконують опуклою (рис.24, г). Конструкції кришок можуть бути глухими (рис.24, а, б, г) або з отвором для вихідного кінця вала (рис.24, в).

Рис.24. Основні конструкції привертних кришок
Визначаючим при конструюванні кришки є діаметр D отвору в корпусі під підшипник. Товщину стінки δ, діаметр d і кількість z гвинтів кріплення кришки до корпуса в залежності від цього параметра приймають за таблицею 7.
Таблиця 7. Конструктивні розміри кришок підшипників
| D |
50...62 |
63...95 |
100...145 |
150...220 |
| δ |
5 |
6 |
7 |
8 |
| d |
6 |
8 |
10 |
12 |
| z |
6 |
6 |
8 |
8 |
Закріплюють кришки гвинтами з циліндричними головками, встановленими „впотай”. Останнім часом широко розповсюджені гвинти з шестигранним заглибленням „під ключ”. В інших випадках кришки закріплюють болтами. Поверхню кришки під головками кріпильних болтів або гайок необхідно обробляти (переважною є токарна обробка).
Положення кришки під час складання визначається її фланцем, тому поясок з центрувальною циліндричною поверхнею виготовляють невеликим, щоб не заважав встановленню кришки на торці корпуса. Звичайно приймають:
підшипник вал кочення шестірня
 ,
де b – ширина канавки (табл.3).
Розміри інших конструктивних елементів кришок, які показані на рис.24, а, б, можна приймати:
товщину фланця при кріпленні кришки болтами:

товщину фланця при кріпленні кришки гвинтами з циліндричними головками, встановленими „впотай”:
;
товщину центрувального пояска:
;
діаметр фланця кришки:
;
відстань від поверхні отвору під підшипник до осі кріпильного гвинта:
,
де d – діаметр гвинта.
При встановленні в кришці підшипника монтажного ущільнення передбачають 2÷3 отвори діаметром 3÷4 мм для виштовхування зношеної манжети. З тією ж метою можна також виконувати розточування отвору (рис.25, а). В деяких конструкціях отвори у кришках під манжетне ущільнення виготовляють наскрізним (рис.25, б). Для того, щоб манжета при складанні була точно встановлена в отвір на кришці, необхідно обробити торець А, яким кришка встановлюється на опорну поверхню під час запресування манжети.

Рис.25. Розточування отвору під манжетне ущільнення
При невеликій міжосьовій відстані фланці двох кришок підшипників можуть перекривати один одного. В цьому випадку у обох кришок фланці зрізають, залишивши між зрізами проміжок 1÷2 мм (рис.26). Найчастіше фланці кришок виконують круглими, при цьому ширина фланця визначається можливістю встановлення гвинта кріплення кришки до корпусу.

Рис.26. Схема зрізу фланців двох кришок підшипників при невеликій міжосьовій відстані
Закладні кришки широко застосовують в редукторах, що мають площину рознімання корпусу, спільну з осями валів. Ці кришки не потребують спеціального кріплення до корпусу різьбовими деталями. Вони утримуються кільцевим виступом, для якого в корпусі проточують канавку. Для забезпечення сполучення торців виступу кришки і канавки корпуса за площиною на зовнішній циліндричній поверхні кришки перед торцем виступу роблять канавку шириною b, розміри якої приймають за таблицею 3.
Основні конструкції закладних кришок показані на рис.27.

Рис.27. Основні конструкції закладних кришок
Зовнішній діаметр кришки виконують з такими відхиленнями, при яких в сполученні з корпусом кришка утворює малий проміжок, що заважає витіканню масла з корпусу.
Товщину кришки δ приймають за табл.7 в залежності від діаметра отвору під підшипник.
Розміри інших елементів кришки (рис.27):

Коли торець кришки, який контактує з підшипником, не співпадає з торцем виступу (рис.27, б), її діаметр зменшують для того, щоб зовнішня циліндрична поверхня цієї ділянки не порушувала точності центрування кришки.
1.1.10 Креслення підшипників
Стандартні підшипники зображують за габаритними розмірами, d, D, B. За співвідношеннями, що наведені у таблиці 8, зображують тіла кочення та кільця.
Таблиця 8. Таблиця конструктивних розмірів підшипників кочення
| № п\п |
Конструктивний розмір |
Позначення |
Співвідношення |
| Кулькові підшипники |
| 1. |
Діаметр кульки |
Dw |
 |
| 2. |
Діаметр кола центрів кульок |
Dpw |
 |
| 3. |
Товщина кілець |
S |
 |
| 4. |
Внутрішній діаметр підшипника |
d |
За каталогом |
| 5. |
Зовнішній діаметр підшипника |
D |
За каталогом |
| 6. |
Ширина радіального і радіально-упорного підшипника |
B |
За каталогом |
| 7. |
Ширина упорного підшипника |
H |
За каталогом |
| 8. |
Товщина кільця упорного підшипника |
h |
За каталогом |
| Роликові підшипники |
| 1. |
Діаметр роликів |
Dwe |
 |
| 2. |
Довжина роликів |
 |
 |
| 3. |
Товщина внутрішнього кільця |
S |
 |
| 4. |
Товщина зовнішнього кільця |
S1 |
 |
| 5. |
Діаметр кола центрів роликів |
Dpw |
 |

Рис.28. Приклади креслення підшипників
Радіально-упорні шарикопідшипники мають на зовнішньому кільці тільки один борт. Другий борт зрізаний. Для зображення зовнішнього кільця з боку зрізаної частини проводять допоміжну вертикаль до перехрестя з колом кульки в точці 1. З’єднують точки 1 і 2 (рис.28, б).
В підшипниках кулькових радіальних дворядних сферичних тіла кочення зображують таким чином, щоб вони торкалися бокових ліній зовнішнього контуру. Сферичну поверхню на зовнішньому кільці зображують дугою кола з центром на осі отвору підшипника (рис.28, в.)
Для побудови конічних роликопідшипників відстань ab поділяють точками 1, 2 і 3 на чотири рівні частини. З точки 3 під кутом α=15˚ проводять твірну конуса до її перетину з віссю обертання підшипника у точці 0. З цієї точки проводять лінії 01 і 02. Потім з точки m, отриманої перетином лінії 01 з торцем зовнішнього кільця km, проводять лінію, перпендикулярно твірній 02 (рис.28, е). Відкладаючи відрізок de = fk, проводять паралельно лінії, які оформляють малий торець ролика. Для отримання діаметра d2 борта внутрішнього кільця знаходять точку ℓ, яка поділяє радіус більшого торця ролика навпіл. Сепаратори на кресленнях підшипників не зображують.
2.
Практична частина
Завдання 1.
Підібрати підшипник кочення для опор вала конічної шестірні редуктора транспортера. На опори вала діють радіальні сили Н, Н и осьова сила Н. Навантаження на підшипники з легкими поштовхами. Діаметр посадкових поверхонь вала d = 35 мм, кутова швидкість вала ω = 75 рад/с. Робоча температура підшипників t ≤ 70ºС. Необхідна довговічність (ресурс) підшипника = 8000 годин.
Розв’язання:
1.Вибір типу підшипника.
Конічні зубчасті колеса повинні бути точно і жорстко зафіксовані в осьовому напрямку, тому для опор вала конічної шестірні рекомендується приймати конічні роликові підшипники.
Для обох опор вала попередньо намічаємо підшипник роликовий конічний однорядний легкої серії 7207.
2. Характеристика підшипника.
Для підшипника 7207 з ГОСТа знаходимо базову динамічну радіальну вантажність = 35,2 кН, коефіцієнти: е = 0,37, 1,62.
3. Осьові складові і від радіальних сил і 


4. Розрахункові осьові сили і .
У даному випадку < і  - , тоді з таблиці 2.1 маємо:


Таблиця 2.1Формули для визначення осьових сил
| Умови навантаження |
Осьові сили |
 |
 |
 |
 |
 |
5. Коефіцієнти радіального й осьового навантажень.
Для кожної опори обчислюємо відношення . V = 1 – обертається внутрішнє кільце підшипника. Для опори 1

Отже, осьова сила буде впливати на еквівалентне динамічне навантаження опори. У цьому випадку для підшипника опори 1 приймаємо = 0,4 , =1,62.
Для опори 2

Для цієї опори при підрахуванні еквівалентного динамічного навантаження осьову силу не треба враховувати.
Отже, для опори 2 приймаємо = 1, = 0.
6. Еквівалентне динамічне радіальне навантаження в опорах 1 і 2


Відповідно до умов роботи підшипника приймаємо = 1,15, = 1.
Через те, що > ,опора 2 є більш навантаженою, за нею ведемо подальший розрахунок підшипника.
7. Розрахункова (необхідна) динамічна вантажність підшипника опори 2

Умова придатності дотримується. Прийнятий підшипник 7207 задовольняє заданому режимові роботи.
Для опори 1 приймаємо той же підшипник 7207.
8. Визначаємо ресурс попередньо обраного конічного роликового підшипника 7207.

Розрахункова довговічність трохи більше необхідної ( ), отже, прийнятий підшипник 7207 придатний.
Література
1. Бейзельман Р.Д., Цыпкин Б.В., Перель Л.Я. Подшипники качения. Справочник.- М.: Машиностроение, 1975.-572 с.
2. Дунаев П.Ф., Леликов О.П. Конструирование узлов и деталей машин. –М.: Высш.шк., 1985. – 416 с., ил.
3. Заблонский К.И. Детали машин.-К.: Вища шк., 1985.-506 с., ил.
4. Киркач Н.Ф., Баласанян Р.А. Расчет и проектирование деталей машин. 2 ч.-Харьков: Вища шк.,1985.-140 с., ил.
5. Ковалев М.П., Народецкий М.З. Расчет высокоточных шарикоподшипников. -М.: Машиностроение, 1980.-373 с.
6. Комиссар А.Г. Уплотнительные устройства опор качения.- М.: Машиностроение, 1980.-192 с.
7. Курсовое проектирование деталей машин /В.Н. Кудрявцев, Ю.А. Державец, И.И. Арефьев и др. Под общ. Ред. В.Н.Кудрявцева: Учебное пособие для студентов машиностроительных специальностей вузов.-Л.: Машиностроение, Ленингр. отд-ние, 1984.-400 с., ил.
8. Опоры осей валов машин и приборов /Н.А. Спицин, М.М. Машнев, Е.Я. Красковский и др.-Л.: Машиностроение, 1970.-520 с.
9. Подшипники качения. Каталог-справочник.-М.: НИИНавтопром, 1972.-465с.
10. Подшипники качения: Справочник-каталог /Под ред. В.Н. Нарышкина и Р.В. Коросташевского.-М.: Машиностроение, 1984.-280 с., ил.
11. Спицин Н.А., Яхин Б.А., Перегудов В.Н. Расчет и выбор подшипников качения. Справочник.-М.: Машиностроение, 1974.-56 с.
12. Справочник техника-конструктора. Изд. 3-е, перераб. и доп. Самохвалов Я.А., Левицкий М.Я., Григораш В.Д. -Киев, "Техніка", 1978.-592 с.
13. Спришевский А.И. Подшипники качения.-М.:Машиностроение, 1969.-632 с.
14. Трение, изнашивание и смазка. Справочник. В 2-х кн., кн. 2 /В.В. Алисин, Б.М. Асташкович, Э.Д. Браун и др.; Под ред. И.В. Крагельского и В.В. Алисина. –М.: Машиностроение, 1979.-358 с.
|