1. Безработица: виды и показатели
2. Фрикционная безработица и теория поиска работы
3. Зависимость вакансии — безработица
4. Спросодефицитная безработица
5. Разделение безработицы по типам
6. Альтернатива инфляция — безработица
Библиографический список
1. Безработица: виды и показатели
Безработный — это тот, кто при существующих в настоящий момент условиях труда и заработной плате не имеет работу, может работать и ищет работу.
Безработица — это такое явление в экономике, когда часть экономически активного населения составляют безработные.
Уровень безработицы и — отношение количества безработных (U
) ко всему экономически активному населению (L
= U
+ E
):
u
= 
Безработица может рассматриваться с точки зрения запаса и потока.
Запас — количество безработных U
на данный момент времени.
Поток — характеристика динамики безработных, движения в и из состояния безработицы.
Показатели потока — приток в безработицу и отток из безработицы.
Приток в безработицу (I
) — количество людей, перешедших в состояние безработицы.
Отток из безработицы (О
) — количество людей, вышедших из состояния безработицы.
Можно выделить шесть основных потоков, которые определяют состояние рынка труда и уровень безработицы (рис. 10.1): от занятых к безработным и наоборот, от экономически неактивных к занятым и наоборот, от безработных к экономически неактивным и наоборот.
Обозначим эти потоки:
Реn
(b
) — доля занятых, которые выходят из рабочей силы;
Phe
(h
) — доля тех, кто из экономически неактивного населения переходит в занятые;
Pun
(с
) — доля безработных, которые выходят из рабочей силы;
Р
nu
(g
) — доля тех, кто из экономически неактивного населения переходит в безработные;
Реи
(s
) — доля тех, кто теряет работу и становится безработным;
Рuе
(f
) — доля безработных, которые находят работу.
Уровень безработицы является функцией от этих шести потоков:
+ -- + + -
u
= F
(b
, h
, с
, g
, s
, f
),
знак над переменной означает ее прямую или обратную зависимость с уровнем безработицы.

Рис. 10.1. Потоки на рынке труда
Приняв предпосылки постоянного уровня экономически активного населения и постоянного уровня безработицы, можно найти конкретный вид этой функции.
При постоянном уровне экономически активного населения и неизменном населении приток в экономически активное население и отток из него равны:
Забиваем Сайты В ТОП КУВАЛДОЙ - Уникальные возможности от SeoHammer
Каждая ссылка анализируется по трем пакетам оценки: SEO, Трафик и SMM.
SeoHammer делает продвижение сайта прозрачным и простым занятием.
Ссылки, вечные ссылки, статьи, упоминания, пресс-релизы - используйте по максимуму потенциал SeoHammer для продвижения вашего сайта.
Что умеет делать SeoHammer
— Продвижение в один клик, интеллектуальный подбор запросов, покупка самых лучших ссылок с высокой степенью качества у лучших бирж ссылок.
— Регулярная проверка качества ссылок по более чем 100 показателям и ежедневный пересчет показателей качества проекта.
— Все известные форматы ссылок: арендные ссылки, вечные ссылки, публикации (упоминания, мнения, отзывы, статьи, пресс-релизы).
— SeoHammer покажет, где рост или падение, а также запросы, на которые нужно обратить внимание.
SeoHammer еще предоставляет технологию Буст, она ускоряет продвижение в десятки раз,
а первые результаты появляются уже в течение первых 7 дней.
Зарегистрироваться и Начать продвижение
безработица фрикционный вакансия инфляция
(h
+ g
)N
= b
(L
-U
) + cU
.
Для постоянного уровня безработицы приток в нее равен оттоку из нее:
I
= O
*(L
-U
) + gN
*O
= fU
+ cU
.
Из этих соотношений получаем:
u
= U
/ L
= 
Если к принятым добавить еще предпосылку, что рынок труда постоянен, из рабочей силы нет оттока и нет притока из экономически неактивного населения, то приток и отток из безработицы будут:
I
= s
(L
-U
),
O
= fU
.
При неменяющемся уровне безработицы 1=0
u
= 
Важной характеристикой безработицы является также длительность безработицы d
— продолжительность периода, в течение которого работник является безработным.
Количество безработных U
(запас) можно представить как:
U
= I*d
при d
, равной средней длительности безработицы.
Для постоянного рынка труда
u
= * d
и если i
= I
/ L
— уровень входа в безработицу, то
u
= i
*d
.
При неменяющемся уровне безработицы, если o
= O
/U
— уровень выхода из безработицы, то
u
= i
/o
.
При классификации безработицы выделяют безработицу вынужденную и добровольную (или безработицу ожидания).
Вынужденная безработица возникает тогда, когда работник может и хочет работать при данном уровне заработной платы, но не может найти работу.
Добровольная безработица возникает тогда, когда работник мог бы найти работу, но предпочитает оставаться незанятым, продолжая поиски лучше оплачиваемой или более желательной работы, чем ему предлагают.
В зависимости от экономических причин, порождающих безработицу, она делится на четыре типа: фрикционную, структурную, циклическую и сезонную.
Фрикционная безработица возникает при перемещении работников от одного места работы к другому. Она является следствием кратковременных изменений на рынке труда и существует потому, что процесс подбора работников и рабочих мест не мгновенен.
Структурная безработица возникает при длительных изменениях в структуре экономики, которые приводят к несоответствию между существующей квалификацией или профессией работника и квалификационными или профессиональными требованиями со стороны рабочего места. Могут возникать также территориальные структурные несоответствия.
Циклическая, или спросодефицитная, безработица возникает при недостаточном совокупном спросе.
Сезонная безработица вызывается колебаниями в уровне экономической активности в течение года, характерными для некоторых отраслей экономики.
Сервис онлайн-записи на собственном Telegram-боте
Попробуйте сервис онлайн-записи VisitTime на основе вашего собственного Telegram-бота:
— Разгрузит мастера, специалиста или компанию;
— Позволит гибко управлять расписанием и загрузкой;
— Разошлет оповещения о новых услугах или акциях;
— Позволит принять оплату на карту/кошелек/счет;
— Позволит записываться на групповые и персональные посещения;
— Поможет получить от клиента отзывы о визите к вам;
— Включает в себя сервис чаевых.
Для новых пользователей первый месяц бесплатно.
Зарегистрироваться в сервисе
Скрытая безработица состоит из людей, которые не входят в экономически активное население на данный момент времени, но хотели бы войти в рабочую силу, если предоставленная им работа будет для них подходящей.
В российских условиях скрытой безработицей называется ситуация, когда работники, формально не разрывая трудовых отношений и считаясь занятыми, не имеют работу и не получают заработную плату или работают неполное рабочее время (день, неделю). В международной практике такая ситуация называется недозанятостью.
2. Фрикционная безработица
и теория поиска работы
Фрикционная безработица связана с процессом поиска работником рабочего места. Так как информация на рынке труда несовершенна, процесс поиска приемлемой работы занимает время.
Основные подходы к анализу процесса и длительности поиска работы содержатся в теории поиска на рынке труда.
Простая модель поиска работы содержит следующие предпосылки:
несовершенство информации на рынке труда;
рабочие места различаются только ставкой заработной платы;
работнику известно распределение предлагаемой заработной платы, но неизвестно, какая фирма какой уровень заработной платы предложит;
если работник нашел вакантное рабочее место, оно будет ему предложено;
у работника нет ограничений в средствах, он может продолжать поиск столько, сколько сочтет нужным;
работник получает только одно предложение о вакансии за один период;
процесс поиска связан с прямыми и альтернативными издержками.
На рис. 10.2 показана кривая вероятного распределения предлагаемой заработной платы. Если бы работник знал, какая фирма предложит максимальную заработную плату (w
max
), он мог бы сразу устроиться на работу именно в эту фирму, при отсутствии такой информации работник вынужден прибегнуть к процессу поиска, предлагая свой труд фирмам, имеющим вакансии, по принципу случайной выборки, сравнивая предлагаемые уровни заработной платы и выбирая приемлемую для него.
Работник может ограничить поле поиска, либо выбирая наиболее высокую заработную плату из сознательно ограниченного числа предложений рабочих мест, либо установив для себя минимально приемлемую резервную заработную плату и соглашаясь на предложение равной или большей заработной платы.

Предлагаемая заработная плата
Рис. 10.2. Распределение предлагаемой заработной платы
В первом случае, с «фиксированной выборкой» (рис. 10.3) работник ведет непоследовательный поиск, определяет оптимальное число предложений заработной платы за данный период n
* и выбирает наиболее высокую заработную плату из предложенных. По мере того, как растет число фирм п, в которые обратился работник, растут и издержки на поиск работы С
(n
), а ожидаемая отдача от поиска меняется E
(maxw
|n
). Соотношение между предельными издержками и предельными выгодами от поиска определяет оптимальный размер n
* выборки для поиска. На графике оптимальный размер выборки определяется точкой е
касания кривой ожидаемых выгод и линии, параллельной кривой издержек поиска. Не все фирмы попадут в выборку, так как издержки поиска растут с увеличением n
, а предельная отдача от поиска в виде предложений более высокой заработной платы начинает снижаться.
Во втором случае, основанном на концепции резервной заработной платы, индивидуум осуществляет последовательный поиск до тех пор, пока не встретит предложение по заработной плате, превышающее минимально приемлемую для него заработную плату, называемую резервной заработной платой wr
. Таким образом, в этом случае задача поиска работы трансформируется в задачу определения такой резервной заработной платы, чтобы отдача от поиска R
(w
), т. е. разница между ожидаемой заработной платой E
(w
) и издержками с
, была максимальной.
Издержки будут зависеть от продолжительности поиска, определяемого размером резервной заработной платы. Если p
(wr
) — вероятность получения предложения работы с заработной платой w
³wr
, то длительность поиска будет равна: D
*=l / p
(wr
), а общие издержки поиска составят CD
*.
Тогда отдача от поиска рабочего места составит:
R
(w
) = E(w
|w ³ wr
) - [ C
/ p
(wr
)].

Рис. 10.3. Модель поиска работы с «фиксированной выборкой»

wr
* wr
Рис. 10. 4. Модель поиска работы с резервной заработной платой
Максимизацию R
(w
) в зависимости от размера резервной заработной платы иллюстрирует рис. 10.4.
Если р
— вероятность получения предложения работы, ее можно представить как:
р
= f (w
)dw
.
Эта величина равна заштрихованной площади на рис. 10.2. (Общая площадь под кривой распределения равна единице.) Ожидаемая длительность поиска D
* будет равна:
D
*= 1 / p
= 1 / (w
)dw
.
Ожидаемые издержки поиска с учетом выплачиваемого пособия по безработице В
u
и ожидаемой длительности поиска равны:
Ожидаемые выгоды от поиска при данной wr
составят:
E(w w
³wr
) = f(w)wdw
/ f(w
)dw
= f(w
)wdWD
*.
Тогда резервную заработную плату можно представить как:
wr
= f(w
)wdwD
* - (С
-Bu
)D
*.
Это уравнение — формальная запись условия, которое говорит о том, что резервная заработная плата определяется равенством издержек и выгод от поиска работы при получении работы с заработной платой wr
. Преобразовав это уравнение, получаем:
(С
-В
u
) = f(w
)wdw
-pwr
= (w-wr
)f (w
)dw
.
В итоге получаем уравнение, показывающее равенство предельных издержек поиска (левая часть уравнения) ожидаемой предельной отдаче (правая часть уравнения). Если ожидаемую предельную отдачу представить как убывающую функцию от резервной заработной платы A
(wr
), то и предельные издержки будут функцией от резервной заработной платы.
(С
-В
u
) = A
(wr
).
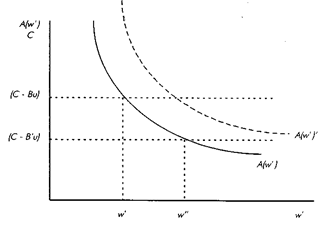
Эта зависимость показана на рис. 10.5. Увеличение пособия по безработице от В
u
до В
’u
повышает резервную заработную плату от wr
до w
’r
и, следовательно, увеличивает длительность поиска. Пособие по безработице снижает чистые издержки поиска и увеличивает, тем самым, оптимальную длительность поиска. Может существовать критический уровень этого пособия (или других аналогичных пособий по поддержке благосостояния), при котором поиск работы становится невыгодным — индивидуум максимизирует ожидаемый доход в течение жизни, живя на пособие.
Если средняя величина распределения заработной платы для ищущего работу возрастает (например, из-за профессиональной подготовки), в то время как дисперсия относительно этой средней величины остается неизменной, то кривая A
(wr
), отражающая функцию предельной ожидаемой отдачи, будет сдвигаться вправо (что показано на рис. 10.5 кривой A
(wr
), увеличивая резервную заработную плату и длительность поиска работы.

Рис. 10.5. Определение резервной заработной платы
Соотношение между размерами безработицы и вакансиями, существующими в экономике, позволяет проанализировать структурную составляющую безработицы. Вывод кривой, отражающей зависимость между вакансиями и безработицей, основывается на зависимостях между избыточным спросом на труд Z
= (DL
-SL
)/SL
, с одной стороны, безработицей U
, вакансиями V
— с другой.
Зависимость между безработицей и избыточным спросом на труд обратная (квадрант I на рис. 10.6), так как безработица растет при избыточном предложении труда, и нелинейная из-за фрикционной безработицы, существующей при любом уровне спроса на труд.
Зависимость между вакансиями и избыточным спросом на труд прямая и линейная (квадрант II на рис. 10.6).

Рис. 10.6. Вывод кривой зависимости вакансии — безработица
Безработица U
1
соответствует избыточному спросу на труд Z
1
, которому соответствуют вакансии V
1
, безработица U
2
соответствует Z
2
, V
2
. В четвертом квадранте на рис. 10.6 представлена зависимость вакансии—безработица UV
(получила название кривой Бевериджа), она имеет обратный нелинейный характер также из-за фрикционной безработицы, не позволяющей вакансиям или безработице принять нулевое значение.
Изменения совокупного спроса выражаются в движении рынка труда по кривой UV
, если спрос растет, то движение происходит влево от точки А
к точке В
(на рис. 10.7), если спрос уменьшается, то вправо от точки А
к точке С
. Если в результате изменений на рынке труда произойдет воздействие на структурную безработицу (например уменьшение временного лага подстройки спроса и предложения к качественным изменениям друг друга) или на фрикционную (повышение эффективности информации о рынке труда), то кривая UV
сдвигается влево к кривой UV
’, поскольку когда безработный находит работу, одновременно происходит единичное уменьшение как количества безработных, так и количества вакансий. Соответственно любые факторы, увеличивающие фрикционную и/или структурную безработицу, сдвигают кривую UV
вправо к кривой UV
’’

U
Рис. 10.7. Зависимость вакансии — безработица
Если j
— это активность работника в поиске работы, mm
— характеристика структурного соответствия между работниками и рабочими местами (чем она меньше, тем больше работники и рабочие места соответствуют друг другу), то вероятность найти работу (f
) можно представить как функцию от активности работника, действий работодателя (количество вакансий), характеристики структурного соответствия: f
= f
(j
, V
, mm
). Тогда
u = 
Увеличение s
(вероятности потерять работу) и mm
сдвигает кривую UV
вправо, а увеличение j
сдвигает кривую UV
влево.
4. Спросодефицитная безработица
Спросодефицитная, или циклическая, безработица возникает при недостаточном совокупном спросе, а следовательно, и недостаточном спросе на труд. Спросодефицитная безработица иногда еще называется кейнсианской.
В классических моделях рынка труда фирмы могут продавать весь произведенный продукт, они не сталкиваются с таким явлением, как дефицит совокупного спроса на их продукт. Причина этого — гибкость цен; цены снижаются в условиях дефицита спроса и повышаются в условиях избыточного спроса, таким образом поддерживается уровень совокупного спроса, соответствующий полной занятости. Однако если цены не подстраиваются, объем продукта, который могут продать фирмы, определяется уровнем совокупного спроса.
Предположим, что цены фиксированы, а уровень совокупного спроса равен AD
1
на рис. 10.86. Это соответствует уровню выпуска продукта Q
1
. Максимальное количество работников, необходимых для производства Q
1
, соответствует L
1
, как показано на рис. 10.8а. Если заработная плата превышает W
1
/P
1
, занятость определяется точками кривой спроса, и соответственно безработица (SL
— DL
) представляет собой классическую безработицу. При реальной заработной плате ниже W
1
/P
1
, но выше или равной W
0
/P
1
, занято L
1
работников, а уровень занятости определяется ограничением Q
1
. Отрезок (SL
— DLe
) ниже W
1
/P
1
, но выше W
0
/P
1
, определяет безработицу, которая является кейнсианской по своей природе, поскольку возникает из-за дефицита совокупного спроса. Если реальная заработная плата ниже W
0
/P
1
, то занятость определяется точками на кривой предложения, поскольку существует избыточный спрос и на рынке труда, и на рынке товаров.

0 L
1
, L
0 Q
1
Q
P
и
c
. 10.8. Рынок труда при ограниченном совокупном спросе
Из этого следует, что фирмы не могут продать продукт, превышающий количество Q
1
которое определяется уровнем совокупного спроса. Продукт, производимый дополнительными работниками за пределом L
1
, не имеет ценности, т. е. эффективный предельный продукт труда за пределом L
1
равен нулю. Кривая эффективного спроса на труд показана линией DLe
. Если теперь мы определим равновесие как точку пересечения SL
и DLe
, безработицы не будет. Снижение реальной заработной платы привело к тому, что работники отказываются предлагать свои услуги на рынке труда, поэтому новое равновесие устанавливается на уровне L
1
и W
0
/P
1
. Как только заработная плата превышает W
0
/P
1
, возникает безработица, а при наличии фиксированных цен в качестве предпосылки данной модели нет никаких оснований предпочитать W
0
/P
1
любой другой точке. Номинальная заработная плата может быть установлена в любой точке между W
0
и W
1
, включая уровень конкурентного равновесия, но любой уровень, кроме W
0
/P
1
, будет связан с вынужденной безработицей. Эта простая модель показывает, что если эффективный уровень совокупного спроса не соответствует требованиям рынка, то рынок не выравнивается и возникает безработица.
На рис. 10.9 в правом верхнем квадранте изображен рынок продукта, показывающий количество продукта Q
, соответствующее спросу на него для каждого уровня цен Р
, и количество продукта, который фирма хотела бы продать при каждом уровне цен. Это соответственно кривые совокупного спроса и предложения. Рынок труда изображен в левом нижнем квадранте, где кривая спроса на труд имеет обычный вид с отрицательным наклоном, а кривая предложения труда показана совершенно неэластичной (что соответствует краткосрочному периоду). Рынки труда и продукта связаны производственной функцией, изображенной в правом нижнем квадранте и отражающей убывающую предельную производительность труда. В левом верхнем квадранте показана кривая, характеризующая ставку номинальной заработной платы и являющаяся результатом взаимодействия уровня цен и реальной заработной платы W
* = W
/P
*P
.
В состоянии конкурентного, классического равновесия все рынки сбалансированы, что показано линией, соединяющей точки Q
*, Р
*, L
* и W
*/P
*. Такое состояние требует полной гибкости как цен, так и заработной платы.

Рис. 10.9. Кейнсианская безработица
В случае кейнсианской безработицы повышение цен до уровня Р
1
вызывает снижение реальной заработной платы, повышение спроса на труд до уровня L
1
и увеличение количества продукта, который фирма готова произвести по новым ценам до Q
1
. Однако в то же время повышение цен до уровня Р
1
снижает спрос на продукт фирмы до уровня Q
, в соответствии с этим снижается спрос на труд до уровня L
и возникает безработица, размер которой определяется величиной отрезка (L
*L
). Предельный эффективный продукт труда, превышающего уровень L
, равен 0. Кейнсианское «равновесие» показано на рисунке прямоугольником, стороны которого изображены сплошной линией.
Для образования спросодефицитной безработицы важное значение имеет жесткость заработной платы — неспособность заработной платы меняться в ответ на изменения в спросе на труд и, таким образом, обеспечить подстройку рынка труда. Причины возникновения жесткости заработной платы рассматриваются в различных моделях: эффективной заработной платы, неявных контрактов, поведения профсоюзов (модель инсайдер—аутсайдер), олигопсонистической структуры рынка труда.
5. Разделение безработицы по типам
Разделение безработицы по типам имеет важное значение для политики на рынке труда. Спросодефицитная безработица может преодолеваться за счет увеличения совокупного спроса, применение такой политики к структурной и фрикционной безработице может привести к значительному росту инфляции в экономике без увеличения занятости.
Первый метод разделения безработицы по типам основан на кривой UV
. На основе этого подхода полная занятость (или отсутствие дефицита или избытка в спросе на труд) будет, когда U
= V
, т. е. в точке, где кривая UV
пересекается с линией V
= U
, выходящей из начала координат под углом 45° (точка Т
на рис. 10.10). При этом полная занятость соответствует естественному уровню безработицы UT
. В этой точке занятость полная в том смысле, что безработицу (состоящую из структурной и фрикционной) можно рассматривать как характеристику данного рынка труда в точке равновесия, а не как результат превышения предложения над спросом.
В точках слева от Т
избыток спроса на труд V
>U
, заработная плата имеет тенденцию к росту, в точках справа от Т
недостаток спроса на труд V
<U
, заработная плата имеет тенденцию к снижению. В точке X
уровень безработицы UX
, его превышение над уровнем безработицы UT
, соответствующем уровню полной занятости, равное (UX
— UT
), можно определить как спросодефицитную безработицу. До уровня UT
безработица спросоизбыточная.
Анализ с помощью кривой UV
выявляет не одну, а множество точек полной занятости, соответствующих каждой возможной структуре рынка труда и своей кривой UV
.
Этот метод позволяет разделить безработицу только на спросодефицитную и спросоизбыточную, но не позволяет разделить спросоизбыточную безработицу на структурную и фрикционную. Если речь идет об анализе рынка однородного вида труда, то вся спросоизбыточная безработица фрикционная, если об анализе рынка труда, включающего разнородные (в различном смысле) виды труда, то спросоизбыточная безработица будет состоять из структурной и фрикционной.

UT
UX
U
Рис. 10.10. Разделение безработицы по типам при помощи кривой
UV
Другой метод разделения безработицы по типам основан на кривой Филлипса (метод Липси).
На рис. 10.11 показана зависимость между инфляцией и безработицей, известная как кривая Филлипса (РР
). Кривые безразличия I
и I
’ отражают предпочтения правительства (общества) по отношению к комбинации допустимых значений безработицы и инфляции. Кривые безразличия, отражающие более благоприятную для правительства ситуацию, расположены ближе к точке начала координат. Если первоначальная безработица равна U
0
, то за счет увеличения спроса она может быть сокращена до U
1
, так что

Рис. 10.11. Разделение безработицы по типам на основе кривой Филлипса
максимально достижимый уровень предпочтительности для правительства комбинации инфляция—безработица будет I
, и он будет касательным к существующей кривой Филлипса (РР
) в точке А
. Тогда разница в безработице (U
0
— U
1
) будет составлять спросодефицитную часть безработицы, т. е. ту ее часть, которая может быть уменьшена за счет политики увеличения совокупного спроса без ухудшения приемлемого для общества сочетания безработицы и инфляции. Дальнейшее увеличение спроса приводит к увеличению инфляции, отрицательные последствия которой перекрывают для общества положительный эффект от снижения уровня безработицы. U
1
тогда будет объединять фрикционную и структурную безработицу и соответствовать естественному уровню безработицы и полной занятости. Дальнейшее уменьшение безработицы возможно только за счет мер политики, сдвигающих кривую Филлипса влево (переподготовка, повышение региональной мобильности и т.д.). Но такие меры требуют затрат. Кривая Р
’Р
’ отражает максимально возможный сдвиг кривой Филлипса с точки зрения соотношения общественных затрат и выгод от снижения безработицы. Новая равновесная позиция между допустимой для общества комбинацией безработица—инфляция I
’ и определяемого рынком (кривая Филлипса) соотношения инфляция—безработица Р
’Р
’ будет в точке В
, которой соответствует безработица U
2
. Снижение безработицы на (U
1
— U
2
) может быть соотнесено со структурной безработицей. Оставшееся количество безработных U
2
определяется как фрикционная безработица.
Еще один метод разделения безработицы по типам основан на модели разрыва в заработной плате (модель Бруно-Сакса). Этот метод позволяет выделить в общей безработице классическую и кейнсианскую безработицу. Идея классической безработицы заключается в том, что безработица возникает только тогда, когда заработная плата превышает равновесную на рынке труда.
Модель показана на рис. 10.12, где кривая DL
— кривая спроса на труд в условиях конкуренции, а вертикальная линия в точке L
1
обозначает количество рабочей силы, очищенное от некоторой «нормальной» величины фрикционной безработицы. По существу L
1
может рассматриваться как совершенно неэластичная функция предложения труда. Если, например, экономика первоначально находится в точке А
, где реальная заработная плата равна (W
/P
)0
, то существует полная занятость при условии, что уровень номинального спроса в экономике достаточен, чтобы потребить тот объем продукта, который хотят продать фирмы. Рассмотрим теперь увеличение реальной заработной платы до (W
/P
)1
в точке В
. Фирма, максимизирующая прибыль, будет реагировать на разрыв в реальной заработной плате (W
/P
)1
— (W
/P
)0
сокращением уровня занятости до N
1
. В этих условиях возникает классическая безработица, размеры которой соответствуют величине отрезка (L
1
N
1
). Однако если существуют негибкие цены и заработная плата, нет гарантии, что уровень спроса на продукт будет достаточен, чтобы потребить весь продукт, который хотят продать фирмы. Если такое происходит, фирмы оказываются ограничены объемом продукта, который они могут продать на рынке, и вследствие этого реальная занятость окажется слева от кривой спроса на труд DL
, допустим, в точке С
. В точке С
общий уровень безработицы составит (L
1
— N
2
), причем сюда войдут два элемента: классическая безработица (L
1
— N
1
) и кейнсианская (N
1
— N
2
).

В соответствии с этой моделью величина разрыва в реальной заработной плате вместе с углом наклона функции спроса на труд DL
, определяют величину классической безработицы. Разность между наблюдаемой безработицей и классической безработицей, определенной через разрыв в заработной плате и спрос на труд, показывает величину кейнсианской безработицы.
6. Альтернатива инфляция — безработица
Зависимость между инфляцией и безработицей известна как кривая Филлипса, точнее, такая кривая характеризует зависимость между инфляцией (или темпами изменения) номинальной заработной платы и безработицей.
Эта модель основана на зависимости изменений в заработной плате и безработице от изменения избыточного спроса на труд.
Рассмотрим конкурентный рынок труда (рис. 10.13). W
0
и L
0
— это соответственно равновесная заработная плата и равновесный уровень занятости. Допустим, что цены на производимый продукт постоянны, тогда кривые спроса на труд DL
и предложения труда SL
отражают зависимость от номинальной заработной платы. До тех пор пока заработная плата выше W
0
, предложение труда превышает спрос на него, а когда заработная плата ниже W
0
— спрос на труд превышает предложение. Если заработная плата превышает значение W
0
, то она будет падать, а если она ниже этого значения, то будет расти, восстанавливая таким образом равновесие.
Можно предположить, что скорость, с которой в течение любого периода изменяется заработная плата, положительно зависит от относительного избыточного спроса на труд Z
Формально эту зависимость можно записать следующим образом:

0 L
0
L
Рис. 10.13. Изменение заработной платы при подстройке рынка труда
W
= f
(Z
) = f
[(DL
-SL
)/ SL
], гдеf
> 0.
Или принимая предположение о линейной зависимости:
W
= k
* (DL
-SL
)/SL
= k
*Z
, где k
— положительная постоянная величина.
Эта функциональная зависимость изображена на рис 10.14а.
Так как чрезмерный спрос на труд практически трудно наблюдаемая величина, то существует необходимость заменить его на более наглядную переменную для анализа инфляции заработной платы. В качестве такой переменной был предложен уровень безработицы и. Зависимость между избыточным спросом на труд и уровнем безработицы будет обратной, отражая предположение о том, что чем выше избыточный спрос на труд, тем ниже уровень безработицы. Когда избыточный спрос на труд равен нулю, рынок труда находится в равновесии, а количество безработных U
будет равно количеству вакансий в экономике V
.
Z
= 0, когда DL
= SL
,
DL
= L
+ V
SL
= L
+ U
,
отсюда L
+ V
= L
+ U
или V
= U
.
Уровень безработицы будет положительным при нулевом избыточном спросе на труд из-за наличия фрикционной безработицы. Эта ситуация показана на рис. 10.14б точкой b
, которой соответствует уровень безработицы u
0
(этот уровень безработицы называется естественным). Левее точки b
зависимость будет нелинейной, так как несмотря на то, что увеличение избыточного спроса на труд будет снижать уровень безработицы, последний никогда не сможет стать нулевым. Правее точки b
можно сделать предположение о зависимости избыточного спроса на труд от уровня безработицы близкой к линейной.

Рис. 10.14. Вывод зависимости «инфляция заработной платы ¾ уровень безработицы»
Объединив две зависимости, изображенные на рис. 10.14, мы получаем зависимость между инфляцией заработной платы и уровнем безработицы, представленную на рис. 10.15, или кривую Филлипса. Эта зависимость обратная, она нелинейна при уровне безработицы меньше естественного и линейна при уровне безработицы выше естественного. Таким образом, в простой модели рынка труда альтернатива «инфляция заработной платы — уровень безработицы» возникает из способности заработной платы реагировать на избыточный спрос на рабочую силу.

Рис. 10.15. Зависимость «инфляция заработной платы — уровень безработицы»
При исследовании кривой Филлипса необходимо иметь в виду, что уровень безработицы не тождествен избыточному спросу на труд.
Избыточный спрос на труд можно представить как:
Z = = v
– u
,
где v
и u
— соответственно уровень незанятых вакансий и уровень безработицы. Непосредственным измерителем избыточного спроса на труд является разница между уровнем вакансий и уровнем безработицы. Уровень безработицы как измеритель избыточного спроса на труд можно использовать только, если существует стабильная зависимость между уровнем вакансий и уровнем безработицы.
Имеется также множество сил, влияющих на положение кривой, выражающей совокупную зависимость между уровнем безработицы и темпами инфляции заработной платы. Среди этих сил можно выделить следующие: текущие и ожидаемые темпы ценовой инфляции, возрастной и половой состав рабочей силы, соотношение темпов роста занятости и темпов роста рабочей силы, разброс уровней безработицы по локальным рынкам труда.
Библиографический список
1. Жизнин С.З., Крупнов В.И. Как стать бизнесменом. – Минск: Предприниматель, 2010. – 64 с.
2. Зотов В.В. О роли концепции «экономического человека» в постановке проблемы мотивации // Мотивация экономической деятельности: [Сб. ст.]. М.: ВНИИСИ, 2009. Вып. 7. С. 72–79.
3. Калачева Л.Л. Условия труда. – Новосибирск: Наука, 2009. – 386 с.
4. Калачева Л.Л. Условия труда: Методологические вопросы комплексного исследования. Новосибирск: Наука., 2008. - 286 с.
5. Квалификационный справочник должностей руководителей, специалистов и служащих. Нормативно-производств. издание // Госкомтруда СССР, ВЦСПС. – М.: Экономика, 2010. – 272 с.
|