Содержание
Введение
1. Понятия и определения
2. Закономерности техники
3. Основные законы развития технических систем
3.1 Закон прогрессивной эволюции техники
3.2 Закон полноты частей системы
3.3 Закон расширения множества потребностей-функций
3.4 Закон соответствия между функцией и структурой
4. Вытеснение человека из технических систем
4.1 Закон стадийного развития техники
4.2 Роботизация и законы робототехники
5. Прогнозирование развития технических систем
Список литературы
Введение
Развитие человечества, уже много столетий связано с развитием техники. На протяжении многих лет люди улучшали и модернизировали существующую технику и изобретали новую. Техника же помогала люди развиваться самим, улучшать свои навыки и способности.
Как и весь наш мир техника существует и развивается на основе законов. Разработка законов развития технических систем велась уже достаточно давно. Первую работу по законам развития техники написал Георг Гегель в параграфе «Средство» работы «Наука логики». «Техника механическая и химическая потому и служит целям человека, что ее характер (суть) состоит в определении ее внешними условиями (законами природы)». В 1843 году В. Шульц описал прототип закона полноты частей системы. Он писал, что «можно провести границу между орудием и машиной: заступ, молот, долото и т.д., системы рычагов и винтов, для которых, как бы искусно они ни были сделаны, движущей силой служит человек … все это подходит под понятие орудия; между тем плуг с движущей его силой животных, ветряные мельницы следует причислить к машинам
». Чуть позже некоторые законы развития техники были описаны К. Марксом и Ф. Энгельсом. К. Маркс описал эти законы в разделе «Развитие машин», «…различие между орудием и машиной устанавливают в том, что при орудии движущей силой служит человек, а движущая сила машины – сила природы, отличная от человеческой силы, например животное, вода, ветер и т.д.». Некоторые дополнительные материалы можно найти в работах Ф. Энгельса по истории развития военной техники и ведения войн. Это работы 1860–1861 гг., в частности: «О нарезной пушке», «История винтовки», «Оборона Британии», «Французская легкая пехота» и др. Определенным вкладом в понимании техники и ее законов было создание «философии техники». Этот термин ввел немецкий ученый Эрнест Капп. В 1877 году он выпустил книгу «Основные линии философии техники». Основное развитие этого течения проходило в начале XX века. В основном, развитием «философии техники
» занимались немецкие ученые Ф. Дессауер, М. Эйт, М. Шнейдер и др. В России эту тематику разрабатывал П.К. Энгельмейер. В 1911 году он выпустил книгу «Философия техники». Все эти работы обсуждали теоретические и социальные проблемы техники и технического прогресса. Вопросами истории техники, классификации и определения понятий техники занимались многие ученые в различных странах К. Туссман и И. Мюллер (в Германии), В.И. Свидерский, А.А. Зворыкин, И.Я. Конфедератов, С.В. Шухардин (в России) и др. В 1962 году был выпущен фундаментальный труд по истории техники.
Забиваем Сайты В ТОП КУВАЛДОЙ - Уникальные возможности от SeoHammer
Каждая ссылка анализируется по трем пакетам оценки: SEO, Трафик и SMM.
SeoHammer делает продвижение сайта прозрачным и простым занятием.
Ссылки, вечные ссылки, статьи, упоминания, пресс-релизы - используйте по максимуму потенциал SeoHammer для продвижения вашего сайта.
Что умеет делать SeoHammer
— Продвижение в один клик, интеллектуальный подбор запросов, покупка самых лучших ссылок с высокой степенью качества у лучших бирж ссылок.
— Регулярная проверка качества ссылок по более чем 100 показателям и ежедневный пересчет показателей качества проекта.
— Все известные форматы ссылок: арендные ссылки, вечные ссылки, публикации (упоминания, мнения, отзывы, статьи, пресс-релизы).
— SeoHammer покажет, где рост или падение, а также запросы, на которые нужно обратить внимание.
SeoHammer еще предоставляет технологию Буст, она ускоряет продвижение в десятки раз,
а первые результаты появляются уже в течение первых 7 дней.
Зарегистрироваться и Начать продвижение
Тем не менее, наука о законах техники только начинает формироваться. И первый этап, естественно, связан с формулированием и обоснованием гипотез о законах строения и развития техники. Сегодня нет пока достаточно обоснованных общепризнанных отдельных законов техники и нет еще даже в гипотезах полной замкнутой системы их системы. Создание такой системы, как и обоснование отдельных законов – одно из важнейших актуальных современных направлений фундаментальных исследований, относящихся к технознанию и общей теории проектирования. Это направление ждет своих энтузиастов-исследователей.
Однако, в отличие от недавнего времени сегодня уже имеются теоретические и методические разработки по законам и закономерностям техники, которые представляют большой интерес для практического использования. Законы техники, а также более частные и локальные закономерности могут иметь многоплановое приложение в инженерном творчестве. Во-первых, на основе законов и закономерностей техники могут быть разработаны наиболее эффективные методология и методы инженерного творчества. Во-вторых, привязка законов и закономерностей к конкретному классу технического объекта позволяет определить наиболее структурные свойства, облик и характеристики технического объекта в следующих поколениях.
В данной работе будут рассмотрены наиболее основные законы, нашедшие свое подтверждение на практике, на основание которых можно анализировать существующие технические объекты и со степенью вероятности проектировать дальнейшее развитие отдельных машин и механизмов.
Сервис онлайн-записи на собственном Telegram-боте
Попробуйте сервис онлайн-записи VisitTime на основе вашего собственного Telegram-бота:
— Разгрузит мастера, специалиста или компанию;
— Позволит гибко управлять расписанием и загрузкой;
— Разошлет оповещения о новых услугах или акциях;
— Позволит принять оплату на карту/кошелек/счет;
— Позволит записываться на групповые и персональные посещения;
— Поможет получить от клиента отзывы о визите к вам;
— Включает в себя сервис чаевых.
Для новых пользователей первый месяц бесплатно.
Зарегистрироваться в сервисе
Прежде чем перейти непосредственно к самим законам, нужно дать точное определение техническим объектам, описывающимся в этих законах, и дать определения закону, как понятию.
1. Понятия и определения
Техника(греческое «техне» – ремесло, искусство, мастерство).
Определения техники можно объединить в три основные группы. Их можно представить следующим образом: техника как искусственная материальная система; техника как средство деятельности; техника как определенные способы деятельности.
Первое значение (техника как искусственная материальная система) выделяет одну из сторон существования техники, относя ее к искусственным материальным образованиям. Но не все искусственным материальным образования являются техникой (например, продукты селекционной деятельности, которые обладают естественной структурой). Поэтому сущность техники не исчерпывается подобными определениями, так как не выделяют технику среди других искусственных материальных образований.
Второе значение также является недостаточным. Техника трактуется как средство труда, средство производства, орудия труда и т.д. Иногда техника определяется сразу и как средства, и как орудия. Но это не корректно, так как и то и другое понятия лежат в одной плоскости рассмотрения и средства труда являются более широким понятием по отношению к орудиям труда.
Третье выделенное значение – техника как определенные способы деятельности. Но этой сущности скорее соответствует понятие «технологический процесс», который, в свою очередь, является элементом технологии.
Технический объект.
Понятие «технический объект» обозначает такое техническое явление, которое обладает всеми основными признаками общего класса технических образований. Отдельный технический объект является наиболее полной единичной клеткой технического мира.
Таким образом, технические объекты – это такие образования, которые, выполняя функцию средства человеческой деятельности, интегрируют в себе основные стороны деятельности человека (материальную, научную, художественную). Все другие образования существуют относительно самостоятельно и образуют смежные явления, представляющие отдельные части целого. К ним можно отнести: явления духовной жизни человека; произведения искусства; используемые неизмененные природные формы; технические системы, обладающие искусственной природой, но не выполняющие целостной социальной функции.
Наиболее детально характеристику технического объекта дал В.В. Чешев. Он пишет «…технический объект предстает в виде определенной совокупности элементов, в виде определенной вещественной структуры. …он представляет собой особую «целесообразную форму» проявления некоторого закона природы и должен описываться со стороны технических свойств, проявляемых им при практическом использовании в производственной (или какой-либо другой) сфере деятельности, а также должен быть описан со стороны своего внутреннего содержания как процесс, определяемый законом природы. Описывая техническое устройство совокупностью технических и естественных свойств, мы получаем обобщенное представление о техническом объекте».
Машина (от лат. machina
– устройство искусственного происхождения (совокупность агрегатов или устройств).
Машиной называют устройство для совершения полезной работы или преобразования энергии. Машины, в которых энергия преобразуется в механическую работу, затрачиваемую на приведение в движение машин-орудий, называют машинами-двигателями.Машины,
при помощи которых производится изменение формы, свойств, положения, состояния тех или иных материалов или предметов, называют машинами-орудиями (например, металлорежущий станок). «Идеальная машина» – абстрактный эталон, в реальных условиях недостигаемый и отличающийся следующими обстоятельствами:
Все части идеальной машины все время несут полезную расчетную нагрузку.
Материал «идеальной машины» работает так, что его свойства используются наилучшим образом, например, металлические части работают только на растяжение, деревянные части – только на сжатие и т.д.
Для каждой части «идеальной машины» созданы наиболее благоприятные внешние условия (температура, давление, характер движения внешней среды и т.д.).
Если «идеальная машина» передвигается, то вес, объем и площадь полезного груза совпадают или почти совпадают с весом, объемом и площадью самой машины.
«Идеальная машина» способна менять назначение (в пределах своей основной функции).
Межремонтный период частей равен сроку службы всей «идеальной машины».
Сравнивая «идеальную машину» с идеей изобретения, можно судить об уровне, вообще достигнутом в данной отрасли техники, и о качестве найденной идеи.
Механизм – это совокупность тел (обычно – деталей машин), ограничивающих свободу движения друг друга взаимным сопротивлением. Механизмы служат для передачи и преобразования движения. Как преобразователь движения механизм видоизменяет скорости, или траектории, или же и то, и другое. Он преобразует скорости, если при известной скорости одной из его частей другая его часть совершает движение, подобное движению первой, но с другой скоростью. Механизм преобразует траекторию, если, в то время как одна из его точек описывает известную траекторию, другая описывает другую заданную траекторию.
Теперь перейдем к определению закона и требования, которым должны удовлетворять законы техники.
Закон-
необходимое, существенное, устойчивое, повторяющееся отношение между явлениями. Закон выражает связь между предметами, составными элементами данного предмета, между свойствами вещей, а также между свойствами внутри вещи. Но не всякая связь есть закон. Связь может быть необходимой и случайной. Закон – это необходимая связь. Он выражает существенную связь между сосуществующими в пространстве веществами. Это закон функционирования.
Закономерность, обусловленность объективными законами; существование и развитие соответственно законам
А.И. Половинкин сформулировал требования, которым должны удовлетворять законы техники:
1. Формулировка закона техники должна быть по форме лаконичной, простой, изящной, а по содержанию отвечать данным выше определениям закона.
2. Формулировка закона техники должна быть обобщенной и отражать очень большое число известных и возможных факторов. Иначе говоря, закон должен допускать эмпирическую проверку на существующих или специально полученных факторах, имеющих количественную или качественную форму. При этом формулировка закона должна быть настолько четкой, что два человека, независимо подбирающие и обрабатывающие фактический материал, должны получить одинаковые результаты проверки.
3. Формулировка закона техники должна не только констатировать: что, где, когда происходит (то есть упорядочивать и сжато описать факты), но еще, по возможности, дать ответ на вопрос, почему так происходит. В связи с этим заметим, что в науке немало существовало и существует эмпирических законов, которые на отвечают на вопрос «почему?» или отвечают на него частично. И по-видимому, почти нет научных законов (в виду локального характера их действия), которые отвечают на вопрос «почему?». На все вопросы обычно отвечает теория, опирающаяся на несколько законов.
4. Формулировка закона техники должна быть автономно независимой, то есть к законам будем относить такие обобщенные высказывания, которые не могут быть логически выведены из других законов техники. Выводимые обобщения будем относить к закономерностям техники.
5. Формулировка закона техники должна учитывать взаимосвязи: «техника – предмет труда», «человек – техника», «техника – природа», «техника – общество».
6. Формулировка закона техники должна иметь предсказательную функцию, то есть предсказывать новые неизвестные факты, которые могут быть более или менее очевидными, а иногда необычными, парадоксальными.
7. Формулировка всех законов техники должна иметь четко определенную единую понятийную основу.
2. Закономерности техники
Основные закономерности техники описал Ю.С. Мелещенко. Он глубоко и обстоятельно исследовал развитие техники, технических и естественных наук. В своей работе он дал глубокий анализ: концепций, понятий, определений и классификации техники; системы связи техники с другими общественными явлениями; развития техники, и научно-технических революций. В результате этого анализа Ю.С. Мелещенко вывел следующие закономерности развития техники:
1. Закономерности, характеризующие сдвиги в материальной стороне техники;
1.1 Изменения в применении материалов
1.2. Расширение ассортимента природных материалов, применяемых в технике.
1.3. Вовлечение материалов природы в сферу технического использования
1.4. «Поиск и создание новых материалов сочетается с постоянным совершенствованием имеющихся материалов, выявлением и использованием их новых свойств. Этот процесс, имеющий закономерный характер, пронизывает всю историю техники».
1.5. Растущая целенаправленность в применении материалов, из которых создана техника.
1.6. Подбор материалов, которые по своим свойствам наиболее соответствуют структуре и свойствам технических устройства.
1.7. Рациональное использование материалов в количественном отношении. Изменение показателей (обычно в сторону уменьшения) по мере совершенствования техники. Например, уменьшение удельного веса, коэффициента компоновки, показателя относительного веса конструкции и др.
2. Закономерности, связанные с изменениями в использовании процессов природы. Большую часть этой группы образуют закономерности, которые выражают сдвиги в энергетических и других процессах, используемых в технике.
2.1. Последовательное овладение все более сложными формами движения материи, их техническое использование, расширение спектра процессов, применяемых в технике (использование физических, химических и биологических процессов).
2.2. Использование все более глубоких и мощных источников энергии. От использования мускульной энергии человека и животных, к использованию энергии движения воды и воздуха, тепловой энергии (паровой двигатель, двигатель внутреннего сгорания), электроэнергии, атомной энергии.
2.3. Растущая интенсивность применяемых процессов. Например, давления, температуры, скорости, напряжения, скорости и интенсивности применяемых процессов, увеличение скорости и количества принимаемой и перерабатываемой информации и т.д.
2.4. Постоянное возрастание степени целенаправленности используемых энергетических и других процессов. «Смысл и назначение техники и состоит в том, чтобы не просто осуществить какой-то процесс, а максимально направить его в нужную сторону, сделать его наиболее полезным и рациональным». Это осуществляется двумя путями:
2.4.1. Усовершенствование выбранного принципа действия
2.4.2. Переход к принципиально новой технике.
3. Закономерности, связанные с изменением ее элементов, структуры и функций.
3.1. Процесс дифференциации и специализации технических систем, их элементов. «Объективные предпосылки к этому коренятся в росте и развитии общественных потребностей, которые вызывают к жизни все новые и новые формы деятельности, а вместе с ними и соответствующие средства труда. Эти процессы обусловлены также внутренней логикой развития техники».
3.2. Функциональная специализация. Средства труда или сложные технические системы предназначены для обслуживания определенной функции или достаточно общей операции.
3.3. Предметная специализация. Технические устройства или их элементы предназначаются для выполнения узкой операции, имеют ограниченную и жестко закрепленную программу действий.
Интересно отметить так же, что понимает Ю.С. Мелещенко под дифференциацией и специализацией. Он пишет: «Характерно также усиление дифференциации и специализации элементов технических устройств и систем. Примером тому служит классическая система машин трехзвенного состава, включающая в себя рабочую машину, передаточных механизм и двигатель. На ступени автоматизации она дополняется таким специализированным элементом, как управляющее устройство».
4. Процесс усложнения и интеграции техники.
4.1. Движение к автоматизации. «Можно выделить три основных этапа исторически развивающегося взаимодействия, людей и техники в процессе трудовой, целесообразной деятельности: 1) этап использования орудий техники; 2) этап машинной техники; 3) этап автоматизации». «Таким образом, закономерным для развития машинной техники является последовательное и все более полное замещение человека в выполнении материальных функций». «Автоматизация проходит рад ступеней в своем развитии. Различают частичную, комплексную и полную автоматизацию».
Все эти закономерности имеют в своей основе фундаментальные законы развития техники.
3. Основные законы развития технических систем
3.1 Закон прогрессивной эволюции техники
Действие закона прогрессивной эволюции в мире техники аналогично действию закона естественного отбора Дарвина в живой природе. Он отвечает на вопросы, почему происходит переход от предшествующего поколения технического объекта (далее ТО) к следующему улучшенному поколению; при каких условиях, когда и какие структурные изменения происходят при переходе от поколения к поколению.
Формулировка закона: В ТО с одинаковой функцией переход от поколения к поколению вызван устранением выявленного главного дефекта (дефектов), связанного, как правило, с улучшением критериев, развития, и происходит при наличии необходимого научно-технического уровня и социально-экономической целесообразности следующими наиболее вероятными путями иерархического исчерпания возможностей конструкции:
а) при неизменном физическом принципе действия и техническом решении улучшаются параметры ТО до приближения к глобальному экстремуму по значениям параметров;
б) после исчерпания возможностей цикла а) происходит переход к более рациональному техническому решению (структуре), после чего развитие опять идет по циклу а). Циклы а) и б) повторяются до приближения к глобальному экстремуму по структуре для данного принципа действия. При этом значения критериев развития, как правило, изменяются в соответствии функцией вида:

В формуле приняты следующие обозначения: L, a, b, b-коэффициенты определяемые по статическим данным; t – время. Вид функции, называемой S – функцией, показан на рисунке 1.

Рисунок 1. Закономерность изменения значений критерия развития при неизменном принципе действия
В) после исчерпания возможностей циклов а) и б) происходит переход к более рациональному физическому действия, после чего развитие опять идет по циклам а) и б). Циклы а) – в) повторяется до приближения к глобальному экстремуму по принципу действия для множества известных физических эффектов.
При этом в каждом случае перехода от поколения к поколению в соответствии с частными закономерностями происходят изменения конструкции, корреляционно связанные с характером дефекта у предшествующего поколения, а из всех возможных изменений конструкции реализуется в первую очередь то, которое дает необходимое или существенное устранение дефекта при минимальных интеллектуальных и производственных затратах. Циклы, описанные выше, представлены в таблице 1.
Таблица 1 Иерархическое исчерпание возможностей конструкторско-технологических решений

Таким образом, суть закона состоит в том, что в ТО с одинаковой функцией каждый переход от поколения к поколению вызван устранением возникшего главного дефекта (дефектов), связанного с улучшением какого-либо критерия (показателя) развития при наличии определенных технико-экономических условий. Таким образом, сначала на 1-м уровне улучшаются параметры используемого технического решения. Когда изменение параметров мало что дает, изменения осуществляют на 2-м уровне путем перехода к более эффективному техническому решению без изменения физического принципа действия. Затем, при исчерпании параметров, переходят на новое более прогрессивное техническое решение. Указанные циклы на 1-м и 2-м уровнях происходят до тех пор, пока в рамках используемого принципа действия уже не находят новых технических решений, обеспечивающих улучшение интересующих показателей. После этого наступает революционное изменение на 3-м уровне – переход на новый, более прогрессивный принцип действия и т.д. При этом в каждом случае перехода от поколения к поколению действуют весьма определенные частные закономерности изменения конструкции, которые с большой вероятностью конкретизируют направление и характер изменения ТО в следующем поколении.
Следует иметь в виду, что в законе прогрессивной эволюции иерархическое исчерпание конструкции не действует формально: «пока не будут достигнуты глобально оптимальные параметры, не может произойти переход к новому техническому решению, или пока не будут исчерпаны возможности наилучшего технического объекта (в рамках определенного принципа действия), не может произойти переход к новому принципу действия». Закономерность иерархического исчерпания конструкции действует, как указанно в формулировке закона, при соблюдении следующего условия: если при наличии необходимого научно-технического потенциала переход к новому техническому решению или принципу действия обеспечивает получение дополнительной эффективности, существенно превышающей дополнительные интеллектуальные и производственные затраты, то может произойти скачок к новому техническому решению или принципу действия без исчерпания возможностей предыдущего технического решения или принципа действия.
3.2 Закон полноты частей системы
Закон полноты частей системы был разработан автором ТРИЗ Г.С. Альтшуллером. Он выглядела так:
1. Отдельные элементы машины, механизма, процесса всегда находятся в тесной взаимосвязи.
2. Развитие происходит неравномерно: одни элементы обгоняют в своем развитии другие, отстающие.
3. Планомерное развитие системы (машины, механизма, процесса) оказывается возможным до тех пор, пока не возникнут и не обострятся противоречия между более совершенными элементами системы и отстающими ее частями.
4. Это противоречие является тормозом общего развития всей системы. Устранение возникшего противоречия и есть изобретение.
5. Коренное изменение одной части системы вызывает необходимость для функционально обусловленных изменений в других ее частях.
«Между главными составными частями машины – рабочим органом, передаточным механизмом (трансмиссией) и двигателем – имеется определенное соотношение, ибо все эти части находятся в тесной взаимосвязи и взаимообусловленности. Наличие взаимосвязи между главными составными частями машины приводит к тому, что развитие той или иной части оказывается возможным только до определенного предела – пока не возникнут противоречия между измененной частью машины и оставшимися без изменений другими ее частями». И далее «Противоречия, возникающие между отдельными частями машины, являются тормозом общего развития, ибо дальнейшее усовершенствование машины невозможно без внесения изменений в соответствующие ее части, без коренного улучшения их свойств».
Это закон объясняет причину, того что даже революционное изменения одно элемента, как это описано в 1 законе не приводит к аналогичному улучшению всей машины в целом.
3.3 Закон расширения множества потребностей-функций
Этот закон имеет отношение к развитию техники в целом отдельной страны или всего мира. В политэкономии уже давно известен закон возвышения потребностей, которые сформулирован на качественном уровне. Формулировка закона основывается на предшествующих работах и относится только к потребностям, реализуемым с помощью ТО:
При наличии необходимого потенциала и социально-экономической целесообразности возникшая новая потребность удовлетворяется с помощью впервые созданных технических средств (объектов); при этом возникает новая функция, которая затем существует как угодно долго, пока ее реализация будет обеспечивать и сохранение и улучшение жизни людей. Число таких качественно и количественно различающихся потребностей-функций, относящихся к техносфере страны или мира, со временем монотонно и ускоренно возрастает по экспоненциальному закону

где – число потребностей-функций до момента t=0: – эмпирический коэффициент;
t – время в годах.
3.4 Закон соответствия между функцией и структурой
Закон между функцией и структурой на протяжении многих веков изучали и обсуждали на философском уровне. При этом отмечали и анализировали многочисленные факты удивительных соответствий между выполненными функциями любого органа живого организма и его структурой (строением, конструкцией, конструктивными признаками). Такие же соответствия отмечались в деталях узлах машин, сооружений и других технических объектов.
Главная суть закона заключается в том, что в правильно спроектированном техническом объектом каждый элемент от сложных узлов до простых деталей и каждый конструктивный признак имеют вполне определенную функцию (назначение) по обеспечению работы технического объекта. И если лишить такой ТО какого-либо элемента или признака, то он либо перестанет работать (выполнять свою функцию), либо ухудшит показатели своей работы. В связи с этим у правильных ТО нет «лишних деталей». Эта главная суть соответствия между функцией и структурой лежит в основе всей познавательной деятельности, связанной с анализом и изучением существующих ТО и всей проектно-конструкторской деятельности по созданию новых ТО.
Каждый элемент ТО или его конструктивный признак имеют хотя бы одну функцию по обеспечению реализации функции ТО, т.е. исключение элемента или признака приводит к ухудшению какого-либо показателя ТО или прекращению выполнения им своей функции. Совокупность всех таких соответствий в ТО представляет собой функциональную структуру в виде ориентированного графа, который отражает системную целостность ТО и соответствие между его функцией и структурой (конструкцией).
Рассмотрим этот закон на примере функционального строения обрабатывающих (технологических) машин.
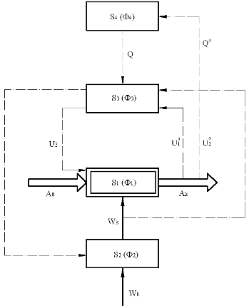
ТО или соответствующие человеко-машинные системы, предназначены для обработки материального предмета труда, состоят из четырех подсистем (элементов)    , реализующих соответственно четыре фундаментальные функции, показанные на рисунке 2

Рисунок 2. Обобщенная функциональная структура обрабатываемых машин: => поток вещества, поток энергии, поток управляющих сигналов и воздействий
Ф1 – технологическая функция – обеспечивает превращение исходного материала (сырья) в конечный продукт ;
Ф2 – энергетическая функция – превращает вещество или извне полученную энергию в конечный вид энергии , необходимы для реализации функции Ф1;
Ф3 – функция управления – осуществляет управляющие воздействия , на подсистемы , в соответствии с заданной программой и полученной информацией , о количестве и качестве выбранного конечного продукта и конечной энергии ;
Ф4 – функция планирования – собирает (получает) информацию о произведенном конечном продукте и определяет потребные качественные и количественные характеристики конечного продукта.
Анализ функций различных ТО позволяет накапливать и формировать базы данных по формализованным описаниям функций элементов ТО и функциональным структурам ТО. Все эти базы данных могут быть эффективно использованы в различных методах поискового проектирования и конструирования, при проведении функционально-стоимостного анализа ТО технологий, построений информационно-поисковых систем для поддержки проектно-конструкторской деятельности.
4
Вытеснение человека из технических систем
4.1 Закон стадийного развития техники
В техники революционные изменения связаны с передачей техническим средствам широко распространенных функций, выполняемых человеком. Закон стадийного развития техники отражает революционные изменения происходящие в процессе развития как отдельных классов ТО, так и техники в целом. Гипотеза о законе имеет на инженерном уровне следующую формулировку.
ТО с функцией обработки материального предмета труда имеют четыре стадии развития, связанные с последовательной реализацией с помощью технических средств четырех фундаментальных функций и последовательным исключением из технологического процесса соответствующих функций, выполняемых человеком:
на первой стадии ТО реализует только функцию обработки предмета труда (технологическая функция);
на второй стадии, наряду с технологической, ТО реализует еще функцию обеспечения энергией процесса обработки предмета труда (энергетическая функция);
на третий стадии ТО реализует еще функцию управления процессом обработки предмета труда;
на четвертой стадии ТО реализует также и функцию планирования для себя объема и качества продукции, получаемой в результате обработки предмета труда; при этом человек полностью исключается из технологического процесса, кроме более высоких уровней планирования.
Переход к каждой очередной стадии происходит при исчерпании природных возможностей человека в улучшении показателей выполнения соответствующей фундаментальной функции в направлении дальнейшего повышения производительности труда и (или) качества производимой продукции, а также при наличии необходимого научно-технического уровня и социально экономической целесообразности.
В таблице 2 приведены примеры стадийного развития различных ТО, которые дополняют формулировку закона. Рассматриваемый закон имеет определенную связь с закономерностью функционального строения обрабатывающих машин.
Таблица 2. примеры стадийного развития ТО
| Функция ТО |
ТФ |
ТФ+ЭФ |
ТФ+ЭФ+ФУ |
ТФ+ЭФ+ФУ+ФП |
Размалывание зерна
Получение осесеметричных круглых деталей из твердотельных заготовок
Транспортирование груза по дороге
|
Каменные жернова с ручным приводом
Токарный станок с рунным или ножным приводом
Тачка или тележка, приводимая в движение человеком
|
Каменные жернова с приводом от водяного колеса или паровой машины
Токарный станок с приводом от водяного колеса, паровой машины или электродвигателя
Телега, приводимая в движение тягловым животным или автомобиль
|
Мельница с системой автоматического управления (САУ)
Токарный станок с числовым программным управлением (ЧПУ)
Автомобиль с САУ
|
Мельница с САУ, получающая задания от автоматизированной системы планирования работ (АСПР)
Станок с ЧПУ, получающий задания от АСПР
Автомобиль с САУ, получающий задания от бортовой АСПР, осуществляющей предварительный сбор информации
|
| Примечание. ТФ – технологическая функция; ЭФ – энергетическая функция; ФУ – функция управления; ФП – функция планирования. |
Закон стадийного развития отражает также развитие мировой техники в целом, что наглядно показано в таблице 3 где обозначение «ТО» указывает на реализацию соответствующей фундаментальной функции техническими средствами.
Таблица 3. Стадии развития техники
| Выполняемая функция |
Начало стадии |
| Каменный век (первая стадия) |
XVIII век (вторая стадия) |
Середина XX века (третья стадия) |
Конец XX века (четвертая стадия) |
Технологическая
Энергетическая
Управления
Планирования
|
ТО
Человек
>>
>>
|
ТО
>>
Человек
>>
|
ТО
>>
>>
Человек
|
ТО
>>
>>
>>
|
Следует отметить, что предписываемая законом картина последовательного четырех стадийного развития ТО имеет место только для классов ТО, появившихся до XVIII века. Уже в XIX веке, когда техника в целом находилась на второй стадии развития, вновь появившиеся ТО одновременно реализовали технологическую и энергетическую функции, поскольку для этого существовал необходимы научно-технический уровень и это следовало из требований социально-экономических целесообразности. Аналогично картину мы наблюдаем в настоящее время, когда вновь появляющеюся пионерные ТО для реализации новых потребностей часто реализует сразу три фундаментальные функции (технологическую, энергетическую, управления).
4.2 Роботизация и законы робототехники
В данной работе мы рассмотрим законы роботостроения и робототехники лишь обзорно и не будем углубляется во все существующие проблемы данной индустрии.
В настоящее время автоматизация достигла такого уровня, при котором ТО выполняют не только функции по обработке материальных предметов, но и начинают выполнять обслуживанию и планированию. Человекоподобные роботы уже выполняют функции секретарей и гидов. Робототехника уже выделена в отдельную отрасль. Сегодня человечество практически вплотную подошло к тому моменту, когда роботы будут везде и всюду. Латентная, почти незаметная в быту эволюция роботов вот-вот выльется в самую настоящую революцию роботов
. Или даже Великую Революцию Автоматизированной Экономики
.
Законы робототехники еще только разрабатываются. Сейчас многие ученые стараются выработать законы развития роботов и законы взаимодействия человека с роботом. Эти законы могут сыграть важную роль в будущем.
Первыми законами робототехники можно считать законы сформулированные американским фантастом А. Азимовым:
1. Робот не может причинить вред человеку или своим бездействием допустить, чтобы человеку был причинён вред
(A robot may not injure a human being or, through inaction, allow a human being to come to harm)
2. Робот должен повиноваться всем приказам, которые дает человек, кроме тех случаев, когда эти приказы противоречат Первому Закону
(A robot must obey orders given to it by human beings, except where such orders would conflict with the First Law)
3. Робот должен заботиться о своей безопасности в той мере, в которой это не противоречит Первому и Второму Законам
(A robot must protect its own existence as long as such protection does not conflict with the First or Second Law).
Значительно позже, в 1986 году, Азимов дополнил этот свод законов ещё одним, нулевым правилом:
· Робот не может нанести вред человечеству или своим бездействием допустить, чтобы человечеству был причинён вред
(A robot may not harm humanity, or, by inaction, allow humanity to come to harm)
Согласно статистической информации, собранной учёными проекта PHRIENDS (Physical Human-Robot Interation: DepENDability and Safety, то есть, Физическое взаимодействие людей и роботов: Надёжность и Безопасность), сегодняшние «гражданские» роботы в большинстве случаев безопасны лишь когда изолированы от доступа человека или когда передвигаются достаточно медленно. То есть, ни о каком соблюдении требований Первого (и Нулевого) Законов Робототехники пока и речи быть не может.
Сейчас ведутся активные разработки по обеспечению безопасности. В частности, сейчас учёные занимаются работой над прототипом исполнительного механизма под названием Variable Stiffness Actuator (VSA) с мехатронным (электронно-мехиническим) дизайном, позволяющим создавать лёгкие и менее «жёсткие» конечности роботов. Возможно, чем-то подобным будут оснащаться эти самые «робоняньки для престарелых», но на первое время подобные манипуляторы будут очень даже к месту на обычном производстве, где роботы и люди по-прежнему вынуждены трудиться «плечом к плечу». Уж если кто и сможет сказать что-то дельное при разработке будущих мировых стандартов безопасности роботостроения, то без мнения этих учёных точно не обойтись.
Также в роботостроении существует закономерность согласно которой, роботы с каждым поколением приобретают все больше человеческих черт и признаков
. Это связано с тем что человеку психологический проще находиться рядом с объектом, который обладает сходством с человеком, кроме того не за горами когда роботы начнут выполнять роль нянек для младенцев и пожилых людей, такие разработки уже активно ведутся.
Однако препятствием к очеловечиванию роботов препятствует феномен так называемой «долины жути». В 1970 году пионер японской робототехники Масахиро Мори описал явление, названное им «Букими но тани» – «Долина жути» (сейчас распространен англоязычный термин, Uncanny Valley). Доктор Мори предположил, что человекообразные роботы будут симпатичны нам до лишь определенного предела. Когда внешний вид и поведение таких механизмов достигнут почти полной реалистичности, человек станет испытывать к ним резкую неприязнь. Но как только будет достигнут полный реализм, наше восприятие снова сменится на положительное или нейтральное. Объясняется это тем, что мы склонны испытывать симпатию к неодушевленным предметам, обнаруживающим сходство с человеком; обратная же ситуация, когда объект выглядит почти как человек, но демонстрирует явные признаки неодушевленного предмета, вызывает негативную реакцию, замешательство и страх. В 1978 году Мори объявил о подтверждении своей гипотезы, проведя ряд экспериментов при поддержке Токийского института технологий. Испытуемые добровольцы действительно охотнее проникались расположением к негуманоидным роботам, в то время как человекообразные автоматы чаще вызывали у них неприязнь.

Рисунок 3 Восприятие человека человекоподобных объектов
Таким образом, перед разработчиками роботов стоит еще очень большое количество проблем, поскольку многие законы и закономерности еще в роботостроение не установлены человеком еще или имеют не подтвержденный характер.
5. Прогнозирование развития технических систем
Если говорить, в общем, то прогнозирование развития техники в целом является очень сложной задачей, поскольку существующие законы техники не могут сказать каким будет уровень научно-технического развития через несколько лет. Так же тот же закон прогрессивной эволюции техники может установить как близко подошел тот или иной ТО к переходу на новый уровень. Прогнозирование с помощью S функции позволяет установить, насколько недоиспользованы возможности применяемого принципа действия Если эти возможности имеют значительные резервы, то на основе прогнозирования можно сформулировать задание на улучшение интересующих главный показателей. Если же прогноз покажет, что возможности принципа действия практически исчерпаны, то будет сделан обоснованный вывод о необходимости перехода на новый принцип действия. Но закон прогрессивной эволюции не может ответить каким будет новый принцип действия и когда именно произойдет переход.
Сейчас активно ведутся разработки по использованию законов развития биологии и переносе «патентов» природы для решения изобретательских задач.
Первым в 1964 г. высказал эту идею Г. Альтшуллер: «Как известно, бионика изучает животных с целью примене
ния найденных принципов и приемов работы их органов к решению инженерно-технических задач. Однако современные животные – слишком сложные прообразы для современной техники. Это нередко затрудняет изучение «живых моделей», тормозит (а порой делает невозможным) создание технических аналогов. Между тем часто целесообразно брать в качестве прообразов вымерших ныне животных, изучаемых палеонтологией, так как они проще устроены. Другое преимущество такого подхода состоит в том, что во много раз расширяется круг прообразов, ибо современные животные – лишь незначительная часть фауны, существовавшей в течение всей истории Земли».
Многие природные механизмы и «конструкции» сейчас применяются в авиа- и машиностроении, в робототехники, медицине.
Применительно к конкретному ТО можно проводить анализ на основе закона соответствия между функцией и структурой.
Этот анализ сводиться к следующему.
1. Оценка функциональной ценности каждого элемента (узла или детали в машине, машины или станка в технологическом комплексе) с точки зрения его исключения и передачи его функций другому элементу.
2. Выделение комплекса функций в целях их реализации одним автономным техническим средством
3. Оценка целесообразности изменения потоковой функциональной системы и выбора более рациональной последовательности функциональных элементов.
4. Оценка целесообразности разделения функций элементов, выполняющих две и более функции.
5. Проверка полноты функциональной системы в соответствии с закономерностью функционального строения данного класса ТО. Оценка целесообразности введения новых функциональных элементов.
6. Выделение функций, выполняемых человеком, и оценка возможности и целесообразности их выполнениями техническими средствами
7. Оценка возможности использования функциональной системы ТО, выполняющих близкие и аналогичные функции и имеющих опережающие темпы развития по сравнению с разрабатываемым классом ТО.
Практическое использование закона стадийного развития связано с проведением исследований по его привязки к интересующему классу ТО, а также к функционально близкому классу ТО, имеющих опережающие темпы развития. При выполнении этих исследований даются ответы на следующие вопросы:
На какой стадии развития находиться рассматриваемый ТО или технологический комплекс?
Ограничивает ли возможности человека существенное улучшение основных показателей ТО?
Имеются ли необходимые научно-технические и технологические возможности для перехода на следующую стадию?
Имеется ли социально-экономическая целесообразность перехода на следующую стадию?
На основе такого анализа делается вывод о целесообразности перехода на следующую стадию и формируется соответствующее задание на научно-исследовательские и опытно-конструкторские разработки.
И так на основе имеющихся законов можно анализировать существующие конкретные технические объекты, устанавливать их уровень развития и прогнозировать их дальнейшее развитие. Но прогнозировать развитие техники в целом очень затруднительно и такой прогноз будет условным и неточным. В настоящее время еще не сложилась единая система законов развития техники и любых других систем. Будущим исследователям законов развития систем предстоит серьезно исследовать все имеющиеся материалы. Прежде всего, нужно исследовать самые древние системы. К ним в первую очередь относятся биологические системы. Может быть, следует даже исследовать еще более древние системы образования звезд, планет и космической системы и галактики. Должны быть исследованы различные виды культур, языки, религии, музыка, литература, искусства и т.д. Не менее интересно исследовать стремительно развивающиеся сегодня системы высоких технологий. Здесь тоже имеются свои закономерности. Особенно это касается микроэлектроники, компьютеров и программирования. В них наверняка имеются те закономерности, которые еще не выявлены.
Литература
1. Половкин А.И. Законы строения и развития техники. 3-е издание, переработанное и дополненное. Волгоград 1985 г.
2. Половкин А.И. Основы инженерного творчества. 2-е издание, переработанное и дополненное – М. Машиностроение, 1988. -368 с., ил.
3. Чешев В.В. О предмете и основных понятиях технических наук (гносеологический анализ). Автореферат диссертации на соискание ученой степени кандидата философских наук. Томск, 1968. с. 8 и 12.
4. Мелещенко Ю.С. Техника и закономерности ее развития. – Л.: Лениздат, 1970, 248 с
5. Альтшуллер Г.С. Как научиться изобретать. – Тамбов: Кн. изд., 1961,
128 с
6. Альтшуллер Г.С. О законах развития технических систем. – Баку, 20.01.1977.
7. Золотин. Б.Л., Зусман А.В. Законы развития и прогнозирования технических систем. Кишенев, Прогресс, 1989 г.
8. Петров В.М. Закономерности развития технических систем. – Методология и методы технического творчества. – Тезисы докладов и сообщений к научно-практической конференции 30 июня – 2 июля 1984 г. – Новосибирск, 1984 г.
9. Свидерский В.И. Некоторые особенности развития в объективном мире. – Л.: Изд-во ЛГУ, 1965.
|