| Характеристика кваса
Приготовление квасных хлебцев и сухого кваса
Приготовление концентрата квасного сусла
Производство ККС из свежепроросшего ржаного солода и несоложеного сырья
Производство ККС из сухих солодов и несоложеного сырья
Приготовление концентрата кваса
Приготовление сахарного сиропа
Приготовление колера
Приготовление смешанной закваски дрожжей и молочнокислых бактерий
ПРОИЗВОДСТВО КВАСА, БЕЗАЛКОГОЛЬНЫХ И СЛАБОАЛКОГОЛЬНЫХ НАПИТКОВ
ПРОИЗВОДСТВО КВАСА
Характеристика кваса
Хлебный квас - один из распространенных напитков, обладающий приятным ароматом ржаного свежевыпеченного хлеба и кисловато-сладким вкусом. Он содержит разнообразные продукты спиртового и молочнокислого брожения, которые придают ему освежающее действие и специфический кисловатый вкус. Питательная ценность 1 дм3
кваса составляет 1000-1170 кДж (240-280 ккал).
Сырьем для производства хлебного кваса служат ржаной солод, ржаная мука, ячменный солод, сахар и другие продукты. Основные стадии его производства включают: получение ржаного солода, приготовление квасного сусла, сбраживание квасного сусла и купажирование кваса.
Раньше квасное сусло приготовляли настойным и рациональным способами, которые сейчас применяют редко.
Настойный способ заключался в экстрагировании растворимых веществ из измельченных квасных хлебцев путем двух- или трехкратного настаивания в горячей воде. А по рациональному способу квасное сусло получали путем предварительного запаривания под избыточным давлением в течение 2 ч ржаного дробленого ферментированного солода и ржаной муки. Запаренную массу помещали в заторный чан, добавляли в нее ячменный солод и смесь осахаривали по определенному технологическому режиму. Полученное сусло отделяли от нерастворившейся зерновой массы (гущи) фильтрованием.
В настоящее время квасное сусло готовят в основном из концентрата квасного сусла, концентратов квасов, концентрата обогащенного квасного сусла, экстракта окрошечного кваса, которые получают на специализированных заводах из ферментированного и неферментированного ржаного солода, ячменного солода с добавлением ржаной, кукурузной, ячменной муки.
При сбраживании квасного сусла используют комбинированную культуру дрожжей и молочнокислых бактерий. Дрожжи вызывают спиртовое брожение, а бактерии — молочнокислое. Молочнокислые бактерии примерно половину сахара превращают в молочную кислоту, остальной сахар - в диоксид углерода, уксусную кислоту и этиловый спирт. Совместное действие микроорганизмов основано на их различном обмене веществ, и разных требованиях к питательной среде, а также разной скорости размножения. В результате изменения условий среды меняется ход брожения, характерный для этих микроорганизмов при их раздельном развитии. Например, в первой половине процесса брожения, где используется комбинро ванная культура, в результате жизнедеятельности молочнокислых бактерий накапливается молочная кислота и повышается кислотность среды, что способствует размножению дрожжей. Во второй половине процесса брожения дальнейший рост кислотности угнетает жизнедеятельность дрожжей, и они начинают погибать. Продукты автолиза этих дрожжей служат питанием для молочнокислых бактерий. В присутствии молочнокислых бактерий квасные дрожжи накапливают в сбраживаемой среде до 0,04% уксусноэтилового эфира, что способствует улучшению вкуса и аромата кваса, а также повышению стойкости кваса при хранении.
Забиваем Сайты В ТОП КУВАЛДОЙ - Уникальные возможности от SeoHammer
Каждая ссылка анализируется по трем пакетам оценки: SEO, Трафик и SMM.
SeoHammer делает продвижение сайта прозрачным и простым занятием.
Ссылки, вечные ссылки, статьи, упоминания, пресс-релизы - используйте по максимуму потенциал SeoHammer для продвижения вашего сайта.
Что умеет делать SeoHammer
— Продвижение в один клик, интеллектуальный подбор запросов, покупка самых лучших ссылок с высокой степенью качества у лучших бирж ссылок.
— Регулярная проверка качества ссылок по более чем 100 показателям и ежедневный пересчет показателей качества проекта.
— Все известные форматы ссылок: арендные ссылки, вечные ссылки, публикации (упоминания, мнения, отзывы, статьи, пресс-релизы).
— SeoHammer покажет, где рост или падение, а также запросы, на которые нужно обратить внимание.
SeoHammer еще предоставляет технологию Буст, она ускоряет продвижение в десятки раз,
а первые результаты появляются уже в течение первых 7 дней.
Зарегистрироваться и Начать продвижение
Сброженный квас купажируют (смешивают в определенных пропорциях) с необходимыми компонентами, в том числе с сахаром, тщательно перемешивают и разливают.
Приготовление квасных хлебцев и сухого кваса
Квасные хлебцы и сухой квас являются полуфабрикатами в производстве хлебного кваса.
Квасные хлебцы выпекают из смеси ржаного и ячменного солода, ржаной муки и воды (без дрожжей или закваски). На 1 т квасных хлебцев расходуют 477 кг ржаного солода, 77 кг ячменного солода и 185 кг ржаной муки. Перед употреблением ржаной и ячменный солод размалывают.
Квасные хлебцы готовят следующим образом. Ржаную муку размешивают в кипящей воде в соотношении 1:1,5 и выдерживают в течение 1 ч для клейстеризации крахмала. За это время температура смеси понижается до 70°С. Одновременно в другой емкости в горячей воде температурой 70°С затирают дробленый ячменный солод в соотношении 1:3 и выдерживают в течение 1 ч. Солодовую суспензию смешивают с заваркой муки и помещают на 2 ч в расстойную камеру, где температура около 65°С. После этого в смесь добавляют ржаной дробленый солод, перемешивают и выдерживают в расстойной камере еще 1 ч для продолжения осахаривания крахмала.
Готовое тесто помещают в формы и выпекают в течение 13 первые 3 ч при температуре выпечки 160-180°С, затем постепенно ее понижают до 140°С, а в конце выпечки - до 90°С. Выгруженные I печи хлебцы массой 2—3,5 кг выбивают из форм, укладывают на вагонетки и направляют в остывочную камеру.
Сервис онлайн-записи на собственном Telegram-боте
Попробуйте сервис онлайн-записи VisitTime на основе вашего собственного Telegram-бота:
— Разгрузит мастера, специалиста или компанию;
— Позволит гибко управлять расписанием и загрузкой;
— Разошлет оповещения о новых услугах или акциях;
— Позволит принять оплату на карту/кошелек/счет;
— Позволит записываться на групповые и персональные посещения;
— Поможет получить от клиента отзывы о визите к вам;
— Включает в себя сервис чаевых.
Для новых пользователей первый месяц бесплатно.
Зарегистрироваться в сервисе
При выпечке хлебцев происходят следующие процессы. При температуре примерно 75°С в хлебцах начинают разрушаться ферменты и денатурировать белки, из крахмала образуются декстрины. С увеличением температуры до 100-110°С, интенсивно протекает peaкциях меланоидинообразования. При температуре, близкой к 150 выше, декстрины и сахара карамелизуются. В результате квасные хлебцы приобретают темно-коричневую корку, кисло-сладкий вкус, солодово-хлебный запах. Влажность их не более 40%. Из свежевыпеченных хлебцев готовят квасное сусло.
Хранить хлебцы можно не более 4-5 сут (начинают плесневеть), поэтому для длительного хранения их разрезают на ломти и сушат 10-12ч при температуре от 50 до 90°С до влажности 8%. Затем ломти дробят и получают так называемый сухой квас. При сушке у него, по сравнению с квасными хлебцами, несколько теряется аромат.
Приготовление концентрата квасного сусла
Концентрат квасного сусла (ККС) - это так называемый хлебный экстракт, полуфабрикат для производства кваса. По внешнему виду ККС вязкая густая жидкость темно-коричневого цвета, кисло-сладкая на вкус, с незначительно выраженной горечью и ароматом, характерным для ржаного хлеба. ККС полностью растворим в воде, допускается опалесценция его раствора. Содержание сухих веществ в концентрате 68—72%, кислотность 16—40 см3
1 н раствора NaOH на 100 г концентрата. Присутствие консервирующих веществ и механических примесей не допускается.
В настоящее время концентрат квасного сусла готовят двумя способами:
1)из свежепроросшего ржаного солода и ржаной муки;
2)из сухих солодов (ржаного и ячменного) и несоложеного сырья.
Технология ККС по 1 способу состоит из очистки и сортирования ржи, ее замачивания и проращивания, дробления зернопродуктов, приготовления затора, его разделения, осветления сусла, концентрирование сусла, термообработки концентрата и розлива готового продукта. По 2 способу приготовление ККС начинают с дробления солодов, несоложеного сырья и далее — операции, аналогичные 1 способу.
В производстве ККС из несоложеного сырья используют: рожь, ржаную муку, кукурузу, ячмень, муку и крупу кукурузную. Их хранят отдельно в сухом и чистом складе, не зараженном зерновыми и другими вредителями. Хранение в складе других видов сырья или материалов, имеющих запах, не разрешается.
Мешки с мукой и крупой на хранение укладывают в штабели на Деревянных решетках. В складах с сухими деревянными полами допускается укладка мешков на пол: в теплое время года — в штабели по ширине из трех мешков; в холодное время года можно укладывать штабели по ширине из пяти мешков. Ширина проходов между штабелями должна быть не менее 0,5 м.
Высота укладки штабелей зависит от допустимой нагрузки на перекрытия, а также от влажности сырья и температуры воздуха на складе. Рекомендуемое число рядов в штабелях укзано в таблице 28.
| Температура воздуха на складе, °С
|
Число рядов мешков по высоте при влажности сырья
|
| Ржаной и ячменной муки
|
Кукурузной муки и крупы
|
| до 14% включительно
|
от 14 до 15% включительно
|
до 13% включительно
|
от 13 до14% включителкно
|
| Выше 10
|
10
|
8
|
8
|
6
|
| От 10 до нуля
|
12
|
10
|
|
|
| Ниже нуля
|
14
|
14
|
|
|
| Ниже 10
|
|
|
10
|
|
Штабели, в которых температура повышена, необходимо разбирать, а сырье передавать в производство.
Сухой ржаной солод хранят, как описано в главе 6.
Ферментные препараты хранят в плотно закрытой таре в сухом помещении при температуре не выше 20°С.
Химические вещества для приготовления дезинфицирующих средств хранят в специальном закрытом помещении.
Производство ККС из свежепроросшего ржаного солода и несоложеного сырья
Схема производства ККС из свежепроросшего ржаного солода и несоложеного сырья включает в себя очистку, сортирование и взвешивание ржи, приготовление свежепроросшего ржаного солода, дробление зернового сырья, приготовление затора, фильтрование затора, концентрирование сусла, термообработку концентрата и розлив готового концентрата.
Особенностью производства ККС по данному способу является то, что технологический процесс начинается с приготовления ржаного солода, то есть исходным сырьем служит рожь. Основными преимуществами способа являются исключение стадий ферментации, подсушивания и сушки солода, что позволяет сохранить и эффективно использовать все его ферментные комплексы. Процесс меланоидинообразования, формирующий полноту вкуса, аромат и цвет концентрата квасного сусла, происходит в более короткие сроки на конечной стадии его производства при термообработке и с меньшей потерей сухих веществ.
При выработке 1 т концентрата квасного сусла по данной технологии примерный расход ржи составляет 1340 кг, из которых 670 кг (50%) идет на приготовление солода. Остальная рожь в виде муки используется в качестве несоложеного сырья. Расход ферментного препарата цитолитического и амилолитического действия зависит о его активности и равен примерно 0,02-0,2 % к массе зернового сырья в заторе.
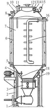
Аппаратурно-технологическая схема производства концентрат квасного сусла из свежепроросшего солода с применением ферментного препарата изображена на рис. 82.
Рис. 82. Технологическая схема приготовления концентрата квасного сусла из свежепроросшего солода с применением ферментных препаратов
По этой схеме свежепроросший солод норией 1 подают в дробилку 2 и измельчают вместе с водой. Измельченную массу шнековым транспортером 3 загружают в заторный аппарат 4, оснащенный мешалкой и подогревателем. Предварительно в заторный аппарат набирают воду температурой 45°С и при непрерывной работе мешалки сначала из сборника 5 вносят ферментный препарат, затем дробленый ржаной солод в виде солодового молочка и ржаную муку. Общий гидромодуль составляет (1:3,5)—(1:4). При этом сусло имеет 14— 16% сухих веществ и рН поддерживается в интервале 5-5,5.
Ржаную муку предварительно разваривают в предзаторном аппарате в течение 30-40 мин. При отсутствии на заводе предзаторного аппарата мука может быть использована без разваривания.
Затирание зернового сырья проводят в заторном аппарате 4 последовательно при следующих параметрах:
Температура, °С 40 52 63 70 72
Продолжительность
паузы, мин 60-90 60-90 30-35 30-35 30-35
Подъем температуры затора проводят со скоростью не более ГС в минуту.
Полноту осахаривания определяют по пробе с иодом. Когда при Добавлении раствора иода в затор появляется желтое пятно с коричневым оттенком, осахаривание прекращают.
По окончании осахаривания затор для коагуляции белков кипятят в течение 15-20 мин и передают в сборник 6, куда через барботер подают сжатый воздух для предупреждения оседания твердых частиц зерна. Затем затор поступает на двухстадийное осветление. По одной из схем грубое фильтрование проводят в центрифуге 7, после чего сусло направляют в сборник-коагулятор 8 для 30-минутного кипячения и осаждения белков. Первое сусло из сборника 8 пода сепаратор 14 для тонкого осветления и собирают в сборнике 13 ют в.
Отделенную при центрифугировании в сепараторе 7 гущу передают в сборник 15, где ее смешивают с водой, затем смесь перекачивают насосом в заторный аппарат 4 для экстрагирования оставщихся экстрактивных веществ и вновь направляют через сборник 6 в центрифугу. Квасную гущу после второй промывки передают в сборник 16, откуда отправляют ее на корм скоту.
Фильтрат, полученный после второго экстрагирования (второе сусло), через сборник-коагулятор 8 и сепаратор 14 направляют в сборник 13, где смешивают его с первым суслом и получают сусло с содержанием 9-12% сухих веществ. Это сусло перекачивают насосом в питающий сборник 9, откуда оно поступает в вакуум-аппарат 10 на сгущение. Сгущение выпариванием проводят под разрежением создаваемым вакуум-насосом 12, при температуре около 55°С до содержания сухих веществ 68—72%. Полученный горячий концентрат квасного сусла направляют в сборник 11, откуда разливают в банки, фляги, бочки, автомобильные и железнодорожные цистерны.
Производство ККС из сухих солодов
и несоложеного сырья
Используемое сырье. Концентрат квасного сусла по этому способу приготовляют из предварительно разваренных ржаной, кукурузно" муки и сухих солодов — ржаного ферментированного, ржаного не ферментированного или ячменного по схеме.
Закладку сырья производят в следующем процентном соотношении по экстрактивным веществам: солод ржаной ферментированный - 32 42%; солод пивоваренный ячменный или солод ржаной неферментированный - 12-15%; мука кукурузная (кукуруза дробленая) или мука ржаная (рожь дробленая) 43-56%, ячмень дробленый - 20-25%.
Ржаная и кукурузная мука могут применяться как раздельно, так и в смеси. Допускается применение ячменной муки или ячменя дробленого до 25 % к массе сырья.
Соотношение между солодом пивоваренным ячменным и солодом ржаным неферментированным, а также между приведенными вида ми несоложеного сырья может изменяться. В случае использования солода ржаного неферментированного допускается частичная замена солода ржаного ферментированного на несоложеные зернопродукты. При этом общее количество ржаного солода должно составлять не менее 32 % от экстрактивных веществ всего сырья.
При выработке концентрата квасного сусла по данной технологии расход зернопродуктов на 1 т ККС составляет примерно 1240-1280 кг-
Дробление зернопродуктов. Перед дроблением все сырье пропускают через магнитный сепаратор, взвешивают и размалывают. став помола (в%) должен быть следующим (табл. 29).
| |
|
|
Таблица 29
|
| Состав помола
|
Солод ржаной
|
Несоложеное сырье
(рожь, кукуруза,
ячмень)
|
| ферментированный
|
неферментирован-ный или ячменный
|
| Крупная крупка (сход с сита 2,2)
|
3-7
|
2-7
|
40-50
|
| Средняя крупка (сход с сита 1,0)
|
25-30
|
25-30
|
10-20
|
| Мелкая крупка (сход с сита 0,56)
|
30-35
|
20-26
|
25-30
|
| Мука (проход через сито 0,56)
|
30-40
|
40-50
|
10-15
|
Допускается изменение степени измельчения зернопродуктов в зависимости от качества используемого сырья и оборудования на конкретном предприятии.
Затирание. Несоложеное сырье не подготовлено к воздействию ферментов солода и ферментных препаратов, поэтому его подвергают тепловой обработке. Для этого разводную емкость заполняют водой температурой 15-25°С и при непрерывном перемешивании вносят в нее все расчетное количество несоложеного сырья (гидромодуль 1 : 4) и для разжижения — диастатический солод (ячменный или ржаной неферментированный) в количестве 10% от его закладки. Допускается полная или частичная замена солода ферментными препаратами.
Полученную суспензию несоложеного сырья перекачивают в предзаторный аппарат, при перемешивании нагревают со скоростью ГС в мин до температуры 70°С и выдерживают при этой температуре 20— 30 мин. Затем разжиженную массу для клейстеризации крахмала кипятят в течение 30 мин или прокачивают через аппарат непрерывного разваривания («Лагер») при давлении в нем пара 0,3-0,4 МПа. Разваренную массу направляют в заторный аппарат, куда предварительно подают разводку ржаного ферментированного солода и оставшейся части ячменного или ржаного неферментированного солода температурой 45-47°С и добавляют ферментные препараты в виде водных растворов.
Смывные воды из предзаторного аппарата и аппарата «Лагер» тоже направляют в заторный аппарат. Массу тщательно перемешивают, получая окончательное соотношение зернопродуктов и воды в заторном аппарате примерно 1:4.
Ниже приведен рекомендуемый режим затирания сырья с использованием в качестве несоложеного сырья ржаной обойной муки температура, °С 43 52 62 70 72 77 или до кипения
Продолжительность 60-70 30-60 60-90 30-40 30-40 До осахаривания паузы, мин
Разделение затора.
Разделение и осветление затора проводят в одну стадию - при использовании фильтрационных аппаратов или фильтрпрессов, либо в две стадии — при использовании центрифуги и фильтр-пресса, или центрифуги и сепаратора, или фильтрационного аппарата и сепаратора.
Дробину промывают до массовой доли сухих веществ в промывных водах 0,9%. Последние промывные воды следует использовать для приготовления следующего затора.
При разделении затора на фильтрационных аппаратах и фильтрпрессах для сокращения времени фильтрования и повышения степени использования экстрактивных веществ его рекомендуется доводить до кипения. При этом, в результате дополнительной экстракции крахмала и клейстеризации затор вновь приобретает синее окрашивание с иодом. Поэтому квасное сусло, после фильтрования необходимо подвергать доосахариванию ферментным препаратом при оптимальной для его действия температуре в отдельном сборнике или непосредственно в вакуум-выпарном аппарате.
Параметры режима разделения затора корректируют в зависимости от используемого оборудования, вида используемого сырья и его качественных показателей. Ниже приводим возможные варианты проведения процесса разделения и осветления затора.
Разделение затора в одну стадию в фильтрационном аппарате проводят следующим образом. Фильтрационный аппарат заполняют водой температурой 80—82°С до уровня выше сит на 2-3 см, после чего при непрерывном перемешивании в него перекачивают осахаренный затор, выдерживают в покое 30-60 мин и начинают его фильтрование.
Первую порцию мутного сусла возвращают в фильтрационный аппарат, а прозрачное сусло направляют в сборник осветленного сусла. Одновременно декантатором снимают верхний слой прозрачного сусла и также перекачивают в сборник осветленного сусла. Квасную дробину промывают водой температурой 75-80°С. Для этого после слива первого прозрачного сусла в фильтрационный аппарат набирают воду, включают рыхлитель и тщательно разрыхляют верхний слой осевшей дробины. Рыхлитель выключают, затор оставляют в покое на 30-60 мин и продолжают фильтрование с декантацией жидкости после отстоя дробины. Для более полного извлечения экстрактивных веществ процесс промывки квасной дробины повторяют 2 или 3 раза.
При фильтровании на фильтрпрессе в качестве основы фильтровальной перегородки используют ткани бельтинг, фильтр-диагональ или другой материал.
Осветление затора на фильтрпрессе проводят в соответствий инструкцией по его эксплуатации. После отделения первого сусла на фильтрпрессе квасную дробину рекомендуется промывать горячей водой температурой 70—100°С. Остатки сусла и промывных вод выдавливают сжатым воздухом или водой и выгружают квасную дробину в сборник.
При разделении затора в две стадии возможны следующие варианты работы: разделение в центрифуге, затем в рамном фильтрпрессе; в центрифуге —> сепараторе; фильтрационном аппарате -> сепараторе.
По варианту центрифуга -> рамный фильтр-пресс затор предварительно осветляют на центрифуге, что обеспечивает отделение крупных частиц квасной дробины. Не полностью осветленное сусло из центрифуги направляют в фильтрпресс, а квасную дробину из центрифуги собирают в сборник, промывают горячей водой температурой 70-90°С и центрифугируют повторно. Число промываний квасной дробины горячей водой определяют по выходу экстрактивных веществ.
При разделении затора на центрифуге и сепараторе центрифугу используют для отделения крупной фракции квасной дробины, а на сепараторе производят окончательное осветление квасного сусла.
В схеме фильтрационный аппарат -» сепаратор для разделения основной массы квасной дробины используют фильтрационный аппарат, а окончательное осветление сусла производят на сепараторе.
Кипячение сусла. При использовании сухих солодов с целью коагуляции белковых веществ, стабилизации химического состава и стерилизации сусла его рекомендуется кипятить в сусловарочном аппарате в течение 1—1,5 ч, после чего массовая доля сухих веществ в готовом сусле должна составлять не менее 10—14%.
Затем сусло подают в сепараторы или гидроциклонные аппараты, где отделяют белковые вещества, скоагулировавшиеся при кипячении. Белковый отстой, содержащий 80—85 % полноценного сусла, целесообразно добавлять в затор при кипячении несоложеной части, чтобы снизить потери экстракта.
Осветленное сусло поступает в сборник, из которого его направляют на сгущение выпариванием.
Концентрирование квасного сусла. Осветленное сусло с массовой Долей сухих веществ 10—14 % сгущают в плёночных трубчатых и пленочных роторных вакуум-аппаратах в две стадии. На первой стадии сусло выпаривают до массовой доли сухих веществ 43-47 % в Двух трубчатых пленочных аппаратах последовательно: в первом аппарате - до 22—26 %, во втором — до 43—47 %. Квасное сусло подают центробежным насосом в распределительное устройство пленочного трубчатого аппарата, расположенное в верхней части греющей камеры, и оно тонкой пленкой стекает вниз по поверхности труб, сгущаясь до заданной концентрации.
На второй стадии концентрирования квасное сусло сгущают в роторном пленочном аппарате с шарнирными лопатками. В этом аппарате сусло через патрубки питания поступает на лопасти ротора, где под действием центробежной силы сусло прижимается к внутренней поверхности корпуса, распределяясь по ней в виде тонкой пленки. По мере стекания раствора от одного ряда лопастей к другому сусло нагревается и влага испаряется.
На второй стадии для предотвращения подгорания температура сгущения сусла должна быть 50—60°С. Процесс прекращают после достижения массовой доли сухих веществ 68—76 % и проводят термообработку полученного концентрата квасного сусла. Готовое квасное сусло передается на термообработку.
Для концентрирования квасного сусла используют также выпарные аппараты различного типа (ВВ-25, ВВ-50, ВНИИКП-2 и др.) руководствуясь рекомендациями по их эксплуатации.
Термообработка концентрата квасного сусла. Термообработку полученного концентрированного квасного сусла, содержащего 68-76% сухих веществ проводят с целью накопления продуктов меланоидиновой реакции, придающих ему аромат, свойственный ржаному хлебу, и необходимую цветность. Одновременно при термообработке происходит стерилизация готового продукта и снижение его вязкости.
Термообработку концентрата квасного сусла проводят либо непосредственно в выпарных аппаратах (если это допускает их конструкция), либо в специальных аппаратах с мешалкой, рассчитанных на повышенное давление.
Для проведения термообработки ККС выдерживают при температуре 110— 112°С при давлении 0,14-0,16 МПа (но не выше допустимого для данного типа аппарата) и постоянном перемешивании не более 30 мин.
В конкретных условиях завода, в зависимости от типа используемых для термообработки аппаратов, давление, температура и продолжительность процесса могут уточняться. В этом случае требуемую продолжительность термообработки устанавливают в зависимости от достигнутой в реакторе температуры или давления и определяют по качественным показателям готового охлажденного ККС. Нагревание ККС до необходимой температуры производят паром, поступающим в паровую рубашку. Допускается нагревание ККС паром через барботер, при этом термообработку можно проводить без дополнительного перемешивания.
После окончания термообработки пар отключают, полученный ККС охлаждают в теплообменнике до температуры не более 5 взвешивают, и направляют в емкости для хранения или непосредственно на розлив.
Розлив, хранение и транспортирование ККС. Большие партии концентрата квасного сусла разливают в автомобильные и желез дорожные цистерны, которые перед заполнением моют, дезинфицируют, и отправляют потребителю. В стеклянные и металлические банки ККС разливают при температуре не ниже 50°С и укупоривают на автоматической машине. Укупоренные банки подают в автоклав, где при температуре 100°С проводят стерилизацию продукта в режиме, указанном в таблице 30.
Таблица 30
| Тара
|
Давление
в автоклаве,
МПа
|
Продолжительность, мин
|
| нагревания
|
выдержки
|
охлаждения
|
| Стеклянная банка: СКО 83-1. 1-82-500
|
0,15
|
15
|
10
|
15
|
| СКО 83-11. 1-82-1000
|
0,15
|
10
|
25
|
20
|
| Жестяная банка № 9
|
0,10
|
5
|
10
|
10
|
Гарантийный срок хранения концентрата квасного сусла после стерилизации при температуре 2-12°С 8 мес.
Приготовление концентрата кваса
Способы приготовления концентрата. Из концентрата квасного сусла приготовляют концентраты кваса, для чего его купажируют (смешивают) с сахарным сиропом, пищевыми кислотами, другими ингредиентами. Наибольшее распространение получили концентраты: кваса, Русского и Московского кваса.
Концентраты квасов готовят купажированием концентрата квасного сусла с необходимыми ингредиентами в закрытых эмалированных или из коррозиестойкой стали купажерах, снабженных мешалкой, паровой рубашкой или барботером для подогревания и перемешивания продукта.
В купажер при работающей мешалке вносят концентрат квасного сусла и воду до расчетного объема конечного продукта за вычетом объема сахарного сиропа, нагревают до 77—83°С и выдерживают 25— 35 мин для пастеризации. Затем добавляют сахарный сироп, молочную или лимонную кислоту, перемешивают 20—30 мин и в горячем виде передают на розлив.
Расход сырья для их приготовления указан в таблице 31.
Концентрация сухих веществ в концентратах квасов, приведенных в таблице, 70%.
Экстракт кваса для Русской окрошки готовят аналогично. При его приготовлении ККС купажируют с хреном, солью, петрушкой, дувеществ в готовом экстракте 65,5%.
Таблица 31
| Сырье, кг
|
Содержание
|
компонентов в 1 т готового концентрата
|
| кваса
|
Русского кваса
|
Московского кваса
|
| Сахар-песок
|
490,62
|
408,5
|
481,07
|
| ккс
|
290,46
|
395,9
|
281,0
|
| Мелочная кислота
|
91,55-а
|
|
72-а
|
| Лимонная кислота
|
|
21,22-а
|
|
Примечание: а — количество кислоты, вносимой с ККС.
Концентрат кваса можно готовить и другим способом. Сухой солод ржаной ферментированный и неферментированный измельчают. подают в заторный аппарат с половиной расчетного количества горячей воды температурой 54-56°С в соотношении 1:5, перемешивают в течение 10—15 мин, добавляют размолотый ячменный солод, на стаивают 1 ч. Вносят оставшуюся воду температурой 75-80°С, перемешивают 10-15 мин, настаивают 1 ч, затем охлаждают до 10—15°с и оставляют на 10-12 ч для отстаивания. После чего сусло декантируют в варочный аппарат с концентрацией сухих веществ 11%. В варочном аппарате сусло нагревают до 50-60°С, задают в него сахар, нагревают до кипения и кипятят 30 мин. К концу кипячения вносят колер и молочную кислоту. Уваривание концентрата кваса заканчивают при достижении массовой доли сухих веществ 57% и перекачивают его через ситчатый фильтр в сборник-мерник для хранения в течение не более 24 ч.
После декантации первого сусла квасную гущу заливают водой температурой 60-80°С, смесь перемешивают и оставляют в покое на 1 ч для настаивания и осветления. Полученное таким образом сусло второго съема концентрацией сухих веществ 8% декантируют и передают в варочный аппарат, где сгущают также до 57%.
Затем концентраты кваса, полученные из сусла первого и второго съемов, смешивают и передают на розлив с массовой долей сухих веществ 57% масс.
Технологическая схема приготовления кваса. На рис. 83 представлена технологическая схема кваса, приготовляемого из концентрата квасного сусла (ККС) методом брожения. По этой схеме концентрат квасного сусла, доставляемый на завод в автоцистернах 1, перекачивают насосом 2 через мерник 4 в сборник 3. При поступлении ККС в бочках 5 их устанавливают на поддон 6, ополаскивают горячей водой, и насосом 7 перекачивают концентрат через мерник 4 в сборник 3 для хранения.
Сахар жидкий, доставляемый в автоцистернах 11, насосом 2 через теплообменник 12 и мерник 14 подают в сборники 13, оснащенный бактерицидными лампами 15.
При поступлении на завод сахара-песка, затаренного в мешки 16, их снимают с автомашины на поддоны 18 и автопогрузчиком 19 перевозят на склад. По мере надобности сахар взвешивают на весах 19, загружают норией 20 в бункер 21 и подают в сироповарочный аппарат 22, куда предварительно налита вода. Готовый сахарный сироп насосом 24 перекачивают через фильтр-ловушку 23 и теплообменник 25 в сборник 17 для хранения.
Для приготовления квасного сусла насосом 2 ККС перекачивают через мерник 4 в сборник 8, где его разбавляют горячей водой до определенной концентрации и насосом 9 через теплообменник 10
направляют в бродильнокупажный аппарат 27. Сюда же из сборника 17 подают расчетное количество сахарного сиропа, из сборника 52— воду, а из аппарата 43—комбинированную дрожжевую и молочнокислую закваску.
Чистую культуру дрожжей готовят в аппаратах 41 и 40, а чистую культуру молочнокислых бактерий - в аппаратах 46 и 45. Из этих аппаратов чистые культуры дрожжей и молочнокислых бактерий перекачивают насосами 39 и 44 в аппарат 43 и далее — насосом 42 в упажнобродильный аппарат 27 на сбраживание.
Сброженное квасное сусло расхолаживают, выводят осевшие дрожжи в сборник 26, а в бродильнокупажный аппарат 27 вводят еще расчетное количество сахарного сиропа и колера. Колер готовят в Рис. 83. Аппаратурно-технологическая схема производства хлебного кваса

аппарате 38 и выгружают в сборник 37, где смешивают с расчетным количеством воды и насосом 36 подают в аппарат 27.
Купаж кваса тщательно перемешивают и направляют на розлив в предварительно вымытые на моечной установке 29 автоцистерны 28 или в изобарические фасовочные машины 31, на которых квас разливают в бочки. Порожние бочки доставляют на предприятие автомобилями 35, снимают с них и укладывают в штабели 34, а затем направляют на осмотр и мойку на машинах 33. Чистые бочки ополаскивают на шприцах 32 и падают на розлив.
Воду, используемую для технологических нужд, из промежуточного сборника 47 направляют в песочный фильтр 48, где она осветляется, и через сборник 49 насосом подается на керамические свечные фильтры 51 для тонкого фильтрования. Отфильтрованная вода поступает в сборник 52.
Данная схема предназначена для приготовления кваса из концентрата квасного сусла. При использовании квасных ржаных хлебцев или сухого кваса в схему дополнительно включают настойный аппарат с декантатором для снятия квасного сусла с осадка квасной гущи и сборник квасной гущи. Квасная гуща затем реализуется на корм скоту.
Приготовление сахарного сиропа

При получении хлебного кваса используют сахарный сироп концентрированный водный раствор сахара-песка, содержащий 60-65% сухих веществ. Готовят его в сироповарочных аппаратах.
Такой аппарат (рис. 84) представляет собой закрытый сосуд 4 цилиндрической формы со сферическим днищем 13 и плоской крышкой. Он изготовлен из листовой стали или меди, внутри покрыт полудой из пищевого олова. Второе сферическое днище 12 образует паровую рубашку, оборудованную штуцером 15 для отвода газов, манометром и предохранительным клапаном. Пар под давлением 0,3 МПа поступает в рубашку через штуцер 5, конденсат выводится через штуцер 11. Аппарат оснащен якорной мешалкой 7 с приводом 2. Вода подается в аппарат через штуцер 1, вторичный пар отводится через трубу 3. Готовый сироп спускают через штуцер 9, связанный с выпускным клапаном 8, штурвалом 14 и винтовым устройством 10 для управления клапаном 8. Аппарат установлен на трех опорах 6. Частот Рис. 84. Сироповарочный аппарат вращения мешалки 47 мин1
.
Сахарный сироп готовят горячим и холодным способами. При приготовлении сиропа горячим способом в сироповарочный аппаат наливают воду и нагревают ее до кипения. Затем постепенно при непрерывном нагревании и размешивании вводят сахар. После го растворения сироп доводят до кипения, снимают образующуюся на поверхности пену (при уваривании сиропа в открытых аппаратах). Удаление пены обязательно, так как при розливе напитков в бутылки пена ухудшает их вкус и вызывает опалесценцию. Вместе с пеной удаляются и содержащиеся в сахаре загрязнения. Сироп кипятят при перемешивании в течение 30 мин для уничтожения слизеобразующих бактерий, более длительное кипячение может привести к ухудшению качества. Кипячение прекращают по достижении массовой доли сухих веществ в сиропе 60-65%. Горячий сироп фильтруют в патронных или других фильтрах. В качестве фильтрующих материалов используют белую фланель, шинельное сукно, бельтинг, шелковое и капроновое полотно. Допускается использование мешочных фильтров. Часто используют сетчатые фильтры-ловушки. Затем сахарный сироп охлаждают до 10-20°С в пластинчатых или противоточных трубчатых теплообменниках. В сиропе определяют содержание сухих веществ и направляют на хранение в эмалированные или алюминиевые сборники, оборудованные измерительными приборами. Далее сироп используют для приготовления купажных сиропов.
Сахарный сироп можно готовить и холодным способом. Для этого сахар растворяют в воде при температуре 60—70°С, фильтруют и охлаждают.
Расход сахара-песка на приготовление 100 дм3
65%-ного сиропа следующий.
Масса 100 дм3
65%-ного сиропа при плотности 1,319 кг/дм3
равна 131,9кг. В нем содержится (131,9-65)- 00=85,73 кг сахара и (131,9-35)-^ -100=46,17 кг воды.
При влажности стандартного сахара-песка 0,14% расход его на 100 дм3
сиропа составит 85,73+(85,73-0,14)-100=85,85 кг и расход воды (с учетом 10% испарения при кипячении сиропа) 46,17+ +(46,17.10)-100=50,8кг.
Приготовление колера
Колер - это кристаллический сахар, карамелизованный при высокой температуре. Для приготовления колера используют колероварочный аппарат (рис. 85), который состоит из двух цилиндров 3 и 4, внутри корпуса расположен тигель 2. Обогревается аппарат электрическим нагревателем 1. Двумя полуосями 8 аппарат опирается на стойки каркаса. С помощью шестерней 6 и 7, рукоятки 5 его можно поворачивать. Массу в аппарате перемешивают переносной мешалкой. Над аппаратом установлен вытяжной зонт. Аппараты, снабженные крышками, оснащают вытяжной трубой.
| Рис. 85. Колероварочный аппарат
|
Вместимость аппарата должна быть в 4 раза больше объема расплавляемого в нем сахара.
Для приготовления колера в предварительно нагретый аппарат заливают 1-2% воды от массы загружаемого сахара и при работающей мешалке равномерно подают сахар. Смесь при перемешивании постепенно нагревают до 160-165°C, сахар начинает плавиться и приобретает темно-коричневый цвет. Затем нагревание прекращают и при перемешивании осторожно добавляют горячую воду температурой 75-90°С (около 8% к массе сахара), включают обогрев и при температуре 180-200°С выдерживают смесь до состояния, когда капля полученной массы, нанесенная на стекло, не будет растекаться. Готовый колер разбавляют водой и перегружают в сборник, где при работающей мешалке добавляют воду температурой 60-65°С для получения концентрации сухих веществ в колере 68-72%.
При уваривании колера нельзя допускать его обугливания, он должен полностью растворяться в воде. Выход колера составляет 105% к массе сахара. Потери сахара при приготовлении колера составляют 28-30%.
Колероварочные аппараты устанавливают в отдельном помещении или в изолированном месте сироповарочного отделения. При приготовлении колера обслуживающий персонал должен работать в фартуках, рукавицах и очках. Продолжительность одного цикла при готовления колера 3-4 ч
Приготовление смешанной закваски дрожжей и молочнокислых бактерий
Для приготовления заквасок используют дрожжи рас М, 131-К, С-2, хлебопекарные и винные дрожжи, молочнокислые бактерии рас 11 и 13. Закваску готовят непосредственно на заводе по схеме, приведенной на рис. 86.
В разводке дрожжей чистой культуры для закваски должно содержаться дрожжей не менее 40 млн. клеток в 1 см3
, кислотность разводки молочнокислых бактерий 6,8-7 см3
раствора гидроксила на концентрацией 1 моль/дм3
на 100 см3
среды.

Рис. 86. Схема разведения чистых культур дрожжей и молочнокислых бактерий
Поддержание чистых культур, их разведение и приготовление комбинированной закваски осуществляет микробиолог лаборатории предприятия.
Сохраняют чистые культуры дрожжей и молочнокислых бактерий в лаборатории. Дрожжи хранят в виде колоний на скошенном суслоагаре при температуре 6-7°С и пересевают 1-2 раза в месяц. Чистую культуру бактерий поддерживают на сусле с добавлением в него до 10 г сахара на 100 см3
сусла. После выдерживания культуры в термостате в течение 2 сут при 20°С в нее добавляют немного стерильного мела и ежедневно встряхивают для лучшей нейтрализации. Через каждые 10 дней культуру пересевают. Приготовление разводки дрожжей и молочнокислых бактерий представляет собой несколько пересевов с увеличением квасного сусла и числа микроорганизмов в лаборатории, затем в отделении чистых культур и в производстве (см. рис. 86).
Разводку готовят двумя способами: раздельным выращивание чистых культур дрожжей и молочнокислых бактерий (способ А наиболее предпочтительный) и смешанное выращивание культур микроорганизмов (способ Б). На схеме даны объемы пересевов для завода производительностью 10 тыс. дал кваса в сутки. При большей производительности заводов надо увеличивать или уменьшать объемы разводки, начиная со II лабораторной стадии. Лабораторные стадии I—III — общие для обоих способов. Их осуществляет микробиолог в лаборатории. Последующие стадии выполняет уже аппаратчик бродильного отделения в аппаратах отделения чистых культур.
В лаборатории работают на стерильном сусле с массовой долей сухих веществ 8%. Для этого стерилизацию сусла проводят в автоклаве при 0,5 МПа в течение 15-20 мин. В отделении чистой культуры применяют кипяченое в течение 10-15 мин сусло, температура которого не выше 30°С. Для получения смешанной закваски используют производственное сусло.
Разведение чистой культуры дрожжей в лаборатории. Для проведения работы в лаборатории, в расчете на производительность 10 тыс. дал кваса в сутки, необходимо иметь: пробирки с 10 см3
стерильного сусла; колбу вместимостью 0,5 дм3
с 250 см3
стерильного сусла; колбу вместимостью 3 дм3
с 1,75 дм3
стерильного сусла. При большей производительности завода объемы разводки дрожжей и молочнокислых бактерий в лаборатории (на стадии III) могут достигать 10 или 20 дм3
. В этом случае необходимо для стерилизации сусла и приготовления разводки использовать несколько стеклянных колб из термоустойчивого стекла, их число должно обеспечить суммарную вместимость (10 или 20 дм3
).
Оптимальная температура выращивания дрожжей на всех стадиях 25—30°С, а продолжительность выращивания на каждой лабораторной стадии 24 ч.
Из пробирки с исходной культурой дрожжей на косом агаре берут полную петлю посевного материала, засевают в пробирку с 10 см3
сусла (стадия I) и 24 ч выращивают в термостате.
Дрожжевую разводку из пробирки полностью переносят в колбу с 250 см3
сусла (стадия II), перемешивают легкими вращательными движениями, не допуская смачивания пробки, выдерживают при оптимальной температуре в течение 24 ч.
Затем содержание колбы полностью переносят в колбу вместимостью 3 дм3
с 1,75 дм3
сусла (стадия III), перемешивают и также выращивают в течение 24 ч.
Разводку чистой культуры дрожжей, выращенной в колбе (стадии III), переносят в отделение чистых культур. При этом колба должна быть покрыта стерильным бумажным колпачком и плотно завязана шпагатом. Во избежание механических повреждений колбу ставят в деревянный ящик с двумя ручками и покрывают полиэтиленовой пленкой.
Разведение чистой культуры молочнокислых бактерий в лаборатории. Для проведения работы в лаборатории необходимо иметь: две колбы вместимостью по 0,5 дм3
с 250 см3
стерильного сусла в каждой: колбу вместимостью 3 дм3
с 1,5 дм3
стерильного сусла и колбу на 5 ДМ3
с 2 дм3
стерильного сусла. Оптимальная температура выращивания молочнокислых бактерий 28—30°С.
Содержимое трех ампул молочнокислых бактерий расы 11 переносят в одну из колб с 250 см3
сусла, а содержимое трех ампул бактерий расы 13 - в другую колбу с 250 см3
сусла (стадия I). Культуру выращивают в течение 24 ч.
Содержимое двух колб (стадия I) полностью переносят в колбу с 1 5 дм3
сусла (стадия II), перемешивают и выращивают в течение 24 ч. Затем выросшую в колбе разводку бактерий в колбе (стадия II) полностью переносят в колбу с 2 дм3
сусла (стадия III), перемешивают и выращивают 24 ч и выросшую разводку переносят с соблюдением правил стерильности в отделение чистых культур.
Разведение чистых культур микроорганизмов в отделении чистых культур по способу А. Особенностью способа А является раздельное выращивание бактерий и дрожжей до стадии смешанной закваски (стадия VI) Продолжительность выращивания дрожжей (на стадии IV и V) различна, а именно 24 ч и 48 ч, соответственно. Поэтому для ежедневной передачи культур дрожжей и бактерий в производство необходимо выращивание бактерий (стадия V) вести в двух равных по объему емкостях, в которых процесс выращивания сдвинут по фазе на 24 ч.
Разведение чистых культур дрожжей. Выросшую в лаборатории разводку дрожжей (2 дм3
) при соблюдении правил стерильности разводят в 10 раз (до 20 дм3
). Дрожжи выращивают течение 24 ч до концентрации 40 млн. клеток в 1 см3
. Затем 18 дм3
передают в емкость для приготовления закваски. В последующих циклах приготовления дрожжевой разводки в этой емкости используют отъемнодоливной способ: к оставшимся 2 дм3
добавляют 18 дм3
сусла и проводят выращивание в течение 24 ч. Отбор дрожжей, долив сусла и выращивание можно повторять не более 15 раз, после чего необходимо начинать Разводку из новой пробирки.
Разведение чистой культуры молочнокислых бактерий. К 4 дм3
выросшей в лаборатории разводке молочнокислых бактерий доливают 36 дм3
сусла (разведение в 10 раз) и выращивают бактерии 48 ч до накопления кислотности 6,8-7 см3
1 н раствора гидроксида натрия на 100 см3
среды.
На стадии V по способу А используют две емкости для разводки Молочнокислых бактерий, цикл в которых сдвинут на 24 ч. Вначале в одну из емкостей передают 40 дм3
разводки (стадия IV), разбавляют суслом в 10 раз (объем 400 дм3
). Через 24 ч выращивания отнимают 40° Дм3
и передают в качестве посевного материала во вторую емкость, доливают сусло в обе емкости до объема 400 дм3
и содержимое первой емкости передают через 24 ч, а второй через 48 ч. Далее оставляют 40 дм3
готовой разводки, доливают суслом до 400 дмз
и выращивают культуру 48 ч, чередуя, таким образом, до 7 циклов.
По способу Б на стадии V получают предварительно смешанную разводку.
Приготовление предварительно смешанной разводки. В емкость для предварительно смешанной разводки передают 40 дм3
разводки чистой культуры бактерий, доливают суслом до 580 дм3
и выращивают в течение 24 ч. Затем сюда же вносят 20 дм3
разводки чистой культуры дрожжей и продолжают совместное выращивание еще 24 ч до накопления кислотности 6,8-7 см3
. Общая продолжительность выращивания культуры 48 ч.
Примерно 90% разводки направляют в цех в аппарат для приготовления смешанной закваски, а оставшиеся 10% (60 дм3
) вновь заливают суслом до 600 дм3
. Через 48 ч свежую разводку используют в производстве. Такой отъемно-доливной процесс можно вести не более 7 циклов (по 48 ч каждый), после чего разводку заменяют свежими культурами дрожжей и молочнокислых бактерий (стадии I—III).
При совместном культивировании дрожжей и молочнокислых бактерий следят, чтобы кислотность не превышала 6,8-7 см3
. Все операции проводят при 25—30°С. Если потребность в разводке снижается, то емкость, в которой проводится отъемно-доливной процесс, охлаждают до 6°С.
Приготовление смешанной закваски. В емкость для смешанной закваски передают: по способу А разводку молочнокислых бактерий 360 дм3
и дрожжей 18 дм3
, а по способу Б 540 дм3
предварительно смешанной разводки. Разбавляют в 10 раз по способу А и в 7 раз по способу Б производственным суслом с добавлением сахарного сиропа (25% от нормы на квас). Общий объем будет равен 4000 дм3
.
Через 6 ч закваску направляют в аппарат для брожения, где ее объем составляет 4% от общего объема сбраживаемого сусла.
Так как длительность получения смешанной закваски (6 ч) и цикла брожения в аппаратах (12-18 ч) меньше времени приготовления предварительно смешанной закваски (48 ч), то до окончания ее приготовления целесообразно проводить отъемно-доливной процесс непосредственно в аппарате для смешанной закваски. Для этого в нем оставляют половину разводки и доливают ее до полного объема суслом с сахарным сиропом. Половину смешанной закваски передают в бродильные аппараты, где она составляет 2% их объема. Через 8-10 ч бродильный аппарат доливают до полной вместимости и ведут брожение до накопления необходимой кислотности.
Через каждые 2 цикла содержимое аппарата смешанной закваски переводят в бродильные аппараты, где ее количество составляет 4% объема
В аппарат для смешанной закваски после его освобождения передают готовую предварительно смешанную разводку из отделения чистых культур, и цикл приготовления закваски повторяют вновь.
На небольших предприятиях, где нет аппаратов для разведения истых культур, можно использовать стеклянные бутыли вместимотью по 20 дм3
. Для разведения дрожжей и молочнокислых бактерий. Необходимо иметь два небольших сосуда, причем вместимость сосуда для дрожжей должна быть меньше, чем для бактерий, в 2 раза.
На высокопроизводительном предприятии необходимо иметь два аппарата для разведения чистых культур: один - для разведения дрожжей, другой - для молочнокислых бактерий. Перед началом работы все емкости аппаратов моют горячей водой со щетками, и стерилизуют потоком пара по 1 ч в сут в течение трех дней. По окончании стерилизации в стерилизаторе и аппарате брожения держат приоткрытыми вентили с подводом стерильного воздуха.
После охлаждения стерилизатор наполняют горячим суслом и стерилизуют его в течение 1 ч, периодически перемешивая стерильным сжатым воздухом. Затем сусло охлаждают до 25-30°С и передают в один из цилиндров брожения, туда же из колбы Карлсберга вводят 8-12 дм3
чистой культуры микроорганизмов.
Если у аппарата два цилиндра брожения, то в одном размножают смесь бактерий рас 11 и 13, а в другом - квасные дрожжи. Если три цилиндра, то каждый из них засевают одной культурой.
Разведение сухих квасных дрожжей. Для производства 1000 дал кваса готовят сусло с массовой долей сухих веществ 8%, кипятят 10 мин и охлаждают в закрытом сосуде до 26-30°С.
В бутыль вместимостью 20 дм3
, тщательно вымытую 2-3%-ным раствором карбоната натрия, вносят 100 г сухих дрожжей и 5дм3
подготовленного сусла. Бутыль закрывают ватной пробкой, содержимое перемешивают 10—20 мин и оставляют на 18 ч для забраживания, затем заливают еще 15 дм3
сусла, выдерживают 8-12 ч, отбирают 15 дм3
забродившего сусла и предают его в чанок с крышкой вместимостью 100 дм3
. В бутыль снова доливают 15 дм3
сусла и оставляют на 12-16 ч до начала интенсивного забраживания. Процесс повторяют 5-6 раз. На всех стадиях долив осуществляют только в стадии активного брожения.
Закваску в чинке доливают 85 дм3
квасного сусла, доведенного сахарным сиропом до концентрации 6%, и оставляют на 18-20 ч до интенсивного брожения, после чего передают в производственный аппарат вместимостью 1000 дал и сбраживают в течение 12 ч. После освообождения чанок моют, дезинфицируют и используют для следующей разводки дрожжей.
Разведение молочнокислых бактерий из высушенных культур проводят в бутыли вместимостью 20 дм3
, куда вносят 100 г бактерий, 5 дм3
прокипяченого и охлажденного сусла, закрывают стерильной ватной пробкой и оставляют на 24 ч. После забраживания доливают 15 дм з сусла (прокипяченого и охлажденного) и оставляют на 24 ч.
Затем разводку бактерий передают в производственный аппарат. заполненный суслом из расчета 5-6 дм3
на 1000 дал. Одновременно туда подают культуру дрожжей, приготовленную, как описано выше.
Бутыль на 20 дм3
после каждого отъема закваски доливают прокипяченным 8%-ным суслом до первоначального объема. Через 6-7 сут разводку обновляют.
Разведение прессованных хлебопекарных дрожжей. Дрожжи из расчета 15 г на 10 дал сусла помещают в емкость, смешивая с водой в соотношении 2:1, добавляют 40%-ную молочную кислоту из расчета 40 см3
на 1 кг прессованных дрожжей и устанавливают рН дрожжевой разводки 2,7-2,9. Суспензию выдерживают 3 ч, добавляют пятикратный объем сусла, пастеризованного или прокипяченого и охлажденного до 20-30°С концентрацией 8% СВ. После этого дрожжевую суспензию перемешивают с суслом, выдерживают для разбраживания 2-3 ч при температуре 20-30°С и задают в бродильные емкости.
Для приготовления сусла ККС разводят в воде до концентрации СВ 3-3,2% или используют неупаренное квасное сусло такой же концентрации, добавляют сахарный сироп до 8 % СВ.
Способы приготовления кваса
Приготовление квасного сусла
На заводах безалкогольных напитков квасное сусло получают разбавлением концентрата квасного сусла в воде или настойным способом из квасных ржаных хлебцев или из сухого кваса.
Приготовление сусла настойным способом состоит в экстрагировании горячей водой растворимых веществ из квасных хлебцев или сухого кваса и отделении нерастворившейся массы (квасной гущи). Квасные хлебцы измельчают на дробилках и настаивают в аппаратах.
Настойный аппарат (рис. 87) представляет собой цилиндрический сосуд 1 с крышкой 2. Внутри аппарат оборудован змеевиком 5, лопастной мешалкой 4 и декантатором 6 для съема сусла с квасной гущи. Вместо змеевика или барботера предпочтительнее использовать паровую рубашку.
Настойный аппарат заполняют горячей водой (80-90°С) в таком объеме, чтобы получить первое сусло в количестве 1/3 от заданного объема изготовляемого кваса, и при перемешиваний по-Рис. 87. Настойный аппарат дают всю массу измельченных квасных бдев или сухого кваса, которая должна расходоваться по рецептуре на объем готового кваса. Смесь перемешивают около 30 мин и затем настаивают 1,5—2 ч. Отстоявшееся первое квасное сусло через декантатор перекачивают в бродильно-купажный аппарат, охлаждая его перед этим в теплообменнике до 25—30° С.
Оставшуюся в аппарате гущу заливают горячей водой (60—70° С) в количестве, равном объему первого сусла, 20 мин перемешивают, 1,5 ч настаивают и декантат пропускают через теплообменник, охлаждая полученное второе сусло до 25-30°С. Второе сусло, соединяют с первым суслом.
Для третьего залива воды берут столько, чтобы было достаточно для доведения общего объема квасного сусла до заданного. Смесь воды и гущи перемешивают 20 мин и настаивают 1 ч. Охлажденное до 25-30°С третье сусло присоединяют к первым двум.
Содержание сухих веществ в первом сусле 1,8—2%, во втором сусле 1,2-1,3, в третьем сусле 0,5-0,7%. Температура поступающего на брожение квасного сусла 23—27° С, содержание сухих веществ — не менее 1,5% масс.
Для получения сусла для окрошечного кваса ржаную муку запаривают кипящей водой в соотношении 1:10, перемешивают, охлаждают до 55°С, добавляют измельченные ячменный и ржаной солода в нагретую до 70—73°С воду. Далее настаивают, как описано выше. Массовая доля сухих веществ в сусле, поступающем на брожение, 1,3%. Выход общего сусла должен быть равен объему приготовляемого кваса.
При приготовлении сусла из концентрата квасного сусла сначала в бродильно-купажный аппарат наливают воду температурой 30-35°С и в ней растворяют концентрат квасного сусла до массовой доли сухих веществ 1,4% (для хлебного кваса) и до 1% для окрошечного кваса. ККС подают в бродильно-купажный аппарат по частям: 2/3 расходуют на получение квасного сусла, а 1/3 вносят при купажировании, что улучшает аромат.
Для приготовления сусла, предназначенного для сбраживания в ЦКБА, используют разведенный пастеризованный концентрат квасного сусла (ККС) или обогащенный концентрат квасного сусла (КОКС), а затем сахарный сироп, комбинированную дрожжевую и молочнокислую закваску или подмоложенные дрожжи.
Перед разведением ККС или КОКС пастеризуют, подвергая тепловой обработке при 75-80°С в течение 30-35 мин. Можно пастеризовать в указанном режиме и разведенный концентрат квасного сусла. После пастеризации его охлаждают до 26-30°С и перекачивают в ЦКБА.
На брожение рекомендуется задавать 70% от общего количества ККС или КОКС. Оставшиеся 30% используют при купажировании кваса.
Допускается подавать на брожение полностью все расчетное количество ККС или КОКС без последующего купажирования кваса с концентратом.
Разведенный концентрат квасного сусла с содержанием сухих веществ 1,4% (при закладке 70% от расчетного количества концентра та), либо 2,2% (при использовании полностью всего количестве концентрата) перекачивают в ЦКБА.
Приготовление кваса с использованием ячменного солода возможно как на предприятиях, производящих квас, так и на пивоваренных заводах, с заменой половины ККС неохмеленным пивным суслом. В случае недостаточной цветности кваса часть сахара заменяют колером.
Сбраживание квасного сусла
Брожение квасного сусла проводят в бродильно-купажных или бродильных аппаратах.
Бродилъно-купажный аппарат (рис. 88) представляет собой цилиндрический сосуд 7 с коническим днищем, сферической крышкой, закрытой герметично люком 12, и опорами 2. Для регулирования температуры сусла аппарат снабжен рубашкой 6. В нижней конической части установлен дрожжеотделитель 3 с задвижкой 1. Для перемешивания сусла при брожении и купажировании имеется пропеллерная мешалка 4.
Аппарат снабжен также штуцерами 8 и 13 для отвода воздуха из аппарата и рубашки, штуцерами 16 и 5 для ввода и отвода охлаждающего рассола, штуцером 9 для подачи сусла и штуцером 14 для ввода сиропа, термометром 10, маномет-17 ром 15, компенсатором 17, пробным краником 18, сливным штуцером 19 и штуцером 11 для ввода датчика автоматического определения уровня жидкости. Корпус аппарата покрыт слоем теплоизоляционного материала.
Аппарат выпускают вместимостью 100 и 500 дал и производительностью соответственно 150 и 700 дал/сут.
Бродильный аппарат (рис. 89) представляет собой цилиндрический резервуар 1 герметически закрывающейся крышкой. Он оборудован охлаждающим змеевиком 2, декантатором 3 для съема сброженного сусла с дрожжевого осадка и штуцером 4 для слива промывной воды с трубой для отвода С02
.
Вначале в бродилъно-купажный или брокупажный аппарат подают квасное сусло и 1/4 сахара (в виде сахарного сиропа) его общего количества, предусмотренного рецептурой. Содержание сухих веществ в сусле для небного кваса должно быть не менее 2,5%, а для окрошечного кваса - 1,6%. После этого в сусло носят комбинированную закваску из чистых культур дрожжей и молочнокислых бактерий (2-4% к объему сусла) или разводку, полученную из высушенных, технически чистых культур (0,8% дрожжи и 0,06% молочнокислые бактерии к объему сусла). Брожение проводят при температуре 25-28° С до понижения содержания сухих веществ в сусле на 1% масс, и достижения кислотности не ниже 2 см3
раствора щелочи концентрацией 1 моль/дм3
на 100 см3
кваса. В процессе брожения регулируют температуру, не допуская ее повышения.
Для более полного осахаривания углеводов и, вследствие этого, для ускорения брожения, после ввода сахарного сиропа, добавляют еще молотый ячменный солод (5 г на 1 дм3
сусла). Солод должен иметь низкую продолжительность осахаривания — не более 10 мин.
Для повышения стойкости сброженное сусло (квас) по окончании брожения тщательно отделяют от дрожжей, для чего его охлаждают в бродильно-купажном аппарате до 5—7°С. При этом дрожжи плотным слоем осаждаются в дрожжеотделитель, а квас осторожно, не затрагивая дрожжевого осадка, перекачивают в купажный аппарат или купажируют непосредственно в бродильно-купажном аппарате.
В бродильном аппарате купажировать квас не разрешается.
При брожении квасного сусла часть питательных веществ расходуется на рост дрожжевых клеток и молочнокислых бактерий, а основная масса под действием ферментов преобразуется в новые продукты: сахара, этиловый спирт, органические кислоты, в том числе молочную кислоту, диоксид углерода и др. Пониженная температура сусла способствует растворению С02
и насыщению им кваса.
При работе с недостаточном накоплением в квасе молочной кислоты в готовое сусло, еще до внесения в него сахара, допускается вводить 4% (по объему) комбинированной закваски или разводки высушенных культур (0,5% дрожжей и 1,5% молочнокислых бактерий) и вставлять продукт на 6 ч для накопления молочной кислоты при 30-32 С. Затем вносят 1/4 сахара от рецептуры (в виде сахарного сиропа) и проводят брожение при 30-32°С до снижения содержания СВ на 1% масс. При недостаточном накоплении алкоголя в предыдущих циклах брожения с использованием этого сырья дрожжи в сусло вносят на сколько часов раньше, чем молочнокислые бактерии. Брожение проводят при 28-30°С до понижения содержания СВ на 1% масс.

При производстве хлебного кваса, кроме бродильно-купажных и бродильных аппаратов, используют цилиндро-контеские бродильные аппараты ЦКБА (рис. 90). ЦКБА - это более совершенный аппарат, представляющий собой цилиндрический сосуд 1 со сферической крышкой снабженный рубашками: 2 на цилиндрической и 4 на конической частях корпуса для охлаждения бродящего сусла и кваса. В нижней части аппарата смонтированы дрожжеотделитель и горизонтально расположенная мешалка. Аппарат имеет трубопровод 3 для удаления диоксида углерода и подачи моющего раствора и камеру 5 для ввода комбинированной закваски и вывода готового кваса. Аппарат устанавливается на кольцевых опорах 6.
Аппараты выпускаются с рабочей вместимостью 9,4 и 25 м3
. Готовый разведенный концентрации квасного сусла, имеющий температуру 26-З0С, перекачивают подготовленный ЦКБА при открытом газовом вентиле 3. С целью ускорения брожения, подмоложенные хлебопекарные дрожжи или комбинированную дрожжевую и молочнокислую закваску задают во вторую порцию разведенного концентрата квасного сусла также при температуре 26—30°С. Для предотвращения пенообразования и упрощения эксплуатации заполнение ЦКБА квасным суслом производят снизу. Затем при перемешивании центробежным насосом «на себя» в ЦКБА вносят 25% предусмотренного рецептурой сахара в виде с фильтрованного сиропа концентрацией сухих веществ 60-65%.
После тщательного перемешивания отбирают пробу для определения перед началом брожения физико-химических показателе сусла - массовой доли сухих веществ, температуры — и закрывают воздушный вентиль. Давление в ЦКБА при брожении регулируют шпунтаппаратом, оно не должно превышать 0,065 МПа.
С целью сокращения сроков занятости и увеличения оборачиемости ЦКБА рекомендуется сусло готовить в отдельно стоящих сборниках, где его тщательно перемешивают и доводят до требуемой плотности.
Брожение проводят при температуре 26—30°С до снижения массоой доли сухих веществ в сусле на 1 г в 100 г сброженного сусла и достижения кислотности не ниже 2 см3
раствора гидроксида натрия концентрацией 1 моль/дм3
, расходуемого на титрование 100 см3
сусла. В процессе брожения необходимо контролировать температуру квасного сусла, не допуская ее повышения.
Брожение ведут при периодическом перемешивании центробежным насосом (через каждые 2 ч) в течение 30 мин.
Купажирование и розлив кваса
Купажирование сброженного квасного сусла. В сброженное квасное сусло, находящееся в бродилъно-купажном или купажном аппарате, добавляют оставшиеся 3/4 части сахара и колер. Если сусло было приготовлено с использованием 70% ККС от рецептуры, то добавляют оставшиеся 30%. Полученную смесь, называемую купажом, тщательно перемешивают, продувая через нее диоксид углерода, проверяют соответствие качества кваса требованиям стандарта и направляют его на розлив.
Если квасное сусло сбраживают в бродильных аппаратах, то квас купажируют в купажном аппарате, представляющем собой емкость, покрытую эмалью, или выполненную из коррозиестойкой стали, имеющую теплоизоляцию и снабженную мешалкой, барботером для перемешивания купажа диоксидом углерода.
При купажировании кваса в ЦКБА после окончания брожения, которое определяют по снижению содержания сухих веществ и нарастанию кислотности в квасе, к охлаждению подключают обе рубашки ЦКБА и пластинчатый холодильник (если им доукомплектована установка), через который насосом перекачивают сброженный квас. При этом в нижней конической части ЦКБА осаждаются Дрожжи. Дрожжевой осадок выпускают снизу, открывая при этом воздушный вентиль. Окончание слива дрожжей определяют визуально через смотровое стекло или сливную воронку. Квас охлаждают до температуры 5-7°С.
После слива дрожжей квас купажируют, добавляя оставшиеся 75% расчетного количества сахара в виде сиропа и 30 % ККС или КОКС. После этого содержимое ЦКБА тщательно перемешивают насосом.
При снижении потребительского спроса, чтобы предотвратить возможность переброда кваса и, как вследствие этого, снижения содержания сухих веществ в нем, рекомендуется квас охлаждать до 4—6°С.
Количество сахарного сиропа (в дм3
), добавляемого в квас, вычисляют по формуле
Х = [К(а-а1
)]/а2
,
где К - объем купажируемого кваса, дм3
; а, а,, а2
, - содержание сухих веществ в 1 дм3
соответственно готового кваса, исходного квасного сусла, сахарного сиропа, г.
Пример. Необходимо вычислить, сколько следует подать в бродильно-купажный аппарат 65%-ного сахарного сиропа (а2
) на 2000 дм3
хлебного кваса, если в сброженном квасном сусле содержание сухих веществ составляет 1,4% (а,), а после купажирования в готовом квасе их должно быть не менее 5,8% (а).
По показаниям сахаромера находим содержание сухих веществ в 1 дм3
кваса, г: а=59,22; а,=14,05; а2
=855,61. Подставляя эти данные в уравнение, получим

х=[2000.(59,22-14,05)]/855,61=105,6.
Следовательно, в сусло следует внести 105,6 дм3
сахарного сиропа.
В хлебный квас, приготовляемый для рабочих горячих цехов, при купажировании вносят в виде водных растворов в соответствии с рецептурой аскорбиновую кислоту, хлорид кальция, фосфат калия, поваренную соль (хлорид натрия) и др.
Розлив кваса в бочки и автотермоцистерны. Готовый квас охлаждают до 12°С и разливают на специальной станции с несколькими штуцерами. Емкости обычно наполняют открытым способом через резиновые шланги, что приводит к потере диоксида углерода и кваса. Поэтому квас следует разливать в изобарических условиях (па давлением) по схеме, изображенной на рис. 91.
Для этого автотермоцистерну 2 герметизируют и при розливе соединяют с верхней частью бродильно-купажного аппарата 1. Через штуцер 3 выравнивают давление и разливают квас под избыточным давлением. Автотермоцистерна 2 снабжена предохранительным клапаном 4, смотровым стаканом 5 для определения полноты налива цистерны и манометром 6.
Квас, сброженный в ЦКБА, разливают после проверки лабораторией соответствия качественных показтелей установленным требования При розливе открывают воздушный вентиль, клапан и вентили на разливочной коммуникации и пере чивают квас в сборники-мерники установленные на разливочной станции или непосредственно в подготовленные автотермоцистерны. Температура кваса при розливе не должна превышать 12°С. В торговую сеть автотермоцистерны отпускают герметично укупоряными с опломбированными торговой сетью люками. Потери экстрактивных веществ. При приготовлении квасного сусла сахарного сиропа, сбраживании сусла, купажировании и розливе кваса, при перекачивании продуктов часть экстрактивных веществ теряются.
Например, когда квасное сусло приготовляют настойным способом, то с квасной гущей уходит 20-24% экстрактивных веществ, поэтому более экономично готовить его из концентрата. При уваривании сахарного сиропа до 1% сахара теряется (со снимаемой пеной или при перекачивании в емкости). В бродильно-купажном аппарате потери сусла с дрожжами значительно меньше, чем в бродильном аппарате. Около 0,3% сусла теряется на смачивание стенок емкостей и трубопроводов. При розливе открытым способом теряют до 2%, а изобарическим способом - около 0,8% кваса.
В готовом квасе молочнокислое и спиртовое брожение не приостанавливаются, так как в нем содержатся небольшие количества дрожжей, молочнокислых бактерий и углеводы. Поэтому при хранении в нем происходит снижение содержания СВ. В 100 см3
готового продукта содержание сухих веществ составляет 5,7 г, что по показаниям сахаромера соответствует 5,6% (с учетом искажения результатов из-за содержания спирта).
Ниже представлено содержание алкоголя и сухих веществ в готовом квасе (хлебном и для окрошки), выпускаемом с предприятия (табл. 32) и находящемся в торговой сети (табл. 33).
Таблица 32
| Содержание спирта, % масс.
|
Содержание сухих веществ в квасе, % масс.
|
| хлебном
|
для окрошки
|
| 0,4
|
5,8
|
3,2
|
| 0,5
|
5,6
|
3,0
|
| 0,6
|
5,4
|
-
|
| |
Таблица 33
|
| Содержание спирта, % масс.
|
Содержание сухих веществ в квасе, % масс.
|
| хлебном
|
для окрошки
|
| 0,4
|
5,8
|
3,2
|
| 0,5
|
5,6
|
3,0
|
| 0,6
|
5,4
|
2,8
|
| 0,7
|
5,2
|
2,6
|
| 0,8
|
5,0
|
2,4
|
| 0,9
|
4,8
|
2,2
|
| 1,0
|
4,6
|
2,0
|
| 1,1
|
4,4
|
1,8
|
| 1,2
|
4,2
|
1,6
|
Производство кваса бутылочного розлива и напитков из хлебного сырья
В бутылки разливают как квас, полученный без проведения б жения, так и квасы брожения после предварительной обработки.
Без проведения брожения изготовляют квасы Московский, Русский, Ароматный, Мятный, Медовый и квас с хреном. Наибольшее распространение получили Русский и Московский квасы, которые отличаются только рецептурным соотношением компонентов и содержанием сухих веществ. Эти квасы получают как из концентрата квасного сусла, так и из концентратов Русского и Московского квасов. Второй способ предпочтительней, так как он проще, а продукция разных партий однороднее по качеству.
Приготовление купаного сиропа, например, для Русского кваса из ККС, состоит из разведения последнего холодной водой в соотношении 1:2 (квасное сусло), отстаивания в течение 10-12 ч, декантации и фильтрования, приготовления 50%-ного раствора лимонной кислоты (молочной кислоты для Московского кваса). Затем осветленное квасное сусло смешивают последовательно с сахарным сиропом и раствором кислоты, фильтруют и охлаждают купаный сироп до 10°С.
Для приготовления кваса Медового купаж готовят как холодным, так и горячим способами. При холодном купажируют сахарный сироп, концентрат квасного сусла, мед, раствор лимонной кислоты. При горячем в сироповарочный аппарат добавляют воду, сахар, кипятят сироп 30 мин, вносят концентрат квасного сусла и мед, передают и охлаждают в сборнике до 10°С. Купаж фильтруют и подают на розлив.
Для приготовления кваса Мятного и кваса с хреном ККС разбавляют с водой в соотношении соответственно 1:0,9 и 1:0,7. Для Мятного кваса разбавленный ККС купажируют с сахарным сиропом, лимонной кислотой, разведенным медом и настоем мяты перечной. А для кваса с хреном его купажируют с сахарным сиропом, лимонной кислотой и тертым хреном. Кулажам дают отстояться 2-3 ч для удаления пузырьков воздуха.
В купажном сиропе определяют содержание сухих веществ и вычисляют его дозу на бутылку (Д, см3
) по формуле
Д=ВБД/Б2
Д2
, где В — полезная вместимость бутылки, см3
; Б,, Б2
- содержание сухих веществ соответственно в готовом квасе и купажном сиропе, %; Д1
,Д2
— плотность соответственно готового кваса и купажного сиропа, г/см3
.
Готовый купаж температурой 8-10°С подают в дозировочный аппарат, откуда его в определенном количестве заливают в бутылки наполняют их газированной водой на разливочном автомате, укупоривают, перемешивают содержимое смесителем, проверяют качество напитка на освещенном экране, наклеивают этикетку и автомат чески укладывают бутылки в ящики.
Качество кваса
Повышение стойкости кваса. Для повышения биологической стойкости квас, налитый в бутылки, пастеризуют в туннельных, по-Ужных пастеризаторах или, предварительно, в потоке. Стойкость пастеризованного кваса составляет 3 мес. для Московского и Русского и 1 мес. для Мятного и кваса с хреном.
Для пастеризации рекомендуются следующие режимы:
Для туннельного пастеризатора
I вариант
Температура, °С 40 -> 60 -> 65-70 -> 60 -> 40 -> 30 -> 12
Время выдержки, мин 7 -> 7 -> 44 ->7->7->7-»6
II вариант
Температура, 9
С . 40 -> 60 -» 70 -> 60 -> 40 -> 30 -> 15
Время выдержки, мин 6 —» 6 —> 24 —> 6 —> 6 —> 6 —> 6
Для погружного пастеризатора Температура, °С 45 -> 65 -> 45 -» 35 -> 25 -> 10
Время выдержки, мин 15 —> 35 —> 10 —> 10 —> 10 —> 10
Объем газового пространства в бутылках, предназначенных для пастеризации, должен быть не менее 20 см3
для бутылок вместимостью 0,5 дм3
и 14 см3
для бутылок вместимостью 0,33 дм3
.
В последнее время предложена технология стойкого хлебного кваса, полученного сбраживанием и последующим купажированием не с сахаром, а с сахарозаменителем. После этого квас обрабатывают осветлителями пива, получившими в последнее время распространение, что приводит к резкому снижению в нем дрожжевых клеток, фильтруют на кизельгуровом или обеспложивающем фильтре и пастеризуют.
Пороки хлебного кваса. По своему составу хлебный квас является благоприятной средой для развития микроорганизмов, вызывающих его порчу. Поэтому строгий санитарный режим в производстве, соблюдение правил личной гигиены рабочими, бактериальная чистота сырья, оборудования, воздуха в помещениях необходимы для обеспечения бактериальной чистоты кваса.
Для хлебного кваса характерны следующие пороки: уксуснокислое скисание, поражение плесенью, микодермой (дикие дрожжи), загрязнение кишечной палочкой, ослизнение.
При уксуснокислом скисании резко увеличивается кислотность кваса и снижается содержание сухих веществ в процессе брожения,
Ухудшается вкус. Возбудителем этого брожения являются уксуснокислые бактерии, окисляющие этиловый спирт до уксусной кислоты. При их развитии на поверхности кваса образуется тонкая видимая пленка. Размножению бактерий способствует плохая мойка оборудования, большой объем газового пространства в бутылке и негерметичная укупорка. Характерным признаком развития уксуснокислых бактерий служит появление в производственных помещениях плодовой мушки, которая переносит бактерии в открытые емкости с квасом и суслом. Оптимальная температура их роста 30—34° С.
Плесени - это мицелиальные микроскопические грибы. Плесени развиваются на стенках помещений, на поверхности бочек, шлангов аппаратов, где есть остатки сусла, на зерне, солоде, квасных хлебцах! Для предупреждения их появления в производственных помещениях поддерживают постоянную чистоту, а поверхности оборудования обрабатывают хлорными растворами. Бескислородные условия и термическая обработка губительны для микроскопических грибов.
Дикие дрожжи широко распространены в воздухе, на поверхности зерна, плодов, ягод. При своем развитии они на поверхности образуют белую складчатую пленку, ухудшают вкус кваса. В условиях закрытого брожения дикие дрожжи гибнут. Дикие дрожжи разлагают этиловый спирт и органические кислоты до диоксида углерода и воды; спиртового брожения они не вызывают. Чистые культуры производственных дрожжей не должны содержать более 0,5% диких дрожжей.
Кишечная палочка может попасть в квас с водой, а также от обслуживающего персонала, не соблюдающего личной гигиены. Для хлебного кваса, приготовленного на чистых культурах, в 1 см3
, а в сброженном хлебопекарными дрожжами, в 0,1 см3
наличие бактерий группы кишечной палочки БГКП (колиформы) не допускается. Патогенных микроорганизмов не должно быть в объеме 25 см3
.
Ослизнение кваса происходит в результате развития слизеобразующих бактерий (лейконосток и картофельная палочка). Лейконосток относится к группе кокков, попадает в квас с сахарным сиропом. В благоприятных условиях этот микроорганизм развивается в сахаре-песке. Потребляя сахар, он вырабатывает слизистое вещество - декстран, который делает квас вязким, тянущимся. При этом резко снижается сладость. К употреблению такой квас не пригоден. При наличии в среде 0,7—1% кислоты или при кипячении не менее мин лейконосток погибает.
Картофельная палочка, также как и лейконосток, является спорообразующим микроорганизмом, ослизняющим квас. Для предупреждения заражения хлебного кваса слизеобразующими микроорганизмами сахарный сироп необходимо кипятить не менее 30 мин и строго соблюдать санитарный режим производства. При появлений признаков ослизнения кваса все емкости и оборудование, где находился такой квас, дезинфицируют раствором хлорной извести или антиформина, пропаривают острым паром.
Ассортимент квасов. Безалкогольная промышленность выпуску напитки, приготовляемые методом брожения (хлебный квас, квас для окрошки, Днепровский квас, квас хлебный для горячих цехов, Русь, Квас настоящий, Квас Победитель, Окрошечный, Очаковский с хреном, Моя семья, Былинный с медом, Хуторской) и на питки газированные бутылочного розлива (квас Русский, Московский, Литовский, ароматный с хреном, мятный; напитки на хлебном
сырье Здоровье, Осень, Останкинский и др.).
Из многочисленных видов кваса, получаемых методом брожения, заводы выпускают хлебный квас и Московский, имеющие следующие показатели качества:
Хлебный Московский Содержание сухих веществ в100 г кваса при выпуске с завода, г, не ниже 5,4-5,8 7,3
Содержание спирта, % масс. 0,4-0,6 -
Кислотность 100 см3
кваса,
см3
1 н раствора NaOH 2-4 3
Содержание диоксида
углерода, % масс. 0,3-0,4 Не менее 0,3
С использованием ККС и экстракта солодового выпускают напитки на зерновом сырье. Например, напиток Здоровье содержит сахар, солодовый экстракт, лимонную и аскорбиновую кислоты, колер. Напиток Осень содержит кукурузную патоку, ККС, колер, настои чая, апельсинов, лимонов, а также лимонную кислоту и ванилин. Напитки приготавливают купажированием компонентов.
Квас хлебный, окрошечный, Днепровский и квас хлебный для горячих цехов являются непрозрачными напитками, при отстаивании образуется осадок из дрожжей и частиц хлебного сырья.
Квасы бутылочного розлива также непрозрачные, коричневого цвета, кисло-сладкие на вкус. Аромат их зависит от использованного сырья и добавок.
Все виды кваса кисло-сладкие на вкус, коричневого цвета, обладают ярко выраженным ароматом ржаного хлеба, насыщены диоксидом углерода.
Содержание сухих веществ и спирта в квасах, приготовленных методом брожения, не постоянно. При дображивании в торговой сети содержание сухих веществ уменьшается, а спирта увеличивается.
Органолептические и физико-химические показатели кваса и напитков из хлебного сырья должны соответствовать требованиям действующих Государственных отраслевых стандартов (ГОСТ), отраслевых стандартов (ОСТ) или технических условий (ТУ).
|