| Министерство образования Российской Федерации
Санкт-Петербургский государственный университет
сервиса и экономики
Автотранспортные средства
Реферат
Тема:
«Система питания двигателей, работающих на дизельном и газовом топливе»
Выполнил студент 3-ого курса
Специальность 100.101
Иванов В.И.
Санкт-Петербург
2010
Содержание
Введение
1. Топливо для дизелей
2. Конструкция и работа системы питания дизеля топливом
3. Конструкция и работа системы питания дизеля воздухом
4. Система выпуска отработавших газов
5. Система питания газовых двигателей
6. Топливо для газовых двигателей
7. Конструкция систем питания газовых двигателей и их работа
Список использованной литературы
Введение
Дизели являются двигателями с внутренним смесеобразованием. В цилиндры дизеля воздух и топливо подаются раздельно и, смешиваясь в них с отработавшими газами, образуют рабочую смесь. При этом процесс смесеобразования совершается за очень малое время (порядка 0,001 с).
Газовыми называются карбюраторные двигатели, работающие на газообразном топливе — сжатых и сжиженных газах. Особенностью газовых двигателей является их способность работать также и на бензине.
1. Топливо для дизелей
Дизельное топливо имеет следующие основные марки:
Л — летнее топливо, предназначено для работы двигателя при температуре окружающего воздуха выше О °С;
3 — зимнее топливо, предназначено для работы дизеля при температуре окружающего воздуха от 0 до -30 °С;
А — арктическое, предназначено для работы дизеля при температуре окружающего воздуха ниже -30 °С.
Температура замерзания дизельного топлива должна быть на 10... 15 °С ниже температуры окружающего воздуха района эксплуатации. Чем ниже температура замерзания топлива, тем надежнее работа дизеля. Температура воспламенения дизельного топлива составляет 300... 350 °С.
Качество дизельного топлива оценивается цетановым числом, которое условно принято равным 100 ед. Цетан — быстровоспламеняющееся топливо. Для дизельных топлив цетановое число должно быть в пределах 40... 45 ед. Чем выше цетановое число дизельного топлива, тем экономичнее и мягче работает двигатель. Для повышения цетанового числа в дизельное топливо добавляют специальную присадку — изопропиленнитрат.
Забиваем Сайты В ТОП КУВАЛДОЙ - Уникальные возможности от SeoHammer
Каждая ссылка анализируется по трем пакетам оценки: SEO, Трафик и SMM.
SeoHammer делает продвижение сайта прозрачным и простым занятием.
Ссылки, вечные ссылки, статьи, упоминания, пресс-релизы - используйте по максимуму потенциал SeoHammer для продвижения вашего сайта.
Что умеет делать SeoHammer
— Продвижение в один клик, интеллектуальный подбор запросов, покупка самых лучших ссылок с высокой степенью качества у лучших бирж ссылок.
— Регулярная проверка качества ссылок по более чем 100 показателям и ежедневный пересчет показателей качества проекта.
— Все известные форматы ссылок: арендные ссылки, вечные ссылки, публикации (упоминания, мнения, отзывы, статьи, пресс-релизы).
— SeoHammer покажет, где рост или падение, а также запросы, на которые нужно обратить внимание.
SeoHammer еще предоставляет технологию Буст, она ускоряет продвижение в десятки раз,
а первые результаты появляются уже в течение первых 7 дней.
Зарегистрироваться и Начать продвижение
Система питания дизеля состоит из трех следующих систем: питания топливом, питания воздухом и выпуска отработавших газов.
2. Конструкция и работа системы питания дизеля топливом
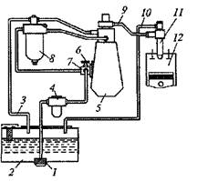
Система питания топливом служит для очистки топлива и равномерного его распределения дозированными порциями в цилиндры двигателя.
В эту систему (рис. 1) входят топливный бак, фильтры грубой и тонкой очистки, топливоподкачивающие насосы, топливный насос высокого давления, форсунки и топливопроводы.
Топливоподкачивающий насос 7 засасывает топливо из бака 2
через фильтры грубой 4
и тонкой 8
очистки и направляет его к насосу 5 высокого давления. В соответствии с порядком работы цилиндров двигателя насос высокого давления подает топливо к форсункам 11,
которые распыляют и впрыскивают топливо в цилиндры 72 двигателя.
Топливоподкачивающий насос 7 подает к насосу высокого давления топлива больше, чем необходимо для работы двигателя. Избыточное топливо отводится по топливопроводу 3
обратно в топливный бак. В бак отводится по топливопроводу 10
топливо, просочившееся из форсунок.

Рис. 1. Схема системы питания дизеля топливом:
1 —
топливоприемник; 2
— бак; 3, 9, 10 —
топливопроводы; 4, 8 —
фильтры; 5— насос высокого давления; 6 —
насос ручной подкачки; 7 — топливо-подкачивающий насос; 11 —
форсунка; 12
— цилиндр
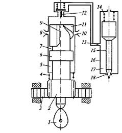
Топливный насос высокого давления
служит для подачи через форсунки в цилиндры двигателя под большим давлением (20... 50 МПа) требуемых порций топлива в определенные моменты времени. Насос состоит из одинаковых по конструкции секций, число которых равно числу цилиндров двигателя. Каждая секция насоса соединена топливопроводом 13
(рис. 2) с форсункой 16.
Плунжер 6
и гильза 5 секций насоса изготовлены с высокой точностью и чистотой поверхности. Зазор между ними не превышает двух микрон. На плунжере имеются вертикальный паз 9,
скошенная кромка 11
и кольцевая проточка 7. Шестерня 2,
закрепленная на плунжере, находится в зацеплении с зубчатой рейкой 3,
перемещением которой поворачивается плунжер в гильзе. Пружина 4
прижимает плунжер к эксцентрику 1
кулачкового вала насоса, который приводится во вращение от коленчатого вала. В гильзе имеются впускное 8
и выпускное 10
отверстия, а в верхней ее части установлен нагнетательный клапан 12.
Пружина 14
прижимает иглу 15
форсунки к соплу 18
и закрывает полость 77, которая заполнена топливом. При нижнем положении плунжера 6
отверстия 8
и 10
открыты, и через них над плунжером циркулирует топливо. Нагнетательный клапан 12
в этом случае закрыт, и в полости 17
форсунки поддерживается избыточное давление топлива.
Сервис онлайн-записи на собственном Telegram-боте
Попробуйте сервис онлайн-записи VisitTime на основе вашего собственного Telegram-бота:
— Разгрузит мастера, специалиста или компанию;
— Позволит гибко управлять расписанием и загрузкой;
— Разошлет оповещения о новых услугах или акциях;
— Позволит принять оплату на карту/кошелек/счет;
— Позволит записываться на групповые и персональные посещения;
— Поможет получить от клиента отзывы о визите к вам;
— Включает в себя сервис чаевых.
Для новых пользователей первый месяц бесплатно.
Зарегистрироваться в сервисе
При движении плунжера вверх при вращении кулачка перекрывается выпускное отверстие 10,
а затем впускное отверстие 8.
Под давлением топлива открывается клапан 12,
и в полости 17
форсунки создается высокое давление. При этом игла 15
форсунки преодолевает сопротивление пружины 14,
поднимается вверх, и через открывшееся сопло 18 топливо впрыскивается в цилиндр двигателя.
Впрыск топлива заканчивается, когда кромка 11
открывает выпускное отверстие 10.
При этом давление топлива уменьшается, игла 15
опускается вниз и закрывает сопло 18.
Одновременно закрывается клапан 12,
и в полости 17
форсунки топливо остается под избыточным давлением.

Рис. 2. Схема работы топливного насоса высокого давления:
1
— эксцентрик; 2 —
шестерня; 3 —
рейка; 4, 14 —
пружины; 5 — гильза; 6
— плунжер; 7 — проточка; 8, 10 —
отверстия; 9
— паз; 11
— кромка; 12
— клапан; 13
— топливопровод; 15 —
игла; 16 —
форсунка; 17
— полость; 18 —
сопло
Поворотом плунжера 6
в гильзе 5 изменяют конец подачи топлива и его количество, впрыскиваемое за один ход плунжера. Подача топлива прекращается при совмещении вертикального паза 9
с выпускным отверстием 10,
и двигатель останавливается.
С топливным насосом высокого давления соединены муфта опережения впрыска топлива, всережимный регулятор частоты вращения коленчатого вала двигателя и топливоподкачивающий насос с насосом ручной подкачки топлива.
Муфта опережения впрыска топлива
служит для автоматического изменения угла опережения впрыска топлива в зависимости от частоты вращения коленчатого вала. Муфта повышает экономичность дизеля при различных режимах работы и улучшает его пуск.
Муфта устанавливается на переднем конце кулачкового вала топливного насоса высокого давления, и с помощью нее насос приводится в действие.
На взаимное положение ведущих и ведомых частей муфты оказывают влияние грузы 2
(рис. 3), находящиеся в корпусе 1.
Грузы установлены на осях 3
и поджимаются пружинами 4,
которые упираются в проставки 5.
При работе двигателя и увеличении частоты вращения коленчатого вала грузы под действием центробежных сил преодолевают сопротивление пружин и расходятся, поворачивая при этом кулачковый вал насоса высокого давления по ходу его вращения. В результате этого увеличивается угол а опережения впрыска топлива, и топливо поступает в цилиндры раньше. При Уменьшении частоты вращения коленчатого вала двигателя грузы сходятся под действием пружин и поворачивают кулачковый вал насоса в сторону, противоположную его вращению, что уменьшает угол а опережения впрыска топлива.

Рис. 3. Муфта опережения впрыска топлива:
1 —
корпус; 2
— груз; 3 —
ось; 4 —
пружина; 5
— проставка; а — угол опережения впрыска топлива
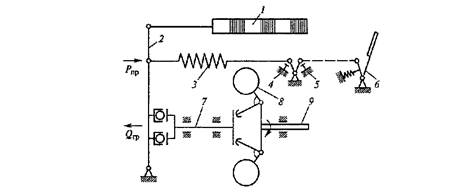
Всережимный регулятор
служит для автоматического поддержания постоянной частоты вращения коленчатого вала соответственно положению педали подачи топлива при различной нагрузке двигателя.
Регулятор также устанавливает минимальную частоту вращения коленчатого вала на холстом ходу и ограничивает максимальную частоту вращения. Регулятор приводится в действие от кулачкового вала топливного насоса высокого давления.
Педаль 6
(рис. 4) подачи топлива соединена с рычагом 2
управления рейкой / насоса высокого давления через растянутую пружину 3,
действующую на рычаг с усилием Рпр.
При работе двигателя на рычаг 2
через подпятник 7 передается сила Qгр.
от вращающихся грузов, шарнирно закрепленных на валу 9,
который соединен с кулачковым валом насоса высокого давления.
Если двигатель работает с частотой вращения коленчатого вала, соответствующей данному положению педали 6,
то сила Qгр. грузов 8
уравновешивается усилием Рпр
пружины 3.
При увеличений частоты вращения коленчатого вала грузы регулятора расходятся. Они преодолеют сопротивление пружины и переместят рейку 1.
При этом подача топлива уменьшится и частота вращения не будет возрастать.
При уменьшении частоты вращения коленчатого вала грузы будут сходиться, рейка 1
усилием Рпр
пружины переместится в обратном направлении и подача топлива увеличится, а частота вращения коленчатого вала возрастет до значения, заданного положением педали 6.

Рис. 4. Схема работы всережимного регулятора:
1
— рейка; 2
— рычаг; 3
— пружина; 4, 5
— упоры; 6
— педаль; 7— подпятник; 8
— груз; 9
— вал; Рпр
— усилие пружины; Qгр.
— сила грузов
Минимальная частота при работе на холостом ходу и максимальная частота вращения коленчатого вала двигателя ограничиваются соответственно регулируемыми упорами 5 и 4.
Топливоподкачивающий насос
служит для создания требуемого давления топлива и подачи топлива в необходимом количестве к насосу высокого давления.
Насос — поршневого типа, приводится в действие от кулачкового вала насоса высокого давления.
В корпусе насоса находится поршень 1
(рис. 5), который прижат к штоку 7 пружиной 5,
Шток через ролик опирается на эксцентрик # кулачкового вала. В корпусе насоса имеются впускной 4
и нагнетательный 9
клапаны.
Когда под действием пружины 5 поршень перемещается к эксцентрику, топливо из полости В
вытесняется в фильтр тонкой очистки и насос высокого давления. Одновременно увеличивающаяся полость А
заполняется топливом, которое поступает из топливного бака через фильтр грубой очистки и впускной клапан 4.
При движении поршня в противоположном направлении под действием эксцентрика 8
топливо из полости А
через нагнетательный клапан 9
поступает в полость Б.
При неработающем двигателе топливо в насос высокого давления подкачивают поршнем 2
ручного насоса при помощи рукоятки.
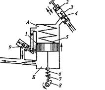
Форсунки
служат для впрыскивания топлива под определенным давлением и его распыления в цилиндрах двигателя.
Форсунки устанавливают и закрепляют в головке цилиндров.

Рис. 5. Схема топливоподкачивающего и ручного насосов:
1, 2
— поршни; 3, 5, 6 —
пружины; 4,9—
клапаны; 7— шток; 8 —
эксцентрик; А, Б —
полости
Корпус 4
(рис. 6) и распылитель 1
форсунки соединены гайкой 2.
Внутри распылителя находится игла 9,
закрывающая его сопловые отверстия. На иглу через штангу 3
Действует нажимная пружина 8,
затяжку которой регулируют шайбами 7

Рис. 6. Форсунка:
1 —
распылитель; 2 —
гайка; 3 —
штанга; 4 —
корпус;
5
— кольцо; 6—
фильтр; 7— шайбы; 8—
пружина; 9
— игла
Топливо подается к форсунке через сетчатый фильтр 6
поступает в полость иглы 9. Под давлением топлива игла, преодолевая усилие пружины 8,
перемещается вверх, открывает сопловые отверстия распылителя, и через них топливо впрыскивается в цилиндр двигателя. При этом топливо, просочившееся между иглой и распылителем, отводится из форсунки по каналам в ее корпусе.
3. Конструкция и работа системы питания дизеля воздухом
Система питания воздухом служит для забора окружающего воздуха, его очистки от пыли и распределения по цилиндрам двигателя.
Система питания воздухом (рис. 7) включает воздушный фильтр и впускной трубопровод. Она может быть с турбонаддувом или без турбонаддува.
Воздух поступает через сетку колпака 5 и трубу 4
воздухозаборника в воздушный фильтр 1.
В фильтре воздух проходит через инерционную решетку 3
и резко изменяет направление движения. Сначала воздух освобождается от крупных частиц пыли, которые под действием инерции и вакуума выбрасываются через эжектор 6,
установленный в выпускной трубе глушителя, в окружающий воздух. Более мелкие частицы пыли задерживаются в картонном фильтрующем элементе 2.
Очищенный воздух по впускному трубопроводу подается в цилиндры 7 двигателя.
Воздушный фильтр
(рис. 8) состоит из корпуса 3,
крышки 1
и сменного фильтрующего элемента 2,
состоящего из двух перфорированных стальных кожухов и гофрированного картона между ними. Патрубок 7 предназначен для отсоса пыли из корпуса фильтра.
Воздух поступает в фильтр через патрубок 5,
очищается в нем и выходит через патрубок 6.
Наддув
представляет собой подачу воздуха в цилиндры двигателя при такте впуска под давлением, создаваемым компрессором. При наддуве увеличивается количество воздуха, поступающего в цилиндры двигателя, количество сжигаемого топлива и повышается на 20...40 % мощность двигателя.

Рис. 8. Воздушный фильтр:
1 — крышка; 2 —
фильтрующий элемент; 3
— корпус; 4
— диффузор; 5, 6, 7 —
патрубки
В дизелях обычно применяется газотурбинный наддув (рис. 9) турбокомпрессором. При работе двигателя воздух в цилиндры 1
нагнетается под давлением центробежным компрессором 6,
рабочее колесо которого приводится во вращение турбиной 5.

Рис. 9. Схема наддува дизеля воздухом:
1
– цилиндр двигателя; 2 —
мембрана; 3 –
пружина; 4 —
клапан; 5 —
турбина; 6 —
компрессор
4. Система выпуска отработавших газов
Система выпуска служит для отвода газов из цилиндров двигателя и снижения шума. Одновременно система выпуска обеспечивает отсос пыли из воздушного фильтра.
Отработавшие газы из выпускных трубопроводов двигателя поступают в приемные трубы 2
и 3
глушителя (рис. 10) и далее через гибкий металлический рукав 6
в глушитель 7. Из глушителя газы через выпускную трубу 8
и эжектор 10
выбрасываются в окружающий воздух. Через патрубок 9
производится отсос пыли из воздушного фильтра в эжектор.
В системе выпуска отработавших газов устанавливается вспомогательный (моторный) тормоз-замедлитель 4.

Рис. 10. Схема системы выпуска отработавших газов дизеля:
1
—уплотнитель; 2,3,8 —
трубы; 4
— тормоз-замедлитель; 5— пневмоцилиндр; 6
— рукав; 7 — глушитель; 9 —
патрубок; 10 —
эжектор
Рабочее колесо турбины, установленное на одном валу с рабочим колесом компрессора, приводится во вращение отработавшими газами до их поступления в глушитель. Для ограничения давления воздуха при наддуве предназначен перепускной клапан 4.
При достижении требуемого давления (обычно 0,2 МПа) воздух давит на мембрану 2,
клапан открывается и перепускает часть отработавших газов мимо турбины 5.
На V-образных дизелях для турбонаддува устанавливают от одного до двух турбокомпрессоров. При двух турбокомпрессорах каждый из них обслуживает свой ряд цилиндров двигателя.
5. Система питания газовых двигателей
Характеристика.
Система питания газовых двигателей имеет специальное газовое оборудование. Имеется также дополнительная резервная система, обеспечивающая при необходимости работу газового двигателя на бензине.
По сравнению с карбюраторными двигателями газовые более экономичны, менее токсичны, работают без детонаций, имеют более полное сгорание топлива и меньший износ деталей, срок их службы больше в 1,5—2 раза. Однако их мощность меньше на 10... 20 %, так как в смеси с воздухом газ занимает больший объем, чем бензин. У них сложнее система питания и обслуживание в эксплуатации, требующее высокой техники безопасности.
6. Топливо для газовых двигателей
Топливом для газовых двигателей являются сжатые и сжиженные газы.
Сжатые газы —
газы, которые при обычной температуре окружающего воздуха и высоком давлении (до 20 МПа) сохраняют газообразное состояние.
Сжатые газы являются природными газами. В качестве топлива для газовых двигателей обычно используется природный газ метан.
Сжиженные газы
— газы, которые переходят из газообразного состояния в жидкое при нормальной температуре воздуха и небольшом давлении (до 1,6 МПа). Это нефтяные газы.
Для газовых двигателей используются сжиженные газы следующих марок: СПБТЗ — смесь пропана и бутана техническая зимняя; СПБТЛ — смесь пропана и бутана техническая летняя; БТ — бутан технический.
Газообразное топливо менее токсично, имеет более высокое октановое число (100 ед.), дает меньшее нагарообразование и не разжижает масло в картере двигателя.
7. Конструкция систем питания газовых двигателей и их работа
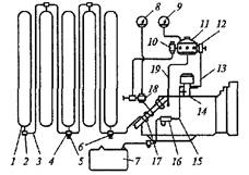
В систему питания двигателя, работающего на сжатом газе (рис. 11), входят баллоны 1
для сжатого газа, наполнительный 5, расходный 6
и магистральный 18
вентили, подогреватель 17
газа, манометры высокого 8 ж
низкого 9
давления, редуктор 11
с фильтром 10
и дозирующим устройством 12,
газопроводы высокого 3
и низкого 13
давления, карбюратор-смеситель 14
и трубка 19,
соединяющая разгрузочное устройство с впускным трубопроводом двигателя.

Рис. 11. Схема системы питания двигателя, работающего на сжатом газе:
1 — баллон; 2 —
тройник; 3, 13 —
газопроводы; 4 —
крестовина; 5, 6, 18
— вентили; 7 –
бак; 8, 9 —
манометры; 10 —
газовый фильтр; Л — редуктор; 12 —
Дозирующее устройство; 14 —
карбюратор-смеситель; 15 —
топливопровод; 16 —
топливный насос; 17—
подогреватель; 19 —
трубка
При работе двигателя вентили 6
и 18
открыты. Сжатый газ из баллонов поступает в подогреватель 17,
обогреваемый отработавшими газами, нагревается и через фильтр 10
проходит в двухступенчатый газовый редуктор 11.
В редукторе давление газа снижается до 0,9..Л,15 МПа. Из редуктора через дозирующее устройство 12
газ проходит в карбюратор-смеситель 14,
где и образуется горючая смесь (газовоздушная). Смесь под действием вакуума поступает в цилиндры двигателя. Процесс сгорания смеси и отвода отработавших газов, как в карбюраторных двигателях.
Редуктор 11,
кроме уменьшения давления газа, изменяет его количество в зависимости от режима работы двигателя. Он быстро выключает подачу газа при прекращении работы двигателя.
Кроме основной, имеется резервная система питания, обеспечивающая работу двигателя на бензине в необходимых случаях (неисправности системы, израсходован весь газ в баллонах и др.). При этом длительная работа двигателя на бензине не рекомендуется, так как в резервной системе питания отсутствует воздушный фильтр, что может привести к повышенному изнашиванию двигателя.
В резервную систему питания входят топливный бак 7, топливный фильтр, топливный насос 16
и топливопроводы 15.

Рис. 12. Схема системы питания двигателя, работающего на сжиженном газе:
1 — топливный фильтр; 2 —
топливный насос; 3 —
карбюратор; 4 —
смеситель; 5—
испаритель; 6 —
газовый фильтр; 7—
дозирующее устройство; 8—
редуктор; 9, 10 —
манометры; 11, 13
— вентили; 12
— баллон; 14
— двигатель; 15 —
бак
Система питания двигателя, работающего на сжиженном газе, показана на рис. 12. Сжиженный газ под давлением из баллона 12
поступает через расходный 13
и магистральный 11
вентили в испаритель 5. В испарителе газ подогревается горячей жидкостью системы охлаждения двигателя и переходит в газообразное состояние. Затем газ очищается в фильтре 6,
поступает в двухступенчатый редуктор 8,
где давление газа снижается до атмосферного. Из редуктора газ через дозирующее устройство 7 проходит в смеситель 4,
который готовит горючую смесь в соответствии с режимом работы двигателя.
Газовый баллон имеет предохранительный клапан, открывающийся при давлении 1,68 МПа, наполнительный вентиль и датчик уровня сжиженного газа. Баллон заполняется сжиженным газом только на 90 % объема. Это необходимо для возможности расширения газа при нагреве.
Кроме основной системы питания, двигатель, работающий на сжиженном газе, имеет резервную систему питания для кратковременной работы на бензине. В резервную систему входят топливный бак 15,
топливный фильтр 1,
топливный насос 2
и карбюратор 3.
Список использованной литературы
1. Сарбаев В.И. Техническое обслуживание и ремонт автомобилей. − Ростов н/Д: «Феникс», 2004.
2. Вахламов В.К. Техника автомобильного транспорта. − М.: «Академия», 2004.
3. Барашков И.В. Бригадная организация технического обслуживания и ремонта автомобилей. – М.: Транспорт, 1988г.
|