| БЕЛОРУССКИЙ ГОСУДАРСТВЕННЫЙ УНИВЕРСИТЕТ ИНФОРМАТИКИ И РАДИОЭЛЕКТРОНИКИ
РЕФЕРАТ
На тему:
«ФОРМИРОВАНИЕ защитного РИСУНКА СХЕМЫ
»
МИНСК, 2008
Нанесение рисунка схемы или защитного рельефа требуемой конфигурации необходимо при осуществлении процессов металлизации и травления. Рисунок должен иметь четкие границы с точным воспроизведением тонких линий, быть стойким к травильным растворам, не загрязнять платы и электролиты, легко сниматься после выполнения своих функций. Перенос рисунка печатного монтажа на фольгированный диэлектрик осуществляют методами сеткографии
, офсетной печати
и фотопечати.
Выбор метода зависит от конструкции платы, требуемой точности и плотности монтажа, серийности производства.
Сеткографический метод
нанесения рисунка схемы наиболее рентабелен для массового и крупносерийного производства плат при минимальной ширине проводников и расстоянии между ними ³ 0,5 мм, с точностью воспроизведения изображения ±0,1 мм. Суть заключается в нанесении на плату специальной кислотостойкой краски путем продавливания ее резиновой лопаткой (ракелем) через сетчатый трафарет, в котором необходимый рисунок образован открытыми ячейками сетки (рис. 1).

1 –
ракель; 2 –
трафарет;3 –
краска; 4 –
основание
Рис. 1 Принцип трафаретной печати
Для изготовления трафарета используют металлические сетки из нержавеющей стали с толщиной проволоки 30-50 мкм и частотой плетения 60—160 нитей на 1 см, металлизированного нейлонового волокна, имеющего лучшую эластичность, с толщиной нити 40 мкм и частотой плетения до 200 нитей на 1 см, а также из полиэфирных волокон и капрона. Одним из недостатков сеток является их растяжение при многократном использовании. Самой большой стойкостью обладают сетки из нержавеющей стали (до 20 тыс. отпечатков), металлизированных пластмасс (12 тыс.), полиэфирных волокон (до 10 тыс.), капрона (5 тыс.).
Изображение на сетке получают с помощью экспонирования жидкого или сухого (пленочного) фоторезиста, после проявления которого образуются открытые (свободные от рисунка) ячейки сетки. Трафарет в сеткографической раме устанавливают с зазором 0,5—2 мм от поверхности платы так, чтобы контакт сетки с поверхностью платы был только в зоне нажатия на сетку ракелем. Ракель представляет собой прямоугольную заточенную полосу резины, установленную по отношению к подложке под углом 60—70°.
Забиваем Сайты В ТОП КУВАЛДОЙ - Уникальные возможности от SeoHammer
Каждая ссылка анализируется по трем пакетам оценки: SEO, Трафик и SMM.
SeoHammer делает продвижение сайта прозрачным и простым занятием.
Ссылки, вечные ссылки, статьи, упоминания, пресс-релизы - используйте по максимуму потенциал SeoHammer для продвижения вашего сайта.
Что умеет делать SeoHammer
— Продвижение в один клик, интеллектуальный подбор запросов, покупка самых лучших ссылок с высокой степенью качества у лучших бирж ссылок.
— Регулярная проверка качества ссылок по более чем 100 показателям и ежедневный пересчет показателей качества проекта.
— Все известные форматы ссылок: арендные ссылки, вечные ссылки, публикации (упоминания, мнения, отзывы, статьи, пресс-релизы).
— SeoHammer покажет, где рост или падение, а также запросы, на которые нужно обратить внимание.
SeoHammer еще предоставляет технологию Буст, она ускоряет продвижение в десятки раз,
а первые результаты появляются уже в течение первых 7 дней.
Зарегистрироваться и Начать продвижение
Для получения рисунка ПП используют термоотверждающиеся краски СТ 3,5; СТ 3,12, которые сушат либо в термошкафу при температуре 60 °С в течение 40 мин, либо на воздухе в течение 6 ч, что удлиняет процесс сеткографии. Более технологичными являются фотополимерные композиции ЭП-918 и ФКП-ТЗ с УФ-отверждением в течение 10—15 с, что является решающим фактором при автоматизации процесса. При однократном нанесении покрытие зеленого цвета имеет толщину 15—25 мкм, воспроизводит рисунок с шириной линий и зазорами до 0,25 мм, выдерживает погружение в расплав припоя ПОС 61 при температуре 260 °С в течение до 10 с, воздействие спиртобензиновой смеси до 5 мин и термоциклирование в интервале температур от –60 до +120 °С. После нанесения рисунка плату просушивают при температуре 60 °C в течение 5—8 мин, контролируют качество и при необходимости подвергают ретуши. Удаление защитной маски после травления или металлизации осуществляют химическим методом в 5 %-м растворе едкого натра в течение 10—20 с.
Для трафаретной печати используют полуавтоматическое и автоматическое оборудование, отличающееся форматом печати и производительностью (табл. 1). Автоматические линии трафаретной печати имеют автоматические системы подачи и установки плат, движения ракеля и подачи резиста. Для сушки резиста применяют ИК-печи туннельного типа.
Таблица 1 - Оборудование для трафаретной печати
| Тип оборудования
|
Марка
|
Формат печати, мм
|
Производительность, оттисков/ч
|
| Автомат шелкографический
|
AШ-2 (СССР)
|
380´220
|
600
|
| Полуавтомат трафаретной печати
|
ПТП-3 (СССР)
|
400´300
|
800
|
| Трафаретная печатная машина
|
ПТ-2 (СССР)
|
430´200
|
900
|
| Полуавтомат
|
Minimatik (Швеция)
|
300´500
|
1000
|
| Полуавтомат
|
Beltron (Германия)
|
500´700
|
1000
|
| Автоматическая линия
|
Chemсut (США)
|
500´700
|
1000
|
| |
Resco (Италия)
|
510´760
|
1000
|
| Автомат
|
Astromat (Италия)
|
650´650
|
550
|
Офсетная печать
применяется для крупносерийного производства ПП при малой номенклатуре схем. Разрешающая способность 0,5—1 мм, точность получаемого изображения составляет ± 0,2 мм. Суть метода состоит в том, что в клише, несущее изображение схемы (печатные проводники, контактные площадки), закатывается краска. Затем она снимается офсетным валиком, покрытым резиной, переносится на изоляционное основание и подвергается сушке. Клише и основание платы располагаются друг за другом на основании машины для офсетной печати (рис. 2).
Сервис онлайн-записи на собственном Telegram-боте
Попробуйте сервис онлайн-записи VisitTime на основе вашего собственного Telegram-бота:
— Разгрузит мастера, специалиста или компанию;
— Позволит гибко управлять расписанием и загрузкой;
— Разошлет оповещения о новых услугах или акциях;
— Позволит принять оплату на карту/кошелек/счет;
— Позволит записываться на групповые и персональные посещения;
— Поможет получить от клиента отзывы о визите к вам;
— Включает в себя сервис чаевых.
Для новых пользователей первый месяц бесплатно.
Зарегистрироваться в сервисе

1
– офсетный валик; 2
– клише; 3
– плата; 4
– валик для нанесения краски; 5
– прижимной валик
Рис. 2. Схема офсетной печати
Точность печати и резкость контуров определяются параллельностью валика и основания, типом и консистенцией краски. С помощью одного клише можно выполнить неограниченное число оттисков. Производительность метода ограничена длительностью колебательного цикла (нанесение краски — перенос) и не превышает 200—300 оттисков в час. Недостатки метода: длительность процесса изготовления клише, сложность изменения рисунка схемы, трудность получения беспористых слоев, высокая стоимость оборудования.
Фотографический метод
нанесения рисунка позволяет получать минимальную ширину проводников и расстояния между ними 0,1—0,15 мм с точностью воспроизведения до 0,01 мм. С экономической точки зрения этот способ менее рентабельный, но позволяет получать максимальную разрешающую способность рисунка и поэтому применяется в мелкосерийном и серийном производстве при изготовлении плат высокой плотности и точности. Способ основан на использовании светочувствительных композиций, называемых фоторезистами
, которые должны обладать: высокой чувствительностью; высокой разрешающей способностью; однородным по всей поверхности беспористым слоем с высокой адгезией к материалу платы; устойчивостью к химическим воздействиям; простотой приготовления, надежностью и безопасностью применения.
Фоторезисты разделяются на негативные и позитивные. Негативные фоторезисты
под действием излучения образуют защитные участки рельефа в результате фотополимеризации и задубливания. Освещенные участки перестают растворяться и остаются на поверхности подложки. Позитивные фоторезисты
передают рисунок фотошаблона без изменений. При световой обработке экспонированные участки разрушаются и вымываются.
Для получения рисунка схемы при использовании негативного фоторезиста экспонирование производят через негатив, позитивного — через позитив. Позитивные фоторезисты имеют более высокую разрешающую способность, что объясняется различиями в поглощении излучения фоточувствительным слоем. На разрешающую способность слоя влияют дифракционное огибание света на краю непрозрачного элемента шаблона и отражение света от подложки (рис. 3, а
).
В негативном фоторезисте дифракция не играет заметной роли, поскольку шаблон плотно прижат к резисту, но в результате отражения вокруг защитных участков появляется ореол, который снижает разрешающую способность (рис. 3, б
). В слое позитивного резиста под влиянием дифракции разрушится и вымоется при проявлении только верхняя область резиста под непрозрачными участками фотошаблона, что мало скажется на защитных свойствах слоя. Свет, отраженный от подложки, может вызвать некоторое разрушение прилегающей к ней области, но проявитель эту область не вымывает, так как под действием адгезионных сил слой опустится вниз, вновь образуя четкий край изображения без ореола (рис. 3, в
).

а -
экспонирование ; б -
негативный фоторезист; в
- позитивный фоторезист; 1 –
дифракция; 2
– рассеяние; 3
– отражение 4 –
шаблон; 5
– резист; 6
– подложка
Рис. 3. Экспонирование светочувствительного слоя
В настоящее время в промышленности используются жидкие
и сухие
(пленочные) фоторезисты (табл. 2). Жидкие фоторезисты
— коллоидные растворы синтетических полимеров, в частности поливинилового спирта (ПВС). Фоторезист на основе ПВС наносят на предварительно подготовленную поверхность платы путем окунания заготовки, поливом с последующим центрифугированием. Затем слой фоторезиста сушат в термошкафу с циркуляцией воздуха при температуре 40 °С в течение 30—40 мин. После экспонирования осуществляется проявление фоторезиста в теплой воде. Для повышения химической стойкости фоторезиста на основе ПВС применяют химическое дубление рисунка ПП в растворе хромового ангидрида, а затем термическое дубление при температуре 120 °С в течение 45—50 мин. Снятие фоторезиста проводят в течение 3—6 с в растворе следующего состава: 200—250 г/л щавелевой кислоты, 50—80 г/л хлористого натрия, до 1000 мл воды при температуре 20 °С.
Достоинства
фоторезиста на основе ПВС — низкие токсичность и пожароопасность, проявление с помощью воды. К недостаткам
его относят эффект темнового дубления (поэтому срок хранения заготовок с нанесенным фоторезистом не должен превышать 3—6 ч), низкую кислото- и щелочеустойчивость, трудность автоматизации процесса получения рисунка, трудоемкость приготовления резиста, низкую чувствительность.
Улучшение свойств жидких фоторезистов (устранение дубления, повышение кислотостойкости) достигается в фоторезисте на основе циннамата. Светочувствительным компонентом фоторезиста этого типа является поливинилциннамат (ПВЦ). Разрешающая способность его примерно 500 лин/мм, проявление осуществляется в органических растворителях — трихлорэтане, толуоле, хлорбензоле. Для интенсификации процесса проявления и удаления фоторезиста ПВЦ используют ультразвуковые колебания. Время проявления сокращается до 10 с, т. е. в 5—8 раз по сравнению с обычной технологией. К недостаткам
фоторезиста ПВЦ относятся его высокая стоимость, использование токсичных органических растворителей. Поэтому резисты ПВЦ не нашли широкого применения в изготовлении ПП, а используются главным образом при изготовлении ИМС.
Фоторезисты на основе диазосоединений применяют в основном как позитивные. Сушка слоя фоторезиста проводится в две стадии: при температуре 20 °С в течение 15—20 мин для испарения легколетучих компонентов; в термостате с циркуляцией воздуха при температуре 80 °С в течение 30—40 мин. Проявителями являются растворы тринатрийфосфата, соды, слабых щелочей. Фоторезисты ФП-383, ФН-11 на основе диазосоединений имеют разрешающую способность 350—400 лин/мм, высокую химическую стойкость, однако имеют высокую стоимость.
Сухие пленочные
фоторезисты впервые разработаны в 1968 г. фирмой Du Pont (США). Сухой пленочный фоторезист марки СПФ-2 выпускается с 1975 г. толщиной 20, 40 и 60 мкм и представляет собой полимер на основе полиметилметакрилата 2
(рис. 4), расположенный между полиэтиленовой 3
и лавсановой 1
пленками толщиной 25 мкм каждая. В СНГ выпускаются следующие типы сухих пленочных фоторезистов: проявляемые в органических веществах — СПФ-2, СПФ-АС-1, СРФ-П; водно-щелочные — СПФ-ВЩ2, ТФПК; повышенной надежности — СПФ-ПНЩ; защитные — СПФ3-ВЩ.
Перед накаткой на поверхность основания ПП защитная пленка из полиэтилена удаляется и сухой фоторезист наносится на плату валиковым методом (плакирование, ламинирование) при нагреве до 100 °С со скоростью до 1 м/мин с помощью специального устройства, называемого ламинатором. Сухой резист полимеризуется под действием ультрафиолетового излучения, максимум его спектральной чувствительности находится в области 350 нм, поэтому для экспонирования используют ртутные лампы. Проявление осуществляется в машинах струйного типа в растворах метилхлорида, диметилформамида.
Таблица 2 - Основные характеристики фоторезистов
| Тип и марка фоторезиста
|
Разрешающая способность, лин/мм
|
Спектральная чувствительность, нм
|
Проявитель
|
Сниматель
фоторезиста
|
Срок хранения
заготовки
|
| Негативные жидкие:
ПВС
|
40—50
|
350—420
|
Вода 40 °С
|
Гидрооксид калия — 30 — 50 г/л
|
3—5 ч
|
| ПВЦ
|
500
|
350—410
|
Трихлорэтилен — 70 %, толуол — 30 %
|
Хлористый метилен — 75 %, трихлорэтилен — 25 %
|
1 год
|
| Позитивные, ФП-383
|
350—400
|
480
|
Тринатрийфосфат — 5 %
|
Ацетон
|
1 год
|
| Сухие негативные:
СПФ-2
|
100—150
|
350
|
Метилхлороформ
|
Хлористый метилен
|
6 мес.
|
| СПФ-АС-1
|
100—150
|
320—400
|
То же
|
То же
|
6 мес.
|
| СПФ-ВЩ
|
100—150
|
320—400
|
2 %-й раствор Na2
CO3
|
Гидрооксид калия — 50 — 100 г/л
|
6 мес.
|
| СПФ-3-ВЩ
|
150—200
|
320—400
|
То же
|
То же
|
6 мес.
|
| Riston (США)
|
120—150
|
350
|
Трихлорэтан
|
Хлористый метилен
|
1 год
|
СПФ-2 — сухой пленочный фоторезист, аналогичный по свойствам фоторезисту Riston, допускает обработку как в кислых, так и в щелочных средах и используется при всех методах изготовления ДПП. При его применении необходима герметизация оборудования для проявления. СПФ-ВЩ обладает более высокой разрешающей способностью (100 — 150 мкм), стоек в кислой среде, обрабатывается в щелочных растворах. В состав фоторезиста ТФПК (в полимеризующую композицию) входит метакриловая кислота, улучшающая эксплуатационные характеристики. Для него не требуется термообработка защитного рельефа перед нанесением гальванопокрытия. СПФ-АС-1 позволяет получать рисунок ПП как по субтрактивной, так и по аддитивной технологиии, поскольку он стоек и в кислых, и в щелочных средах. Для улучшения адгезии светочувствительного слоя к медной подложке в состав композиции введен бензотриазол.

Рис. 4. Структура сухого фоторезиста
Применение сухого фоторезиста значительно упрощает процесс изготовления ПП, увеличивает процент выхода годных изделий с 60 до 90 %. При этом: исключаются операции сушки, дубления и ретуширования, а также загрязнения, нестабильность слоев; обеспечивается защита металлизированных отверстий от затекания фоторезиста; достигается высокая автоматизация и механизация процесса изготовления ПП и контроля изображения.
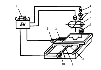
Установка для нанесения сухого пленочного фоторезиста — ламинатор (рис. 5) — состоит из валиков 2
, подающих плату 6
и прижимающих фоторезист к поверхности заготовок, валиков 3
и 4
для снятия защитной полиэтиленовой пленки, бобины с фоторезистом 5
, нагревателя 1
с терморегулятором. Скорость движения заготовки платы достигает 0,1 м/с, температура нагревателя 105±5 °С. Конструкция установки АРСМ 3.289.006 НПО "Ратон" (Беларусь) обеспечивает постоянное усилие прижатия независимо от зазора, устанавливаемого между валиками-нагревателями. Максимальная ширина заготовки ПП 560 мм. Особенностью накатывания является опасность попадания пыли под слой фоторезиста, поэтому установка должна работать в гермозоне. Накатанная пленка фоторезиста выдерживается не менее 30 мин перед экспонированием для завершения усадочных процессов, которые могут вызвать искажение рисунка и уменьшить адгезию.

Рис. 5.
Схема ламинатора
Проявление рисунка осуществляется в результате химического и металлического воздействия метилхлороформа. За оптимальное время проявления принимается время, в 1,5 раза большее, чем необходимо для полного удаления незадубленного СПФ. Качество операции проявления зависит от пяти факторов: времени проявления, температуры проявления, давления проявителя в камере, загрязнения проявителя, степени окончательной промывки. По мере накопления в проявителе растворенного фоторезиста скорость проявления замедляется. После проявления плату необходимо отмыть водой до полного удаления остатков растворителя. Продолжительность операции проявления СПФ-2 при температуре проявителя 14—18 °С, давлении раствора в камерах 0,15 МПа и скорости движения конвейера 2,2 м/мин составляет 40—42 с.
Удаление и проявление фоторезиста осуществляется в машинах струйного типа (ГГМЗ.254.001, АРСМЗ.249.000) в хлористом метилене. Это сильный растворитель, поэтому операция снятия фоторезиста должна выполняться быстро (за 20—30 с). В установках предусматривается замкнутый цикл использования растворителей, после орошения плат растворители поступают в дистиллятор, а затем чистые растворители переключаются на повторное использование.
Экспонирование фоторезиста предназначено для инициирования в нем фотохимических реакций и проводится в установках, имеющих источники света (сканирующие или неподвижные) и работающие в ультрафиолетовой области. Для плотного прилегания фотошаблонов к заготовкам плат используют рамы, где создается разрежение. Установка экспонирования СКЦИ.442152.0001 НПО "Ратон" при рабочем поле загрузочных рам 600´600 мм обеспечивает производительность 15 плат/ч. Время экспозиции ртутной лампой ДРШ-1000 1—5 мин. После экспонирования для завершения темновой фотохимической реакции необходима выдержка при комнатной температуре в течение 30 мин перед удалением лавсановой защитной пленки.
Для получения проводящего рисунка на изоляционном основании как сеткографическим, так и фотохимическим способом необходимо применять фотошаблоны, представляющие собой графическое изображение рисунка в масштабе 1:1 на фотопластинках или фотопленке. Фотошаблоны выполняют в позитивном изображении при наращивании проводящих участков на лентах и в негативном изображении, когда проводящие участки получают травлением меди с пробельных мест.
Геометрическая точность и качество рисунка ПП обеспечиваются в первую очередь точностью и качеством фотошаблона, который должен иметь:
· контрастное черно-белое изображение элементов с четкими и ровными границами при оптической плотности черных полей не менее 2,5 ед., прозрачных участков не более 0,2 ед., измеренной на денситомере типа ДФЭ-10;
· минимальные дефекты изображения (темные точки на пробельных местах, прозрачные точки на черных полях), которые не превышают 10—30 мкм;
· точность элементов выполнения рисунка ±0,025 мм.
В большей степени перечисленным требованиям удовлетворяют сверхконтрастные фотопластинки и пленки ''Микрат-Н'' (СССР), фотопластинки типа ФТ-41П (СССР), РТ-100 (Япония) и Agfalit (Германия).
В настоящее время применяются два основных способа получения фотошаблонов: фотографирование их с фотооригиналов
и вычерчивание световым лучом на фотопленке
с помощью координатографов с программным управлением либо лазерным лучом. При изготовлении фотооригиналов рисунок ПП выполняют в увеличенном масштабе (10:1, 4:1, 2:1) на малоусадочном материала путем вычерчивания, изготовления аппликаций или резания по эмали. Способ аппликации предусматривает наклеивание заранее подготовленных стандартных элементов на прозрачную основу (лавсан, стекло и др.). Первый способ характеризуется низкой точностью и большой трудоемкостью, поэтому используется в основном для макетных образцов плат.
Резание по эмали применяют для ПП с высокой плотностью монтажа. Для этого полированное листовое стекло покрывают непрозрачным слоем эмали, а вырезание рисунка схемы осуществляют на координатографе с ручным управлением. Точность получения рисунка 0,03—0,05 мм.
Изготовленный фотооригинал фотографируют с необходимым уменьшением на высококонтрастную фотопластину с помощью фоторепродукционных полиграфических камер типа ПП-12, ЭМ-513, Klimsch (Германия) и получают фотошаблоны, которые могут быть контрольными и рабочими. Для тиражирования и изготовления рабочих, одиночных, а также групповых фотошаблонов применяют метод контактной печати с негативной копии контрольного фотошаблона. Операция выполняется на мультипликаторе модели АРСМ 3.843.000 с точностью ±0,02 мм.
Недостатки такого метода — большая трудоемкость получения фотооригинала, требующего высококвалифицированного труда, и трудность равномерного освещения фотооригиналов значительной площади, что снижает качество фотошаблонов.
Возрастающая сложность и плотность рисунка ПП, необходимость увеличения производительности труда привели к разработке метода изготовления фотошаблонов сканирующим лучом непосредственно на фотопленке. Для изготовления фотошаблона световым лучом разработаны координатографы с программным управлением. С переходом на машинное проектирование плат необходимость вычерчивания чертежа отпадает, так как полученная с ЭВМ перфолента с координатами проводников вводится в считывающее устройство координатографа, на котором автоматически выполняется фотошаблон.
Координатограф (рис. 6) состоит из вакуумного стола 8
, на котором закрепляют фотопленку, фотоголовки и блока управления 1
. Стол перемещается с высокой точностью в двух взаимно перпендикулярных направлениях с помощью прецизионных ходовых винтов 9
и 3
, которые приводятся во вращение шаговыми двигателями 2
и 10
. Фотоголовка включает осветитель 4
, фокусирующую систему 5
, круговую диафрагму 6
и фотозатвор 7
. Диафрагма имеет набор отверстий (25—70), оформляющих определенный элемент рисунка ПП, и закрепляется на валу шагового двигателя. В соответствии с программой работы сигналы от блока управления подаются на шаговые двигатели привода стола, диафрагмы и на осветитель. Современные координатографы (табл. 5.4) снабжаются системами автоматического поддержания постоянного светового режима, вывода из ЭВМ информации о фотошаблонах на пленку в масштабах 1:2; 1:1; 2:1; 4:1.

Рис. 6. Схема координатографа
Таблица 3 - Основные технические характеристики координатографов
| Модель
|
Размеры рабочего поля, мм
|
Точность позиционирования, мм
|
Максимальная скорость перемещения, м/мин
|
Ширина линии, мм
|
Шаг перемещения, мм
|
| “Минск-2005” (СССР)
|
500´600
|
±0,03
|
3
|
0,2—5
|
0,025
|
| КПА-1200 (СССР)
|
1200´1200
|
±0,05
|
6
|
0,2—4
|
0,025
|
| 723 (Gerber Sientific, США)
|
865´1120
|
±0,01
|
5
|
0,1—4
|
0,025
|
| 201 (Ariston, Германия)
|
865´1120
|
±0.015
|
9,4
|
0,1—4
|
0,025
|
| “Минск-2010МГ” (Беларусь)
|
500´600
|
±0,006
|
9
|
0,1—2,5
|
0,025
|
ЛИТЕРАТУРА
1. Технология поверхностного монтажа: Учеб. пособие / Кундас С.П., Достанко А.П., Ануфриев Л.П. и др. – Мн.: «Армита - Маркетинг, Менеджмент», 2000.
2. Технология радиоэлектронных устройств и автоматизация производства: Учебник/ А.П. Достанко, В.Л.Ланин, А.А. Хмыль, Л.П. Ануфриев; Под общ. ред. А.П. Достанко. – Мн.: Выш. шк., 2002
|