| СОДЕРЖАНИЕ
Введение
1. Сжиженные газы
2. Газораспределительные сети в городах и газораспределительные пункты
3. Устройство наружных газопроводов
4. Устройство подземных газопроводов
5. Устройство внутридомовых газопроводов
Заключение
Список литературы
ВВЕДЕНИЕ.
Природные газы, добываемые из недр земли, представляют собой смесь, состоящую из горючих газов, балластных газов и примесей.
Горючие газы состоят из метана (СН4
), предельных углеводородов (Сn
Н2
n
+2
) и непредельных углеводородов (Cn
H2
n
). В сумме предельные и непредельные углеводороды называются тяжелыми углеводородами (ТУ). Водород (Н2
) и оксид углерода (СО) в природных газах отсутствуют.
Балластные газы состоят из азота — N2
, углекислого газа - СО2
и кислорода — О2
.
Примеси, входящие в состав природных газов, состоят в основном из водяных паров (Н2
О), сероводорода (H2
S) и пыли.
Рассмотрим свойства горючих газов.
Метан (СН4
) — горючий газ без цвета, запаха и вкуса. Не токсичен, но при большой концентрации в воздухе вызывает удушье. Низшая теплота сгорания Q = 35840 кДж/м3
, плотность ρ=
0,717 кг/м3
, молекулярная масса µ=
16 кг/кг — моль.
К тяжелым углеводородным газам, имеющим формулу Сn
Н2
n
+2
, относятся: этан (С2
Н6
), пропан (С3
Н8
), бутан (С4
Н10
). Все эти газы, как и метан, не имеют цвета, запаха и вкуса, не токсичны. Их физические свойства зависят от величины молекулярной массы (µ).
Чем больше µ,
тем выше плотность тяжелых углеводородов (ρ), больше теплотворная способность (Q), больше требуется воздуха для сжигания 1 м3
тяжелых углеводородов.
К непредельным тяжелым углеводородным газам (С2
Н2
n
+2
) относятся: этилен (С2
Н4
), пропилен (С3
Н6
), бутилен (С4
Н8
). Их свойства также изменяются с увеличением µ,
как и у тяжелых углеводородов.
Балластные газы.
1. Азот (N2
) — инертный газ, без цвета, запаха и вкуса. На долю азота в воздухе приходится 79%.
До температур 1400 °С азот не реагирует с воздухом, а при более высоких температурах образует оксиды азота, которые сказывают более вредное воздействие на человека, чем оксид углерода. Предельно допустимая норма оксидов азота в атмосферном воздухе 0,085 мг/м3
.
Забиваем Сайты В ТОП КУВАЛДОЙ - Уникальные возможности от SeoHammer
Каждая ссылка анализируется по трем пакетам оценки: SEO, Трафик и SMM.
SeoHammer делает продвижение сайта прозрачным и простым занятием.
Ссылки, вечные ссылки, статьи, упоминания, пресс-релизы - используйте по максимуму потенциал SeoHammer для продвижения вашего сайта.
Что умеет делать SeoHammer
— Продвижение в один клик, интеллектуальный подбор запросов, покупка самых лучших ссылок с высокой степенью качества у лучших бирж ссылок.
— Регулярная проверка качества ссылок по более чем 100 показателям и ежедневный пересчет показателей качества проекта.
— Все известные форматы ссылок: арендные ссылки, вечные ссылки, публикации (упоминания, мнения, отзывы, статьи, пресс-релизы).
— SeoHammer покажет, где рост или падение, а также запросы, на которые нужно обратить внимание.
SeoHammer еще предоставляет технологию Буст, она ускоряет продвижение в десятки раз,
а первые результаты появляются уже в течение первых 7 дней.
Зарегистрироваться и Начать продвижение
2.Диоксид углерода (СО2
) является инертным газом со слегка кисловатым запахом и вкусом.
3.Кислород (О2
) — входит в состав атмосферного воздуха в виде второй составляющей в количестве 21%. Во всех процессах горения кислород играет роль окислителя. Содержание кислорода в природном газе не допускается более 1%, исходя из соображений взрывобезопасности и защиты газового оборудования от коррозии.
Примеси. В
виде примесей природный газ в основном содержит водяные пары, сероводород и пыль.
Концентрация водяных паров (Н2
О) в природном газе, подаваемом бытовым и промышленным потребителям, не должна превышать 500 — 1000 г на 100 м3
природного газа.
Сероводород Н2
— бесцветный газ, имеющий запах испорченных яиц, является ядом и оказывает раздражающее действие на дыхательные пути и глаза.
Предельно допустимая концентрация H2
S в воздухе помещений равна 0,1 мг/л. H2
S — коррозионно-агрессивный газ.
Содержание H2
S в природном газе после очистки на газовых промыслах не должно превышать 2 г на 100 м3
природного газа.
Содержание пыли не должно превышать 0,1 г на 100 м3
природного газа.
1. СЖИЖЕННЫЕ ГАЗЫ
Сжиженные газы, состоящие в основном из пропана (С3
Н8
) и бутана (С4
Н10
), получают на газобензиновых и нефтеперерабатывающих заводах. Сжиженный газ широко используют для газоснабжения сельской местности и районов, не подключенных к магистральным газопроводам. Хранятся жидкие газы в баллонах и емкостях, а перевозятся в цистернах.
Мелкие потребители (одно- и двухэтажные жилые строения, дачи) имеют для хранения жидкого газа баллоны, емкостью до 501 л каждый.
Крупные потребители (3 — 4-этажные жилые дома, столовые, рестораны; коммунальные предприятия, оздоровительные лагеря дома отдыха) имеют для хранения жидкого газа емкости объемом 2,2 и 4 м3
, которые устанавливаются ниже уровня земли. Запас жидкого газа в баллонах и емкостях должен обеспечивать нормальное газоснабжение потребителей в течение 7 — 10 дней.
В емкостях и баллонах жидкий газ всегда представляет собой двухфазную систему. В верхней зоне емкости или баллона находится паровая фаза пропан-бутановой смеси, а в нижней зоне жидкая фракция, которая испаряется по мере отбора потребителями паровой фазы. Паровая фракция всегда представляет собой насыщенную смесь из С3
Н8
и С4
Н10
. Упругость указанных газов (Рг
) зависит от температуры наружного воздуха (для баллонов) или температуры грунта (для подземных емкостей). В табл. 1 показана зависимость упругости паров пропана и бутана от температуры.
Сервис онлайн-записи на собственном Telegram-боте
Попробуйте сервис онлайн-записи VisitTime на основе вашего собственного Telegram-бота:
— Разгрузит мастера, специалиста или компанию;
— Позволит гибко управлять расписанием и загрузкой;
— Разошлет оповещения о новых услугах или акциях;
— Позволит принять оплату на карту/кошелек/счет;
— Позволит записываться на групповые и персональные посещения;
— Поможет получить от клиента отзывы о визите к вам;
— Включает в себя сервис чаевых.
Для новых пользователей первый месяц бесплатно.
Зарегистрироваться в сервисе
Таблица 1

В баллонах и емкостях (2,2 и 4 м3
) упругость паровой фазы или фактическое рабочее давление должно быть не менее 0,035 МПа при плотности пропана ρ = 2
кг/м3
, а для бутана ρ = 2,7 кг/м3
. Для воздуха при нулевой температуре ρ =
1,29 кг/м3
. Это значит, что при утечке паровой фазы жидкого газа из баллона будет наблюдаться явление газослива.
Сжиженные газы должны содержать H2
S не более 5 г на 100 м3
паровой фазы, а запах их должен ощущаться при содержании паров H2
S в воздухе в размере 0,5%.
Воспламенение газов.
Воспламенение газов может происходить только в том случае, если их содержание в газовоздушной смеси находится в определенных пределах, которые называются пределами воспламеняемости или взрываемости.
Существуют верхний и нижний пределы воспламеняемости. Например, для метана нижний предел равен ~5% содержания его в газовоздушной смеси, а верхний ~ 15%. Вне этих пределов метановоздушные смеси не горят и не взрываются.При чрезмерно малом содержании горючего газа в газовоздушной смеси, например, метана менее ~5% теплоты от запального устройства оказывается недостаточно для доведения соседних слоев газовоздушной смеси до температуры воспламенения. В данном случае смесь оказывается «бедной». Она слишком разбавлена балластными компонентами (азотом и кислородом) и вообще не способна к воспламенению. Аналогичное явление происходит в газовоздушной смеси, когда имеется избыточное количество метана (более 15%). Здесь газовоздушная смесь получается «богатой», и для ее нормального воспламенения не хватает О2
, который является окислителем. В табл. 2 показаны пределы воспламеняемости отдельных горючих газов.
Таблица 2

Явления взрыва газов могут возникнуть при нарушении правил розжига переведенных на газ котлов, при негерметичных задвижках газовой аппаратуры и вышедшей из строя защитной автоматики. При этом толка и газоходы котлов могут заполниться взрывоопасной смесью. Если в такую газоопасную среду попадает источник воспламенения, то происходит взрыв.
При взрыве всего объема газовоздушной смеси масса ее тут же превращается в продукты сгорания. Последние, восприняв теплоту реакции взрыва, мгновенно расширяются и оказывают динамическое давление на стенки топки и газоходов. Максимальное давление, возникающее при взрыве смеси природного газа с воздухом, находится в пределах 0,44 — 0,75 МПа. Взрывная волна возникает в топке и распространяется по газоходам практически мгновенно, со скоростью примерно 1 км/с.
2. ГАЗОРАСПРЕДЕЛИТЕЛЬНЫЕ СЕТИ В ГОРОДАХ И ГАЗОРАСПРЕДЕЛИТЕЛЬНЫЕ ПУНКТЫ
От газораспределительной станции (ГРС) природный газ подается в город.
В городах распределительные газопроводы делятся на:
а) газопроводы низкого давления, ρ
до 3000 Па (300 мм вод. ст.);
б) газопроводы среднего давления, 3000 Па <ρ <
0,3 МПа;
в) газопроводы высокого давления 0,3<ρ<0,6 МПа — I ст.,0,6<ρ<1,2МПа — IIст.
Газопроводы низкого давления используются для газоснабжения жилых домов, общественных зданий и мелких коммунально-бытовых предприятий.
Газопроводы среднего и высокого давления (I ступени) служат для питания: ГРП, средних промышленных предприятий, коммунально-бытовых предприятий (бани, механические прачечные, хлебозаводы, крупные столовые и рестораны). Газопроводы высокого давления (0,6<ρ<1,2
МПа) снабжают газом в основном ТЭЦ, ГРЭС, крупные промышленные предприятия.
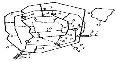
Схемы газоснабжения городов и рабочих поселков разделяются на одно-, двух и трехступенчатые. Для крупных городов применяются многоступенчатые схемы, одна из которых показана на рис. 1.

Рис. 1 Принципиальная схема газоснабжения большого города:
1-магистральные газопроводы, 2-
газораспределительные станции (ГРС); 3 – контрольно-регулировочные пункты (КРП); 4
— газопроводы низкого давления, 5 - газорегуляторные пункты (ГРП), 6 — кольцо газопроводов высокого давления (2 МПа); 7 - кольцо газопроводов высокого давления 1,2 МПа; 8 —
газопроводы высокого давления, 0,6 МПа; 9- кольцо газопроводов среднего давления, 0,3 МПа; 10 -
перемычка, 11
—подземное хранилище газа
Выбор схемы газоснабжения определяется различными факторами, важнейшими из которых являются, размер города, плотность застройки города и концентрация промышленности в нем, перспектива газификации города.
В небольших городах или населенных пунктах с малым расходом газа осуществляется, как правило, одноступенчатая система низкого давления. В средних городах применяются главным образом двухступенчатые системы, а в крупных городах с населением примерно более 1 млн. чел жилыми массивами со зданиями от 5 до 12 этажей и большой концентрацией промышленности применяют многоступенчатые системы (рис. 1). Из магистрального газопровода газ поступает в газорегуляторную станцию, где давление снижается до 2 МПа (при наличии многоступенчатой схемы) и затем газ поступает в сеть высокого давления, которая в виде кольца окружает город. К этому кольцу через контрольно-регулировочный пункт присоединяется подземное газовое хранилище. Это хранилище и газораспределительная станция относятся к системе магистральных газопроводов. Городское газовое хозяйство начинается с кольца высокого давления 1,2 МПа, которое питается от нескольких контрольно-регуляторных пунктов. Затем через газорегуляторные пункты газ последовательно поступает в газопроводы с более низким давлением и наконец от сети низкого давления поступает в жилые дома, общественные здания и коммунально-бытовые предприятия.
В системе газоснабжения города особое место занимают (рис. 2) газорегуляторные установки.
В принципе все указанные редуцирующие установки построены по единому принципу. Газ среднего или высокого давления поступает в газораспределительные пункты и последовательно проходит по основной линии диафрагму (служит для учета потребляемого газа), задвижку, фильтр, предохранительно-запорный клапан, регулятор давления, задвижку и затем выходит в газовую сеть низкого давления. Предохранительно-запорный клапан и регулятор давления соединены с газопроводом низкого давления импульсными линиями. На выходе в сеть низкого давления устанавливается предохранительно-сбросной клапан. Оборудование газораспределительного пункта располагается в отдельно стоящем здании, выполненном из кирпича. Освещение здания естественное (через окна), а в ночное время электрическое во взрывоопасном исполнении. Отопление водяное от местных газовых установок (АГВ-80, АГВ-120) и т. д. Указанные источники тепла устанавливают в изолированном тамбуре. Температуру в помещении поддерживают не ниже 5 °С. Приточно-вытяжная вентиляция должна обеспечивать трехкратный обмен воздуха. Приток воздуха происходит через жалюзейную решетку, а вытяжка через дефлектор ЦАГИ и клапаны для регулирования тяги.
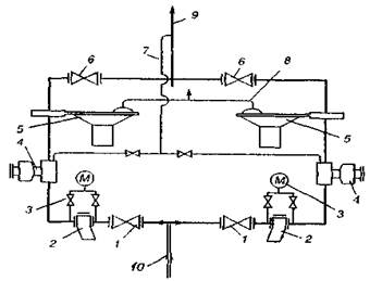
На рис. 3 показана схема шкафного регуляторного пункта, разработанного институтом Мосгазниипроектом. Размеры его 1000 х 1000 х 600 мм.

Рис.3. Схема шкафного регуляторного пункта:
1 — запорный кран; 2 — сетчатый фильтр; 3 — манометр;
4 -
клапан - отсекатель; 5 — регулятор прямого действия;
6
— запорный кран; 7, 8 — импульсная линия; 9 - газовая
сеть
низкого давления; 10 — газовая сеть среднего давле
ния
Он крепится непосредственно к стене здания и состоит из двух одинаковых по исполнению газовых коммуникаций (левой и правой), отключенных друг от друга задвижками. Предположим, что газ с давлением 0,6 МПа входит снизу в левую линию шкафного регуляторного пункта. Тогда он последовательно проходит открытую задвижку, фильтр, предохранительный клапан — отсекатель, регулятор прямого действия и затем входит в сеть низкого давления (3000 Па). В том случае, если в сети низкого давления резко увеличивается значение ρ
(больше 3000 Па), то срабатывает предохранительно-сбросной клапан и выпускает газ в атмосферу. Если значение ρ
и в этом случае не приходит в норму, срабатывает клапан - отсекатель и подача газа в сеть низкого давления прекращается.
Правая линия шкафного регуляторного пункта, которая является зеркальным отражением левой, вводится в действие тогда, когда требуется прочистить фильтр или осмотреть другие узлы левой линии этой редуцирующей установки.
Газораспределительные установки работают по такому же принципу и устанавливают их в котельных различного рода промышленных предприятий.
Газораспределительные станции устанавливаются на конечном участке магистрального газопровода на входе в город. После газораспределительной станции давление газа может снижаться до величины, необходимой городу (2,0; 1,2; 0,6; 0,3 МПа).
3. УСТРОЙСТВО НАРУЖНЫХ ГАЗОПРОВОДОВ
Как правило, на территории городов и населенных пунктов газопроводы прокладываются в земле. Исключение составляют территории промышленных предприятий, где их можно прокладывать по эстакадам и различным переходам сверху проезжей части заводской автотрассы. Надземную прокладку газопроводов производят по наружным несгораемым стенам жилых и общественных зданий. По стенам жилых и общественных зданий допустима прокладка газопроводов с давлением не более 0,3 МПа.
Газопроводы высокого давления можно прокладывать только по сплошным стенам или над окнами верхних этажей производственных зданий. При пересечении надземных газопроводов с воздушными линиями электропередачи они должны проходить ниже линий электропередачи.
Возможна прокладка газопроводов на эстакадах совместно с линиями водопроводов, паропроводов, но при условии обеспечения свободного осмотра и ремонта каждого из названных выше коммуникаций. Расстояния между газопроводом и другими коммуникациями при их совместной прокладке принимают в свете от 100 до 300 мм в зависимости от диаметра. Совместная прокладка газопроводов с электролиниями недопустима, кроме электролиний, проложенных в стальных трубах и бронированных кабелей.
Надземные газопроводы прокладываются с учетом компенсации температурных удлинений, которые зависят от расчетной температуры воздуха. Наиболее просто устранять продольные деформации за счет изгибов газопроводов или п-образной прокладки.
Переход газопроводов через реки, каналы, мелкие озера осуществляют подводным способом с помощью дюкеров. Возможна в этом случае прокладка по мостам или эстакадам. При прокладке дюкерами газопровод обязательно выполняется в две линии, каждая из которых должна иметь 75% расчетного расхода газа. Для тупиковых газопроводов, питающих только промышленные предприятия, дюкер можно прокладывать в одну линию, но лишь в том случае, если эти предприятия имеют резервное топливо (мазут). Подводные переходы погружаются в грунт примерно на 1 м и выполняются с весьма усиленной изоляцией. Чтобы газопровод, проложенный по дну реки, не всплывал, на него по всей длине укладывают железобетонные плиты.
При прокладке наружных газопроводов имеются ограничения. Газопроводы низкого, среднего и высокого давлений нельзя прокладывать по железнодорожным мостам. Однако в ряде случаев газопроводы можно прокладывать по мостам, но при этом их обязательно следует подвешивать с помощью специальных устройств, но так, чтобы была исключена возможность скопления газа в конструкциях моста. Нельзя прокладывать газопроводы под железнодорожными и трамвайными путями, а также автодорогами без футляров.
4. УСТРОЙСТВО ПОДЗЕМНЫХ ГАЗОПРОВОДОВ
Такого рода газопроводы прокладываются главным образом по городским проездам, а также в зоне зеленых насаждений. Расстояния по горизонтали между подземными газопроводами и другими сооружениями должны соблюдаться в соответствии с данными табл. 3.
Таблица 3

При пересечении газопровода с трамвайными путями или при вынужденной прокладке газопровода поперек какого-либо канала применяются футляры из стальных труб, на концах которых устанавливаются контрольные трубки.
Газопроводы выполняют из стальных труб, соединяя их электросваркой. В местах установки газовых приборов, арматуры и другого оборудования применяют фланцевые и резьбовые соединения. Для защиты стальных труб от коррозии перед укладкой в землю их изолируют.
Глубина заложения газопроводов зависит от состава транспортируемого газа. При влажном газе глубину заложения труб принимают ниже средней глубины промерзания грунта для данной местности. Газопроводы осушенного газа можно укладывать в зоне промерзания грунта, но заглубление должно быть не менее 0,8 м от поверхности земли. Газопроводы прокладывают с уклоном не менее 1,5 мм/пог. м, что обеспечивает отвод конденсата из газа в конденсатосборники и предотвращает образование водяных пробок.
Для выключения отдельных участков газопровода или отключения потребителей устанавливается запорная арматура, размещаемая в колодцах.
При изменениях температурных условий на газопроводе появляются растягивающие усилия, которые могут разорвать сварной стык или задвижку. Чтобы избежать этого, на газовых сетях и, в особенности у задвижек, устанавливают линзовые компенсаторы, воспринимающие эти усилия. Кроме восприятия температурных деформаций компенсаторы позволяют легко демонтировать
и заменять задвижки и прокладки, так как компенсатор при помощи особых приспособлений можно сжать или растянуть. Линзовые компенсаторы устанавливают в одном колодце с задвижками, причем располагают их после задвижек, считая по ходу газа (рис. 4).
Газопроводы низкого давления (до 5000 Па) можно прокладывать в подземных коллекторах совместно с другими коммуникациями. Их можно прокладывать также в полупроходных каналах между жилыми и общественными зданиями (в «сцепках» для совместной прокладки инженерных сетей). Проходные и полупроходные каналы должны быть оборудованы постоянно действующей естественной вентиляцией. Прокладка газопроводов в непроходных каналах совместно с другими трубопроводами и кабелями недопустима.
При прокладке нескольких газопроводов в одной траншее расстояние между ними в свете должно быть не менее 0,4 м при диаметре труб до 300 мм и не менее 0,5 м при диаметрах более 300 мм.
Глубина заложения газопровода на проездах с усовершенствованным покрытием (асфальтобетонным, бетонным) должна быть не менее 0,8 м, а на участках без усовершенствованных покрытий — не менее 0,9 м до верха трубы. В местах, где нет движения транспорта, она может быть уменьшена до 0,7 м.
Отключающие устройства на газопроводах устанавливают в следующих случаях.
На распределительных газопроводах низкого давления для отключения отдельных микрорайонов и газопроводах среднего и высокого давления, проложенных на отдельных участках. На ответвлениях от распределительных газопроводов всех давлений к предприятиям и группам жилых и общественных зданий; отключающие устройства на ответвлениях от распределительных газопроводов устанавливают вне территории объекта ближе к распределительному газопроводу и не ближе двух метров от стены здания или ограждения. Отключающие устройства устанавливают в удобном и доступном для обслуживания месте, например, они монтируются на вводах и выводах газопровода из газорегуляторных пунктов не ближе 5 м, но не далее 100 м. Для газо-регуляторных пунктов, размещаемых в пристройках к зданиям, а также в шкафах, возможна установки отключающего устройства на наружном надземном газопроводе и удобном для обслуживания месте, но на расстоянии не менее 5 м. Отключающие устройства обязательно устанавливаются на пересечении газопроводами водных преград, железнодорожных путей, магистральных автомобильных дорог, при прокладке газопроводов в коллекторах (на входе и выходе из него), на вводах газопроводов в отдельные жилые общественные и производственные здания, на подземных газопроводах в колодцах с линзовыми компенсаторами.
Для удобства эксплуатации и ремонта газовых сетей на них монтируют специальную арматуру: компенсаторы, конденсатосборники, контрольные трубки, задвижки.
В связи с тем, что в грунте температурные колебания незначительны, компенсаторы фактически способствуют только удобству монтажа и демонтажа задвижек. Наиболее широко распространены линзовые компенсаторы (рис. 5)

Рис. 5. Линзовый компенсатор:
1 — патрубок, 2— фланец, 3— рубашка, 4 — полулинза, 5— ребро, 6— лапа, 7 — гайка, 8 — тяга
На газопроводах диаметром 100 мм и менее в колодцах устанавливаются гибкие компенсаторы. При скоплении конденсата в газопроводах в них нарушается нормальное движение газа. Для отвода конденсата из пониженных точек газовой сети применяют конденсатосборники (рис. 6)

Рис. 6. Конденсатосборники:
а — высокого давления, б — низкого давления;1—кожух, 2-внутренняя трубка, 3 — контакт, 4- контргайка, 5 — кран, 6-ковер, 7-пробка, 8-подушка под ковер железобетонная, 9- электрод заземления, 10 — корпус конденсатосборника, 11 - газопровод, 12- прокладка, 13 – муфта, 14-стояк.
которые устанавливают в сетях низкого, среднего и высокого давления. В первом случае конденсат выкачивают насосом, во втором случае удаляют под давлением газа.
5. УСТРОЙСТВО ВНУТРИДОМОВЫХ ГАЗОПРОВОДОВ
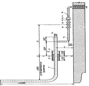
Внутридомовые газопроводы служат для передачи природного газа от газорегуляторных пунктов к газовым приборам жилых домов (газовые плиты, быстродействующие или емкостные водонагреватели). Ответвления и дворовые разводки всегда рассматриваются как составная часть газооборудования жилых комплексов. В этих газопроводах поддерживается всегда низкое давление газа до 3000 Па. Газоснабжение жилых домов осуществляется от уличных газопроводов низкого давления. Цокольный ввод газопровода в здание показан на рис. 7.

Рис. 7. Цокольный ввод газопровода в здание:
1 —
цокольный отвод; 2 — отвод 90°; 3 — пробка; 4 — футляр; 5 — контргайка; 6 — кран; 7 — муфта; 8 — сгон; 9— просмоленная пакля; 10 — битум
Основными элементами системы газоснабжения дома является ответвления от городских (уличных) газопроводов, дворовые газопроводы, вводы, стояки, квартирные газопроводы.
Ответвления служат для подачи газа из уличного газопровода к дому. На тротуаре или у линии застройки домов на ответвлении обычно монтируется отключающее устройство. Если по ответвлению подача газа должна осуществляться в несколько точек подъездов или корпусов, то ответвление образует дворовую разводку. Подвальных разводов стараются избегать и от цокольного ввода по наружной стене здания проводят кольцевой газопровод, от которого он отпочковывается в лестничные клетки. Вводы могут устраиваться непосредственно в кухнях.
Газовые стояки служат в жилых домах для подачи газа в квартирные разводки. Стояки проходят через все этажи вертикально. Они выполняются только из стальных труб на сварке.
Прокладка стояков в жилых домах производится в кухнях. Все газовые стояки в верхней части должны заканчиваться пробками, после вывертывания которых через шланг производится продувка системы для удаления газовоздушной смеси при первичном пуске газа. Если стояк обслуживает 2 этажа и более, то у основания стояка должен быть установлен отключающий кран. В целях предотвращения повреждения газопроводов при осадке зданий, а также защиты стояков от коррозии в местах пересечения трубами междуэтажных перекрытий и лестничных площадок их необходимо прокладывать в футлярах (гильзах) большего диаметра. Нижний обрез футляра устанавливается заподлицо, снизу перекрытия, а верхний конец выводится на 5 см выше пола или лестничной площадки. Пространство между газопроводом и футляром заделывается просмоленном прядью с битумом, а сам футляр — цементом.
Квартирная разводка (рис. 8) служит для подачи газа от стояков к газовым приборам.

Рис. 8. Квартирная разводка газопровода:
1
— дверка для чистки газохода; 2 - ввод газохода; в дымовой канал; 3 - стояк газопровода; 4 — кран; 5 — сгон, б — газовая плита; 7 — ванна; 8 — быстродействующий газовый водонагреватель
Она состоит из квартирных вводов (при расположении стояков в лестничных клетках), разводящих газопроводов и опусков к приборам. Все разводящие линии прокладываются с уклоном не менее 0,001 к стояку и приборам. Опуски к приборам должны выполняться отвесно. Газопроводы разрешается прокладывать только по нежилым помещениям (кухни, коридоры). Перед каждым газовым прибором на опуске должен быть установлен кран. При открытой прокладке внутри помещения должны соблюдаться определенные расстояния от строительных конструкций.
Газопроводы не должны пересекать оконные и дверные проемы. В жилых зданиях газопроводы крепят к стенам с помощью крюков вбитых в стену. При диаметре трубы более 40 мм крепление газопроводов выполняют с помощью кронштейнов. Расстояние между опорами принимают примерно 2,5 м при диаметре трубы 15 мм; 3,5 м при диаметре трубы 25 мм; 5 м при диаметре трубы 50 мм. Зазор между трубами и стеной выполняют 2 см.
ЗАКЛЮЧЕНИЕ.
Приемка законченного строительством объекта системы газоснабжения, сооруженного в соответствии с проектом и требованиями СНиП 3.05.02 — 88, должна производиться приемочной комиссией в соответствии с действующими правилами. В состав приемочной комиссии включаются представители: заказчика (председатель комиссии), генерального подрядчика и эксплуатационной организации (предприятия газового хозяйства или газовой службы предприятия). Представители органов Госгортехнадзора Российской Федерации включаются в состав приемочной комиссии при приемке объектов, подконтрольных этим органам.
Генеральный подрядчик на каждый законченный строительством объект системы газоснабжения предъявляет приемочной комиссии в одном экземпляре следующую исполнительную документацию: комплект рабочих чертежей на строительство предъявляемого к приемке объекта с надписями, сделанными лицами, ответственными за производство строительно-монтажных работ, о соответствии выполненных в натуре работ этим чертежам или внесенным в них проектной организацией изменениям; сертификаты заводов-изготовителей или их копии, заверенные лицом, ответственным за строительство объекта на трубы, фасонные части и другие, которые использовались при строительстве; технические паспорта заводов-изготовителей или их копии на оборудование, узлы, соединительные детали, изоляционные покрытия, изолирующие фланцы, арматуру диаметром свыше 100 мм, а также другие документы, удостоверяющие качество оборудования; инструкции заводов-изготовителей по эксплуатации газового оборудования и приборов; строительный паспорт и протоколы проверки качества сварных стыков по формам СНиП 3.05.02 — 88; акт разбивки и передачи трассы (площадки) для подземного газопровода; журнал учета работ (для подземных газопроводов протяженностью свыше 100 м) — по требованию заказчика; акт приемки предусмотренных проектом установок электрохимической защиты (для подземных газопроводов); акты приемки скрытых и специальных работ, выполненных в соответствии с договором-подрядом для газораспределительных пунктов и котельных; акт приемки газооборудования для проведения комплексного опробования (для предприятий и котельных). Приемочная комиссия должна проверять представленную исполнительную документацию и соответствие смонтированной системы газоснабжения этой документации, требованиям СНиП 3.05.02 — 88 и «Правил безопасности в газовом хозяйстве» Госгортехнадзора РФ.
Приемка законченного строительством объекта системы газоснабжения оформляется актом, который подписывают представители генерального подрядчика, эксплуатационной организации и Госгортехнадзора РФ.
СПИСОК ЛИТЕРАТУРЫ.
1. Инженерные сети, оборудование зданий и сооружений: Учебник/ Е.Н.Бухаркин, В.М.Овсянников, К.С.Орлов и др.; Под ред. Ю.П.Соснина.- М.: Высшая школа, 2001.-415с.
2. Тихомиров К.В. Теплотехника, теплогазоснабжение и вентиляция: Учебник для вузов.- 3-е изд., перераб. и доп.- М.: Стройиздат, 1981.- 272с.
|