| МИНИСТЕРСТВО НАУКИ И ОБРАЗОВАНИЯ РОССИЙСКОЙ ФЕДЕРАЦИИ
ЮГОРСКИЙ ГОСУДАРСТВЕННЫЙ УНИВЕРСИТЕТ
ИНСТИТУТ ЭКОНОМИКИ И ФИНАНСОВ
КАФЕДРА ЭКОНОМИКИ И УПРАВЛЕНИЯ НА ПРЕДПРИЯТИИ
КУРСОВАЯ РАБОТА
на тему: «Оценка эколого-экономического ущерба окружающей природной среде при проектировании напорного нефтепровода от Галяновского месторождения на Каменное месторождение ОАО «Гипротюменнефтегаз»
г. Ханты-Мансийск, 2007
Содержание
Введение
1. Общие сведения о нефтепроводе, как источнике воздействия на окружающую среду
1.1 Нефтепроводы и их назначение
1.2 Охрана окружающей природной среды при обустройстве нефтепровода
2. Воздействие при строительстве и эксплуатации напорного нефтепровода на компоненты окружающей среды
2.1 Воздействие на растительность
2.2 Воздействие на почвы
2.3 Воздействие на животный мир
2.4 Структура расселения и сложившейся формы природопользования на территории работ
3. Определение эколого-экономического ущерба при строительстве и эксплуатации напорного нефтепровода
3.1 Оценка ущерба древесным ресурсам
3.2 Оценка ущерба недревесным растительным ресурсам
3.3 Оценка ущерба охотничье-промысловому хозяйству
3.4 Оценка воздействия на хозяйственную деятельность местного населения
Заключение
Приложение
Введение
При освоение и эксплуатации нефтегазопромысловых месторождений существенной трансформации подвергаются все компоненты окружающей природной среды (атмосферный воздух, поверхностные и подземные воды, рельеф, почвенно-растительный покров, животный мир).
В сферу техногенного воздействия при разработке нефтепромысловых месторождений вовлекаются не только базовые ресурсы (нефть, газ), но и сопутствующие ресурсы: водные, земельные, лесные, пастбищные, ресурсы местных строительных материалов (песок, торф) и т.д. в результате происходит снижение ценности ресурсов:
- почвенно-растительных – в результате захламления, загрязнения поверхности почвы, уничтожения растительного покрова, изменения гидрологического режима болот;
- водных – за счет изменения водосборных площадей, загрязнения их нефтепродуктами, высокоминерализованными водами, химреагентами, хозяйственно-бытовыми стоками;
- земельных – как следствие различного вида нарушений и загрязнений;
- охотничье-промысловых и рыбопромысловых – в результате разрушения местообитаний, трофических и миграционных связей в биоценозах и сопутствующего нефтепромысловому освоению браконьерства.
Забиваем Сайты В ТОП КУВАЛДОЙ - Уникальные возможности от SeoHammer
Каждая ссылка анализируется по трем пакетам оценки: SEO, Трафик и SMM.
SeoHammer делает продвижение сайта прозрачным и простым занятием.
Ссылки, вечные ссылки, статьи, упоминания, пресс-релизы - используйте по максимуму потенциал SeoHammer для продвижения вашего сайта.
Что умеет делать SeoHammer
— Продвижение в один клик, интеллектуальный подбор запросов, покупка самых лучших ссылок с высокой степенью качества у лучших бирж ссылок.
— Регулярная проверка качества ссылок по более чем 100 показателям и ежедневный пересчет показателей качества проекта.
— Все известные форматы ссылок: арендные ссылки, вечные ссылки, публикации (упоминания, мнения, отзывы, статьи, пресс-релизы).
— SeoHammer покажет, где рост или падение, а также запросы, на которые нужно обратить внимание.
SeoHammer еще предоставляет технологию Буст, она ускоряет продвижение в десятки раз,
а первые результаты появляются уже в течение первых 7 дней.
Зарегистрироваться и Начать продвижение
Закономерным итогом массированного потребления ресурсов является появление и функционирование на территории технических объектов – зимников, карьеров песка и торфа, трубопроводов, автодорог с твердым покрытием и т.д.
Проектом, который рассматривается в данной курсовой работе, предусмотрено строительство следующих объектов:
- нефтепровода с УПН Галяновского месторождения на ЦПС Каменного месторождения;
- площадок узлов задвижек, узлов пуска и приема очистных устройств монтажных площадок, вертолетной площадки, узла учета нефти, площадки связи;
- подъезды к узлам задвижек.
При строительстве и эксплуатации трассы проектируемого нефтепровода можно выделить следующие виды антропогенного воздействия:
- механические;
- технологические.
Механические факторы связаны преимущественно с комплексом строительных работ:
- планировкой поверхности;
- отсыпкой площадок и насыпей подъездов;
- прокладкой траншей под трубопроводы;
- строительно-монтажные работы.
При проведении строительных работ и в процессе эксплуатации трассы нефтепровода существенным механическим фактором негативного воздействия на почвенно-растительный покров являются нерегламентированные проезды техники вне организованных проездов.
Следствием проводимых строительных работ является:
- уничтожение и нарушение почвенно-растительного покрова;
- возникновение антропогенных типов ландшафтов и новых биологических сообществ на их месте;
- изменение условий поверхностного и грунтового стока, приводящие к подтоплению либо осушению участков и смене растительных группировок;
- изменение путей миграции животных;
- изменение условий снегонакопления.
Технологические факторы антропогенного влияния выражаются в загрязнении окружающей среды. На этапе строительства основными источниками поступления загрязняющих веществ в окружающую среду являются выбросы загрязняющих веществ от работающей техники, разливы ГСМ. На этапе эксплуатации основным источником загрязнения могут являться разливы нефтепродуктов при аварийных ситуациях.
Помимо перечисленных факторов негативного воздействия на окружающую среду при строительстве и эксплуатации проектируемых объектов характерно шумовое воздействие на биологические комплексы. Различна лишь интенсивность воздействия (наибольшая – на стадии строительства).
Сервис онлайн-записи на собственном Telegram-боте
Попробуйте сервис онлайн-записи VisitTime на основе вашего собственного Telegram-бота:
— Разгрузит мастера, специалиста или компанию;
— Позволит гибко управлять расписанием и загрузкой;
— Разошлет оповещения о новых услугах или акциях;
— Позволит принять оплату на карту/кошелек/счет;
— Позволит записываться на групповые и персональные посещения;
— Поможет получить от клиента отзывы о визите к вам;
— Включает в себя сервис чаевых.
Для новых пользователей первый месяц бесплатно.
Зарегистрироваться в сервисе
Важнейшим поражающим окружающую среду фактором выступает поведение персонала промысла на всех стадиях освоения территории. Оно проявляется в разных формах – от неквалифицированной эксплуатации машин и оборудования до прямого браконьерства. Особому антропогенному прессу подвергается растительность, животный мир и ихтиофауна. Помимо прямого влияния на эти компоненты (сбор дикоросов, отстрел животных и птиц. Вылов рыбы) существенно и косвенное влияние присутствия человека: шум, вытаптывание, обеднение флоры и фауны отдельными видами, являющимися объектами сбора или отстрела, пожары, мусор и пр.
В связи с этим при проектировании нефтегазопромысловых объектов должны быть использованы современные технологии и технические средства, наиболее экологически приемлемые для конкретных природных условий территории размещения проектируемых объектов, направленные на повышение эксплуатационной надежности проектируемых объектов, предотвращение и уменьшение негативного воздействия на окружающую среду.
Целью курсовой я поставила - оценку эколого-экономического ущерба окружающей природной среде при проектировании напорного нефтепровода от УПН Галяновского месторождения на ЦПС Каменного месторождения ОАО Гипротюменнефтегаз, а также изучение воздействия данного проекта на окружающую среду.
Задачи данной курсовой:
- изучить теоретические аспекты, связанные со строительством и эксплуатацией нефтепровода;
- осветить воздействие данного проекта на окружающую среду;
- оценить эколого-экономический ущерб проектируемых объектов на окружающую среду;
- сделать выводы по данному проекту.
1. Общие сведения о нефтепроводе, как источнике воздействия на окружающую среду
1.1 Нефтепроводы и их назначение
Наиболее экономичный вид транспорта нефти и нефтепродуктов –трубопроводный.
Преимущество этого вида транспорта:
1. Низкая себестоимость транспорта продукции на значительные расстояния;
2. Непрерывность подачи продукции;
3. Широкая возможность для автоматизации;
4. Уменьшение потерь нефти и нефтепродуктов при их транспортировании;
5. Возможность прокладки трубопроводов по кратчайшему расстоянию, если это экономически целесообразно.
Трубопроводы, перекачивающие продукцию на значительные расстояния, называются магистральными.
Магистральные трубопровода в зависимости от перекачиваемой жидкости соответственно называются: нефтепроводами - при перекачке нефти; нефтепродуктопроводами - при перекачке жидких нефтепродуктов.
Нефтепровод состоит из следующих звеньев:
1. трубопровода;
2. одной или нескольких насосных станций;
3. средств связи.
Нефтепровод характеризуется следующими показателями: длиной, диаметром, пропускной способностью и числом перекачивающих станций.
Современные нефтепроводы, протяженность которых достигает более 1000 км, представляют собой самостоятельные транспортные предприятия, оборудованные комплексом головных, промежуточных перекачивающих (насосных) статей большой мощности, а также наливными станциями со всеми необходимыми производственными и вспомогательными сооружениями. Пропускная способность их достигает 50 млн. тонн нефти в год и более. Сооружают такие нефтепроводы преимущественно из стальных труб условным диаметром 500, 700, 300, 1000,1200 и 1400 мм.
При транспорте нефти и нефтепродуктов на большие расстояния приходится преодолевать значительные гидравлические сопротивления в нефтепроводе. Поэтому, если одна перекачивающая насосная станция не может обеспечить нормальный режим перекачки при заданном давлении, то строят несколько станций по длине нефтепровода.
Трубопроводный транспорт, наряду с экономичностью, обеспечивает круглогодичную работу и почти не зависит от природных условий, чем выгодно отличается от других видов транспорта. В связи с этим с каждым годом увеличивается протяженность магистральных трубопроводов.
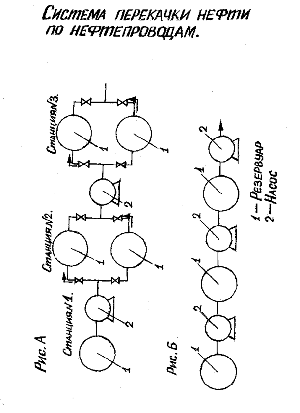
По принципу перекачки продукций на практике применяют две системы: постанционную и транзитную.
Постанционная система перекачки характеризуется тем, что нефть или нефтепродукты поступают в резервуары промежуточных перекачивающих станций, заполняют их, а затем откачиваются на следующую станцию (приложение №1, рисунок А). Если на станции расположено несколько резервуаров, то перекачка продукции осуществляется беспрерывно: в один резервуар продукция поступает, а из другого откачивается в нефтепровод.
Транзитная система перекачки может осуществляться через резервуар и из насоса в насос.
При перекачке через резервуар продукция из предыдущей насосной станции направляется на следующую насосную станцию через резервуар, предназначенный для отделения газа или воды от нефти (приложение №1, рисунок Б).
Перекачка из насоса в насос заключается в том, что продукт с предыдущей насосной станции направляется непосредственно на следующую насосную станцию, минуя промежуточной резервуар, который подключается параллельно нефтепроводу /рис. В/. Эта схема перекачки наиболее совершенна и экономична, так как при этом обеспечивается максимальная герметизация системы и исключаются потери от испарения в промежуточных резервуарах. Последние при этой системе могут сооружаться в минимальном объеме и то лишь для освобождения нефтепровода при пуске или ремонте.
При всех видах транзитной перекачки нефти и нефтепродуктов нефтепровод оснащается необходимыми средствами местной автоматики; многие нефтепроводы имеют дистанционное управление.
Нефтепровод подобно железнодорожному пути нуждается в специальном техническом надзоре. Весь нефтепровод разбивается на отдельные участки, каждый из которых закрепляется за определенной насосной станцией. Такой участок делится в свою очередь на ряд более мелких участков, и к каждому из них прикрепляют линейных обходчиков, которые осуществляют контроль за нефтепроводом.
На каждой станции, кроме обслуживающего эксплуатационного персонала, имеются также ремонтные бригады. В их распоряжении все необходимые механизмы для ремонта нефтепровода и ликвидации возможных аварий: тракторы-трубоукладчики, экскаваторы, бульдозеры, сварочные агрегаты и т.д.
Трубопроводы, применяемые на нефтяных месторождениях, подразделяются на виды:
1. По назначению - нефтепроводы, газопроводы, нефтегазопроводы, водопроводы. В нефтепроводах и нефтегазопроводах наряду с нефтью или нефтью и газом может двигаться и пластовая вода.
2. По функции - выкидные линии и коллекторы. Скидные линии - это трубопроводы, проходящие от устья скважин до групповых замерных установок. Коллекторы - это трубопроводы, собирающие продукцию скважин от групповьгх установок к сборные пунктам.
3. По величине рабочего давления - низкого давления до 1,6 МПа, среднего давления от 1,6 до 2,5 МПа и высокого давления выше 2,5 МПа. Трубопроводы среднего и высокого давления напорные. Трубопроводы низкого давления могут быть напорными и самотечными. Если в самотечных трубопроводах движение жидкости происходит при полном заполнении объема трубы, то движение напорно-самотечное, если же заполнение неполное, то движение свободно-самотечное. Свободно-самотечное движение возможно в наклонных трубопроводах с постоянным уклоном на спуск.
4. По гидравлической схеме работы - простые и сложные. Простые трубопроводы, имеющие неизменные диаметр и массовый расход транспортируемой среды по всей длине. Сложные - трубопроводы, имеющие различные ответвления или изменяющийся по длине диаметр. Сложные трубопроводы можно разбить на участки, каждый из которых является простым трубопроводом.
5. По способам прокладки - подземные, надземные и подводные.
1.2 Охрана окружающей природной среды при обустройстве нефтепровода
Сооружение объектов нефтегазопромыслов оказывает существенное влияние на окружающую природу, поэтому необходимо комплексное обеспечение экологической безопасности, учитывать уязвимость природной среды, не вступать в противоречия с естественными закономерностями, чтобы не вызвать необратимых процессов. Особенно это заметно в условиях освоения нефтяных и газовых месторождений Крайнего Севера, Западной Сибири, в зонах слабых с точки зрения экологической устойчивости и способности к самогенерации (тундровые биогеоценозы Ямбурга и Ямала). В настоящие время все проекты обустройства нефтяных и газовых месторождений включают в себя раздел «Охрана природы», однако более детально природоохранные мероприятия предусматриваются в проектах производства работ. При проектировании и подготовке проектов производства работ принимают непосредственное участие и такие специалисты, как геологи, географы, этнографы, биологи, экономисты, социологи.
В решении сложных вопросов экологии при обустройстве нефтепромыслов большая роль принадлежит научно-исследовательским организациям смежных отраслей промышленности.
В проектно-сметной документации обустройства предусматриваются специальные меры природоохранной инженерной подготовки, а также комплексные восстановительные работы (рекультивация), учитывающие особенности характера работ при обустройстве нефтяных и газовых месторождений. Природоохранных мероприятия, особенно при освоении месторождений северных районов, предусматривают долгосрочные планы и проекты и могут обусловить большие объемы капиталовложений, которые, на первый взгляд, могут казаться неоправданными, но в перспективе позволят избежать негативных последствий вмешательства в природные процессы, а также обеспечить высокую надежность и безопасность работы нефтегазопромысловых сооружений.
Освоение нефтяных и газовых месторождений резко выдвигает экологические проблемы в ряд важнейших, требующих глубокого и всестороннего изучения, превращения природоохранной деятельности в основной производственный компонент всех трудовых процессов.
При комплексном подходе к проблемам охраны окружающей среды на обустройстве нефтяных и газовых месторождений необходимо рассматривать не только собственно технологический уровень строительно-монтажных работ, но и все возможные факторы, связанные с освоением нефтяных и газовых месторождений.
Природоохранную программу условно можно подразделить на мероприятия, проектами производства строительно-монтажных работ, условиями эксплуатации объектов, зданий и сооружений.
Воздействие нефтегазопромыслового строительства на природу может привести к изменению нормального функционирования элементов окружающей среды, температурного режима грунтов, активизации геокриологических процессов, нарушению целостности почвенно-растительного слоя в зоне строительства сооружений, развитию эрозионных процессов, нарушению земельного фонда лесов, ухудшения состояния водных объектов. Эти явления могут привести к изменению среды обитания животных, рыб, ухудшению их воспроизводства.
Утечки нефти, газа, конденсата приводят к пожарам, нефть и конденсат, впиваясь в грунт, губят верхние слои почвы, при испытании их атмосфера загрязняется легкими углеводородами; в отдельных случаях нефть и конденсат непосредственно попадают в водоемы, при этом могут загрязняться и подземные воды. Загрязнителями окружающей среды при обустройстве газовых месторождений могут быть компоненты (природные газы: метан, этан и др.; выхлопные газы газоперекачивающих агрегатов); жидкости (пластовые конденсационные поверхностные воды, углеводородный конденсат, минеральные масла, метанол, органические кислоты, поверхностно-активные вещества). Химические реагенты, применяемые для подготовки воды и чистки технологической аппаратуры, другие вещества (ртуть, применяемая в расходомерах); твердые компоненты (гидраты углеводородов, строительного мусора, гранита, ржавчины, загрязненные нефтепродуктами).
В целях сокращения вредных выбросов в атмосферу и защиты окружающей среды проектами обустройства нефтяных месторождений, в том числе и с содержанием агрессивных компонентов в продукции скважин, предусматриваются следующие мероприятия:
- применение однотрубной герметизированной системы сброса, транспорта и подготовки нефти и газа;
- исключение постоянных выбросов на факел сероводородсодержащих углеродных газов;
- проведение постоянного автоматического контроля содержания вредных веществ в воздухе рабочей зоны в местах максимально возможного их появления;
- автоматизация и телемеханизация технологических процессов, предусматривающая возможность аварийной ситуации;
- ввод ингибитора коррозии в продукцию скважин;
- применение коррозионно-стойкого нефтепромыслового оборудования;
- использование труб с утолщенной стенкой для строительства промысловых и технологических трубопроводов;
- прокладка трубопроводов должна осуществляться по возможности на малоценных или непригодных для сельскохозяйственных целей землях и лесах малоценных пород;
- очистка бытовых, производственных и дождевых сточных вод, внедрение замкнутых систем водного хозяйства, без сброса сточных вод в водоемы, организация оборотных циклов;
- утилизация очистных сточных вод путем их закачки в продуктивные горизонты с целью поддержания пластового давления;
- устройство обвалования по периметру одиночных скважин, кустов скважин или группы скважин, резервуаров для нефти;
- применение кустового метода бурения скважин;
- рациональное решение генерального плана площадки строительства;
- прокладка коммуникаций в коридорах , гидравлическое испытание их после монтажа, контроль сварки трубопроводов гамма - лучами;
- сброс нефти и газа с предохранительных клапанов, замерных установок, сепараторов и других аппаратов, работающих под давлением, в дренажные емкости или на специальные свечи;
- сброс с помощью инвентарных металлических поддонов утечек нефти при подземном ремонте скважин и отвод в дренажную канализационную емкость.
Воздействие строительства нефтегазопромыслов на природные комплексы может носить постоянный и временный характер. Временное воздействие нефтегазопромыслового строительства происходит непосредственно в процессе производства работ. Факторами временного воздействия являются большое количество различных отходов, образующихся при производстве работ, шумы от строительной техники и транспортных средств, загрязнение водоемов, рек, озер при прокладке трубопроводов, вырубка леса. Загрязнение и разрушение почвенного слоя может быть не только механическим и тепловым, но также микробиологическим, химическим, радиоактивным и радиохимическим.
Одним главным природоохранным мероприятий, которые будут также служить и повышению надежности работы нефтегазопромысловых сооружений на участках развитых суффозионно-карстовых явлений, могут быть:
- непременное сохранение бронирующего чехла отложений на карстующихся породах;
- восстановление дернового покрова и растительности, т.е. искусственное создание благоприятных условий для поверхностного, а не грунтового стока;
- обязательная борьба с оврагами;
- укрепление склонов, проведение противооползневых мероприятий.
Важным фактором является организация экологического контроля функции и объемы работ должны быть возложены не только на службу экологического контроля, но и на другие контролирующие и инспектирующие организации (службы контроля качества строительно-монтажных работ, технадзора заказчика, авторский надзор на строительстве природоохранных объектов, общественные организации, общества и др.).
Формы экологического контроля – мониторинг – способ постоянного наблюдения за динамикой развития экологической системы с использованием технических средств сбора и обработки информации, эффективно используется и при обустройстве нефтегазопромыслов. В системе мер защиты природы рационального использования ее ресурсов важное место занимает повышение уровня экологического образования и воспитания участников строительства.
2. Воздействие при строительстве и эксплуатации напорного нефтепровода на компоненты окружающей среды
2.1 Воздействие на растительность
Воздействие на растительный покров при производстве строительных работ и эксплуатации нефтепровода может осуществляться в нескольких направлениях:
- непосредственное уничтожение растительного покрова в пределах полосы отвода;
- механические повреждения древостоя, подроста, подлеска, напочвенного покрова на площадках, сопредельных с полосой отвода;
- нарушение гидрологического режима территории и, как следствие этого, изменение структуры фитоценоза;
- захламление территории порубочными остатками и строительными отходами;
- химическое загрязнение нефтепродуктами при аварийных ситуациях и в результате этого уничтожение и изменение растительных группировок;
Повышение пожароопасности, уничтожение и нарушение растительности в результате пожара.
При нефтедобыче возможны ситуации, когда воздействует либо один фактор, либо их совокупность.
Механическое воздействие.
Механические нарушения составляют основную долю всех видов воздействий при обустройстве территории. Следует отметить тот факт, что проектируемый нефтепровод на отдельных участках идет вдоль существующей трассы автодороги, что позволяет существенно снизить отрицательное воздействие на растительный покров за счет уменьшения площадей нарушения.
Растительный покров будет нарушен на площади 176,7004 га. Распределение площади нарушений по типам растительности показано в таблице 1.
Таблица 1 - Распределение площади нарушения по типам растительности
| Номера экосистем
|
Типы растительности
|
Площадь нарушения, га
|
Доля от общей площади нарушения, %
|
| 1
|
2
|
3
|
4
|
| 1а
|
Кедрово-сосново-еловые с примесью мелколственных пород зеленомошно-кустарничковые леса
|
2,826
|
1,60
|
| 1б
|
Кедрово-елово-березовые долгомошно-сфагновые леса
|
1,3887
|
0,79
|
| 1в
|
Маловозрастные кедро-сосново-еловые с примесью мелколиственных пород, пихты зеленомошно-кустарничковые леса
|
9, 0138
|
5,10
|
| 2а
|
Елово-кедрово-березовые с лиственницей кустарничково-зеленомошные леса
|
2,9323
|
1,66
|
| 2б
|
Елово-кедрово-березовые долгомошно-сфагновые леса
|
0,3296
|
0,19
|
| 3а,3б,3в
|
Сосново-березово-осиновые, сосново-кедрово-березовые зеленомошно-кустарничковые леса
|
15,3922
|
8,71
|
| 1
|
2
|
3
|
4
|
| 3г
|
Сосново-кедрово-елово-березовые кустарничково-сфагновые леса
|
3,598
|
2,04
|
| 3д
|
Маловозрастные сосновые с участием кедра, ели, мелколиственных пород травяно-кустарничковые леса с единичными сохранившимися старовозрастными деревьями
|
13,4719
|
7,62
|
| 4а,4б
|
Лиственнично-елово-березовые, Лиственнично-березово-осиновые зеленомошно-кустарничковые леса
|
8,1903
|
4,63
|
| 5а,5б
|
Березовые, березово-осиновые с участием сосны, березово-еловые мелкотравно-зеленомошно-кустарничковые леса
|
31,5192
|
17,84
|
| 5в,7б
|
Березовые с участием темнохвойных пород и лиственницы травяно-моховые леса
|
7,2036
|
4,08
|
| 6а
|
Осиново-березово-сосновые, осиново-березово-еловые кустарничково-зеленомошные леса
|
14,9062
|
8,44
|
| 6б
|
Молодые (11-20 лет) осиново-березово-еловые кустарничково-зеленомошные леса
|
2,3863
|
1,35
|
| 8б
|
Пойменные елово-березовые примесью кедра, сосны зеленомошно-мелкотравные леса в сочетании с травяно-болотными по заболоченным участкам
|
2,0404
|
1,15
|
| 1
|
2
|
3
|
4
|
| 8в
|
Пойменные березовые с участием темнохвойных пород зеленомошно-мелкотравные леса
|
0,3926
|
0,22
|
| 8г
|
Пойменные березово-еловые травяно-болотные леса с участками низинных болот
|
0,138
|
0,08
|
| 9а,9г
|
Пойменные луговые, лугово-кустарниковые сообщества
|
41,5136
|
23,49
|
| 9в
|
Песчаные отмели, наносы, пляжи с первичным группировками растительности
|
2,6255
|
1,49
|
| 9д
|
Пойменные ивняки кустарниковые с участием березы и осины и злаково-разнотравным покровом
|
2,0656
|
1,17
|
| 10а
|
Грядово-мочажинные травяно-мохово-кустарничковые болота с редким участием древостоя
|
4,2107
|
2,38
|
| |
Пойменные озера
|
0,4273
|
0,24
|
| |
Русла рек
|
8,7861
|
4,97
|
| |
Антропогенно нарушенные участки
|
1,3465
|
0,76
|
| Итого
|
|
176,7044
|
100,00
|
В результате строительства проектируемых объектов в основном будут нарушены лесные сообщества (65,5% от общей площади нарушения). Леса территории района работ преимущественно относятся к лесам 3 группы.
На сопредельных с площадками строительства участках за счет вытаптывания возможно угнетение напочвенного покрова и снижение продуктивности ягодников, повышение пожароопасности. При производстве строительных работ необходимо соблюдение норм земельного отвода, сохранение растительности на прилегающих к площади отвода участках в естественном состоянии, соблюдение противопожарных мероприятий.
Прокладка трассы нефтепровода в пределах лесных сообществ не приведет к значительным изменениям в видовом составе растительных сообществ на сопредельных участках. После завершения строительных работ проектом предусмотрено проведение рекультивации в полном объеме.
Нефтезагрязняющее воздействие.
Основными взрыво- и пожароопасными, вредными и токсичными и токсичными веществами, находящимися в производстве, являются: нефть, нефтяной попутный газ, ингибиторы коррозии.
При эксплуатации проектируемых трубопроводов в нормальном режиме воздействие на растительный покров будет минимальным. Исключение составляют возможные разливы нефтепродуктов в случае аварийных ситуаций. Условия произрастания растений на землях, загрязненных нефтью, являются неблагоприятными. Данные участки требуют проведения полного объема рекультивации.
2.2 Воздействие на почвы
Воздействие на почвенный покров произойдет, в первую очередь, в результате механического воздействия (в период строительства трубопровода), а так же возможного нефтяного загрязнения (при аварийных ситуациях).
Механическое воздействие.
Общая площадь нарушения почвенного покрова и грунтов составляет 176,7004 га, включая площадь нарушения водных объектов (таблица 2).
На участках пересечения трассой уже антропогенно нарушенных территорий (трассы, дорог, ВЛ, населенные пункты) восстановление почвенного покрова практически не возможно. Площадь земель данной категории составляет 1,3465 га.
Таблица 2 - Площади нарушенных почв под объекты обустройства
| Типы почв
|
Площадь нарушения, га
|
Доля от общей площади нарушений, %
|
| Подзолисто-элювиально-глееватые
|
71,7741
|
40,62
|
| Торфянисто-подзолисто-элювиально-глееватые
|
8,9219
|
5,05
|
| Подзолы иллювиально-гумусовые
|
28,8641
|
16,33
|
| Торфянисто-подзолисто-иллювиально-гумусовые
|
3,598
|
2,04
|
| Торфяные на верховых торфяниках, торфяно-торфянисто-глеевые, торфянисто-перегнойно-глеевые
|
4,2107
|
2,38
|
| Пойменные слабооподзоленные в сочетании с пойменными поверхностно-оглееенными и дерново-глеевыми
|
2,571
|
1,45
|
| Аллювиальные глеевые в сочетании с болотными иловато-глеевыми
|
32,9646
|
18,66
|
| Аллювиальные примитивные
|
2,6255
|
1,49
|
| Аллювиальные дерновые слоистые, собственно дерновые
|
10,6146
|
6,01
|
| Пойменные озера
|
0,4273
|
0,24
|
| Русла рек
|
8,7861
|
4,97
|
| Почвы антропогенно нарушенных территорий
|
1,3465
|
0,76
|
| Итого
|
176,7044
|
100,00
|
В пределах строительной полосы нарушение почвы произойдет за счет снятия верхних почвенных горизонтов или частичного захоронения в результате планировки поверхности, нарушения стратификации грунтов при сооружении траншеи под нефтепровод.
При механическом удалении верхних органогенных и минеральных горизонтов почв происходит локальное относительное понижение поверхности и в профиле почв идет нарастание признаков гидроморфизма.
В результате механического воздействия происходят коренные изменения профиля почв: удаляются верхние генетические горизонты, появляются новые – антропогенные, происходит перемешивание и погребение горизонтов. Создание нефтепровода приведет к нарушению условий теплообмена на поверхности почв и в грунтах.
Восстановлению нарушенных почв будет способствовать проведение рекультивационных работ, заложенных в проекте.
Нефтяное загрязнение.
Загрязнение почв нефтью вызывает ряд типичных изменений их свойств и признаков, подавляет нитрифицирующую способность почв, уменьшает видовое разнообразие почвенных микроорганизмов, нарушает водно-воздушный, окислительно-восстановительный режимы, т.е. в целом нарушает нормальный ход естественного почвообразования. Основным фактором в распределение нефтяных компонентов в почвах являются водно-термический режим почв и их механический состав.
Опасным источником воздействия на почвы является возгорание нефти. На выжженных участках происходит образование канцерогенных веществ.
2.3 Воздействие на животный мир
К числу основных факторов, оказывающих негативное воздействие на животный мир, относятся:
- охотничий промысел и браконьерство;
- отчуждение земель, вырубка леса;
- фактор беспокойства;
- загрязнение водоемов и земель;
- производственные объекты.
В целом, сокращение и трансформация охотугодий сопровождается существенным ухудшением их качества. Умеренная трансформация и появление дополнительных экологических ниш может способствовать даже увеличению видового разнообразия, но сильная трансформация с элементами деградации природной среды сопровождается резким его снижением.
Наибольшее влияние на животный мир проектируемыми объектами будет оказываться вследствие фактора беспокойства, вырубки леса, трансформации угодий. Возможными неблагоприятными последствиями воздействия объектов обустройства на охотничье-промысловую фауну будет пространственное перераспределение некоторых видов животных, сокращение численности по всем видам животных.
2.4 Структура расселения и сложившиеся формы природопользования
Территория района работ располагается в Октябрьском и Ханты-Мансийском районах Ханты-Мансийского автономного округа – Югры. Ближайшие населенные пункты – с. Каменное, с. Послон, п. Лесной, п. Красноленинский. Нарушаемые проектируемым нефтепроводом земли относятся в основном к землям лесного фонда. Территория Обской поймы относится к землям земзапаса. Начало трассы (территория Галяновского месторождения) расположено в пределах родовых угодий Захарова В.М. и Лозямова В.Ю.
Основным видом деятельности коренного населения на рассматриваемой территории является охотничий промысел, сбор дикоросов (ягоды, грибы), орехов, рыболовство, выпас скота, сенокошение. На охотничье промысловых ресурсов наибольшее значение имеет добыча пушных зверей и боровой дичи, из рыбных – сиговые виды рыб в районе водно-болотного угодья «Верхнее Двуобье».
Строительство напорного нефтепровода, при условии соблюдения природоохранных мероприятий, заложенных при проектировании, не будет сопряжено с изменениями в социальной обстановке в районе. Однако на территории родовых угодий освоение потребует строгой регламентации в соответствии с нормативными документами.
3. Определение эколого-экономического ущерба при строительстве и эксплуатации напорного нефтепровода
3.1 Оценка ущерба древесным ресурсам
Большая часть проектируемого нефтепровода находится на землях лесного фонда, леса 1 и 3 группы. Общая площадь отвода земель лесного фонда под проектируемые объекты составит 121,3378 га, из них площади, занятые лесом составляют 115,7291 га, нелесные земли (болота и пр.) – 5,6087 га. Площадь лесов 1 группы составляет 31,0442 га.
Видовой состав лесов разнообразен. Преобладают мелколиственные леса 3-4 класса бонитета с участием темнохвойных пород. Значительно распространены на территории Маловозрастные леса на мести вырубок и гарей.
Расчет платы за перевод лесных земель в нелесные проведены на основании «Правил расчета и взимания платы за перевод лесных земель в не лесные земли для использования их в целях, не связанных с ведением лесного хозяйства, пользованием лесным фондом, и за перевод земель лесного фонда в земли иных (других) категорий», утвержденных постановлением Правительства РФ от 17 ноября 2004 г. №647 (с изменениями от 13 января 2006 г.).
Часть нарушенных лесов, согласно материалам лесоустройства, расположена в пределах запретных полос, защищающих нерестилища, запретных полос вдоль рек, часть лесов с участием в древостоях кедра более 3 единиц, отнесена к особо защитным участкам. При расчете ущерба в данных случаях применялся поправочный коэффициент экологической составляющей оценки земель.
Размер платы за перевод лесных земель в нелесные на площади 115,7291 га составляет 1886995,4 рублей. Из них в пределах Октябрьского района – 1008086,3 рублей, в пределах Ханты-Мансийского района – 878909,1 рублей.
3.2 Оценка ущерба недревесным растительным ресурсам
Оценка ущерба недревесным растительным ресурсам проведена на основе материалов ГНУ ВНИИОЗ (г. Киров). При расчетах учитывались не только особенности распределения ягодных растений в лесных сообществах и на болотах, но так же ягодоносная и продуцирующая площадь, транспортный коэффициент доступности угодий, темпы и продолжительность периода восстановления, степень деградации продуктивных угодий. Исходными данными для определения величины возможного ущерба взяты среднемноголетние значения урожайности дикорастущих. Оценка величины ущерба складывается из ресурсной и экономической оценки запасов ягод брусники, клюквы и съедобных грибов.
Ресурсная оценка включает в себя:
- выявление основных видов дикорастущих ягодных растений и грибов;
- определение среднемноголетней биологической урожайности;
- определение биологических и промысловых запасов по видам;
- установление ягодоносной, грибоносной и продуцирующей площадей;
- выявление ягодных и грибных типов растительных сообществ и периодичности их плодоношения;
- определение степени доступности угодий для освоения.
Определена величина потерь по зонам отвода и влияния нефтепровода (таблицы 3,4).
При расчете размера ежегодного ущерба в качестве базовых цен использовались цены, установленные на 2004 год постановлением Правительства Ханты-Мансийского автономного округа – Югры от 29 июня 2004 г. №294п: за ягоды брусники и клюквы – 30 руб/кг, грибы свежие – 12,90 руб/кг, кедровый орех – 64,20 руб/кг (таблицы 5,6).
Таблица 3 - Возможные годовые потери хозяйственно важных недревесных ресурсов по зонам воздействия при эксплуатации нефтепровода в Октябрьском районе, тонн
| Зоны воздействия
|
Виды дикорастущих
|
| брусника
|
клюква
|
грибы
|
| Отвод под строительство (100% потеря запасов)
|
-
|
-
|
-
|
| Влияние объектов:
Интенсивное (70% снижение промысловых запасов)
|
0,88
|
0,2
|
1,2
|
| Среднее (50% снижение промысловых запасов)
|
0,83
|
0,09
|
0,85
|
| Незначительное (20% снижение промысловых запасов)
|
0,48
|
0,06
|
0,2
|
| Итого
|
2,19
|
0,35
|
2,25
|
Таблица 4 - Возможные годовые потери хозяйственно важных недревесных ресурсов по зонам воздействия при эксплуатации нефтепровода в Ханты-Мансийском районе, тонн
| Зоны воздействия
|
Виды дикорастущих
|
| брусника
|
клюква
|
грибы
|
| 1
|
2
|
3
|
4
|
| Отвод под строительство (100% потеря запасов)
|
-
|
-
|
-
|
| 1
|
2
|
3
|
4
|
| Влияние объектов: Интенсивное (70% снижение промысловых запасов)
|
2,09
|
0,44
|
2,75
|
| Среднее (50% снижение промысловых запасов)
|
1,14
|
0,1
|
2,03
|
| Незначительное (20% снижение промысловых запасов)
|
0,6
|
0,13
|
0,94
|
| Итого
|
3,83
|
0,67
|
5,72
|
Таблица 5 - Расчет годового ущерба недревесным растительным ресурсам по Октябрьскому району, руб. (по базовым ценам от промыслового запаса)
| Название вида
|
Зоны влияния
|
| интенсивное
|
среднее
|
незначительное
|
| Брусника
|
26400
|
24900
|
14400
|
| Клюква
|
6000
|
2700
|
1800
|
| Грибы
|
15480
|
10965
|
2580
|
| Кедровые орехи
|
81534
|
40767
|
0
|
| Итого
|
129414
|
79332
|
18780
|
Таблица 6 - Расчет годового ущерба недревесным растительным ресурсам по Ханты-Мансийскому району, руб. (по базовым ценам от промыслового запаса)
| Название вида
|
Зоны влияния
|
| интенсивное
|
среднее
|
незначительное
|
| 1
|
2
|
3
|
4
|
| Брусника
|
56700
|
34200
|
18000
|
| Клюква
|
13200
|
3000
|
3900
|
| 1
|
2
|
3
|
4
|
| Грибы
|
35475
|
26187
|
12126
|
| Кедровые орехи
|
73188
|
36594
|
0
|
| Итого
|
178563
|
99981
|
34026
|
Суммарная величина ущерба в пределах зоны интенсивного воздействия, наносимого ресурсам ягод брусники, клюквы, грибов и кедровых орехов в результате строительства трассы нефтепровода по Октябрьскому району составляет 129414,0 рублей.
По Ханты-Мансийскому району суммарная величина ущерба в пределах зоны интенсивного воздействия составляет 178563,0 рублей.
3.3 Оценка ущерба охотничье-промысловому хозяйству
Непосредственный вред объектам животного мира и их среде обитания предусматривает снижение их численности в результате прямого уничтожения или откочевки животных с занимаемой ранее территории. Косвенные потери предусматривают недополученный потенциальный доход от возможного использования объектов животного мира на рассматриваемой трансформированной территории.
Существует два подхода к определению ущерба, наносимого фауне, обитающей на территории предполагаемого промышленного освоения: либо от биологического ресурса (предпромысловой численности животных), либо от возможной добычи (промыслового запаса). В данной курсовой я рассчитывала ущерб как от биологического ресурса, так и от промыслового запаса.
Большинство исследователей выделяют три зоны воздействия объектов: зона сильного воздействия, зона умеренного воздействия и зона слабого воздействия. Общий ущерб охотничье-промысловым ресурсам от строительства и эксплуатации проектируемых объектов складывается из ущерба по этим трем зонам влияния. Общая площадь зон влияния составляет 320,4 км2
(таблица 7).
Таблица 7 - Экспликация охотничьих угодий в пределах зон отвода и влияния нефтепровода
| Типы охотничьих угодий
|
Площадь, км2
|
| всего
|
в том числе по зонам
|
| отвода
|
сильного влияния
|
среднего влияния
|
слабого влияния
|
| 1
|
2
|
3
|
4
|
5
|
6
|
| Сосновые кустарничково-зеленомошные леса
|
55,2
|
0,4
|
19,1
|
14,1
|
21,6
|
| Кедровые кустарничково-зеленомошные леса
|
37,8
|
0,1
|
12,7
|
14,0
|
11,0
|
| Еловые кустарничково-зеленомошные леса
|
22,5
|
0,1
|
5,3
|
7,7
|
9,4
|
| Березовые кустарничково-зеленомошные леса
|
71,0
|
0,6
|
21,9
|
27,7
|
20,8
|
| Осиновые травяно-зеленомошные леса
|
21,5
|
0,2
|
9,0
|
5,5
|
6,8
|
| Болота сосново-кустарничково-сфагновые
|
6,1
|
-
|
1,8
|
2,7
|
1,6
|
| Луга, кустарники
|
90,7
|
0,4
|
24,1
|
28,3
|
37,9
|
| 1
|
2
|
3
|
4
|
5
|
6
|
| Озера пойменные
|
1,6
|
-
|
0,6
|
0,6
|
0,4
|
| Лесные реки
|
1,0
|
-
|
0,2
|
0,4
|
0,4
|
| Главное русло и рукава р. Оби
|
12,0
|
-
|
3,5
|
5,2
|
3,3
|
| Прочие земли
|
1,0
|
-
|
1,0
|
-
|
-
|
| Итого
|
320,4
|
1,8
|
99,2
|
106,2
|
113,2
|
Оценка природных (охотничьих) ресурсов проведена на основе приносимого ими народнохозяйственного эффекта. При экономической оценке учитывается потенциальная ценность, поскольку в случае изъятия ресурса или его части из оборота величина ущерба характеризуется потерей потенциальной ценности. Общий ущерб охотничье-промысловым ресурсам от строительства и эксплуатации проектируемых объектов складывается из ущерба по зоне отвода и трем зонам влияния и приведен в таблицах 8,9.
Таблица 8 - Экономическая оценка ущерба ресурсам охотничье-промысловых животных в период строительства нефтепровода (по зонам)
| Виды
|
Размер иска к МРОТ
|
Биологический запас, голов
|
Ожидаемый годовой ущерб, голов
|
Экономический годовой ущерб, МРОТ
|
| отвода
|
влияния
|
отвода
|
влияния
|
отвода
|
влияния
|
| 1
|
2
|
3
|
4
|
5
|
6
|
7
|
8
|
| Белка
|
2,00
|
5,70
|
1215,60
|
5,70
|
600,48
|
11,40
|
1200,95
|
| Заяц-беляк
|
2,00
|
1,91
|
294,98
|
1,91
|
145,28
|
3,82
|
290,55
|
| Лисица
|
10,00
|
0,30
|
44,59
|
0,30
|
21,95
|
2,98
|
219,53
|
| Медведь
|
50,00
|
0,02
|
3,04
|
0,02
|
3,04
|
0,85
|
152,20
|
| Росомаха
|
20,00
|
0,02
|
2,68
|
0,02
|
2,02
|
0,21
|
20,19
|
| Барсук
|
10,00
|
0,00
|
0,57
|
0,00
|
0,57
|
0,08
|
11,42
|
| 1
|
2
|
3
|
4
|
5
|
6
|
7
|
8
|
| Соболь
|
20,00
|
0,31
|
63,05
|
0,31
|
63,05
|
6,20
|
1261,00
|
| Горностай
|
5,00
|
0,62
|
121,96
|
0,62
|
57,59
|
3,10
|
287,94
|
| Норка
|
10,00
|
0,00
|
70,00
|
0,00
|
35,40
|
0,00
|
354,00
|
| Выдра
|
20,00
|
0,00
|
0,40
|
0,00
|
0,28
|
0,00
|
5,60
|
| Ондатра
|
2,00
|
0,00
|
249,00
|
0,00
|
131,55
|
0,00
|
293,10
|
| Лось
|
50,00
|
0,08
|
12,06
|
0,08
|
12,06
|
4,20
|
603,10
|
| Глухарь
|
3,00
|
1,50
|
226,32
|
1,50
|
169,31
|
4,50
|
507,93
|
| Тетерев
|
2,00
|
1,36
|
247,67
|
1,36
|
120,66
|
2,72
|
241,32
|
| Рябчик
|
1,00
|
12,60
|
1868,00
|
12,60
|
932,88
|
12,60
|
932,88
|
| Белая куропатка
|
1,00
|
0,20
|
55,54
|
0,20
|
27,95
|
0,20
|
27,95
|
| Водоплавающие птицы
|
1,00
|
0,00
|
2336,00
|
0,00
|
1237,75
|
0,00
|
1237,75
|
| Итого
|
209,00
|
24,62
|
6811,46
|
24,62
|
3561,82
|
52,86
|
7617,41
|
Таблица 9 - Экономическая оценка годового ущерба ресурсам охотничье-промысловых животных в период эксплуатации нефтепровода (по зонам в МРОТ)
| Виды
|
Период
|
| 0-5 лет
|
6-20 лет
|
21-50 лет
|
| отвода
|
влияния
|
отвода
|
влияния
|
отвода
|
влияния
|
| 1
|
2
|
3
|
4
|
5
|
6
|
7
|
| Белка
|
11,40
|
593,15
|
11,40
|
0,00
|
11,40
|
0,00
|
| Заяц-беляк
|
3,82
|
143,06
|
3,82
|
0,00
|
3,82
|
0,00
|
| Лисица
|
2,98
|
108,06
|
2,98
|
0,00
|
2,98
|
0,00
|
| Медведь
|
0,85
|
113,86
|
0,85
|
104,35
|
0,85
|
85,33
|
| Росомаха
|
0,21
|
13,49
|
0,21
|
6,78
|
0,21
|
2,25
|
| Барсук
|
0,08
|
5,70
|
0,08
|
2,85
|
0,08
|
2,85
|
| 1
|
2
|
3
|
4
|
5
|
6
|
7
|
| Соболь
|
6.20
|
628,00
|
6.20
|
312,75
|
6.20
|
312,75
|
| Горностай
|
3,10
|
0,00
|
3,10
|
0,00
|
3,10
|
0,00
|
| Норка
|
0,00
|
179,00
|
0,00
|
0,00
|
0,00
|
0.00
|
| Выдра
|
0,00
|
3,60
|
0,00
|
1,60
|
0,00
|
0.40
|
| Ондатра
|
0,00
|
263,10
|
0,00
|
138.60
|
0,00
|
0,00
|
| Лось
|
4,20
|
603,10
|
4,20
|
411,86
|
4,20
|
341,74
|
| Глухарь
|
4,50
|
338,19
|
4,50
|
168,45
|
4,50
|
0,00
|
| Тетерев
|
2.72
|
117,49
|
2.72
|
0,00
|
2.72
|
0,00
|
| Рябчик
|
12,60
|
150,18
|
12,60
|
0,00
|
12,60
|
0,00
|
| Белая куропатка
|
0,20
|
14,07
|
0,20
|
0.00
|
0,20
|
0,00
|
| Водоплавающие птицы
|
0,00
|
653,75
|
0,00
|
0.00
|
0,00
|
0,00
|
| Итого
|
52,86
|
3927,80
|
52,86
|
1147,24
|
52,86
|
745,32
|
Поскольку рассматриваемая трасса нефтепровода будет проходить по территории двух административных районов Ханты-Мансийского автономного округа – Югры, то расчеты ущерба сделаны по каждому из них (таблица 10,11).
Таблица 10 - Экономическая оценка годового ущерба ресурсам охотничье-промысловых животных в период обустройства и эксплуатации нефтепровода от биологического и промыслового запаса на территории Октябрьского района (по зонам в МРОТ)
| Параметры
|
В период строительства
|
В период эксплуатации
|
| 0-5 лет
|
6-20 лет
|
21-50 лет
|
| отвода
|
влияния
|
отвода
|
влияния
|
отвода
|
влияния
|
отвода
|
влияния
|
| 1
|
2
|
3
|
4
|
5
|
6
|
7
|
8
|
9
|
| 1
|
2
|
3
|
4
|
5
|
6
|
7
|
8
|
9
|
| От биологического запаса
|
17,85
|
3268,01
|
17,85
|
1747,69
|
17,85
|
379,95
|
17,85
|
171,53
|
| От промыслового запаса
|
4,60
|
979,68
|
4,60
|
539,05
|
4,60
|
109,55
|
4,60
|
20,77
|
Таблица 11 - Экономическая оценка годового ущерба ресурсам охотничье-промысловых животных в период обустройства и эксплуатации нефтепровода от биологического и промыслового запаса на территории Ханты-Мансийского района (по зонам в МРОТ)
| Параметры
|
В период строительства
|
В период эксплуатации
|
| 0-5 лет
|
6-20 лет
|
21-50 лет
|
| отвода
|
влияния
|
отвода
|
влияния
|
отвода
|
влияния
|
отвода
|
влияния
|
| От биологического запаса
|
31,59
|
4151,13
|
31,59
|
2078,72
|
31,59
|
767,29
|
31,59
|
573,78
|
| От промыслового запаса
|
9,17
|
1140,15
|
9,17
|
525,70
|
9,17
|
95,76
|
9,17
|
76,60
|
Трансформация охотничьих угодий, связанная с обустройством и последующей эксплуатацией нефтепровода, сопровождается значительным изменением условий существования животных и уменьшением их ресурсов. В период строительства годовой экономический ущерб на территории Октябрьского района в зоне отвода и влияния объектов составляет по охотничьим ресурсам 3286 МРОТ от биологического запаса и 984 МРОТ - от промыслового. На территории Ханты-Мансийского района 4183 МРОТ от биологического ресурса и 1149 МРОТ – от промыслового.
Таким образом, в целом трансформация охотничьих угодий, связанная с обустройством и последующей эксплуатацией нефтепровода, сопровождается значительным изменением условий существования животных и уменьшением их ресурсов.
3.4 Оценка воздействия на хозяйственную деятельность местного населения
Как было отмечено в главе 2 (пункт 4), часть трассы нефтепровода расположена в пределах родовых угодий. Учитывая тот факт, что строительство нефтепровода приведет к изъятию части природных ресурсов, отвод земель должен вестись на основе компенсационных выплат за их нарушение. В таблице 12 приведены суммы ущерба владельцам родовых угодий.
Таблица 12 - Экономическая оценка ущерба ресурсам охотничье-промысловых животных и дикоросов в пределах родовых угодий на период строительства нефтепровода
| Владельцы родовых угодий
|
Нарушенная площадь родовых угодий, га
|
Ущерб ресурсам охотничьепромысловых животных, МРОТ
|
Ущерб угодьям дикоросов, руб.
|
Ущерб по кедровому ореху, руб.
|
| Захаров В.М.
|
11.17
|
160,9
|
15592,0
|
10246,0
|
| Лозямов В.Ю.
|
25,78
|
354,6
|
34370,0
|
22586,0
|
| Итого
|
36,95
|
515,5
|
49962,0
|
32832,0
|
В связи с отводом земель родовых угодий под проектируемые объекты в качестве предупредительных мер для персонала, который будет реализовывать проект, рекомендуется следующие:
- в пределах родового угодья запрещается рубка леса дл производственных и бытовых нужд без согласования с владельцем угодья;
- проезд техники по бездорожью разрешается только в период постоянного снежного покрова;
- запрещается любой вид промысла на территории родового угодья без согласования с владельцем угодья;
- запрещается свободное содержание собак на объектах нефтедобычи;
- разведение костров разрешается только в специально отведенных местах;
- при въезде на территорию родового угодья должны быть установлены опознавательные знаки с информацией.
Заключение
Оценка воздействия проектируемого нефтепровода на окружающую природную среду проводилась в соответствии с требованиями Законов РФ «Об охране окружающей природной среды», «Об экологической экспертизе», «О животном мире», «Земельного кодекса», а также «положением об оценке воздействия на окружающую среду в РФ» №372 от 16 мая 2000 г., и других нормативных федеральных и региональных документов.
Проведенный анализ природных особенностей территории района работ и оценка воздействия проектируемых объектов на компоненты окружающей природной среды позволяет сделать следующие выводы:
1. В административном отношении территория района работ входит в состав Октябрьского и Ханты-Мансийского районов Ханты-Мансийского автономного округа – Югры.
2. Согласно лесорастительному районированию Тюменской области территория расположена в пределах таежной зоны среднетаежной подзоны. В геологических разрезах доминируют суглинистые отложения.
3. Общая площадь отвода под проектируемые объекты составит 176,7004 га. Большая часть (64,04%) площади отвода под проектируемые объекты приходится на лесные экосистемы. Около 31,4% от общей площади отвода занимают пойменные лугово-кустарниковые экосистемы р. Оби и 1,45% - экосистемы пойм малых рек с лесами. Доля нарушения болотных экосистем незначительна и составляет 2,38%.
4. В целях снижения негативного воздействия проектируемых объектов на почвенно-растительный покров проектом предусмотрен комплекс природоохранных мероприятий. Кроме того, при строительстве проектируемых объектов необходимо строгое соблюдение полосы земельного отвода, правил пожарной безопасности, ввести запрет на передвижение транспорта вне организованных проездов, своевременное проведение рекультивационных работ.
5. Основная часть лесов территории района работ относится к лесам 3 группы лесного фонда (Красноленинский, Октябрьский и Ханты-Мансийский лесхозы). Площадь отвода земель, занятых лесом , составит 115,7291 га, нелесных земель – 5,6087 га. На отдельных участках лесов 3 группы выделяются особо защитные участки. К ним отнесены кедровые леса вне орехопромысловых зон. Предварительный размер платы за перевод лесных земель в нелесные составит в пределах Октябрьского района 1008086,3 рублей, в пределах Ханты-Мансийского района – 878909,1 рублей (в ценах 2006 года).
6. Трассы проектируемого нефтепровода на территории Галяновского месторождения пересекает родовые угодья Захарова В.М. и Лозямова В.Ю. Основные виды деятельности коренного населения на рассматриваемой территории – охотничий промысел, а также сбор дикоросов, кедровых орехов. Отвод земель под проектируемые объекты должен осуществляться по согласованию с владельцами родовых угодий с заключением соответствующих договоров. В договоре определяются формы и объемы недропользования, размер компенсации за причиненные убытки. Учитывая этот факт, проектом предусмотрены компенсационные выплаты за изъятие охотничье-промысловых угодий и угодий дикоросов.
7. Строительство трассы нефтепровода окажет влияние на животный мир за счет отчуждения площадей, возрастания фактора беспокойства и т.д. В период строительства экономический ущерб ресурсам охотничье-промысловых животных в зонах отвода и влияния составит в пределах Октябрьского района – 3574,78 МРОТ от промыслового запаса, в пределах Ханты-Мансийского района – 1393,82 МРОТ, из них по нарушаемым родовым угодьям Захарова В.М. – 160,9 МРОТ, Лозямова В.Ю. – 354,6 МРОТ.
8. Проектом предусмотрены компенсационные выплаты за изъятие угдий дикоросов. Общая стоимость ущерба в пределах Октябрьского района составит 129414,0 рублей, в пределах Ханты-Мансийского района – 178563,0 рублей, из них по нарушаемым родовым угодьям Захарова В.М. – 25838 рублей, Лозямова В.Ю. – 56956 рублей.
В целом, объем воздействия на окружающую среду по данному проекту оценивается как минимально возможный при создании объектов данного типа и допустимый. Технические решения, предусмотренные проектом, представлены комплексом технологических и организационных мероприятий, направленных на повышение эксплуатационной надежности, противопожарной и экологической безопасности трубопровода. Реализация намечаемой деятельности (при условии жесткого выполнения запроектированных природоохранных мероприятий) не окажет критических и необратимых изменений в окружающей среде оцениваемой территории.
Приложение

|