Введение
Такое опасное производство, как мусоросжигательный завод (далее МСЗ), не может, по чисто техническим причинам, быть безотходным. Выбросы МСЗ охватывают все обычные для промпредприятий отходы: загрязненный воздух, загрязненные воды, загрязненные твердые отходы.
Мы рассмотрим все вопросы, связанные с этими загрязнениями ниже. Для снижения выбросов в воздух создаются мощные, эффективные, но крайне дорогие очистные сооружения. Для уменьшения объемов золы и шлаков, подлежащих захоронению, пытаются использовать их в строительных изделиях, что может быть крайне опасно. Однако, для снижения отходов от работы фильтров и мокрых скрубберов для нейтрализации кислых газов, ничего сделать нельзя, так как чем лучше очистка, тем больше объем загрязненной воды, илов и загрязненной массы с фильтров.
Работа любого мусоросжигательного завода опасна для окружающей среды и здоровья населения. Даже по нашим весьма старым нормам строительств, МСЗ относятся к опасным производствам, не ниже 2 категории опасности.
Глава 1. Загрязнение воздуха
Для начала приведу таблицу 1.1 [Саст, 1990, 335 с.]. «Коэффициент концентрации» — это величина, которая показывает насколько данного вещества в выбросах МСЗ больше, чем в обычном воздухе, т.е. то, что называется «фон».
Таблица 1.1 Содержание химических элементов в продуктах сжигания твердых бытовых отходов разных городов
| Выбросы в воздух |
Летучая зола |
| Элемент |
Элемент содержание, % |
коэффициент концентрации, % |
Элемент содержание, % |
коэффициент концентрации, % |
| Висмут |
0,0003 — 0,0013 |
300 — 1300 |
0,01 |
10000 |
| Серебро |
0,0006 — 0,0021 |
86 — 300 |
0,003 — 0,01 |
430 — 1430 |
| Олово |
0,02 — 0,18 |
80 — 720 |
0,22 — 0,3 |
880 —1200 |
| Свинец |
0,155 — 0,186 |
97 — 116 |
0,45 — 1 |
281 — 625 |
| Кадмий |
0,0005 — 0,0012 |
38 — 923 |
0,005 — 0,01 |
380 — 770 |
| Сурьма |
0,003 — 0,009 |
60 — 180 |
0,01 — 0,02 |
200 — 400 |
| Медь |
0,15 — 0,4 |
32 — 85 |
0,07 — 0,3 |
15 — 64 |
| Цинк |
0,18 — 0,56 |
22 — 68 |
1 — 3 |
120 — 360 |
| Хром |
0,06 — 0,16 |
7 — 20 |
0,08 — 0,6 |
10 — 200 |
| Ртуть |
0,00004 — 0,00009 |
5 — 10 |
— |
— |
Из данных этой таблицы видно, что в дымах МСЗ опасных металлов в некоторых случаях в тысячи раз больше, чем в «обычном» воздухе. Токсичные металлы выбрасываются в форме солей или окислов, то есть в устойчивом виде и могут лежать неопределенное число лет, накапливаясь постепенно и с пылью попадая в организм человека. Опасность токсичных металлов именно в том, что они (кроме ртути, которая любит мигрировать) могут накапливаться. Поэтому нормативы предельно допустимых концентраций (далее нормы ПДК) могут оказаться не применимыми к таким выбросам.
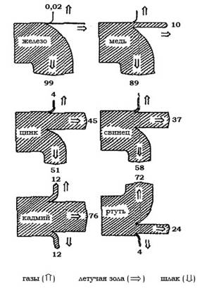
На рис. 1 показано, как распределяются выбросы металлов между выбросом в воздух, пылью iа фильтрах и шлаком, вытекающим из сжигателя. Естественно, что почти все железо (99%) уходит в шлак, но уже медь частично летит с пылью и именно она ответственна за образование диоксинов в зонах охлаждения газов.
Забиваем Сайты В ТОП КУВАЛДОЙ - Уникальные возможности от SeoHammer
Каждая ссылка анализируется по трем пакетам оценки: SEO, Трафик и SMM.
SeoHammer делает продвижение сайта прозрачным и простым занятием.
Ссылки, вечные ссылки, статьи, упоминания, пресс-релизы - используйте по максимуму потенциал SeoHammer для продвижения вашего сайта.
Что умеет делать SeoHammer
— Продвижение в один клик, интеллектуальный подбор запросов, покупка самых лучших ссылок с высокой степенью качества у лучших бирж ссылок.
— Регулярная проверка качества ссылок по более чем 100 показателям и ежедневный пересчет показателей качества проекта.
— Все известные форматы ссылок: арендные ссылки, вечные ссылки, публикации (упоминания, мнения, отзывы, статьи, пресс-релизы).
— SeoHammer покажет, где рост или падение, а также запросы, на которые нужно обратить внимание.
SeoHammer еще предоставляет технологию Буст, она ускоряет продвижение в десятки раз,
а первые результаты появляются уже в течение первых 7 дней.
Зарегистрироваться и Начать продвижение

Рис. 1.1. Распределение выбросов металлов.
Впрочем, ученые только начали изучать этот процесс и на роль катализатора рассматриваются и иные металлы. Один из самых токсичных и коварных металлов, кадмий, летит с пылью, и удержать его на фильтрах трудно, 12% улетает в трубу. Но ртуть, о ядовитости которой все знают, почти вся (72%) следует за кадмием. Тяжелые металлы оседают вокруг МСЗ по розе ветров и образуют характерное пятно загрязнения, а уж потом начинаются миграционные процессы и токсичные металлы, особенно ртуть, расходятся во все стороны к нам на стол.
Ртуть вылетает из труб МСЗ в форме паров (7%) и в форме хлоридов (70%). И те и другие весьма токсичны и являются потенциальными нейротоксинами. Мигрируя по пищевым цепям, ртуть накапливается в морских и речных организмах. Болезнь Минимата, которая поразила жителей на берегу залива в Японии, была вызвана сбросом ртутьсодержащих отходов промышленным концерном, производившим ПВХ-пластмассы. Металл накапливался в рыбе, постоянной пищей японцев, и вызывал заболевание, После того, как 200 человек умерло производство остановили, бухту у г. Минимата осушили, а ил (содержавший ртуть) был удален. По таким же цепочкам аккумулируется ртуть и на суше, ее конечным владельцем становятся хищники. Например, в Швеции исчезла пустельга, а поголовье соколов-сапсанов и ястребов сильно уменьшилось. МСЗ являются крупными источниками ртути. Так в США в Массачусетсе МСЗ выбрасывает 19 тонн ртути в год, в Эвергладсе (Флорида) высокие уровни ртути в рыбе были прямо связаны с выбросами МСЗ.
Список продуктов неполного сгорания (ПНС) насчитывает свыше ста идентифицированных опасных веществ. Среди них углеводороды и ароматические углеводороды, их хлорированные производные, токсичные фенолы и хлорфенолы, бром- и азотзамещенные вещества и, наконец, полихлорированные дибензодиоксины (ПХДД), -фураны (ПХДФ) и -бифенилы (ПХБ). К ПНС относят несколько условно все выбросы, которые не относятся к газам «проскока», то есть к тем летучим соединениям, которые содержались в исходной смеси, подаваемой на сжигание, но не успели сгореть. В результате в эту группу попадают кислые газы, хлористоводородная кислота (HCl), сернистый газ (SO2
) и окислы азота (NOX). Первый из них HCl вызывает большие проблемы из-за своей крайней агрессивности по отношению к металлу камер сжигания. Он же ответственен за образование диоксинов по реакции Дикона в холодной зоне. Его удаляют промывкой, щелочными растворами извести, и они дают большую часть твердых отходов МСЗ. Основным источником выбросов HCl является горение поливинилхлоридных пластмасс, находящихся в потоке мусора.
Сервис онлайн-записи на собственном Telegram-боте
Попробуйте сервис онлайн-записи VisitTime на основе вашего собственного Telegram-бота:
— Разгрузит мастера, специалиста или компанию;
— Позволит гибко управлять расписанием и загрузкой;
— Разошлет оповещения о новых услугах или акциях;
— Позволит принять оплату на карту/кошелек/счет;
— Позволит записываться на групповые и персональные посещения;
— Поможет получить от клиента отзывы о визите к вам;
— Включает в себя сервис чаевых.
Для новых пользователей первый месяц бесплатно.
Зарегистрироваться в сервисе
Сернистый газ всегда образуется при горении мусора, так как органические остатки содержат серу (отсюда и мерзкий запах разложения). Полностью убрать его не просто, и вместо известкового молока приходится брать дорогую щелочь. Окислы азота весьма токсичны (ПДК для NO2
9 мг/м3 для остальных оксидов 5 мг/м3 в пересчете на NO2
) и крайне трудно связываются со щелочами в обычных скрубберах. Для нас важно знать, что чем выше температура сжигания, тем больше окислов азота образуется. Это одна из причин, по которой очень высокие температуры при сжигании, могут привести к крайне высоким выбросам в атмосферу этих токсикантов. Если вспомнить, что диоксины, от которых пытаются избавиться, все равно вновь возникнут в холодной зоне, то такое рискованное «усовершенствование» технологии оказывается ненужной тратой денег и оборудования. Для более или менее полной очистки газов от оксидов азота приходится прибегать уже не к фильтрам и скрубберам, а к каталитическим дожигателям такого типа, как используют для дожига газов в автомобильных двигателях, только подешевле и более сложного устройства. Это обходится в копеечку.
Продукты неполного сгорания включают и нейтральные газы, такие как угарный газ (СО), который может образовываться в больших количествах при неправильном режиме работы сжигателя (мало воздуха, температура ниже 800°С и другие нарушения), Этот газ нейтральный и потому очень трудно улавливается. Он опасен и в очень малых концентрациях, чему пример жители Череповца, где работают рядом с жилыми домами мощные металлургические производства, выбрасывающие очень много СО, а в городе на улицах случались обмороки с людьми.
Малые концентрации угарного газа вызывают блокаду гемоглобина и обусловленное этим кислородное голодание тканей, к которому, как известно, наиболее чувствительна центральная нервная система, это вызывает раньше всего изменение функционального состояния коры головного мозга, что в большей или меньшей степени отражается на состоянии внутренних органов. ПДК 0,03 мг/л.
Анализ шлаков после дробления летучей золы с фильтров и отходящих газов МСЗ показал, что около 1% углерода, введенного в сжигатель, покидает его со шлаком, 0,1% связывается с летучей золой и около 0,01% выбрасывается в виде микрозагрязнений, остальной углерод превращается в окислы углерода (главным образом в углекислый газ) [Brunner, 1987, No5, p.355]. Концентрация общего органического углерода (ООУ) в среднем в шлаках 10 г/кг, в летучей золе 40 г/кг, а в газах 20 мг/нм3
.
Основных источников микрозагрязнений три:
1. Неполное сгорание тех микрозагрязнений, которые присутствовали в исходном мусоре. Не следует думать, что это пренебрежимо малые количества. Вот примерный расчет выбросов: при величине эффективности разрушения и удаления (ЭРУ) равной 99,999% (это требование для ПХБ) «проскок» равен 0,0001%. Однако эта малая величина означает, что каждый сжигаемый килограмм ПХБ будет давать выброс в окружающую среду равный 1 мг, что, совсем немало, для таких токсичных веществ. Если вы сожжете 1 000 тонн, то выброс будет равен 1 кг токсикантов. Есть о чем задуматься.
2. Синтез de novo диоксинов и фуранов (ПХДД и ПХДФ) при охлаждении горячих газов и в фильтрах.
3. Органические вещества, попадающие в отходящие газы из других источников таких, как воздух для сжигания, загрязнения из скрубберов, вода в системах очистки и из дополнительного топлива, которое всегда вынуждены использовать для сжигания мусора.
В США в списке опасных веществ, которые могут встречаться в отходящих газах сжигателей, содержится свыше 400 опасных химических веществ, которые включают как органические, так и неорганические соединения.
Пристальное внимание к микрозагрязнениям связано с тем, что в их число входят вещества крайне токсичные и весьма опасные для здоровья. Эти вещества — ПХДД, ПХДФ, ПХБ и полиароматические углеводороды (ПАУ) проявляют свои токсические свойства уже при столь малых концентрациях, что микроколичества их в газах МСЗ являются очень опасными. Если «обычные» токсиканты опасны при концентрациях мг на литр, то ПАУ опасны при концентрации мкг на кубометр, а диоксины при долях нанограмм в кубометре. В таблице 1.2 показаны выбросы основных микрозагрязнений в отходящих газах МСЗ Канады и Норвегии.
Таблица 1.2 Результаты обследования двух МСЗ. Выбросы микрозагрязнений в мкг/нм3
| Канадский МСЗ |
Норвежский МСЗ |
| Хлорбензолы |
3,3 — 9,9 |
0,034 — 3,8 |
| Хлорфенолы |
5,1 — 23,7 |
не обнаружены |
| ПАУ |
3,2 — 21,9 |
0,84 — 6000 |
| ПХБ |
1,7 — 7,0 |
<0,00003 — 0,06 |
| Диоксины |
0,063 — 0,597 |
0,047 — 1,8 |
Видно, что во времена проведения этих измерений (1987 — 1990 гг.) МСЗ в Канаде работал намного хуже, чем в Норвегии. Надо сказать, что и в США сжигатели того времени (то есть именно такие, которые нам теперь пытаются продавать) работали чудовищно грязно. В 1994 году ЕРА провело обследования всех МСЗ — 166 штук. Правда, в конечном итоге было проверено всего 12 МСЗ, но все они показали крайне высокие уровни выбросов, которые и объясняют столь сильное загрязнение всей территории США диоксинами. Уровень загрязнения пищи в Америке столь высок, что по оценке ЕРА уже угрожает здоровью нации.
Полиароматические углеводороды (ПАУ) являются опасными канцерогенами. Выбросы этих соединений из МСЗ не достигают уровня самого грязного сжигателя — дизелей, но довольно близки к ним. Если учесть, что дизели (тяжелые грузовики) двигаются, а МСЗ стоят на месте и сжигают сотни тысяч тонн мусора, то опасность загрязнения воздуха ПАУ вблизи МСЗ становится реальной.
Таблица 1.3 Относительная канцерогенность различных ПАУ
| Соединение |
Канцерогенный потенциал |
Биоактивность |
| 2-метилнафталин |
0 |
TP |
| Флуорантен |
0 |
CC |
| 2-Метилфлуорантен |
+ |
C, TI |
| 3-Метилфлуорантен |
? |
TI |
| Пирен |
0 |
CC |
| Бенз[a]антрацен |
+ |
TI |
| Хризен |
+ |
TI |
| Бенз[c]фенантрен |
+++ |
C |
| 3-Метилхризен |
+ |
TI |
| 5-Метилхризен |
+++ |
C, TI |
| 7,12-Диметилбенз[a]антрацен |
++++ |
C, TI |
| Бенз[b]флуорантен |
++ |
C, TI |
| Бенз[j]флуорантен |
++ |
C, TI |
| Бенз[a]пирен |
+++ |
C, TI |
| Дибенз[a,h]антрацен |
+++ |
C, TI |
| Индено[1,2,3-cd]пирен |
+ |
TI |
| Бенз[ghi]перилен |
0 |
CC |
| Пицен |
+ |
TI |
Особенно много ПАУ остается в шлаке МСЗ. Выше было сказано, что ООУ в шлаках может быть до 10 г/кг. Вряд ли кто видел шлаки не черного цвета — это и есть углерод. Распространенным заблуждением является утверждение проектантов МСЗ, что их шлаки такие чистые, что не представляют никакой опасности. Конечно это не так, Несмотря на высокие температуры, органический углерод всегда содержится в шлаках, а состоит он из ПАУ, диоксинов и других токсичных веществ.
Таблица 1.4 Содержание ПАУ в твердых отходах МСЗ (мкг/г)
| Нидерланды |
Канада |
Англия |
| Загрязнение |
Шлак |
Летучая зола |
Летучая зола |
Летучая зола |
| Флуорен |
145 |
40 |
<0,5 —64 |
— |
| Фенантрен |
245 |
120 |
— |
— |
| Флуорантен |
350 |
70 |
0,5 — 440 |
58 |
| Пирен |
470 |
155 |
0,5 — 120 |
49 |
| Бенз[a]антрацен |
105 |
25 |
— |
171 (сумма) |
| Хризен |
180 |
45 |
— |
— |
| Бензофлуорантены |
170 |
36 |
— |
— |
| Бенз[a]пирен |
60 |
10 |
0,14 |
147 |
И, наконец, самыми опасными из ПНС являются «диоксины»: смесь полихлордибензопарадиоксинов (ПХДД) и полихлордибензофуранов (ПХДФ). Это короли токсичности и бесспорные разрушители природы. Однако сразу надо сказать, что диоксины пропитывают все среды вокруг МСЗ.
Та часть диоксинов, которая попадает в трубу, почти целиком связана с частицами пыли. Это естественно, так как диоксины очень хорошо адсорбируются на любых материалах: их адсорбционная способность огромна. Японские ученые исследовали волосы рабочих МСЗ и контрольной группы людей. Данные выражены в токсических эквивалентах TEQ, которые учитывают также и токсичные соединения ПХБ, как и диоксины, содержащиеся в выбросах МСЗ. Оказалось, что токсичность волос рабочих МСЗ в 3,7 раза выше контроля: 1,18:4,36. [Miyatas, 1996, No30, p. 154,.] Аналогичный результат был получен и при анализе крови у рабочих МСЗ в США. Если волосы отражают загрязнение, идущее в организм, то загрязнение крови, — и есть загрязнение самого организма. В крови рабочих МСЗ содержание диоксинов в токсических эквивалентах TEQ было на 30% выше, чем у контрольной группы: 16,6:21,9 пкг/г липидов [Schecter, 1991, pp. 331— 332.].
Опасно ли это? Вот самые последние исследования, проведенные в Японии [Dioxin'97, v.32, p.155]. Неподалеку от МСЗ (японские МСЗ одни из лучших в мире) была выявлена зона с высокими показателями смертности от рака. Изучение загрязнения диоксинами окрестностей завода показали, что в зоне до 1,1 км к югу от завода из 57 умерших в течение 1985 — 1995 гг., 24 умерли от рака (42%), а в зоне от 1,1 до 2,0 км из 167 умерших только 34 умерли от рака (20%). Последняя цифра близка к средней для этого региона (25-28%). Тяжелые частицы, несущие диоксин, выпадают как раз в зоне, прилегающей к трубе МСЗ, однако более мелкие частицы разносят диоксины по всей стране. Голландцы показали, что даже на расстоянии 24 км хорошо прослеживается диоксиновое загрязнение. Имеющиеся у нас МСЗ довольно грязные, так как построены еще тогда, когда о диоксинах и не слышали.
Глава 2. Загрязнение твердыми отход
ами
К таким отходам относятся шлаки, летучая зола и отходы с фильтров очистки воздуха.
Нет никаких разумных оснований, ни экономических, ни экологических, для того, чтобы превращать три тонны малотоксичного мусора в тонну высокотоксичной золы (Пол Коннет).
Из 3 — 4 тонн мусора образуется примерно тонна шлаков. В тех сжигателях, в которых в печь добавляют известняк в качестве флюса, шлаков еще больше. Предпринимаются самые разнообразные попытки использовать шлаки и золу МСЗ. Из них пытаются делать бордюрные камни, барьерные рифы и блоки для строительства, вводить их в асфальт и использовать для других дорожных покрытий.
Это удивительно для материала, который образуется при температурах не ниже 1000°С, но шлаки довольно токсичны. Их токсичность складывается из токсичности ПАУ, диоксинов и неопознанных органических токсикантов и, кроме того, токсичных металлов. Конечно, шлаки менее опасны, чем летучая зола с фильтров, так из одиннадцати образцов летучей золы разных МСЗ девять оказались высокотоксичными, а такая же проба для шестнадцати образцов шлаков выявила только два токсичных образца, которые требовали захоронения как особо токсичные отходы. Кроме того, стоимость захоронения обычного мусора в среднем 23 доллара за тонну, а опасных отходов 210 долларов за тонну.
Диоксины образуются вновь (de novo) в зоне охлаждения, часть из них попадает в летучую золу (технический термин «зола уноса»), а часть улетает в трубу. Зола уноса это та пыль, которая осаждается на фильтрах. В ней содержатся не только диоксины, но и еще множество опасных веществ. Подробное исследование токсичных свойств летучей золы (ЛЗ) было проведено в Нидерландах [Helder, 1982, Vol. 11, No. 10, pp.952 — 972].
В аквариум с мальками радужной форели было добавлено некоторое количество ЛЗ или экстрактов ее. Спустя два месяца все рыбы погибли. При этом они вовсе не все время были в отравленной воде, а только 4 дня, после чего аквариумы промыли чистой водой. Авторы указывают, что экстракт золы оказался крайне токсичным, и по их расчету в золе было 75 — 125 нг/г токсических эквивалентов диоксинов. Из самой золы диоксины в воду почти не переходили, что естественно, так как они в воде растворяются крайне плохо. Из этого опыта, а таких исследований было не мало, был сделан вывод: Летучая зола весьма токсична и токсичность ее только частично связана с диоксинами. Иными словами, наряду с медленно действующими диоксинами, в ЛЗ содержатся сильные канцерогены. Эти опыты и предопределили отношение к ЛЗ как к токсическому продукту. Однако, отвозить ее на спецполигоны для токсичных веществ очень дорого, поэтому предпринимаются усилия по изготовлению из нее или из смесей с ЛЗ различных строительных изделий, асфальта, бетона и т. п.
Глава 3. Загрязнение воды
Связывание диоксинов на частичках происходит не только в воздухе, аналогичная картина и в воде. В Англии, к северу от Бирмингема работал сжигатель опасных отходов (фирма Coalite Chemical). В 1991 году в молоке коров на трех фермах были обнаружены опасные количества диоксинов и продажа молока с этих ферм была запрещена. Обследование района показало, что диоксины накопились не только в почве вокруг сжигателя, но и по фарватеру реки Doe Lea. Даже на расстоянии 1,5 км от места сброса сточных вод были найдены высокие концентрации диоксинов. (Waste Not, #187, March 1992).
Таблица 3.1 Концентрация диоксинов в донных отложениях реки Doe Lea после выпуска сточных вод сжигателя опасных отходов
| Расстояние от выпуска сточных вод |
Концентрация в токсических эквивалентах, нг/г донных отложений |
| Диоксины |
Фураны |
| 1 км выше выпуска |
0,02 |
0,003 |
| 40 м выше выпуска |
0,03 |
0,004 |
| 40 м ниже выпуска |
13,0 |
12,0 |
| 1,2 км ниже выпуска |
79,0 |
5,7 |
| 1,5 км ниже выпуска |
97,0 |
9,4 |
Первым источником загрязнения сточных вод является вода для охлаждения шлака, который образуется при сжигании мусора. Шлак содержит много тяжелых и токсичных металлов. На рис. 1.1 видно, что если металл не летуч, то он уходит в шлак, а если летуч, то попадает и туда и туда, а если это ртуть, то искать ее надо в отходящих газах.
Другим источником являются скрубберы для улавливания кислых газов, после охлаждения газов при выходе из печи и вода для смыва осадков с фильтров. Все эти воды весьма токсичны и требуют специальной очистки. Именно эти воды загрязнили речку Doe Lea в Англии, так как этот сжигатель уничтожал только жидкие токсичные отходы и не имел шлаков.
Таблица 3.2 Типичный состав отходящих газов МСЗ до и после промывки в скруббере
| Газ до скруббера |
Газ после скруббера, мг на кубометр |
| Вода |
10 — 18 % по объему |
| Углекислый газ |
6 — 12% по объему |
| Кислород |
7 — 14% по объему |
| Пыль |
2 — 10 грамм/м3 |
20 — 30 (снижение в 1000 раз) |
| Хлористоводородная кислота (HCl) |
250 — 2000 мг/м3 |
10 — 30 |
| Фтористоводородная кислота (HF) |
0,5 — 9 мг/м3 |
0,5 — 2 |
| Сернистый газ (SO2) |
200 — 1000 мг/м3 |
200 — 300 |
| Окислы азота (NOX) |
100 — 400 мг/м3 |
100 — 400 |
| Угарный газ (CO) |
50 — 100 мг/м3 |
50 — 100 |
| Общий органический углерод (то есть все иные органические вещества в пересчете на углерод) |
<20 мг/м3 |
<20 |
На тонну сжигаемых отходов в среднем образуется 2,5 м3
сточных вод. Эта вода сильно загрязнена солями и токсичными металлами. Она, либо очень щелочная, либо очень кислая, и то и другое плохо, так как требует специальной обработки. В тех сжигателях, где нет отбора тепла для получения энергии, в горячие газы впрыскивают воду, которая полностью испаряется и с газами попадает на очистные фильтры, а оттуда в сборник сточной воды (табл. 1.7).
Таблица 3.3 Содержание загрязнений в сточных водах МСЗ (мг/л)
| Загрязнение |
Вода из скруббера отходящих газов |
Вода охлаждения шлаков |
| рН |
0,95 |
8,8 |
| Cl |
12900 |
1540 |
| SO2 |
502 |
590 |
| F |
52 |
1,7 |
| Cr |
0,69 |
0,10 |
| Cu |
1,28 |
0,26 |
| Ni |
3,7 |
0,25 |
| Zn |
14,1 |
1,8 |
| Cd |
0,46 |
0,15 |
| Pb |
6,8 |
0,80 |
| Hg |
6,6 |
0,038 |
Заключение
1. Подсчитано, что только около 2% диоксинов остаются в почве прилегающих к МСЗ территорий. В Нидерландах, Франции и Бельгии из-за повышенного содержания диоксинов было запрещено употребление молока, полученного от коров, в рацион которых входила растительность с прилегающих к МСЗ территорий. Даже МСЗ, оборудованные современными очистными установками способны выделять в атмосферу значительное количество тяжелых металлов (свинец и кадмий).
2. Сжигание приводит не к полному уничтожению отходов, а лишь к трансформации в другие виды — выбросы отходящих газов, летучую золу и шлак, которые в тех или иных количествах оказываются на прилегающих к заводу территориях. В случаях использования на заводе воды к перечисленным выше выбросам добавляются жидкие стоки.
3. Существует всеобщее заблуждение, что вес и объем отходов в процессе сжигания значительно уменьшается. Если суммировать все выбросы МСЗ, их объем превысит первоначальный. Какая бы система очистки ни использовалась, загрязняющие вещества продолжают поступать в атмосферу.
4. В выбросах МСЗ присутствуют бромированные диоксины и диоксины, до сих пор вопросы регулирования выбросов касаются только диоксинов, содержащих хлор. Диоксины присутствуют в выбросах всех МСЗ. Они могут разлагаться в процессе сжигания и вновь образовываться по окончании этого процесса при изменении температурного режима. В процессе сжигания образуются новые диоксины.
5. Полихлорбензолы оказывают существенное влияние на здоровье человека и, способны негативно воздействовать на репродуктивную, нервную и иммунную системы. ГХБ может усиливать токсичность молока кормящих женщин. ГХБ оказывает влияние на развитие плода, функционирование печени, иммунной системы, почек и центральной нервной системы. Наиболее чувствительными к его воздействию являются печень и нервная система.
6. Выбросы ртути остаются одной из основных проблем МСЗ. Почти 100% ртути в газообразном состоянии выбрасывается в атмосферу, поскольку она не оседает на фильтрах, на частицах пыли и почти не остается в золе. Молекулярная ртуть может переноситься на большие расстояния.
7. Твердые частицы выбросов (менее 2,5 микрон) вызывают астму, являются причиной повышенной смертности от заболеваний дыхательной системы и сердца. Даже самые современные системы очистки газов препятствуют лишь выбросу 5-30% таких частиц.
Список литературы
1. Общественная организация «Эколайн» [Электронный ресурс] — режим доступа: http://www.ecoline.ru/mc/books/yufit/yuf2.html, свободный — Загл. с экрана (24 сен. 2009);
2. Красное Косино [Электронный ресурс] — режим доступа: http://kosino.kprf.org/content/view/197/88888902/, свободный — Загл. с экрана (11мая 2009).
|