РЕФЕРАТ
Дипломный проект состоит из 109 листов пояснительной записки, содержащей 12 таблиц и 17 иллюстраций, и 6 листов графической части. В дипломном проекте использовано 61 наименование источников литературы.
Ключевые слова: дозирование, количество электричества, электрическая энергия, квантователь, электротехнический комплекс, погрешность дозирования.
В данном дипломном проекте проведен обзор средств учета количества электричества и электрической энергии, имеющихся в настоящее время в промышленности и представленанализ потребности современного производства в устройствах дозирования с обоснованием их внедрения.
С этой целью разработаны схемы устройств дозирования количества электричества и электрической энергии, принцип действия которых основан на квантовании измеряемой величины по вольт-секундной площади и проведен анализ их метрологических характеристик.
Разделы пояснительной записки:
Использование дозатора электрической энергии при проведении контактной сварки.
Вопрос квантования текущего значения количества электричества и электрической энергии.
Разработка комплекса технических средств для цифрового дозирования количества электричества и электрической энергии.
Анализ метрологических характеристик.
Экономический расчет.
Охранатруда.
THE ABSTRACT
The degree project consists from 109 of sheets of an explanatory slip containing 12 of the tables and 17 of illustrations, and of 6 sheets of a graphic part. In the degree project are used 61 of the names of sources of the literature.
Key words: batching, quantity of electricity, electrical energy, quantizer, electrotechnical complex, error of batching.
In the given degree project are produced analyze of means of account of quantity of electricity and electrical energy, existing in current time in industry and is presented of needs of modern production in devises of batching with analyses of their introducing.
With this purpose are developed circuits of devices of batching of quantity of electricity and electrical energy, which principle of action grounded on quantization on the volt-second area and also the analysis of their metrological characteristics is carried out.
Забиваем Сайты В ТОП КУВАЛДОЙ - Уникальные возможности от SeoHammer
Каждая ссылка анализируется по трем пакетам оценки: SEO, Трафик и SMM.
SeoHammer делает продвижение сайта прозрачным и простым занятием.
Ссылки, вечные ссылки, статьи, упоминания, пресс-релизы - используйте по максимуму потенциал SeoHammer для продвижения вашего сайта.
Что умеет делать SeoHammer
— Продвижение в один клик, интеллектуальный подбор запросов, покупка самых лучших ссылок с высокой степенью качества у лучших бирж ссылок.
— Регулярная проверка качества ссылок по более чем 100 показателям и ежедневный пересчет показателей качества проекта.
— Все известные форматы ссылок: арендные ссылки, вечные ссылки, публикации (упоминания, мнения, отзывы, статьи, пресс-релизы).
— SeoHammer покажет, где рост или падение, а также запросы, на которые нужно обратить внимание.
SeoHammer еще предоставляет технологию Буст, она ускоряет продвижение в десятки раз,
а первые результаты появляются уже в течение первых 7 дней.
Зарегистрироваться и Начать продвижение
Sections of an explanatory slip:
Position of question of batching of quantity of electricity and electrical energy in modern production.
Question of quantization of the current meaning of an electric quantity and electrical energy.
Design of devises of batching.
The analysis of metrology performances.
Economic account.
Labour safety.
СОДЕРЖАНИЕ
Введение
1 Состояние вопроса дозирования количества электричества и электрической энергии в современном производстве
1.1 Анализ потребности производства в устройствах дозирования количества электричества
1.2 Аналитический обзор средств учета количества электричества, применяемых в электрохимии
1.3 Потребность производства в устройствах дозирования электрической энергии
1.4 О средствах учета электрической энергии, используемых в электротехнологиях
2 Вопрос квантования текущего значения количества электричества и электрической энергии
2.1 Основные понятия и определения по вопросу квантования количества электричества Q(t) и электрической энергии W(t)
2.2 Цифровое дозирование количества электричества и электрической энергии
2.3 Обоснование выбора интегрирующего преобразователя в качестве квантователя измеряемой величины по вольт-секундной площади
3 Проектирование устройств дозирования
3.1 Разработка схемы устройства цифрового дозирования количества электричества
3.2 Разработка схемы устройства цифрового дозирования электрической энергии
4 Анализ метрологических характеристик
4.1 Оценка погрешности квантователя по вольт-секундной площади и способы ее снижения
4.2 Определение погрешности устройства дозирования количества электричества
4.3 Определение погрешности устройства дозирования электрической энергии
4.4 Зависимость погрешности дозирования от состава технических средств комплексов дозирования
5 Экономический расчет
6 Охрана труда
6.1 Анализ опасных и вредных производственных факторов на рабочем месте оператора ЭВМ
6.2 Микроклимат
6.3 Освещение
6.4 Шум
6.5 Вибрация
6.6 Электробезопасность
6.7 Электромагнитное излучение
6.8 Эргономика рабочего места
6.9 Противопожарная безопасность
Заключение
Литература
ВВЕДЕНИЕ
В настоящей работе рассматривается вопрос о целесообразности и актуальности использования в современном производстве устройств дозирования количества электричества и электрической энергии, обеспечивающих более полную автоматизацию процессов электролиза, а также способствующих внедрению в производство новых, ресурсосберегающих и энергосберегающих электротехнологий, отвечающих требованиям настоящего времени.
Сервис онлайн-записи на собственном Telegram-боте
Попробуйте сервис онлайн-записи VisitTime на основе вашего собственного Telegram-бота:
— Разгрузит мастера, специалиста или компанию;
— Позволит гибко управлять расписанием и загрузкой;
— Разошлет оповещения о новых услугах или акциях;
— Позволит принять оплату на карту/кошелек/счет;
— Позволит записываться на групповые и персональные посещения;
— Поможет получить от клиента отзывы о визите к вам;
— Включает в себя сервис чаевых.
Для новых пользователей первый месяц бесплатно.
Зарегистрироваться в сервисе
В технической литературе термин «дозирование» наиболее широко употребляется для характеристики нормированного расхода веществ и материалов, а также штучных предметов, к которым можно отнести жидкие, газообразные, сыпучие вещества и прочие материалы. Существует большой перечень устройств и установок, выполняющих данные функции. Из электрических величин таким термином можно охарактеризовать только те величины, которые имеют способность накапливаться в течение определенного времени. К ним в первую очередь относятся заряд (количество электричества) и электрическая энергия.
Для учета количества электричества, затраченного в ходе той или иной электрохимической реакции, используются кулонометры, интеграторы тока, счетчики ампер-часов. Широкое применение электрохимических технологий во многих отраслях промышленности требует совершенствования средств учета и контроля количества электричества. Однако на многих предприятиях электрохимии эти средства по своим техническим возможностям не всегда отвечают требованиям современного производства.
В настоящее время для оперативного управления процессами электролиза необходимы средства автоматического контроля, способные не только измерять и контролировать количество электричества, но также и дозировать его.
Велика потребность в устройствах дозирования в гальваностегии, где дозаторы могут применяться при управлении процессами нанесения гальванических и антикоррозийных покрытий металлов с целью обеспечения заданной толщины защитных слоев. Высокой эффективности от дозирования можно добиться, если использовать дозаторы в процессе осаждения защитных или декоративных покрытий из драгоценных металлов (золота, платины и т.п.) для поддержания оптимального режима с целью экономии их расхода. Дозирование целесообразно использовать для контроля заряда при тренировках аккумуляторных батарей и в других электрохимических технологиях.
В электрохимии вопрос дозирования количества электричества имеет чрезвычайно важное значение, поскольку дозирующие устройства способны исполнять функции элементов автоматизации процессов электролиза.
В современном производстве при выполнении некоторых технологических операций нередко возникает потребность, а порой и необходимость, дозировать также и электрическую энергию. Выполнение этой процедуры подразумевает подачу в электрическую нагрузку заранее отмеренной порции энергии. Например, перед штамповкой в процессе предварительного электронагрева металлических заготовок, а также во время контактной точечной сварки дозирование электрической энергии является обязательной технологической операцией, поскольку самым непосредственным образом влияет на качество продукции.
Технологии с использованием дозирования электрической энергии могут широко применяться при термических процессах в химическом производстве, в оборонной, в пищевой и обрабатывающей промышленностях, в электротехнике, микроэлектронике и т. д.
Средства учета электрической энергии, используемые в настоящее время на предприятиях в электротехнологиях, зачастую не отвечают современным требованиям по автоматизации производства. В связи с этим, существует потребность в создании устройств измерений, обладающих дополнительными возможностями, в число которых входит функция дозирования.
Основной целью данной работы является разработка комплексов технических средств дозирования количества электричества и электрической энергии, способных обеспечивать применение прецизионных технологий при электролизе и осуществлять прецизионное дозирование электрической и тепловой энергии при электроконтактном или электродуговом нагреве металлов, а также при электротермическом нагреве различных материалов.
Для реализации поставленной цели требуется решение следующих задач:
обоснование технических требований к разрабатываемым приборам;
анализ существующих средств учета количества электричества и электрической энергии на пригодность работы в структуре дозаторов;
обоснование технических требований и выбор схемы квантователя, наиболее пригодной для практического использования;
исследование метрологических характеристик схемы квантователя;
разработка средств дозирования, обеспечивающих требуемую точность.
1. Состояние вопроса дозирования количества электричества и электрической энергии в современном производстве
1.1 Анализ потребности производства в устройствах дозирования количества электричества
В любой отрасли промышленности всегда имеется потребность либо в продуктах электрохимии, либо непосредственно в самом электрохимическом производстве. На большинстве предприятий машиностроительного профиля для проведения электрохимической обработки изделий существуют гальванические цеха, функционируют электрохимические лаборатории.
К электрохимическому методу обработки часто прибегают тогда, когда никакими другими методами изготовить или обработать изделие нельзя. В первую очередь это относится к гальваностегии – методу электроосаждения металлопокрытий, который повсеместно применяется с целью защиты изделий от коррозии, для защитно-декоративной отделки, а также для повышения сопротивления механическому износу наиболее ответственных деталей механизмов и образованию у них поверхностной твердости.
Кроме электролитического существуют и другие способы нанесения металлопокрытий, например, погружение изделий в расплавленный металл, распыление расплавленного металла, термическая диффузия металла в поверхностные слои изделия, плакирование – совместная горячая прокатка металла и покрытия, химическое восстановление, вытеснение металла из раствора его соли. Однако электролитический метод по сравнению с другими имеет ряд преимуществ, основное из которых – возможность получения осадков разнообразной структуры на металлических и неметаллических изделиях с регулируемой толщиной покрытия (от долей микрона до нескольких миллиметров) [1].
Важное практическое значение имеет технология восстановления изношенных деталей механизмов твердым электролитическим железом [2], которая представляет наиболее эффективный и экономически рациональный способ ремонта изношенных поверхностей в машиностроении.
Особого внимания заслуживает технология покрытия изделий благородными металлами с целью придания их поверхностям высокой способности к электро- и теплопроводности, а также к повышению химической устойчивости по отношению к агрессивным средам. При реализации подобных покрытий самое широкое распространение имеет метод электролитического золочения [1]. Однако, при использовании данного метода электроосаждения существует проблема соблюдения оптимальной технологии металлопокрытий, которая заключается, с одной стороны, в обеспечении качества покрытий, а с другой стороны, в экономии драгоценных металлов. Именно для такой технологии требуется наиболее эффективно применять процедуру дозирования количества электричества.
Целесообразно также применять дозирующие устройства для контроля заряда аккумуляторных батарей особенно при проведении тренировочных или восстановительных циклов с реверсированием тока заряда. Поддержание емкости аккумулятора в процессе его эксплуатации в допустимых пределах продлевает срок его эффективной работы, что отвечает современным требованиям по развитию ресурсосберегающих технологий.
Необходимость учета, а вместе с ним и дозирования количества электричества, вытекает из условия обеспечения непрерывного автоматизированного контроля за ходом процесса электролиза и управления им по заранее заданной программе.
1.2 Аналитический обзор средств учета количества электричества, применяемых в электрохимии
Из курса электрохимии известно, что во время процесса электролиза из расплавов металлов или растворов солей на одном из электродов, опущенных в ванну, происходит осаждение определенного количества металлов или выделение вблизи его определенного количества газов, по своей массе или объему пропорциональное израсходованному количеству электричества.
Основополагающим законом в электрохимии, подтверждающим сказанное выше, является первый закон Фарадея, устанавливающий связь между количеством вещества G
, выделившимся на электроде в процессе реакции, и количеством израсходованного при этом электричества Q
[3].
(1.1),
где – электрохимический эквивалент вещества, выделяемого на электроде [г];
F
– постоянная Фарадея (F
» 96500) (Кл);
А
– атомная масса элемента;
n
– валентность элемента.
Для измерения количества электричества, потребляемого во время электролиза, используются специальные приборы: баллистические гальванометры, кулонометры, интеграторы тока, счетчики ампер-часов.
Самыми чувствительными приборами из перечисленных являются баллистические гальванометры, которые применяют для измерения малых количеств электричества, протекающих в течение коротких промежутков времени. Например, баллистический гальванометр типа М17/13, обладает разрешающей способностью СQ
= 0,8×10-9
Кл×м/мм. Погрешность измерения баллистическим гальванометром в значительной мере зависит от соотношения времени прохождения импульса тока через катушку гальванометра и периода свободных колебаний его подвижной части и может составлять ±(5 ÷ 10)%.
Известны различные типы электронных кулонометров и кулонометрических установок, специфика которых зависит от характера электродных процессов [4]. Они применяются в основном для проведения кулонометрического анализа в научно-исследовательских, химических лабораториях.
Кулонометры служат для измерения количества электричества, в импульсах тока, протекающих за время от 0,05 до 2 секунд при амплитуде тока от 20 до 200 мА. Например, милликулонометр типа М337 используется для диапазона измерений 0 ÷ 30 мКл и 0 ÷ 150 мКл. Основная приведенная погрешность такого прибора обычно не превышает ± 5 %.
Особенностью работы кулонометров является необходимость постоянства амплитуды импульса измеряемого тока, т.е. применение их ограничивается измерением количества электричества прямоугольных импульсов. К данным приборам можно отнести также кулонометры типа ЦЛА, К-1, прецизионную установку ПКУ-101, составными элементами которых, как правило, являются электрохимическая ячейка с набором электродов, потенциостат, интегратор тока, электронные потенциометры. Подсчет результатов измерений в ходе электрохимических процессов осуществляется с помощью этих приборов посредством интегрирования в течение определенного времени текущего значения тока электролиза
(1.2)
где Q(t)
- текущее значение количества электричества ( Кл );
i(
t
)
- текущее значение силы тока в цепи электролиза ( А );
t -
время интегрирования ( с ).
Одним из типичных представителей такого ряда приборов, используемых для электрохимических исследований в заводских лабораториях, является интегратор кулонометрический ИПТ-1[5].
Для определения количества электричества, протекающего в цепях постоянного тока в течение длительного времени, в промышленности нашли широкое применение две разновидности счетчиков количества электричества – электролитические и магнитоэлектрические.
Измерительным элементом в электролитических счетчиках является водородный кулонометр, производящий интегрирование тока. К таким приборам относится, например, счетчик Х603 [6], предназначенный для учета слабых токов и применяемый, в основном, в качестве счетчика моточасов работы приборов. Аналогичный принцип действия имеют электролитические счетчики ампер-часов типа Х602А и Х15, служащие для учета количества электричества, протекающего в цепях аккумуляторных батарей [7]. Приведенная погрешность таких электролитических счетчиков ампер-часов может достигать ± (2÷ 4) %.
Наиболее широкое применение на предприятиях электрохимии в качестве приборов контроля количества электричества, расходуемого во время процессов электролиза, в силовых установках постоянного тока имеют магнитоэлектрические счетчики ампер-часов типов СА-М640, СА-М640У и СА-Ф603П [7]. В этих цепях они, как правило, используются в комплекте с измерительными преобразователями или добавочными устройствами (Р640), рассчитанными на работу с большими токами (до сотни килоампер). Относительная погрешность таких счетчиков ампер-часов лежит в диапазоне (±1,0 ÷ ±3,0) % без учета погрешностей шунтов.
В настоящее время, наряду с электролизом при стационарных режимах работы на постоянном, относительно стабильном токе, применяют электролиз в нестационарных режимах – на токах сложной формы, для которых характерны следующие показатели. В моменты переходов из одного режима в другой плотность тока электролиза может резко изменяться по величине, а также происходить реверсирование или прерывание постоянного тока с последующей стабилизацией электрических параметров. Изменение режимов способствует интенсификации технологического процесса вследствие устранения отрицательных явлений, сопутствующих повышению плотности тока, к которым относятся снижение качества катодного осадка, потеря благородных металлов и пассивация анодов [8]. Рассмотренный динамический режим характеризуется кратковременным превышением значений тока, в 2¸10 раз превосходящих рабочие величины. Одним из сложных для реализации является ассиметричный реверсивный режим, применяемый для гальванического «осталивания» деталей, в котором используется импульсный ток с крутыми фронтами [9].
Применение магнитоэлектрических счетчиков для измерения количества электричества, потребляемого при таких режимах, приводит к увеличению погрешностей в измерениях, вследствие инерционности подвижных механизмов счетчиков, которые не успевают отрабатывать эти изменения. Еще большие погрешности измерений накапливаются в процессе периодических операций "реверсирования" тока.
Наиболее энергоемкими приемниками электроэнергии на предприятиях цветной металлургии являются электролизеры алюминия, магния, цинка, меди и никеля. Их мощности на постоянном токе достигают 1000 ÷ 2500 МВт.
Как известно [9], основными источниками питания электролизных и электротермических установок являются полупроводниковые преобразователи электрической энергии. Во время их работы в силовых цепях тиристорных преобразователей возникают периодически повторяющиеся обратные выбросы тока (с частотой, кратной 50 Гц), поступающие в нагрузку. Их воздействие в определенной мере влияет на процесс электролиза, однако по указанным выше причинам оно не может быть учтено магнитоэлектрическими счетчиками ампер-часов, что приводит к дополнительным погрешностям измерений.
Известно, что силовые установки электролизеров при производстве меди и никеля рассчитаны на токи нагрузки 25¸60 кА [10], а токи электролиза при производстве алюминия могут достигать значений до 200 кА [11], поэтому при использовании в качестве измерительных приборов указанных счетчиков, величины погрешностей, возникающих при измерениях могут быть достаточно высокими.
В электрохимии назрела ситуация, когда требуется обновить парк морально устаревших и не отвечающих требованиям времени измерительных приборов и приложить определенные усилия к созданию электронных средств измерений количества электричества, обладающих высокими точностными характеристиками.
В последнее время на некоторых предприятиях электрохимии начинают использовать электронные счетчики количества электричества, которые существенно превосходят все названные типы счетчиков по показателям точности, однако внедрение их в производство не имеет массового характера [12]. Погрешность таких электронных счетчиков, как правило, не превышает 1%.
Следует отметить, что по состоянию на настоящий момент в электрохимическом производстве дозирование количества электричества практически не применяется. Этот факт подтверждается еще и тем, что ни в одном из перечисленных лабораторных приборов, а также ни на одной из промышленных установок для электролиза не предусмотрено автоматическое отключение источника тока, которое должно осуществляться после получения нагрузкой заданной дозы количества электричества, расходуемого в электрохимическом процессе. Как уже было отмечено, наиболее острая потребность в приборах дозирования существует в гальваностегии при осаждении на металлические поверхности антикоррозийных или декоративных покрытий. На некоторых предприятиях эту задачу решают в частном порядке путем внедрения в процесс самостоятельно изготовленных образцов дозирующих устройств [10].
Отсутствие промышленных приборов дозирования количества электричества принципиально не позволяет решать задачи автоматизации технологических процессов электролиза.
Средства учета количества электричества, какими являются, например, кулонометры, интеграторы тока, счетчики ампер-часов, не наделены функциями подключать и своевременно отключать электрическую нагрузку от источников тока [13].
Современные технические требования, ориентированные на внедрение в производство энерго- и ресурсосберегающих технологий, в основу которых положен принцип непрерывного контроля за ходом технологических процессов, а также необходимость проведения мероприятий по сокращению времени присутствия оперативного персонала в цехах с вредными условиями труда, заставляют совершенствовать имеющиеся и создавать новые средства автоматизации производства.
1.3 Потребность производства в устройствах дозирования электрической энергии
Одной из возможных областей применения разрабатываемого прибора - дозатора электрической энергии является управление процессом проведения контактной точечной сварки, где на сварку каждой точки должно выделяться определенное количество энергии, которое будет задаваться заранее с помощью набора переключателей блока задания дозы.
Выбор в качестве объекта управления установки для контактной сварки не случаен. Область применения контактной сварки чрезвычайно широка — от крупногабаритных строительных конструкций, космических аппаратов до миниатюрных полупроводниковых устройств и пленочных микросхем. В настоящее время около 30 % всех сварных соединений выполняют различными способами контактной сварки. Среди других способов сварки она отличается очень высокой степенью механизации, роботизации, автоматизации и, как следствие, высокой производительностью.
Этот способ сварки широко используют в автомобиле- и вагоностроении, строительстве, радиоэлектронике и т. д. Например, в конструкциях современных лайнеров насчитывается несколько миллионов сварных точек, легковых автомобилей – до 5000 точек. Диапазон толщины свариваемых элементов – от нескольких микрометров до 10 – 30 мм. Точечной сваркой соединяются элементы жесткости и крепежные детали с листами, тонкостенными оболочками и панелями.
Электрическая энергия, потребляемая в нагрузке за определенный промежуток времени вычисляется по формуле:
(1.3)
где u
,
i
,
p
– мгновенные значения напряжения, тока и мощности на нагрузке;
t
– время интегрирования.
Электронный счетчик электрической энергии должен реализовывать процедуру вычисления интеграла от произведения мгновенных значений напряжения и тока нагрузки, поэтому в его состав должны входить первичные преобразователи напряжения, тока, множительное и интегрирующее устройства.
Известны различные варианты построения схем электронных счетчиков, предназначенных для систем учета и контроля электрической энергии в однофазных и трехфазных цепях переменного тока, где используются аналоговые множительные устройства с широтно-импульсной и амплитудной модуляцией с последующим преобразованием полученного напряжения в частоту. К таковым можно отнести, например, счетчики типа Ф441, Ф652 и т.п.
Потребность в использовании разрабатываемого дозатора электрической энергии может возникнуть при управлении технологическими процессами, проходящими с применением тепловой энергии, выделяемой при электрическом или электродуговом нагреве, например в машиностроении для предварительного прогрева металла перед штамповкой, при точечной и стыковой сварке деталей, при плавке металлов в дуговых электрических печах, при термических процессах в химическом производстве, в пищевой промышленности, в медицинской технике и т. д.
Во время работы электротермических и электросварочных установок энергия из электрической практически полностью превращается в тепловую.
Основным электрическим параметром для учета выделенной тепловой энергии в электродуговой установке является активная мощность, потребляемая ей за время горения электрической дуги, так как ток дуги может меняться в широких пределах при неизменной мощности установки.
Проектируемый прибор дает возможность дозировать подачу заранее определенного количества электрической энергии в электрическую нагрузку, и контролировать количество тепловой энергии, выделяющейся в зоне формирования электрической дуги, при одинаковых повторяющихся электродуговых процессах. Именно поэтому наибольший эффект от применения дозатора будет наблюдаться на автоматизированных линиях.
Конечной целью нормированного дозирования электрической энергии является стабилизация теплового импульса энергии, необходимого для обеспечения качественного выполнения технологической операции и снижения суммарных потерь энергии. Наибольшего экономического эффекта при дозировании энергии можно добиться, используя дозирующие устройства на автоматизированных поточных линиях в циклически повторяющихся операциях.
Создание дозирующих устройств на основе, например, широко распространенных цифровых измерителей мощности с аналоговыми преобразователями не составит больших экономических затрат.
В данной работе в качестве примера приведен вариант построения схемы дозатора электрической энергии с обоснованием выбора отдельных элементов.
Применение на производстве электронных счетчиков количества электричества, обладающих высокими показателями точности, не имеет массового характера. На большинстве предприятий электрохимии находятся в использовании морально устаревшие и не отвечающие требованиям времени средства учета количества электричества, что отрицательно сказывается на точности измерений, а в конечном итоге и на качестве продукции.
Одним из факторов, которые могут повлиять на успешное осуществление автоматизации производства, использующего электрохимические технологии, является создание и внедрение дозирующих устройств на основе электронных измерителей-дозаторов количества электричества, способных помимо измерительной функции выполнять функцию дозирования.
В настоящее время в машиностроении широко применяются технологии контактной сварки, электроконтактного нагрева металлов, термического нагрева различных материалов. Реализация этих технологий неразрывно связана с необходимостью применения процедуры дозирования электрической энергии.
Актуальность дозирования электрической энергии имеет место в ряде отраслей промышленности и при осуществлении хозяйственной деятельности, в связи с чем существует потребность в разработке дозирующих устройств на основе электронных счетчиков электрической энергии, которые смогут выполнять не только измерительные функции, но также функции контроля и управления, т.е. дозирования.
Внедрение предлагаемых дозирующих устройств в производство позволит, наряду с повышением качества продукции и снижением материальных затрат на ее создание, существенно облегчить решение задач автоматизации технологических процессов.
Во время работы электротермических и электродуговых установок электрическая энергия, потребляемая нагрузкой, практически полностью превращается в тепловую, поэтому дозирование тепловой энергии, выделяющейся в области электронагрева или в зоне формирования электрической дуги, можно осуществлять посредством дозирования электрической энергии, потребляемой в нагрузке.
Проводя анализ существующих в современном производстве электротехнологических процессов, можно достаточно легко определить перечень операций, где процедура дозирования электрической энергии должна быть их неотъемлемой частью. В настоящее время наибольшая потребность в устройствах дозирования существует в машиностроительных отраслях.
Наглядным примером процесса, требующего использования процедуры дозирования, является электроконтактный нагрев металлических заготовок, проводимый перед горячей ковкой или штамповкой. Этот способ нагрева заключается в пропускании тока через заготовку, в результате чего в ней, согласно закону Джоуля-Ленца, выделяется тепловая энергия, которую можно вычислить по формуле:
, (1.4)
где i
- текущее значение тока, меняющееся в процессе нагрева, А;
r
Э
- активное сопротивление металла между электродами, Ом;
t
- длительность протекания тока при нагреве, с.
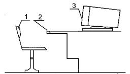
Схема силовой цепи электроконтактной установки показана на рисунке 1.1.

Рисунок 1.1 – Схема контактной точечной сварки.
К нагреваемой заготовке с помощью контактов подключена вторичная обмотка понижающего силового трансформатора 3. Электрическая энергия к первичной обмотке трансформатора 3 подводится через контактор 2 от силовой электрической сети напряжением 380 или 220 В и частотой 50 Гц. При подаче энергии происходит контактный нагрев металлической заготовки.
Электроконтактный нагрев или, так называемый, нагрев сопротивлением, характеризуется большими токами, пропускаемыми через нагреваемые заготовки (1-40 кА), и малыми подводимыми напряжениями (2-20 В) [14].
Контактным способом рекомендуется нагревать длиномерные заготовки, имеющие постоянное поперечное сечение по длине, а также прутки диаметром до 100 мм и профильные заготовки. Данный способ нагрева находит применение также и в высадочных машинах, используемых в серийном кузнечно-штамповочном производстве [14].
Способ электроконтактного нагрева приобрел широкое применение, благодаря своим преимуществам перед другими известными методами нагрева: печным, электропечным и индукционным. Например, по сравнению с печным нагревом контактные электронагреватели обеспечивают большую скорость нагрева, лучшие условия работы обслуживающего персонала, меньший угар металла, а по сравнению с индукционным – более равномерное распределение температуры по сечению нагреваемой заготовки, а также возможность получить в центре сечения заготовки более высокую температуру, чем на поверхности, и обеспечить тем самым оптимальные условия деформации металла при обработке давлением. Кроме того, этот метод имеет самый высокий КПД, достигающий 93% [14].
Электроконтактный способ является экономически более эффективным и рентабельным по сравнению с другими, поэтому не случайно в странах Западной Европы и США разработкой и производством электроконтактных установок мощностью от 2000 до 10000 кВ×А и выше занимается ряд крупных фирм, таких, как «BrawnBoveri», «BahlerVerein», «Hasen-Klever», «Hateburg» и др.
В отечественной практике в настоящее время перспективны комбинированные электроконтактные устройства, в которых совмещаются операции нагрева и рубки заготовок в одном агрегате. Встройка таких установок в поточные линии технически наиболее эффективна по сравнению с другими установками нагрева, поскольку позволяет максимально автоматизировать технологические операции [15].
В существующих электроконтактных нагревательных установках с целью стабилизации выходной температуры заготовок, как правило, задают одинаковое для всех заготовок время пропускания тока и стабилизируют его величину. Однако, при этом разброс значений переходных контактных сопротивлений, возникающих при смене заготовок в силу ряда причин (наличие загрязнений или окисных пленок на поверхностях заготовок, ослабление усилий между прижимными контактами и заготовкой, износ рабочих поверхностей контактов), препятствует стабильному разогреву каждой из них. В отдельных ответственных случаях нагрева для управления дозированием энергии используют ЭВМ [14].
При выполнении операции нагрева с использованием устройства дозирования электрической энергии за время протекания тока между электрическими контактами в массе металла выделится определенная порция тепловой энергии, равная заданной дозе, не зависящая от изменений параметров, указанных выше, за исключением незначительных тепловых потерь, затраченных на нагрев подводящих контактов.
Количество тепловой энергии, необходимое для нагрева заготовки до определенной температуры, рассчитывается предварительно и уточняется экспериментально. В конечном результате, дозированный разогрев каждой заготовки будет производиться до одинаковой температуры, что позволит существенно повысить качество проведения технологической операции (ковки, штамповки) и, тем самым, снизит уровень брака. Наибольшего экономического эффекта от дозирования энергии здесь можно добиться, используя дозирующие устройства на автоматизированных поточных линиях в циклически повторяющихся операциях.
Показательным примером процесса, требующего, как и в предыдущем случае, введения процедуры дозирования, является процесс управления машинами, предназначенными для контактной точечной сварки. Функции дозирования выполняются здесь аппаратурой управления, в результате работы которой осуществляется: включение, регулирование и выключение сварочного тока; регулирование последовательности и продолжительности отдельных операций цикла сварки, в том числе и времени протекания тока.
В большинстве машин контактной точечной сварки, используемых в машиностроении, управление производится с помощью регуляторов циклов сварки (РЦС, РВИ и др.) в зависимости от выбранной циклограммы работы машины. Такие регуляторы производят импульсное, синхронное с сетью включение вентилей контактора, обеспечивают фазовое регулирование действующего значения сварочного тока, устанавливают заданную последовательность включения блоков машины и определяют продолжительность их работы.
Еще большими возможностями регулирования, чем в машинах с РЦС, обладает аппаратура управления контактной сваркой с замкнутыми системами автоматического регулирования на основе микроЭВМ и средств микропроцессорной техники, которая может реализовывать сложные алгоритмы управления циклом контактной сварки, применять расчетные методы при определении параметров ее режимов и производить выбор наиболее оптимальной программы действий. Следует отметить, что при рассмотрении алгоритма управления машиной контактной сварки с замкнутой системой контроля рабочая программа позволяет производить своевременное изменение величины сварочного тока или длительности процесса сварки для получения качественных соединений. Однако такие системы являются дорогостоящими и сложными в эксплуатации, поэтому не имеют широкого распространения.
Для сварки изделий из легких сплавов, легированных и жаропрочных сталей, а также из сплавов других цветных металлов серийно выпускаются конденсаторные машины. В этих машинах сварку производят за счет энергии, запасенной в батарее электролитических низковольтных конденсаторов, которые заряжаются от сети переменного тока до определенного напряжения через управляемый выпрямитель. Переключающим устройством батарею разряжают через первичную обмотку сварочного трансформатора, а на сварочном токе во вторичной обмотке этого трансформатора осуществляют сварку. Доза энергии определяется уровнем заряда конденсаторов. К преимуществам машин для конденсаторной сварки следует отнести стабильность сварочного импульса, к недостаткам - сложность и более высокую стоимость.
Для проведения точечной микросварки выпускаются конденсаторные машины малой мощности, применяемые в приборостроении, радиоэлектронике, электротехнике и в других отраслях промышленности.
Крупногабаритные громоздкие изделия, точечная сварка которых затруднена или невозможна на стационарных сварочных машинах, сваривают с помощью подвесных машин или клещей со встроенными трансформаторами. Особенно широко применяются такие машины в автомобилестроении, а также для сварки арматурных каркасов железобетонных изделий и т.п. Машины комплектуются тиристорными контакторами и регуляторами цикла сварки.
На качество сварки существенное влияние оказывают возмущения, связанные с изменением сопротивления между электродами от произвольных колебаний диаметра электрода, усилия сжатия и шунтирования тока. Поэтому для стабилизации качества сварки в схему фазорегулятора вводятся дополнительно узлы автоматической стабилизации сварочного тока и напряжения на электродах. Однако поддержание на постоянном уровне величины сварочного тока в течение времени горения электрической дуги является трудновыполнимой задачей, так как в рабочих режимах ток дуги изменяется в широких пределах, поэтому речь идет лишь об относительной стабилизации данного параметра в некотором диапазоне.
Наиболее распространенными на производстве являются однофазные машины точечной сварки переменного тока средней мощности (типа МТ, МТП), работающие в малых и средних предприятиях в различных отраслях промышленности. В результате отсутствия во многих из них регуляторов цикла сварки управление машинами осуществляется вручную. Поэтому качество сварки полностью зависит от мастерства операторов.
Для каждого металла и любой толщины свариваемых деталей можно найти некоторый оптимальный режим, который обеспечивал бы получение сварных соединений необходимого качества. Использование дозирующих устройств открывает широкие возможности программирования процессов сварки и электронагрева.
Для сварочных процессов характерны некоторые особенности точного дозирования, которые возникают из-за специфики точечной сварки. Они заключаются в быстротечности данного процесса (0,08¸1,0 с), в минимальной протяженности зоны термического влияния, в нестабильности переходных контактных сопротивлений электродов, в резких изменениях основных электрических параметров: сварочного тока (для однофазных машин переменного тока 3 ¸ 20 кА) и напряжения между электродами [16].
Наличие таких особенностей предъявляет дополнительные требования, как к измерительной аппаратуре, так и к аппаратуре управления сварочными машинами, которая должна обладать высокой чувствительностью, малой инерционностью, точностью работы и одновременно иметь высокую помехозащищенность и эксплуатационную надежность. Таким требованиям может отвечать только аппаратура, созданная на базе электронных компонентов.
Включение в состав аппаратуры управления средств дозирования электрической энергии, которые в процессе сварки будут учитывать в реальном режиме времени изменения основных электрических параметров процесса, приведет к стабилизации теплового импульса, выделяемого в зоне точечной сварки, что главным образом отразится на качестве сварных соединений.
Еще одной отраслью промышленности, где дозирование электрической энергии непосредственно применяется в технологическом процессе, является сталелитейная отрасль. Здесь для автоматического управления электрическими режимами работы электропечных трансформаторов дуговых сталеплавильных печей (ДСП) используются дозаторы энергии совместно с программно-логическими устройствами [17]. Первостепенной функцией таких устройств является программирование расхода электроэнергии при проведении плавок.
Основной задачей регулирования электрического режима является ввод в печь максимально возможной активной мощности в соответствии с возможностями трансформатора. Регулируемой величиной в дуговых сталеплавильных печах является полезная активная мощность дуг, поэтому при регулировании подвергаются контролю напряжения и токи фаз.
Данные дозаторы энергии разработаны ВНИИР и ВНИИЭТО совместно с заводом «Большевик» (г. Ленинград) и с СПКТБ электротермического оборудования ПО «Сибэлектротерм».
Применение дозатора для такого чрезвычайно энергоемкого процесса, каким является электродуговая плавка в ДСП, в первую очередь обусловлено экономией электрической энергии за счет ее рационального использования с целью ограничения непроизводительных расходов.
1.4 О средствах учета электрической энергии, используемых в электротехнологиях
На протяжении последних десятилетий измерение расхода активной электрической энергии в цепях переменного тока для промышленных целей и бытовых нужд производится с помощью индукционных счетчиков переменного тока номинальной частотой 40-60 Гц (ГОСТ 6570-75) [18].
Принцип действия индукционного измерительного механизма таких счетчиков основан на взаимодействии двух или нескольких переменных магнитных потоков с токами, индуктированными ими в подвижном алюминиевом диске. Возникающий при этом в подвижном элементе счетчика вращающий момент пропорционален активной мощности. Для учета израсходованной энергии с помощью счетного механизма осуществляется подсчет количества оборотов диска.
В настоящее время среди наиболее распространенных приборов для учета активной энергии можно выделить однофазные счетчики киловатт-часов типов СО-И445, СО-И446, СО-И449 2-го класса точности, трехфазные счетчики киловатт-часов типов СА3-И674, СА3-И675, СА3-И681, СА3-И682 1-го класса точности и СА3-И670, СА3-И672, СА3-И677, СА3-И678 2-го класса точности [7].
С ростом мощностей и расширением ассортимента электрических нагрузок в сетях электроснабжения современных потребителей электроэнергии возрастает уровень нелинейных искажений токов и напряжений, который в отдельных случаях может достигать значений до 20%. В этих условиях индукционные счетчики, работающие в узком диапазоне частот, дают дополнительную погрешность до 10% [19]. Поэтому неотложной задачей времени стало внедрение в производство цифровых электронных счетчиков, способных прийти на смену электромеханическим.
В связи с интенсивным развитием цифровой электронной техники появилась возможность проектирования более точных, чувствительных и быстродействующих цифровых средств измерений электрической мощности и энергии. Такие приборы были разработаны на базе, так называемых, предвключенных модулей, которые представляют собой аналоговые измерительные преобразователи мощности (ИПМ). Например, электронные приборы для измерения мощности строятся на основе измерительного преобразователя мощности в напряжение, на выходе которого устанавливается магнитоэлектрический измерительный механизм со шкалой, градуированной в единицах мощности.
Наиболее распространенный принцип построения электронных счетчиков электроэнергии, выпускаемых на данный момент промышленностью, состоит в дополнении к ИПМ преобразователя напряжения в частоту и подсчете импульсов на выходе этого преобразователя.
В качестве предвключенных приборов в модульном исполнении выпускаются измерительные преобразователи активной, реактивной и полной мощностей переменного тока, предназначенные для работы, как в однофазных, так и в трехфазных цепях для измерения мощности и энергии.
В основе работы преобразователя активной мощности лежит реализация зависимости
,
где Р
– измеряемая мощность; Т
– период тока i
и напряжения u
на нагрузке. Наиболее ответственным элементом исследуемого преобразователя является устройство перемножения текущих значений напряжения u
(
t
)
и тока i
(
t
)
.
Академик П.П. Орнатский разделяет структуры существующих цифровых измерителей мощности по следующим принципам построения [19]:
структуры с промежуточными аналоговыми преобразованиями мощности в информативный параметр электрического сигнала и с последующим преобразованием аналог – код (рисунок 1.2, а);
структуры с преобразованием информативных параметров входных сигналов в код и определением результата при помощи цифровых вычислительных устройств (микропроцессоров) (рисунок 1.2, б).
а) б)
Рисунок 1.2 - Структуры цифровых измерителей мощности:
а) – с аналоговым преобразователем мощности; б) – с кодированием мгновенных значений тока и напряжения и последующим цифровым вычислением значения мощности
В настоящее время в энергетике используются преимущественно структуры с аналоговыми ИПМ, например, в системах электропередачи, на АСУ ТП энергообъектов, на электротранспорте.
Структуры с преобразованием информативных параметров входных сигналов в код предполагают цифровое перемножение их мгновенных значений с последующим осреднением результатов.
При этом значение измеряемой мощности NW
будет определяться из выражения
, (1.5)
где n
– число мгновенных значений Nu
(kT
д
) и Ni
(kT
д
) обоих сигналов в дискретные моменты времени за период Т
с шагом дискретизации Тд
.
Данная структура содержит два преобразователя мгновенных значений u
(
t
)
и i
(
t
)
в код, микропроцессор и цифровое счетное устройство.
Применение этого метода является наиболее эффективным в цепях с сигналами низких и инфранизких частот, что обусловлено ограниченным быстродействием.
Более высокое быстродействие, чем в предыдущем примере обеспечивает реализация структур с цифровым перемножением интегральных значений входных сигналов, однако при этом требуется дополнительно преобразовывать в цифровой код косинус угла фазового сдвига между током и напряжением исследуемой цепи. Недостатком такого метода является возникновение дополнительных погрешностей из-за отклонения форм кривых входных сигналов от синусоидальных.
Применение так называемого вычислительного преобразователя с использованием микропроцессорных структур, не приобрело широкого распространения и встречается, в основном, в области низких частот. Вызвано это тем, что в части быстродействия и точности такие преобразователи не вполне отвечают необходимым требованиям, а их приборная реализация сопряжена с большим расходом оборудования [20].
Электронные счетчики активной энергии строятся на основе аналогового преобразователя мощности с последующим интегрированием его выходной величины в соответствии с зависимостью
. (1.6)
Схема такого счетчика показана на рисунке 1.3, где ПМН
– преобразователь мощности в напряжение, представленный на рис.4, а; ПНЧ
– преобразователь напряжения в частоту; СИ
– счетчик импульсов. Как было показано, U
ВЫХ
пропорционально активной мощности Р
. С помощью ПНЧ
напряжение U
ВЫХ
преобразуется в частоту f
импульсов, которая таким образом пропорциональна мощности Р
. Выходные импульсы ПНЧ
подсчитываются счетчиком импульсов СИ
, показания которого пропорциональны активной энергии W
а
.
Рисунок 1.3 - Структурная схема электронного счетчика активной энергии
Наибольшее распространение в системах учета тепловой и электрической энергии получили импульсные перемножающие устройства (ИПУ) с широтно-импульсной (ШИМ) и амплитудной модуляцией (АМ), которые обеспечивают высокую статическую точность, достигающую значения 0,01% [21, 22], как в цепях постоянного тока, так и в цепях переменного (однофазного, трехфазного) тока с синусоидальной или несинусоидальной формой сигнала. Например, на этом принципе работают измерительные преобразователи мощности Е748, Ф5139, счетчик для учета энергии на электротранспорте Ф440, активно-реактивные счетчики электрической энергии – однофазный Ф441 и трехфазный счетчик Ф652.
В промышленности и для хозяйственных нужд используется большое разнообразие электрических счетчиков, применяемых для учета расхода электрической энергии в цепях переменного или постоянного тока, которые имеют в качестве измерительных устройств индукционную или электронную системы, однако ни один из известных типов счетчиков не предназначен для дозирования энергии, т.е. не снабжен устройствами для задания дозы и подачи управляющих сигналов на своевременное включение-отключение источников энергии от нагрузки.
Цифровые измерительные приборы с подобными - предвключенными - измерительными преобразователями были разработаны для решения наиболее насущных задач в различных областях науки, техники, энергетики, народного хозяйства для измерения электрической энергии, электрической мощности, параметров магнитных цепей, массы изделий, температуры и т.п. Внедрение таких приборов в производство позволило решить проблему автоматизации измерительных процедур, требующих непрерывного контроля технологических параметров в течение длительных периодов времени.
Наиболее высокую эффективность принесло применение таких приборов в энергетике, где для обеспечения экономного расходования энергоресурсов и глубокого изучения энергетических аспектов различных процессов необходимы точные быстродействующие и чувствительные цифровые средства измерения электрической мощности и энергии. Широкое применение нашли измерительные преобразователи мощности (ИПМ) в ваттметрах и счетчиках электроэнергии в энергетике и на электротранспорте.
Электронный счетчик электрической энергии должен реализовывать процедуру вычисления интеграла от произведения мгновенных значений напряжения и тока нагрузки, поэтому в его состав должны входить первичные преобразователи напряжения, тока, множительное и интегрирующее устройства.
Известны различные варианты построения схем электронных счетчиков, предназначенных для систем учета и контроля электрической энергии в однофазных и трехфазных цепях переменного тока, где используются аналоговые множительные устройства с широтно-импульсной и амплитудной модуляцией с последующим преобразованием полученного напряжения в частоту. К таковым можно отнести, например, счетчики типа Ф441, Ф652 и т.п.
Однако ни в одном из перечисленных технических решений не предусмотрена возможность дозирования энергии, расходуемой на проведение определенной технологической операции, хотя потребность в этом существует, например, в машиностроении для предварительного прогрева металла перед штамповкой, при точечной сварке деталей, при плавке металлов в дуговых электрических печах и т.д.
Применение электронных счетчиков переменного тока целесообразно для измерения крупных потоков энергии и в системах с высоким уровнем нелинейных искажений [19].
Повышение точности измерений мощности и энергии требует учета особенностей энергетических процессов в системах электроснабжения при наличии нагрузок, ухудшающих форму кривой напряжения и создающих колебания напряжения и асимметрию. Точность измерения мощности и энергии, потребляемых нагрузкой, определяется не только классом точности прибора, но и структурой измерительного устройства, от которой зависит, насколько применяемое устройство учитывает искажающие свойства нагрузок.
В предлагаемом устройстве измерение расхода электрической энергии осуществляется путем аналогового перемножения мгновенных значений сигналов, пропорциональных напряжению и току нагрузки с последующим интегрированием результата в течение определенного времени. Величина текущего расхода электрической энергии пропорциональна сумме счетных импульсов, полученных в процессе квантования по вольт-секундной площади результата текущего интегрирования.
Способность дозирования, приданная электронному измерителю с целью расширения функциональных возможностей, заключается в формировании им управляющего сигнала на отключение цепи нагрузки от источника питания в момент, когда текущий расход электрической энергии окажется равным заранее заданной величине (дозе) энергии. Таким образом, данный электронный измеритель-дозатор, наряду с измерением расхода энергии, ограничивает подачу в нагрузку величины энергии, превышающей заданную дозу.
Предлагаемый электронный измеритель электрической энергии можно использовать как в цепях переменного (однофазного, трехфазного) тока с синусоидальной или несинусоидальной формой сигнала, так и в цепях постоянного тока, применяя при этом в качестве измерительных датчиков тока прецизионные четырехзажимные резисторы, включенные последовательно с нагрузкой или трансформаторы постоянного тока.
Широтно-импульсные умножители на основе использования преобразователя напряжение-время обладают наивысшей точностью, так как транзисторы в них используются в ключевых режимах и изменение крутизны их характеристик из-за внешних воздействий не вызывает погрешности. Умножители с широтно-импульсной модуляцией в модульном исполнении имеют минимальную погрешность (0,1¸0,01%), нелинейность 0,02 %, частотный предел составляет примерно 3% от частоты несущей (до 100 кГц). На использовании умножителей с широтно-импульсной модуляцией основаны современные наиболее точные измерители электрической мощности, а также серийные электронные счетчики электрической энергии.
Электронный счетчик электрической энергии должен выполнять непрерывно и продолжительно в режиме реального времени процедуру вычисления интеграла от произведения мгновенных значений напряжения и тока нагрузки. Если при данной операции использовать устройство дозирования электрической энергии, то за время протекания тока между электрическими контактами в массе металла выделится определенная порция тепловой энергии, равная заданной дозе, не зависящая от изменений вышеуказанных параметров, за исключением незначительных тепловых потерь, затраченных на нагрев подводящих электродов.
Количество тепловой энергии, необходимое для нагрева заготовки до определенной температуры, рассчитывается предварительно и уточняется экспериментально. В конечном результате, дозированный разогрев каждой из заготовок будет производиться до одинаковой температуры, что позволит существенно повысить качество проведения технологической операции и, тем самым, снизит уровень брака.
Устройства дозирования могут применяться при исследовании защитных характеристик вставок предохранителей, тепловых реле, проверке характеристик термопреобразователей, при исследовании динамики тепловых процессов и т. д.
Целью данной работы является разработка устройства, способного осуществлять дозирование электрической энергии при электроконтактном или электродуговом нагреве металлов, в контактной точечной сварке, в микроэлектросварке, а также при электротермическом нагреве различных материалов.
Осуществлять дозирование электрической энергии можно путем включения и своевременного отключения источника энергии от нагрузки. В процессе этого действия необходимо проводить непрерывный контроль заданной и потребляемой доз энергии при помощи высокоточных электронных измерительных устройств, способных выполнять операцию вычисления потребляемой электрической и операцию сравнения.
Однако, как и в случае с электроконтактным нагревом, аппаратура управления отслеживает и регулирует изменения только входных параметров процесса, не проводя в полной мере контроля выходного параметра, каковым является величина потребленной электрической энергии. Поэтому включение в состав аппаратуры управления средств дозирования электрической энергии, которые в процессе сварки при текущих изменениях основных электрических параметров процесса, будут контролировать количество потребляемой электрической энергии, приведет к стабилизации теплового импульса, выделяемого в зоне точечной сварки, что главным образом отразится на качестве сварных соединений.
При разработке дозирующего устройства были учтены как достоинства, так и недостатки большинства разновидностей схем умножителей. Выбор был сделан на схеме ИПУ, предназначенной для измерения активной мощности.
По мере совершенствования техники аналого-цифрового преобразования мгновенных значений сигналов рассматривалась возможность цифровой обработки большого количества дискретных и квантованных значений аналоговых сигналов, с тем, чтобы путем цифрового усреднения в течение заданного интервала времени вычислить искомый интегральный параметр.
2. ВОПРОС КВАНТОВАНИЯ ТЕКУЩЕГО ЗНАЧЕНИЯ КОЛИЧЕСТВА ЭЛЕКТРИЧЕСТВА И ЭЛЕКТРИЧЕСКОЙ ЭНЕРГИИ
Процесс дозирования количества электричества или электрической энергии может осуществляться с помощью дозирующих устройств при выполнении ими ряда последовательных процедур, включающих в себя непрерывное измерение параметров исследуемых входных сигналов, интегрирование полученных значений во времени и сравнение накапливаемого результата с заранее заданной величиной, называемой дозой.
Одной из наиболее важных функций дозирующего устройства является отключение электрической нагрузки от источника энергии, которое должно произойти в момент совпадения величины установленной дозы с величиной, потребленной в нагрузке.
При измерениях количества электричества или электрической энергии измеряемая величина имеет интегральное значение, поскольку конечный результат измерений накапливается с нарастающим итогом в течение определенного времени. Проведение непрерывных и, как правило, продолжительных измерений, необходимых для выполнения процедуры дозирования, вынуждает использовать для обработки измерительной информации в качестве функциональных элементов аналоговые устройства в совокупности с цифровыми схемами. Применение для подсчета результата цифровых счетчиков, позволяющих легко наращивать разрядность, дает возможность изменять разрешающую способность измерительного блока дозирующего устройства в зависимости от существующей потребности.
Устройством, способным производить интегрирование аналоговых сигналов с преобразованием результата в цифровую последовательность импульсов, является квантователь измеряемой величины по вольт-секундной площади.
Устройство, где измеряемая электрическая величина преобразуется в последовательность импульсов, число которых подсчитывается цифровым счетчиком, согласно существующей классификации, относится к цифровым измерительным устройствам прямого число-импульсного преобразования [24].
Цифровые измерительные приборы характеризуются двумя особенностями: наличием операций аналого-цифрового преобразования сигналов и цифрового отображения результата измерения. Эти операции технически реализуются с помощью аналого-цифровых преобразователей АЦП и блока регистрации с цифровым отсчетным устройством.
При решении задач в процессе обработки и аналого-цифрового преобразования информативного параметра в конечный результат, необходимо соблюдать следующие условия:
Обеспечить линейность преобразования входного информационного параметра (сигнала) в соответствующий ему пропорциональный сигнал, подаваемый на вход квантователя;
Произвести непрерывное интегрирование входного сигнала квантователя в течение определенного времени без искажений;
Осуществить квантование проинтегрированного сигнала по вольт-секундной площади с минимальными погрешностями;
Произвести подсчет результата интегрирования, выраженный в квантахизмеряемой величины.
2.1 Основные понятия и определения по вопросу квантования количества электричества
Q
(
t
) и электрической энергии
W
(
t
)
Как известно, любые физические процессы характеризуются протяженностью во времени и в пространстве и разделяются соответственно на непрерывные и прерывистые или дискретизированные как во времени, так и в пространстве. Обычно дискретизированные физические процессы или сигналы создаются искусственно для различных целей, одна из которых отвечает теме настоящей работы. Преобразование непрерывных сигналов в дискретные называют квантованием сигналов.
Квантование является одной из наиболее ответственных операций процесса измерения. Квантование широко применяется в процессе управления при необходимости воздействия на технологический процесс сигналом с параметром точно заданного размера.
Различают квантование по времени и квантование по уровню [19, 25], кроме того, существует возможность производить квантование по вольт-секундной площади. Квантование по времени заключается в замене непрерывного сигнала x
(
t
)
дискретным сигналом xk
(
t
)
, значение которого для фиксированных моментов времени t
1
,
t
2
,…,
tn
совпадают соответственно с мгновенными значениями непрерывного сигнала (рис.1а). Квантование по уровню заключается в замене непрерывного множества значений сигнала x
(
t
)
множеством дискретных значений, характеризующих величины этих уровней (рисунок 2.1,б).

Рисунок 2.1 – Квантование по времени (а) и по уровню (б)
Квантование по вольт-секундной площади заключается в замене интегрированной величины совокупности значений входных аналоговых сигналов суммой дискретных значений отдельных квантов , преобразованных в последовательность счетных импульсов, которые несут информацию об интегральной величине входного параметра .
В отличие от тем, посвященных вопросам квантования по времени и по уровню, которые достаточно глубоко освещены в изданиях по аналого-цифровой и преобразовательной технике, вопросу квантования по вольт-секундной площади в технической литературе совершенно не уделяется внимания, хотя данный принцип квантования используется в некоторых преобразователях напряжение-частота (ПНЧ), напряжение-интервал времени (ПНВ), имеющих широкое распространение в настоящее время.
При рассмотрении вопроса об измерении и дозировании количества электричества или электрической энергии принцип «квантования по вольт-секундной площади» имеет самое непосредственное отношение к теме данной работы, поскольку наиболее точно отвечает сущности преобразования, производимого выбранным квантователем. В связи с этим, дальнейшее использование данного термина в настоящей работе является наиболее целесообразным.
По сущности рассматриваемого вопроса требуется решить задачу выбора структурной схемы квантователя измеряемой величины по вольт-секундной площади, а также произвести детальный анализ его погрешностей и найти способы их снижения.
Благодаря работе квантователя и отсчетного устройства (счетчика импульсов) происходит преобразование непрерывной входной величины в дискретную, а затем в цифровой код. Все дальнейшие операции по подсчету квантов количества электричества и электрической энергии так же, как задание и отслеживание дозы, осуществляются в цифровой форме. В связи с этим имеет смысл для наиболее точного описания рассматриваемого процесса ввести термин «цифровое дозирование».
2.2 Цифровое дозирование количества электричества и электрической энергии
Входными информационными сигналами дозирующего устройства могут служить любые параметры, как электрические, так и неэлектрические, которые с помощью первичных датчиков преобразовываются в напряжения, пропорциональные величинам входных воздействий, и поступают непосредственно на вход квантователя.
Квантование текущих значений сигналов по вольт-секундной площади заключается в интегрировании в течение определенного времени непрерывно изменяющегося входного напряжения с единовременной дискретизацией выходного параметра. Мерой такой дискретизации выступает "квант" вольт-секундной площади, размер которого зависит от электрических параметров элементов квантователя и имеет постоянное выбранное значение q
0
.
Выходной сигнал, равный по величине интегралу входного напряжения за определенное время, в процессе проведенного преобразования становится квантованным и дискретизированным, т.е. численно состоящим из суммы одинаковых частей определенной величины –
q
0
i
(квантов).
Если выбранная часть – "квант" имеет стабильный и известный для каждой конкретной схемы параметр, выраженный в единицах измеряемой величины, то весь данный процесс является не только счетным, но и измерительным [19].
В связи с тем, что измерительный процесс имеет определенную протяженность во времени, то для оценки величины интегрированного (итогового) значения выходного параметра требуется счетчик, способный суммировать накапливаемую квантованную величину (последовательность счетных импульсов), преобразовывая ее в определенный цифровой код. При этом результат измерения будет соответствовать произведению xN
=
Nx
q
, где Nx
– отсчет счетчика импульсов.
Величина задаваемой дозы количества электричества или электрической энергии набирается с помощью кнопочного пульта и заносится в цифровой регистр, где представляется так же, как в счетчике – в двоичном коде (двоично-десятичном). Двоично-десятичный код широко используется в отсчетных устройствах цифровых приборов; двоичные разряды группируются в тетрады, каждая из которых представляет соответствующий десятичный разряд. Сравнение накапливаемой величины с заранее заданной дозой происходит непрерывно, с начала измерительного процесса до момента совпадения двоичных кодов цифр.
"Квант" вольт-секундной площади –
q
0
является важнейшей метрологической характеристикой данного измерительного устройства, так как, зная его размер, можно определить, какое значение измеряемой величины соответствует конкретному значению выходного кода счетчика импульсов, который отражается на устройстве индикации.
Алгоритмом работы измерителя-дозатора количества электричества является процесс непрерывного вычисления интеграла во времени от текущего значения напряжения, поступающего на вход схемы с первичного преобразователя.
Основной операцией, которая выполняется дозирующим устройством в процессе измерения и интегрирования является операция квантования измеряемой величины по вольт-секундной площади. Важнейшим элементом в структуре дозатора, выполняющим функции квантования, является интегрирующий преобразователь, поэтому наиболее ответственным этапом при проектировании дозирующих устройств является выбор варианта квантователя и расчет параметров его электрической схемы.
2.3 Обоснование выбора схемы интегрирующего преобразователя в качестве квантователя измеряемой величины по вольт-секундной площади
Интегрирующий преобразователь, предлагаемый для применения в схеме дозирующего устройства, построен по принципу преобразователя напряжения в частоту интегрирующего типа.
Преобразователи напряжения в частоту (ПНЧ) находят применение при разработке различных средств измерения и по своей структуре могут быть отнесены к одной из двух разновидностей: ПНЧ разомкнутого типа и ПНЧ с обратной связью [26, 27].
ПНЧ разомкнутого типа обладают, как правило, невысокой точностью и стабильностью преобразования, поэтому применяются реже. Из ПНЧ с обратной связью наиболее перспективными, с точки зрения повышения точности, быстродействия и простоты исполнения, в настоящее время признаны интегрирующие ПНЧ с импульсной обратной связью, как схемы с наилучшими метрологическими свойствами [28]. Помимо перечисленных положительных качеств данные преобразователи напряжения характеризуются широким динамическим диапазоном, а также удобством передачи выходной величины (счетная последовательность импульсов) на большие расстояния без искажений [22].
Простой и наиболее перспективной для применения в измерительных устройствах можно считать схему, представленную в [29] (рисунок 2.2).
Схема работает следующим образом. Преобразуемое напряжение UX
интегрируется усилителем постоянного тока УПТ и поступает на устройство сравнения УС, на второй вход которого подано опорное напряжение U
0
. В момент равенства выходного напряжения интегратора U
И
(
t
)
и U
0
устройство сравнения формирует в течение интервала времени tOC
импульс обратной связи с амплитудой UOC
, который должен обладать постоянной вольт-секундной площадью S
0
=UOC
×
tOC
. Цикл работы преобразователя определяется интервалом времени TX
=
t
И
+
tOC
,, зависящим от значения напряжения UX
.
а
) б
)
Рисунок 2.2 - Схема преобразователя напряжения в частоту с импульсной обратной связью (а
) и характеристика его работы (б
)
Для процессов заряда и разряда интегратора справедливо выражение
(2.1)
где t
1
=
R
1
C
,
t
2
=
R
2
C
.
При прямоугольной форме импульсов амплитудой UOC
(2.2)
или (2.3)
где (2.4)
Следовательно, уравнение преобразования ИИ с прямоугольной формой импульса обратной связи можно записать в виде
, (2.5)
т.е. параметры преобразователя не зависят от значений емкости С
и опорного напряжения U
0
. Они определяются только отношением суммирующих сопротивлений интегратора и стабильностью площади импульса обратной связи. Форма импульса обратной связи может отличаться от прямоугольной, важно обеспечить лишь стабильность вольт-секундной площади, которая в таком случае будет равна
(2.6)
Подобные схемы ИИ могут обеспечить общую погрешность преобразования не хуже 0,1 % [29].
На значение общей погрешности существенное влияние может оказать дрейф нуля интегратора, поэтому в преобразователях малых напряжений в частоту используют различные способы компенсации дрейфа нуля интегратора, не ухудшающие быстродействия. С этой целью, например, в одном из вариантов в рассмотренную схему добавляется устройство компенсации дрейфа нуля, состоящее из дополнительной интегрирующей цепи и усилителя постоянного тока типа МДМ (с модуляцией и демодуляцией), который обладает очень малым собственным дрейфом нуля [30]. Более высокая точность преобразования может быть получена в ПНЧ с опорной тактовой частотой. Известны схемы ПНЧ с импульсной обратной связью с раздельным формированием амплитуды и длительности импульса обратной связи (рисунок 2.3) [28]. Достоинством таких ПНЧ является то, что они не требуют применения прецизионных конденсаторов, как, например, в схемах ПНЧ, где в качестве звена обратной связи используется RC
–цепь.

Рисунок 2.3 – Схема ПНЧ с импульсной обратной связью
Схема работает следующим образом. На тактовый вход С
триггера Т
подаются импульсы образцовой частоты f
0
, минимальное значение которой выбирается из условия:
f
0
min
= 2,5
fmax
, (2.7)
где fmax
– максимальная выходная частота ПНЧ.
При срабатывании компаратора ОУ2
на вход D
триггера Т
подается разрешающий сигнал и при поступлении первого же импульса образцовой частоты f
0
на тактовый вход С
триггера последний переключается и вырабатывает управляющий сигнал на аналоговый переключатель АП
. При этом на вход интегратора через резистор R
0
подключается образцовое напряжение U
0
.
Погрешность преобразования ПНЧ определяется неточностью и нестабильностью отношенияR
0
/R
, неточностью выполнения операции интегрирования, нестабильностью порога срабатывания компаратора в течение одного цикла работы, отсутствием синхронизации импульсов с моментами срабатывания компаратора, нестабильностью U
0
, нестабильностью формирования интервала t
0
. Нестабильность порога срабатывания компаратора вызывается изменением коэффициента усиления ОУ2
, дрейфами напряжения смещения и тока смещения. Нестабильность длительности импульса обратной связи D
t
0
определяется вариацией фронтов срабатывания аналогового переключателя и нестабильностью образцовой частоты f
0
, которая в случае применения кварцевого генератора может быть достаточно малой.
Рассмотренный в предыдущем примере принцип положен в основу построения ПНЧ типа М0100ПП1, входящего в состав комплекта гибридных микросборок для обработки сигналов мостовых тензорезисторных датчиков [31]. Здесь используется интегратор Миллера, построенный на основе операционного усилителя К551УД1 с параллельным высокочастотным каналом. При тактовой частоте fT
= 100 кГц и выходной частоте f
вых
до 80 кГц погрешность от нелинейности не превышает 0,01%.
Широкое производство подобных устройств в модульном, гибридном и твердотельном исполнении дает возможность применять их в качестве предвключенных измерительных преобразователей [19].
Отечественной промышленностью в модульном исполнении выпускается интегральная микросхема КР1108ПП1 (рисунок 2.4), которая предназначена для преобразования напряжения в частоту следования импульсов, а также для обратного преобразования частоты входного сигнала в напряжение.

Рисунок 2.4 - Интегральная микросхема КР1108ПП1
В состав ИС КР1108ПП1 входит активный интегратор, выполненный на основе ОУ
, RS
-триггер, работой которого управляют компараторы, а также источники стабильных токов и аналоговые ключи. Работа ПНЧ основана на интегрировании входного напряжения с последующим уравновешиванием накопленного заряда емкости интегратора импульсом стабильной площади по цепи обратной связи. Длительность импульса t
0
стабильна и формируется одновибратором t
0
=
U
0
C
0
/
I
2
.
Исходя из принципа работы ПНЧ, можно записать
(Ux
/
R
)T
=
I
1
t
0
, (2.8)
где Ux
/
R
– ток заряда конденсатора; Т
– период преобразования.
Частота следования импульсов
f
= 1/
T
=
Ux
/(
R
I
1
t
0
),
тогда
(2.9)
Таким образом, в данном ПНЧ осуществляется линейное преобразование напряжения UX
в частоту f
. Погрешность линейности характеристики в частотном диапазоне 5 Гц ÷ 10 кГц не превышает 0,01% при изменении напряжения в пределах 0 ÷ 10 В [22].
Модули электронных интегрирующих преобразователей, как правило, выполняются на основе прецизионных операционных усилителей. Точность интегрирования таких преобразователей существенно зависит от динамического диапазона, спектральных характеристик входных сигналов и частотных характеристик самих операционных усилителей. Современные схемы подобных преобразователей на дискретных компонентах обеспечивают линейность интегрирования от 0,1% до 0,001% [22]. Достаточно подробно рассмотрены схемы таких преобразователей в работах [22, 24, 33, 34], где показаны различные варианты их построения, причем некоторые из них могут быть взяты в качестве базовых при проектировании дозирующих устройств.
Поскольку данному типу схем преобразователей, выполненных на основе интегрирующего ПНЧ с импульсной обратной связью, по существу соответствует краткое название «импульсный интегратор», имеет смысл ввести такой термин для дальнейшего применения в настоящей работе.
Во всех, рассмотренных выше, схемах ПНЧ интегрирующий усилитель работает в однотактном и однополярном режиме. Это означает, что входной информативный параметр подвергается интегрированию только в первом такте цикла, в результате чего интегрирующая емкость получает заряд определенного уровня. Во втором такте за счет отрицательного импульса обратной связи, формируемого, как правило, посредством кратковременного подключения на вход интегратора источника опорного сигнала, имеющего полярность, противоположную входному сигналу, происходит разряд емкости. В результате такой работы в процессе интегрирования неизбежны пропуски информации о входной величине на интервале второго такта преобразования. Несмотря на то, что длительность времени разряда при этом невелика и для большинства схем составляет величину, равную примерно 1/100 времени заряда, подобные прерывания измерительного процесса в некоторых случаях недопустимы, поскольку могут заметно повлиять на точность измерений.
Существование такого недостатка приводит к выводу о необходимости использования при проектировании двухполярной схемы импульсного интегратора (ИИ), которая, в отличие от однополярной, сможет обеспечить непрерывность преобразования информации и вполне достаточную точность при проведении измерений.
Наиболее приемлемая структура построения ИИ, удовлетворяющая требованиям разработки, рассмотрена в [35] и представлена на рисунке 2.5.

Рисунок 2.5 - Структура построения ИИ
Предлагаемая в настоящей работе для применения в дозирующих устройствах схема квантователя (рисунок 2.6), в отличие от схемы (рисунок 2.5) имеет одну существенную особенность. На входе интегрирующего усилителя вместо двух биполярных транзисторов установлены два аналоговых ключа на КМОП-транзисторах, обладающих двусторонней проводимостью [13].

Рисунок 2.6 – Схема квантователя
В последнее время, в качестве аналоговых ключей чаще используют полевые транзисторы, которые обладают значительными преимуществами перед биполярными, за счет того, что проводящий канал пропускает аналоговый сигнал любой полярности. При этом гораздо легче создается гальваническая развязка канала аналогового сигнала с цепью управления и сопротивление при закрытом состоянии достаточно велико – примерно на шесть порядков выше открытого состояния [36].
В дополнение к сказанному, применение аналоговых КМОП-ключей, устанавливаемых во входной цепи интегрирующих усилителей, позволяет уменьшить суммарный ток утечки по входу и выходу ключей, определяемый, в основном, обратными токами p
-
n
–переходов, а противофазное управление ключами уменьшает уровень динамической помехи, возникающей вследствие перезаряда емкостей затвор-сток [37].
Поэтому введение таких ключей в схему позволяет учитывать в процессе интегрирования кратковременные броски обратной полярности измеряемых величин, не превышающих по временным параметрам длительность одного такта. Подобные режимы неизбежно возникают, например, во время работы полупроводниковых вентилей выпрямительных агрегатов, питающих установки для электролиза.
Предлагаемый для использования в дозирующих устройствах ИИ содержит в своем составе инвертор, повторитель напряжения, аналоговые электронные ключи, интегрирующий усилитель и компаратор. Данный преобразователь является двухполярным, т.е. напряжение на выходе интегрирующего усилителя в процессе работы периодически меняет полярность на противоположную.
Временная диаграмма работы ИИ представлена на рисунок 2.7. Входящий в состав преобразователя компаратор, собран на основе операционного усилителя по схеме триггера Шмитта и имеет два устойчивых состояния. Компаратор напряжения срабатывает в тот момент времени, когда напряжение на его неинвертирующем входе переходит через нулевой уровень. Рассмотрение принципа действия импульсного интегратора следует начать с момента нахождения компаратора в одном из устойчивых состояний.
Предположим, что в момент времени t
= t
0
= 0 (рисунок 2.7) на вход интегрирующего усилителя через замкнутый электронный ключ SW1 подается входное напряжение положительной полярности U
ВХ1
(t
). При этом, пропорционально изменению заряда конденсатора С
, начинает изменяться выходное напряжение интегрирующего усилителя от некоторого начального значения U
И
(t
)
=U
НАЧ
=+
U
П
в направлении смены полярности напряжения на выходе интегратора до величины, когда этот уровень станет равным пороговому значению -U
П
напряжения срабатывания компаратора.
На рисунок 2.7 представлены временные диаграммы, отражающие процесс заряда-разряда интегрирующей емкости преобразователя в зависимости от изменения текущих значений уровня входного сигнала. Величина заряда конденсатора С
за время D
t
1
= t
1
- t
0
составит
(2.10)

Рисунок 2.7 - Временная диаграмма работы ИИ
В момент времениt
=
t
1
при достижении на выходе интегратора порогового уровня U
И
(t
) = -UП
произойдет наполнение интегратора и компаратор переключит электронные ключи, после чего на вход интегрирующего усилителя через ключ SW2 будет подано инвертированное напряжение -U
ВХ2
(t
). В результате этого действия направление заряда интегрирующей емкости изменится на противоположное и начнется ее перезаряд, которыйбудет происходить в течение времени D
t
2
= t
2
- t
1
, пока напряжение на выходе усилителя не станет равным пороговому уровню U
И
(t
) =+
U
П
. При этом величина заряда емкости С за время D
t
2
составит
(2.11)
В момент окончания второго такта напряжение на выходе интегрирующего усилителя достигнет значения, с которого был начат процесс зарядаU
И
(t
) =
U
НАЧ
=+
U
П
. Если пороговые уровни срабатывания компаратора выдерживать равными по абсолютной величине |+
U
П
| = |-
U
П
|, то будет соблюдаться баланс количества электричества (Q
1
=
Q
2
) при заряде и разряде интегрирующей емкости. За один такт интегрирования в токовой цепи ИИ будет протекать строго дозированная порция – "квант" количества электричестваq
0
. Величина "кванта" в любой схеме квантователя должна быть стабильной для каждого такта интегрированияq
0
= Q
1
=
Q
2
=…=
QN
, т.е. обладать постоянной вольт-секундной площадьюS
0
=
const
. Стабильность вольт-секундной площади "кванта" в первую очередь зависит от точности установки уровней порогов срабатывания компаратора напряжения, от величины дрейфа интегрирующего усилителя и от качества работы аналоговых ключей на его входе [19].
На графике (рисунок 2.7) вольт-секундная площадь, находящаяся под кривой текущих значений напряжений входного сигналаU
ВХ
(t
), пропорционального току электролиза, отражает процесс накопления заряда (количества электричества), который происходит при протекании тока через нагрузку в течение определенного времени. Эта площадь разделена на множество равных площадок S
0
, соответствующих "квантам" количества электричества q
0
, каждый из которых формируется за один такт интегрирования.
Таким образом, импульсный интегратор одновременно с операцией интегрирования производит квантование измеряемой величины – формирование «квантов» количества электричества, путем квантования интегрального значения входной величины по вольт-секундной площади. При каждом наполнении интегратора на выходе ИИ происходит формирование счетного импульса. Величина интеграла за время от начала отсчета до момента появления последнего импульса будет прямо пропорциональна итоговому числу импульсов: [20]
. (2.12)
Линейность преобразования при накоплении заряда на конденсаторе достигается за счет работы интегрирующего усилителя на линейном участке заряда с постоянным наклоном характеристики. Оптимальная линейность преобразования обеспечивается при задании соответствующих уровней порогов срабатывания компаратора (+U
П
и -U
П
), которые рекомендуется выдерживать в диапазоне ±1,2 В [20].
Цикл работы ИИ включает два такта интегрирования, которые соответствуют времени формирования двух счетных импульсов.
Использование двухполярной схемы интегрирующего усилителя приносит существенный положительный эффект. Такое схемное решение, во-первых, устраняет неустойчивость работы компаратора в зоне нуля [20], а, во-вторых, практически в два раза расширяет по сравнению с однополярной схемой динамический диапазон интегрирования входного сигнала.
Все перечисленные положительные качества представленной схемы импульсного интегратора обеспечивают предпочтительное применение ее в проектируемых устройствах дозирования.
3. ПРОЕКТИРОВАНИЕ УСТРОЙСТВ ДОЗИРОВАНИЯ
3.1 Разработка схемы устройства цифрового дозирования количества электричества
Электрическая энергия, потребляемая в нагрузке за определенный промежуток времени вычисляется по формуле:
(3.1)
где u
,
i
,
p
– мгновенные значения напряжения, тока и мощности на нагрузке;
t
– время интегрирования.
Структура построения дозирующего устройства основывается на зависимости, характеризуемой выражением (3.1), из которой следует, что электронный дозатор электрической энергии в режиме реального времени должен выполнять процедуру вычисления произведения текущих значений напряжения и тока нагрузки. Результат произведения должен подвергаться интегрированию совместно с операцией квантования по вольт-секундной площади выходного напряжения интегратора (см. главу 1). Процесс квантования заключается в формировании счетных импульсов, а конечный результат оценивается по их сумме в течение всего времени дозирования. Когда величина потребленной электрической энергии сравняется с заданным значением должно произойти выключение устройства коммутации и процесс дозирования прекратится.
Согласно алгоритму работы электронного дозатора в его состав должны входить первичные преобразователи напряжения и тока, множительное, интегрирующее устройства и квантователь. Для придания прибору функции дозирования его необходимо дополнить устройством коммутации электрической энергии, блоком задания дозы и блоком управления устройством коммутации.
Состав предлагаемого электронного дозатора электрической энергии представлен на рисунке 3.1.
Рисунок 3.1 - Структурная схема электронного дозатора электрической энергии: 1 – электрическая нагрузка; 2 - измерительный преобразователь (трансформатор) напряжения; 3 - измерительный преобразователь (трансформатор) тока; 4 - множительное устройство; 5 – импульсный интегратор; 6 – счетчик импульсов; 7 – блок двоично-десятичных дешифраторов; 8 – блок позиционных декадных переключателей; 9 - блок управления ключом коммутации; 10 - ключ запуска электронного дозатора электрической энергии; 11 - ключ коммутации электроэнергии.
Работает электронный дозатор электрической энергии следующим образом. Перед подачей энергии в электрическую цепь с нагрузкой 1 доза (количество) электроэнергии, которая требуется для проведения предстоящей технологической операции, предварительно устанавливается с помощью декадных переключателей блока задания дозы 8, имеющих десять фиксированных положений. Количество переключателей равно числу десятичных разрядов цифры, соответствующей определенному значению задаваемой дозы, в заранее обусловленных для конкретной операции единицах электроэнергии: в ваттсекундах, в киловаттсекундах, в киловаттчасах и т.п. В момент замыкания кнопочного ключа запуска электронного дозатора электроэнергии 10 в блоке управления ключом коммутации 9 формируется сигнал на включение, который воздействует на ключ коммутации 11 и электрическая нагрузка 1 подключается к цепи источника энергии. Сигналы uu
и ui
, поступающие на входы аналогового множительного устройства 4 с измерительных преобразователей 2 и 3, пропорциональны текущему значению напряжения на нагрузке:
uu
=ku
uH
,
где uH
– текущее напряжение на нагрузке;
ku
– коэффициент пропорциональности по напряжению.
и текущему значению тока нагрузки:
ui
=
ki
iH
,
где iH
– текущий ток нагрузки;
ki
– коэффициент пропорциональности по току.
Выходное напряжение множительного устройства, пропорционально текущему значению мощности:
uy
=
k
у
ku
ki
uH
iH
=
k
у
kp
pH
,
где pH
– текущая мощность на нагрузке;
kp
=
ku
ki
– коэффициент пропорциональности по мощности;
k
у
– коэффициент пропорциональности множительного устройства.
Аналоговый сигнал u
y
с выхода множительного устройства 4 поступает на импульсный интегратор 5, преобразующий результат интегрирования в последовательность импульсов, количество которых NW
за время интегрирования t
пропорционально величине выделенной активной энергии WA
(3.2)
где kW
= k
у
kp
– коэффициент пропорциональности по энергии;
t
– время интегрирования.
Счетчик импульсов 6 суммирует количество импульсов, приходящих на его счетный вход, и выдает информацию в виде двоичного кода на вход блока двоично-десятичных дешифраторов 7, выходы которых подключены к неподвижным контактам декадных переключателей блока задания дозы 8. Подвижные контакты этих переключателей соединены с группой контролируемых входов блока управления выключателем 9.
После запуска электронного дозатора электроэнергии содержимое счетчика импульсов 6 будет возрастать до тех пор, пока на выходных шинах декадных дешифраторов 7 не установятся, путем поочередного перебора, комбинации активных уровней сигналов, идентичные комбинациям уставок декадных переключателей блока задания дозы 8, соответствующих заданному количеству электроэнергии, которая должна поступить в нагрузку. При их совпадении на выходе блока управления ключом коммутации 9 сформируется управляющий сигнал на отключение нагрузки, который воздействует на ключ коммутации электроэнергии 11 и цепь от источника энергии к нагрузке разомкнется.
Таким образом, электронный дозатор, работающий в режиме контролирующего устройства, отследит поступление в нагрузку заданной дозы электрической энергии.
Представленная структура построения электронного дозатора является универсальной, как для работы в слаботочных схемах при прецизионном дозировании, например в микросварке, так и для дозирования энергии в силовых цепях контактной сварки. Различие заключается в выборе соответствующих измеряемой мощности первичных преобразователей (тока и напряжения) и устройств коммутации.
3.2 Разработка схемы устройства цифрового дозирования электрической энергии
Структура построения измерительной части комплекса должна полностью соответствовать алгоритму решения поставленной задачи, в основе которого лежит процедура вычисления количества электричества, где входная информация в течение заданного времени снимается с первичных преобразователей тока. В этом случае структурная схема комплекса должна иметь вид, представленный на рисунке 3.2.
В полный состав комплекса входят:
- источник постоянного тока;
- установка для электролиза (электрическая нагрузка);
- датчик (преобразователь) тока;
- линия связи;
- блок обработки аналогового сигнала;
- блок обработки цифровых сигналов;
- блок управления ключом;
- токовый ключ.

Рисунок 3.2 - Структурная схема комплекса дозирования количества электричества
Комплекс технических средств, необходимых для осуществления процедуры дозирования количества электричества, содержит источник постоянного тока 1, питающий установку для электролиза 2, последовательно которой на токовую шину установлен измерительный датчик тока 3. Выводы датчика через линию связи подключены к входу блока обработки аналогового сигнала 4, в состав которого входят фильтр низкой частоты (ФНЧ) 5, дифференциальный усилитель 6 и импульсный интегратор 7.
Благодаря работе перечисленных выше устройств 5, 6 и 7 выполняется процедура интегрирования во времени аналоговой информации (сигнал, пропорциональный току нагрузки в цепи электролиза), поступающей с первичного преобразователя тока 3 и квантование по вольт-секундной площади полученного результата. Время интегрирования зависит от дозы количества электричества, которую необходимо заранее задавать в блоке обработки цифровых сигналов 8 с помощью кнопочного пульта блока задания дозы 9.
При установке уровня дозы в двоично-десятичный счетчик импульсов 10, имеющий N
–ное число десятичных разрядов, необходимо занести N
–разрядную цифру, которая будет отображаться на блоке индикации 11 и показывать величину дозы количества электричества, требуемую для проведения электролиза. Затем двоичный код установленной цифры записывается в регистр памяти блока управления ключом 12, а информация в счетчике импульсов 10 обнуляется.
Запуск измерителя-дозатора осуществляется с кнопочного пульта блока задания дозы 9, путем подачи управляющего воздействия на блок управления ключом 12, где формируется сигнал на коммутацию токового ключа 13 (замыкание), включенного последовательно с установкой для электролиза 2 и датчиком тока 3 в цепь источника тока 1.
В момент замыкания токового ключа 13 на датчике 3 появляется сигнал, пропорциональный силе тока в цепи установки 2, который подается по линии связи на вход блока обработки аналоговых сигналов 4. С помощью импульсного интегратора 7 аналоговый сигнал интегрируется и преобразуется в последовательность импульсов, которые поступают на вход счетчика 10, где производится их суммирование.
Текущие значения количества электричества, затраченного в процессе электролиза, будут отображаться на блоке индикации 11. Процесс подсчета импульсов будет продолжаться до тех пор, пока код на выходе счетчика не окажется равным коду цифры, занесенному ранее в регистр памяти. В момент их сравнения в блоке управления ключом 12 схема совпадения сформирует сигнал на коммутацию токового ключа 13 (размыкание). Процесс электролиза прекратится.
В составе комплекса, в зависимости от области использования (в сильноточных или слаботочных цепях постоянного тока) в качестве установок для электролиза могут применяться: электролитическая ванна, электролитический аккумулятор; в качестве измерительных датчиков тока - прецизионный резистор, электрический компенсатор, трансформатор постоянного тока, выполненный на основе магнитного усилителя, а в качестве ключей коммутации тока – пускатели, контакторы, а также тиристоры или транзисторы, управляемые через оптоэлектронные пары.
Развернутая структурная схема рассматриваемого технического комплекса и описание его работы представлены в [13]. В настоящей работе подробному анализу будут подвергнуты лишь отдельные элементы измерительной системы.
Требования, которые предъявляются к измерительным системам, аналогичным рассматриваемой, со стороны метрологии, перечислены в [12, 45] и распространяются на все применяемые компоненты данной системы. Согласно основным положениям этих требований необходимо соблюдать условие о том, что в любом, отдельно взятом элементе системы, операция передачи или преобразования входного сигнала в выходной должна производиться с заданной степенью точности, а именно:
первичный датчик (преобразователь тока в напряжение) должен независимо от электрических параметров цепи, в которой он используется, (слаботочной, сильноточной) обеспечить преобразование формы и уровня входного сигнала в унифицированный параметр, несущий информацию о происходящем процессе;
линия связи должна обеспечить передачу информативного параметра входного сигнала, получаемого от источника в операционный блок для его обработки без изменений;
информационный сигнал в операционном блоке должен претерпеть пропорциональные преобразования, соответствующие функции, возложенной на этот блок.
4. АНАЛИЗ МЕТРОЛОГИЧЕСКИХ ХАРАКТЕРИСТИК
4.1 Оценка погрешности квантователя по вольт-секундной площади и способы ее снижения
Квантователь является важнейшим звеном измерительной системы, входящей в состав дозирующего устройства. Погрешности квантователя самым непосредственным образом влияют на точность измерений и, соответственно будут влиять на точность дозирования.
Точность дозирования в первую очередь зависит от стабильности размера кванта количества электричества –q
0
. Этот параметр является основной метрологической характеристикой дозирующего устройства. Его величина численно равна максимальному заряду на емкости интегратора в течение одного такта интегрирования. Она зависит от электрических параметров схемы интегрирующего усилителя и должна оставаться стабильной на протяжении всего периода его работы.
Величина квантаq
0
пропорциональна размеру вольт-секундной площади S
0
, которая численно равна интегралу от мгновенных значений напряжения, подаваемого на вход квантователя в течение одного такта интегрирования ТЦ
:
(4.1)
Основным критерием точности является стабильность размера кванта q
0
, что адекватно отражается на стабильности вольт-секундной площади S
0
.
Реальные цифровые измерительные устройства, наряду с наличием методических погрешностей преобразований, всегда обладают инструментальными погрешностями, которые определяются суммарным влиянием погрешностей отдельных узлов устройства, вызываемых различными факторами, непосредственно влияющими на стабильность размера кванта, а, следовательно, и на стабильность вольт-секундной площади S
0
.
Методики расчета погрешностей, предлагаемые отдельными авторами [19, 36, 38, 39], позволяют с определенной достоверностью учитывать погрешности измерительных преобразователей, вызванные неидеальностью основных параметров ОУ. Превалирующим по степени влияния на точность является интегратор. При расчетах, наряду с интегратором, аналогичным образом можно учесть погрешности всех ОУ, входящих в структуру преобразователей.
Погрешности квантователя в первую очередь определяются неточностью выполнения операции интегрирования и нестабильностью порогов срабатывания компаратора в течение одного цикла работы, и вызваны они, в основном, изменением коэффициентов усиления операционных усилителей, дрейфами напряжения смещения и тока смещения [28].
Эти изменения характеризуются неидеальностью основных параметров операционных усилителей, а именно: входным сопротивлением, не равным бесконечности; выходным сопротивлением, не равным нулю; коэффициентом усиления не равным бесконечности; инерционностью усилителя; дрейфом нуля усилителей [
28]
.
Для проведения анализа погрешностей рассмотрим схему квантователя, которая представлена на рисунке 2.6.
Поскольку схема работы квантователя является двухтактной, то в зависимости от положения устройства коммутации в разные моменты времени структура квантователя неодинакова. В связи с этим для определения его погрешности будем вести расчет для каждого из двух возможных положений аналогового ключа. В первом случае проведем анализ погрешности цепи “инвертор – аналоговый ключ – интегратор - компаратор”, а во втором – цепи “повторитель напряжения – аналоговый ключ – интегратор - компаратор ”. По окончании расчета примем за погрешность квантователя максимальное из полученных значений.
Рассчитаем погрешность инвертирующего усилителя. Как известно, погрешности усилителей определяются неточностью используемых резисторов и неидеальностью операционных усилителей.
В качестве операционного усилителя выбираем микросхему К544УД2, параметры которой приведены в таблице 4.1.
Таблица 4.1- Параметры микросхемы К544УД2
| Тип микросхемы |
К544УД2 |
| K, тыс. |
20 |
| ±Uп
, В |
5-17 |
| Iп
, мА |
7 |
| ±eсм
, мВ |
50 |
| TKeсм
, мкВ/К |
50 |
| Iвх
, нА |
0.5 |
| ∆iвх
, нА |
0.1 |
| ±Uдр
, В |
10 |
| ±Uсф
, В |
10 |
| M`сф
, дБ |
70 |
| f1
, МГц |
15 |
| v, В/мкс |
20 |
| ±Uвых
, В |
10 |
| Rн
, кОм |
2 |
Сначала вычислим мультипликативные погрешности. Погрешность некомпенсации
δнк
=100/(1+К0
β)=100/(1+20000*1)=0,00499% (4.2)
Синфазная помеха
δсс
=10-
m
сс/20
*100%=10-70/20
*100%=0,0316% (4.3)
Рассчитаем мультипликативную погрешность, возникающую из-за неточности применяемых резисторов. В качестве резисторов R1
и R2
выбираем С2-29В 10 кОм с допуском по сопротивлению 0,05% и ТКС=±5*10-6
1/ºC. Тогда
δR
=δR
1
+δR
2
+(ТКСR
1
+ТКСR
2
)ΔT*100%=0,05+0,05+(5*10-6
+5*10-6
)5*100%=0,105% (4.4)
Для компенсации погрешности, обусловленной протеканием тока IBX
в цепь неинвертирующего входа ОУ КР544УД2 при заданных параметрах цепи – R
1
=
R
2
=10 кОм
и параметрах ОУ необходимо установить резистор коррекции
R
3
=
R
1
R
2
/(
R
1
+
R
2
)=10
×
10 / (10+10)=5 кОм.
ВыбираемR
3
= 5,1 кОм
типа С2-29В.
Находим суммарную мультипликативную погрешность
δмульт
=δнк
+δсс
+δR
=0,00499+0,0316+0,105=0,14159% (4.5)
Далее определим аддитивные погрешности инвертора. Погрешность, вызванная дрейфом нуля усилителейd
ТКе0
d
ТКе0
=
ТКе0
*ΔТ*100/Uвх.макс
=50*10-6
*5*100/10=0,025% (4.6)
Аддитивная погрешность, вызванная неидеальностью источника питания
d
КВНПе0
=
КВНПе0
*ΔЕпит
*100/Uвх
=300*10-6
*0,5*100/10=0,0015% (2.25)
Суммарная аддитивная погрешность
d
адд
=
d
ТКе0
+
d
КВНПе0
=
0,0025+0,0015=0,004% (4.7)
Результирующая погрешность инвертора
d
Σ
=
d
мульт
+
d
адд
=
0,14159+0,004=0,14559% (4.8)
Определим погрешность аналогового ключа. Погрешность от неидентичности ключей вызывается нестабильностью сопротивлений rk1
и rk2
. С учетом того, что R
>>rk
имеем
(4.9)
где Drk1
и Drk2
– изменение сопротивлений замкнутых ключей под воздействием внешних факторов или старения. Действия некоторых факторов можно уменьшить схемными решениями. Нелинейность сопротивления ключа при открытом состоянии и зависимость его от температуры можно ослабить подключением последовательно с ключом резистора, сопротивление которого значительно больше сопротивления ключа. Сопротивление полевых транзисторов в открытом состоянии обычно колеблется от 50 до 200 Ом. Включение резистора сопротивлением 2¸5 кОм последовательно с транзистором практически исключает погрешность, вызванную нелинейностью и зависимостью сопротивления ключа от температуры [36]. Ключи на полевых транзисторах, выполненные в виде одной интегральной схемы имеют, как правило (Drk1
– Drk2
), не более нескольких единиц Ом, поэтому для уменьшения погрешностей рекомендуется величину R
выбирать в диапазоне 104
¸ 105
Ом.
При использовании аналоговых ключей типа КР590КН4(rkоткр
»75 Ом
), сопротивления R
4
=10 кОм
, а также (Drk1
–Drk2
) »10 Ом
погрешность, вызванная изменением сопротивлений замкнутых ключей
d
КЛ
= (Drk
1
– Drk
2
)×100
/ R
4
= 10
×
100
/ 10000=
0,1%
(4.10)
Рассчитаем погрешность интегратора. В качестве операционного усилителя для интегратора выбираем микросхему типа ОУ574УД3, параметры которой приведены в таблице 4.2.
Таблица 4.2- Параметры микросхемы К574УД3
| Тип микросхемы |
К574УД3 |
| K, тыс. |
20 |
| ±Uп
, В |
3-16.5 |
| Iп
, мА |
7 |
| ±eсм
, мВ |
5 |
| TKeсм
, мкВ/К |
- |
| Iвх
, нА |
0.5 |
| ∆iвх
, нА |
0.2 |
| ±Uдр
, В |
- |
| ±Uсф
, В |
- |
| M`сф
, дБ |
- |
| f1
, МГц |
5 |
| v, В/мкс |
30 |
| ±Uвых
, В |
10 |
| Rн
, кОм |
- |
Проводим расчет мультипликативных погрешностей. Находим относительные погрешности от нелинейности интегрирования в соответствии с формулами
d
Л1
=100*
t/K0
τ=100*10*10-3
/20000*10*103
*10-6
=0,005% (4.11),
где τ=R4
C1
– постоянная времени интегратора. Выбраввеличину R
4
, согласно рекомендации приведенной выше, определим емкость интегратора
C
= t
ИНТ
/
R
.
(4.12)
Если на вход интегратора подать ступенчатый сигнал, амплитуда которого на протяжении некоторого времени будет постоянна, то в процессе интегрирования можно точно определить изменение выходного напряжения во времени, которое представляет собой наклонную прямую с полярностью, противоположной полярности входного сигнала.
U
ВЫХ
= -(1/
R
4
C
1
)
ò
U
ВХ
dt
= -(1/
R
4
C
1
)(
U
ВХ
×
t
)
(4.13)
Исследуемое устройство является интегрирующим с переменным временем интегрирования. В таких приборах, как известно, для улучшения помехоподавления и устранения погрешностей от наводок с частотой питания 50 Гц время цикла измерения, т.е. время интегрирования, выбирается равным или кратным 20 мс t
И
» ТС
= 0,02 с.
Размах напряжения на выходе интегратора желательно выбрать в рекомендованном диапазоне ±1,2 В, т.е. Um
= 2,4 В
. Величина входного напряженияU
вх
= 1,2 В
, величина сопротивления R
4
=10 кОм.
Проинтегрируем в пределах от t
0
= 0
до t
1
= ТС
= 20 мс.
Из выражения (4.13) находим величину постоянной времени интегрирования
R
4
C
1
=(
U
ВХ
×
t
И
)/
U
ВЫХ
= (1,2
×
0,02)/2,4
= 10
×
10-3
с
, (4.14)
а далее величину емкости
C
1
=R
4
C
1
/
R
4
=10
×
10-3
/10
×
103
=1
×
10-6
Ф =1,0 мкФ
(4.15)
d
Л2
=
100fср.инт
/f1
=100*16/5*10-6
=0,00032%, (4.16)
где f
ср.инт
= 1
/(2
p
RC
)=1/2
p
*10*103
*10-6
=16 Гц – частота среза RC
-цепи.
d
ЛΣ
=
d
Л1
+
d
Л2
=
0,005+0,00032=0,00532% (4.17)
Погрешность, возникающая вследствие неточности применяемых резисторов и конденсаторов. В качестве конденсатора С1 выбираем К31-10 с допуском по емкости 0,01% ТКЕС
=10-6
1/ºС.
d
RC
=
d
R
4
+
TKCR
4
*
ΔT
*100+
d
C
1
+
TKEC
1
*
ΔT
*100=
=0,05+5*10-6
*5*100+0,01+10-6
*5*100=0,063%
(4.18)
Сумарная мультипликативная погрешность
d
мульт
=
d
ЛΣ
+
d
RC
=0,00532+0,063=0,06832%
(4.19)
Рассчитаем аддитивные погрешности интегратора. Погрешность, вызванная дрейфом нуля усилителяd
ТКе0
d
ТКе0
=
ТКе0
*ΔТ*100/Uвх.макс
=50*10-6
*5*100/10=0,025% (4.20)
Аддитивная погрешность, вызванная неидеальностью источника питания
d
КВНПе0
=
КВНПе0
*ΔЕпит
*100/Uвх
=10-5
*0,5*100/10=0,00005% (4.21)
Суммарная аддитивная погрешность
d
адд
=
d
ТКе0
+
d
КВНПе0
=
0,0025+0,00005=0,00255% (4.22)
Результирующая погрешность интегратора складывается из суммы мультипликативных и аддитивных погрешностей
d
Σ
=
d
мульт
+
d
адд
=
0,06832+0,00255=0,07087% (4.23)
Следует выделить следующие основные возможности повышения точности работы интегратора [41]:
использование ОУ с малыми значениями UCM
,
IBX
и D
IBX
;
применение внешних цепей компенсации UCM
,
IBX
и D
IBX
;
ограничение максимального времени интегрирования;
использование внешних цепей принудительного обнуления интегратора;
шунтирование интегрирующего конденсатора сопротивлением.
Как известно [42], смещение нуля операционного усилителя вызывается неидентичностью двух его входов, поэтому в качестве одной из мер по уменьшению ошибки интегрирования для компенсации составляющей погрешности IBX
необходимо в цепь неинвертирующего входа ОУ (рисунок 2.6) установить корректирующее сопротивление, величина которого должна быть выбрана из условия
RKOP
=
R
1
ROC
/(
R
1
+
ROC
)
.
При условии компенсации только составляющей IBX
наличие ЭДС смещения нуля и его дрейф приводят к появлению на выходе интегратора сигнала ошибкиU
ОШ
, достигающего за время интегрирования t
И
значения
U
ОШ
=
UCM
+ (
UCM
/
RC
)
t
И
+ (
D
IBX
/С)
t
И
(4.24)
Следует отметить, что с целью повышения точности измерений в большинстве современных аналого-цифровых измерительных приборов, в основном, цифровыми средствами, периодически производятся операции коррекции нуля выходного напряжения интегрирующих усилителей при закороченных входах. [24]. Погрешность от наличия напряжения дрейфа усилителей может быть достаточно большой, поэтому, зачастую, между циклами преобразования вводится такт автоматической коррекции дрейфа, которая выполняется путем запоминания напряжения смещения на дополнительном конденсаторе и последующего вычитания запомненного напряжения из входного напряжения усилителя [34]. Благодаря такому воздействию погрешность от наличия напряжения дрейфа усилителей снижается более чем на порядок.
Найдем погрешность, вносимую компаратором. В качестве операционного усилителя в компараторе выбираем микросхему К140УД17, параметры которой представлены в таблице 4.3.
Таблица 4.3 – Параметры микросхемы К140УД17
| Тип микросхемы |
К140УД17 |
| K, тыс. |
150 |
| ±Uп
, В |
3-18 |
| Iп
, мА |
5 |
| ±eсм
, мВ |
0.25 |
| TKeсм
, мкВ/К |
1.3 |
| Iвх
, нА |
10 |
| ∆iвх
, нА |
5 |
| ±Uдр
, В |
15 |
| ±Uсф
, В |
13 |
| M`сф
, дБ |
100 |
| f1
, МГц |
0.4 |
| v, В/мкс |
0.1 |
| ±Uвых
, В |
12 |
| Rн
, кОм |
2 |
Выбираем резистор R7
=10 кОм типа С2-29В с допуском по сопротивлению 0,05% и ТКС=5*10-6
1/ºC. Резистор R6
выбираем исходя из рекомендуемого соотношения (R6
+R7
)/R6
=6/1. Тогда намечаем R6
=2,2 кОм типа С2-29В с с допуском по сопротивлению 0,05% и ТКС=5*10-6
1/ºC.
Погрешность компаратора определяется формулой
d
комп
=
U
вр
/
U
пор
(4.25)
где Uпор
- напряжение срабатывания компаратора
Uпор
=е0
+iвх
R7
R6
/(R7+R6)+100TKE0
*ΔT+100*TKiвх
*ΔT *R7
R6
/(R7+R6)=
=0,25*10-3
+10*10-9
*10*103
*2,2*103
/(10*103
+2,2*103
)+100*1,3*10-6
*5+
+100*50*10-6
*5*10*103
*2,2*103
/(10*103
+2,2*103
)=0,000451% (4.26)
Тогда погрешность компаратора
d
комп
=100
U
вр
/
U
пор
=
100*0,000451/1,2=0,0375% (4.27)
В итоге результирующая погрешность квантователя по вольт-секундной площади по цепи “инвертор – аналоговый ключ – интегратор - компаратор”
d
квант
=
d
инв
+
d
АК
+
d
инт
+
d
комп
=
0,14559+0,1+0,07087+0,0375=0,35387% (4.28)
Поскольку из цепи “повторитель напряжения – аналоговый ключ – интегратор - компаратор ” ранее не была рассчитана лишь погрешность повторителя напряжения, то вычислим ее.
Повторитель напряжения является частным случаем неинвертирующего усилителя, т.е. усилителем с коэффициентом ООС β и коэффициентом усиления Ки, равным единице. Для его построения достаточно выход ОУ непосредственно соединить с И-входом, а на Н-вход подать входной сигнал. Тогда R2
=0, R1
=∞. Повторитель напряжения применяется в тех случаях, когда необходимо повысить входное сопротивление или снизить выходное сопротивление некоторого электронного узла. В качестве операционного усилителя в повторителе напряжения выберем К544УД2, параметры которого представлены в таблице 4.1. Вычислим мультипликативные погрешности. Погрешность некомпенсации
δнк
=100/(1+К0
β)=100/(1+20000*1)=0,00499% (4.29)
Синфазная помеха
δсс
=10-
m
сс/20
*100%=10-70/20
*100%=0,0316% (4.30)
Суммарная мультипликативная погрешность повторителя напряжения
δмульт
= δнк
+ δсс
=0,00499+0,0316=0,03659% (4.31)
Проведем расчет аддитивных погрешностей.
Составляющая от входного тока
δi
вх
=100iвх
Rвых
=0,5*10-9
*3*103
*100=0,00015% (4.32)
Погрешность, вызванная дрейфом нуля усилителейd
ТКе0
d
ТКе0
=
ТКе0
*ΔТ*100/Uвх.макс
=50*10-6
*5*100/10=0,025% (4.33)
Аддитивная погрешность, вызванная неидеальностью источника питания
d
КВНПе0
=
КВНПе0
*ΔЕпит
*100/Uвх
=300*10-6
*0,5*100/10=0,0015% (2.53)
Суммарная аддитивная погрешность
d
адд
=
d
i
вх
+
d
ТКе0
+
d
КВНПе0
=
0,00015+0,0025+0,0015=0,00415% (4.34)
Результирующая погрешность повторителя напряжения
d
Σ
=
d
мульт
+
d
адд
=
0,03659+0,00415=0,04074% (4.35)
В итоге результирующая погрешность квантователя по вольт-секундной площади по цепи “повторитель напряжения – аналоговый ключ – интегратор - компаратор”
d
квант
=
d
повт
+
d
АК
+
d
инт
+
d
комп
=
0,04074+0,1+0,07087+0,0375=0,24911% (4.36)
Поскольку погрешность квантователя по цепи “инвертор – аналоговый ключ – интегратор - компаратор” (d
квант
=
0,35387%) превышает погрешность по цепи “повторитель напряжения – аналоговый ключ – интегратор - компаратор” (d
квант
=
0,24911%), то за погрешность квантователя принимаем именно ее значение.
4.2 Определение погрешности устройства дозирования количества электричества
Измерения количества электричества необходимо производить в широких пределах: от измерения количества электричества в кратковременных импульсах тока (единицы милликулон) до измерения количества электричества, протекающего в течение длительного времени (до 1011
Кл). Допускаемая погрешность измерения количества электричества должна находится в пределах ±(0,1-5)%.

Рисунок 4.1 – Устройство дозирования количества электричества.
Поскольку погрешность, вносимая квантователем по вольт-секундной площади была посчитана ранее (см. раздел 4.1), то для определения погрешности дозирования количества электричества в целом нам необходимо рассчитать лишь погрешности, вносимые дифференциальным усилителем, так как прочие элементы схемы дозатора (счетчик импульсов, блок индикации, блок задания дозы и т.д.) не вносят погрешности. Погрешность блока сравнения определяется временем задержки срабатывания этого устройства. Это время весьма незначительно (примерно 10 нс). За столь короткий промежуток времени в электрохимическую установку поступит очень незначительное количество электричества. В связи с этим погрешностью, вносимой этим устройством, можно пренебречь.
Найдем сначала мультипликативные погрешности дифференциального усилителя. Определим погрешность некомпенсации
dнк
=100/(1+К0
b)=100/(1+70000*0,0909)=0,016% (4.37),
где b=1/(1+R2
/R1
)=1/(1+10)=0,0909 – коэффициент обратной связи усилителя.
Погрешность от синфазного сигнала
dсс
=10-
mcc
/20
100=10-70/20
100=0,0316% (4.38)
Погрешность, возникающая вследствие неточности используемых резисторов. В качестве резистора R1
=1 кОм выбираем С2-29В с допуском по сопротивлению 0,05% и ТКС=5*10-6
1/ºC. В качестве резистора R2
=10 кОм также выбираем С2-29В с допуском по сопротивлению 0,05% и ТКС=5*10-6
1/ºC. Тогда
δR
=δR
1
+δR
2
+(ТКСR
1
+ТКСR
2
)ΔT*100%=0,05+0,05+(5*10-6
+5*10-6
)5*100%=0,105% (4.39)
Суммарная мультипликативная погрешность дифференциального усилителя равна
δмулт
=δнк
+δсс
+ δR
=0,016+0,0316+0,105=0,1526% (4.40)
Остальные неидеальности дифференциального усилителя устраняются применением цепей коррекции.
Таким образом результирующая погрешность дифференциального усилителя равна мультипликативной погрешности δдиф.ус
=0,1526%.
Для того чтобы определить итоговую погрешность устройства дозирования количества электричества просуммируем погрешности дифференциального усилителя и квантователя по вольт-секундной площади
δдоз.КЭ
=δквант
+δдиф.ус
=0,35387+0,1526=0,50647% (4.41)
4.3
Определение погрешности устройства дозирования электрической энергии

Рисунок 4.2 – Устройство дозирования электрической энергии.
В данном устройстве помимо квантователя погрешность вносит импульсное перемножающее устройство. Однако применяемые умножители обеспечивают превосходную статическую точность, достигающую 0,02%. Однако их полоса рабочих частот составляет всего несколько сотен Гц. В рассматриваемом умножителе один из входных сигналов изменяет длительность импульсов в последовательности, а второй – их амплитуду. После этого импульсная последовательность поступает на ФНЧ, частота среза которого намного ниже тактовой. Этот способ является радикальным с точки зрения решения всех проблем, связанных с перемножением аналоговых сигналов. Дешевизна и высокое качество многих современных микросхем ЦАП и АЦП делают его вполне доступным.
Таким образом, поскольку прочие элементы устройства дозирования электрической энергии не вносят погрешностей, то итоговая погрешность рассматриваемого устройства будет определяться суммой погрешностей квантователя по вольт-секундной площади и импульсного перемножающего устройства. Вычислим ее
δдоз.ЭЭ
=δквант
+δмнож
=0,35387+0,02=0,37583% (4.42)
Диапазон измерения электрической энергии определяется диапазоном изменения номинальных (максимальных) токов и напряжений. Для энергии, потребляемой различными электротехническими устройствами, нижний предел диапазона измерения тока равен примерно 10-9
А, а напряжения 10-6
В. Верхний предел диапазона измерения тока равен 104
А, а напряжения – 106
В. Допускаемая погрешность измерения энергии должна находится в пределах ±(0,1-2,5)%.
4.4 Зависимость погрешности дозирования от состава технических средств комплексов дозирования
Поскольку в электротехнические комплексы дозирования помимо рассмотренных выше устройств цифрового дозирования количества электричества и электрической энергии входят также устройства коммутации и датчики тока и напряжения, то необходимо заметить, что погрешность дозирования в целом будет в значительной мере определяться погрешностями указанных устройств. Так как погрешность самих дозаторов невелика, следует уделить особое внимание выбору устройств коммутации и датчиков для того или иного электротехнического комплекса. Погрешность этих устройств не должна намного превышать значения погрешностей самих дозаторов.
Измерения токов и напряжений всегда сопровождаются погрешностью, обусловленной сопротивлением используемого средства измерения. Включение в исследуемую цепь средства измерения искажает режим этой цепи.
Из средств измерений, используемых для измерения токов и напряжений, наименьшим потреблением мощности из цепи измерений обладают компенсаторы (потенциометры), электронные и цифровые приборы.
При исследованиях приходится измерять постоянные токи в мощных энергетических установках, на предприятиях цветной металлургии, химической промышленности – токи, достигающие сотен килоампер. Для измерения токов и напряжений в таком широком диапазоне отечественной промышленностью выпускаются различные средства измерений.
Измерения больших токов и напряжений имеют свои особенности и трудности. Например, при измерении больших постоянных токов с использованием шунтов на шунтах рассеивается большая мощность, приводящая к значительному нагреву шунтов и появлению дополнительных погрешностей. Для уменьшения рассеиваемой мощности и устранения перегрева необходимо увеличивать габариты шунтов или применять специальные дополнительные меры по искусственному охлаждению. В результате шунты получаются дорогими и громоздкими. При измерении больших токов очень важно следить за качеством контактных соединений. О которым протекает ток. Плохое качество контактного соединения может не только исказить режим цепи, и, следовательно, результат измерений, но и привести к обгоранию контакта за счет большой мощности, рассеиваемой на контактном сопротивлении. При измерении больших токов могут возникать дополнительные погрешности от влияния на средства измерений сильного магнитного поля, создаваемого вокруг шин протекающим током. При измерении больших токов возникают погрешности, обусловленные спецификой этих измерений.
Из рабочих средств измерений постоянных токов и напряжений наименьшую погрешность измерений дают компенсаторы постоянного тока. Постоянные токи измеряют с помощью компенсаторов косвенно с использованием катушек электрического сопротивления. При использовании катушек электрического сопротивления типа Р324 класса точности 0,002 и компенсатора типа Р332 можно измерять токи с погрешностью не более 0,0025%. Компенсаторы используют при точных измерениях постоянных токов, ЭДС и напряжений и для проверки менее точных средств измерений. Измерения больших токов осуществляют, как правило, магнитоэлектрическими килоамперметрами с использованием наружных шунтов, а весьма больших токов – с использованием трансформаторов постоянного тока.
5. ЭКОНОМИЧЕСКИЙ РАСЧЕТ
5.1 Трудовые затраты на этапах проектирования
Таблица 5.1.
| Содержание работ |
Трудоемкость |
Исполнитель |
| чел/час. |
чел/мес. |
1. Эскизное проектирование
:
а) Подбор и изучение литературы
|
9.84 |
0.056 |
Инженер-конструктор 2 категории. |
| б) Разработка и составление принципиальной схемы |
41.82 |
0.24 |
Инженер-конструктор 1 категории. |
| в) Проведение основных расчетов |
26.6 |
0.153 |
Инженер-конструктор 1 категории. |
| итого
(эскизное проектирование) |
78.26 |
0.449 |
2.Техническое
проектирование
:
а) Уточнение схемы и расчетов
|
10.3 |
0.059 |
Инженер-конструктор 2 категории. |
| б) Выполнение чертежей |
53.2 |
0.306 |
Инженер-конструктор 3 категории. |
| в) Расчет погрешностей |
24.3 |
0.139 |
Инженер-конструктор 3 категории. |
| итого
(техническое пр-ние.) |
87.8 |
0.504 |
| итого
(общее проектирование) |
166.06 |
0.953 |
5.2 Расчет стоимости материалов, необходимых для изготовления устройства дозирования электрической энергии
Таблица 5.2.
| Наименование компонентов
|
Шт. |
Цена за единицу, руб/шт. |
Общая стоимость, руб. |
| 1 |
2 |
3 |
4 |
| Резистор C2-29В 10 кОм±0,05% |
6 |
0,2
|
1,2 |
| Резистор C2-29В 5,1кОм±0,05% |
1 |
0,2 |
| Резистор C2-29В 2,2 кОм±0,05% |
1 |
0,2 |
| Конденсатор К51 1мкФ10В±0,05% |
1 |
0,3 |
0,3 |
| Диод КД522А |
1 |
1,5 |
1,5 |
| Стабилитрон КС170А |
1 |
2,9 |
2,9 |
| Семисегментный индикатор АЛС314А |
1 |
3 |
3 |
| Микросхема К544УД2 |
2 |
86,4 |
172,8 |
| Микросхема КР590КН4 |
1 |
19 |
19 |
| Микросхема К574УД3 |
1 |
79 |
79 |
| Микросхема К140УД17 |
1 |
28 |
28 |
| Счетчик импульсов74HC160N |
1 |
14,3 |
14,3 |
| Устройство сравнения 74HC85D |
1 |
6,03 |
6,03 |
| Умножитель импульсов 40194B |
1 |
9,25 |
9,25 |
| ИТОГО |
337,68 |
5.3 Расчет основной заработной платы служащих на этапе проектирования
Таблица 5.3.
| Должность квалификация исполнителя |
Трудовые затраты,
Чел/мес.
|
Должностной оклад,
Руб.
|
Прямой фонд зарплаты,
Руб.
|
Премия 20%,
Руб.
|
Основная зарплата,
Руб.
|
Районный коэффициент
15%
|
Потребный фонд зарплаты,
Руб.
|
| Инж.-кон. 1 кат. |
0,4 |
3000 |
1200 |
240 |
1440 |
180 |
1620 |
| Инж.-кон. 2 кат. |
0,11 |
2500 |
275 |
55 |
330 |
82,5 |
412,5 |
| Инж.-кон. 3 кат. |
0,58 |
2000 |
1160 |
232 |
1392 |
348 |
1740 |
| Итого:
|
3772,5 |
Основная зарплата рассчитывается по формуле 5.1.
О.З.=(Фпр
*П)+Фпр
(5.1.)
Потребный фонд заработной платы рассчитывается по формуле 5.2.
Фп
= (О.З.*Кр
)+О.З. (5.2.)
где, О.З. – основная зарплата, руб.;
Фпр
– прямой фонд зарплаты, руб.;
П=20%, премия;
Кр
=15%, районный коэффициент;
Фп
– потребный фонд зарплаты, руб.
5.4 Расчет основной заработной платы рабочих на этапе изготовления опытного образца
Таблица 5.4.
| Проффесия и разряд рабочего |
Трудоемкость
Чел/час.
|
Часовая тарифная ставка,
Руб.
|
Прямой фонд зарплаты,
Руб.
|
Премия 40%,
Руб.
|
Основная зарплата,
Руб.
|
Районный коэффициент 15% |
Потребный фонд зарплаты,
Руб.
|
| Техник 4 раз. |
20 |
13 |
260 |
104 |
364 |
39 |
403 |
| Монтажник 4 раз. |
3,15 |
11 |
35 |
14 |
49 |
5,25 |
54,25 |
| Оператор 4 раз. |
8,2 |
12 |
98,4 |
39,36 |
137,76 |
14,76 |
153,52 |
| Контролер 4 раз. |
1,33 |
13 |
17,29 |
6,88 |
24,17 |
2,58 |
26,75 |
| Итого:
|
411 |
574,9 |
637,52 |
5.5 Расчет дополнительной зарплаты и отчислений на социальное страхование рабочих и служащих
Таблица 5.5.
| Профессия исполнителя |
Дополнительная зарплата (10% от осн.) |
Соцстрахование (41% от осн. +доп.) |
| Инженер-конструктор 1 кат. |
144 |
590 |
| Инженер-конструктор 2 кат. |
33 |
135,5 |
| Инженер-конструктор 3 кат. |
139,2 |
570,72 |
| Техник 4 раз. |
36,4 |
149,24 |
| Монтажник 4 раз. |
4,9 |
21 |
| Оператор 4 раз. |
13,7 |
56,17 |
| Контролер 4 раз. |
2,4 |
9,84 |
| Итого:
|
373,6 |
1532,47 |
5.6 Расчет себестоимости опытного образца
Таблица 5.6.
| Статьи расходов |
Величина расходов |
| 1.Потребный фонд зарплаты |
4410,02 |
| 2.Дополнительная зарплата |
373,6 |
| 3.Отчисление на соцстрахование |
1532,47 |
| Итого:
|
6316,09 |
| 1.Материалы, покупные изделия |
337,68 |
| Итого:
|
6653,77 |
6. ОХРАНА ТРУДА
6.1 Анализ опасных и вредных производственных факторов на рабочем месте оператора ЭВМ
Рабочим местом при проектировании устройств дозирования электрической энергии и количества электричества является лаборатория. Разработка, проектирование и исследование указанных устройств производится с применением электронно-вычислительной машины. В связи с этим будем рассматривать вредные и опасные производственные факторы, имеющие место при работе оператора ЭВМ.
Согласно ГОСТ 12.0.003-74 “Классификация вредных и опасных производственных факторов” на рабочем месте оператора ЭВМ существуют следующие опасные и вредные факторы:
неблагоприятные параметры микроклимата;
повышенный уровень шума на рабочем месте;
недостаточная освещенность рабочей зоны;
повышенный уровень вибрации;
возможное поражение электрическим током;
повышенный уровень статического электричества;
повышенный уровень электромагнитных излучений;
эргономика рабочего места;
6.2 Микроклимат
Оптимальные и допустимые величины показателей микроклимата определены в соответствии с ГОСТ 12.1.005-88.
Гигиенические требования к микроклимату производственных помещений приведены в СанПиН 2.2.4.548-96
Таблица 6.1 - Параметры микроклимата на рабочем месте при изготовлении устройств дозирования электрической энергии и количества электричества по ГОСТ 12.1.005-88.
| Период года |
Температура, °С |
Относительная влажность, % |
Скорость движения воздуха, м/с |
| Оптимальная |
Верхняя
граница
|
Нижняя граница |
Оптимальная |
Допустимая |
Оптимальная,
не более
|
Допустимая, не более |
| На постоянных рабочих местах |
| Холодный |
21-23 |
24 |
20 |
40-60 |
75 |
0,1 |
0,2 |
| Теплый |
22-24 |
28 |
21 |
40-60 |
75 (при 27°С) |
0,2 |
0,1¸0,3 |
Микроклимат на рабочем месте, в соответствии с ГОСТ 12.1.005 – 88, при эксплуатации и испытании устройств дозирования электрической энергии и количества электричества, учитывая что эти категории работ отнесены к группе средней тяжести IIа, должен соответствовать параметрам таблицы 6.2.
Таблица 6.2 - Параметры микроклимата на рабочем месте при эксплуатации и испытании устройств дозирования электрической энергии и количества электричества.
| Период года |
Температура, °С |
Относительная влажность, % |
Скорость движения воздуха, м/с |
| Оптимальная |
Верхняя
граница
|
Нижняя граница |
Оптимальная |
Допустимая |
Оптимальная,
не более
|
Допустимая, не более |
| На постоянных рабочих местах |
| Холодный |
18-20 |
23 |
15 |
40-60 |
75 |
0,2 |
0,3 |
| Теплый |
21-23 |
27 |
18 |
40-60 |
70 (при 26°С) |
0,3 |
0,2-0,4 |
Содержание вредных химических веществ в воздухе рабочей зоны (лаборатория ЭВМ) не должно превышать предельно допустимых концентраций, указанных в ГОСТ 12.1.005-88.
Оптимизация параметров микроклимата в лаборатории проводится в соответствии с мероприятиями, указанными в СанПиН 2.2.2.542-96 “Гигиенические требования к видеодисплейным терминалам, персональным электронно-вычислительным машинам и организации работы ”.
Лаборатория оборудована системой отопления и эффективной приточно-вытяжной вентиляцией.
Для повышения влажности воздуха в помещении лаборатории следует применять увлажнители воздуха, заправляемые ежедневно дистиллированной или прокипяченной питьевой водой.
Помещения с ВДТ и ПЭВМ перед началом и после каждого академического часа учебных занятий, до и после каждого занятия в дошкольном учреждении должны быть проветрены, что обеспечивает улучшение качественного состава воздуха, в том числе и аэроионный режим.
6.3 Освещение
Освещение в помещении лаборатории с ЭВМ нормируется СанПиН 2.2.2.542-96. Искусственное освещение в помещениях эксплуатации ВДТ и ПЭВМ осуществляется системой общего равномерного освещения.
Нормы естественного, совмещенного и искусственного освещения для третьего разряда зрительной работы определены согласно СНиП 23-05-95 “Естественное и искусственное освещение”.
Таблица 6.3 - Нормы естественного, совмещенного и искусственного освещения для третьего разряда зрительной работы.
Характеристика
зрительной
работы
|
Разряд
|
Минимальный
объект
различения,
мм
|
Совмещенное
освещение
КЕО, %
|
Естественное
освещение,
КЕО, %
|
Искусственное
освещение,
лк
|
| боковое |
боковое |
комб. |
общ. |
Высокой
точности
|
б |
0,3-0,5 |
1,2 |
2 |
1000 |
3000 |
Яркость светящихся поверхностей в лаборатории (окна, светильники), находящихся в поле зрения не должна превышать 200 кд/кв.м.
В качестве источников света в рассматриваемой лаборатории применяются люминесцентные лампы. При использовании таких ламп возникает явление стробоскопического эффекта, которое может представлять серьезную опасность. Чтобы исключить появление стробоскопического эффекта применяют двухламповые светильники с емкостным или индуктивным балластом.
В целях улучшения освещения рабочей зоны следует регулярно проводить очистку стекол оконных рам (не реже одного раза в год). Кроме того, необходимо производить замену ламп, исходя из продолжительности горения для данного типа ламп, заявленной производителем.
6.4 Шум
Источниками шума в исследуемой лаборатории могут быть отдельные части ЭВМ и периферийных устройств (системы вентиляции, дисководы, приводы принтеров и т.д.).
Показатели шума регламентируются ГОСТ 12.1.003-83 “Шум”, а также СН 2.2.4/2.1.8.562-96 “Шум на рабочих местах, в помещениях жилых, общественных зданий и на территории жилой застройки ”.

Рисунок 6.1 – Нормирование шума по предельному спектру.
Согласно СанПиН 2.2.2.542-96 в помещениях, где работают инженерно-технические работники, осуществляющие лабораторный, аналитический или измерительный контроль, уровень шума не должен превышать 60 дБА.
Снизить уровень шума в помещениях с ВДТ и ПЭВМ можно использованием звукопоглощающих материалов с максимальными коэффициентами звукопоглощения в области частот 63 - 8000 Гц для отделки помещений (разрешенных органами и учреждениями Госсанэпиднадзора России), подтвержденных специальными акустическими расчетами.
Дополнительным звукопоглощением служат однотонные занавеси из плотной ткани, гармонирующие с окраской стен и подвешенные в складку на расстоянии 15-20 см от ограждения. Ширина занавеси должна быть в 2 раза больше ширины окна.
Кроме того, при выборе компьютеров и периферийных устройств для них необходимо учитывать их шумовые характеристики.
6.5 Вибрация
Защита от вибрации оговаривается стандартом ГОСТ 12.1.005 – 88: уровень вибрации на рабочем месте не должен превышать предельно допустимых норм. Источником вибрации в рассматриваемой лаборатории ЭВМ может являться вентиляторная установка, расположенная вне помещения. Вибрация может распространяться через жёсткие короба вентиляционной системы до места рабочей зоны. В данном случае имеет место общая вибрация технологического типа. На рисунке 6.2 график 3в показывает допустимые уровни вибрации.

Рисунок 6.2 – Гигиенические нормы вибрации.
Таблица 6.4 - Допустимые нормы вибрации на всех рабочих местах с ВДТ и ПЭВМ.
| Среднегеометрические |
Допустимые значения |
| частоты октавных |
по виброускорению |
по виброскорости |
| полос, Гц |
мс-2
|
дБ |
мс-1
|
дБ |
| оси X, Y |
| 2 |
5,3х10 |
25 |
4,5х10 |
79 |
| 4 |
5,3х10 |
25 |
2,2х10 |
73 |
| 8 |
5,3х10 |
25 |
1,1х10 |
67 |
| 16 |
1,0х10 |
31 |
1,1х10 |
67 |
| 31,5 |
2,1х10 |
37 |
1,1х10 |
67 |
| 63 |
4,2х10 |
43 |
1,1х10 |
67 |
| Корректированные значения и их уровни в дБ W |
9,3х10 |
30 |
2,0х10 |
72 |
Если не принимать меры по снижению вибрации в помещении, то у человека будет развиваться вибрационная болезнь. Для уменьшения уровня вибрации снижена вибрация самих источников вибрации, для чего:
вентиляторы установлены на виброгасящие основания;
произведена тщательная балансировка подвижных элементов вентилятора;
соединение вентилятора с вентиляционными коробами произведено через гибкий рукав, исключающий передачу вибрации.
6.6 Электробезопасность
Список электрооборудования исследуемой лаборатории включает ЭВМ, принтер, сканнер, два генератора импульсов, два осциллографа, лабораторный стенд, электрический чайник. Суммарная мощность электрооборудования помещения не превышает 5 кВт. Все оборудование является установками до 1000 В. Согласно классификации ПУЭ лаборатория относится к помещениям без повышенной опасности (т.к. влажность не более 60 %, нет возможности одновременного прикосновения человеком к корпусу электрооборудования с одной стороны и к заземленным конструкциям с другой стороны, температура помещения не превышает 35ºС).
Для обеспечения электробезопасности лаборатории обеспечена недоступность токоведущих частей, предусмотрено устройство защитного отключения (УЗО), произведено защитное заземление электрооборудования. Заземлению подлежат корпуса приборов, ЭВМ, металлические оболочки кабелей проводов. Корпуса ПЭВМ выполнены из нетоковедущих материалов, имеют клеммы для заземления. Согласно ПУЭ для электроустановок до 1000 В. сопротивление заземлителя не должно превышать 4 Ом. Расчет защитного заземления приведен ниже.
Заземление осуществлено по схеме приведенной на рисунке 6.3.

Рисунок 6.3. Принципиальная схема защитного заземления в сети с изолированной нейтралью до 1000В и выше.
ГОСТ 12.1.083-82 предъявляет дополнительные требования к уровню напряжения прикосновения и тока через тело человека (таблица 6.5), а также к уровню напряженности электростатического поля (таблица 6.6).
Источниками электростатического поля являются монитор и периферийные устройства. Нормируется данный параметр в соответствие с СН 1757-77.
Для защиты от электростатического поля необходимо обеспечить защитное заземление, а также регулярно проводить увлажнение воздуха рабочей зоны.
Таблица 6.5 - Допустимые уровни напряжения прикосновения тока через тело человека.
| Род частоты тока |
Наибольшие допустимые значения |
| Uпр
, В |
I, мА |
| Переменный, 50 Гц |
2 |
0,3 |
| Переменный, 400 Гц |
3 |
0,4 |
| Постоянный |
8 |
1,0 |
Таблица 6.6 - Допустимые уровни напряженности электростатического поля.
| Нормируемое значение |
Погрешность, % |
Напряженность
электростатического
поля
|
При воздействии
до 1 ч. Eпд
=60
от 1 ч. до 9 ч. Eпд
=60/t
Eпр
<20, время не регламентируется
20-60, Тд
=Еп
/Тф
|
5
|
Расчет защитного заземления.
Защитное заземление применяется в трехфазных, трех проводных сетях с изолированной нейтралью до 1000 В. Заземление – это преднамеренное электрическое соединение нетоковедущих частей, которые могут оказаться под напряжением, с землей или ее эквивалентом.
Чтобы обеспечить безопасность работы с устройствами дозирования электрической энергии и количества электричества необходимо иметь защитное заземление с Rз
не более 4 Ом. Устройства располагаются в помещении, не относящемся к категории взрывоопасных. Данные удельного сопротивления грунта определяются по табличным данным с учетом климатического коэффициента. Сопротивления искусственного заземлителя Rн
не должно превышать предельно допустимого значения сопротивления заземления Rз.
Искусственный заземлитель будет представлять собой систему вертикальных электродов, верхние концы которых соединены. Электроды располагаются по контуру на глубину 0,7 м. от поверхности земли (h = 0,7 м.). В качестве вертикальных электродов используем стержни длиной 3м. (l = 3м.) из уголков стали шириной полки 60 мм. (b = 60 мм.).
Определим удельное сопротивление грунта из выражения:
(6.1)
где r
Т
– табличное значение удельного сопротивления грунта (значение взято для грунта типа суглинок);
y
- климатический коэффициент (взят в соответствии с табличными данными).
Рассчитаем сопротивление единичного электрода, принимая расстояние t
от поверхности грунта до середины электрода равным:
(6.2)
и диаметром d
, условной трубы, равным:
(6.3)
Для расчета одиночного вертикального электрода воспользуемся выражением:
(6.4)
Определим необходимое количество электродов с учетом коэффициента использования h
Э
:
(6.5)
В соответствии с табличными данными находим необходимое число электродов n
равное 20
а
=3×l=3×3м
=9м
(6.6)
Находим длину горизонтального проводника, соединяющего электроды:
(6.7)
Для соединения вертикальных электродов используем полосовую сталь сечением 4 Х 10 мм. Определим сопротивление полосы растекания тока, используя выражение:
(6.8)
Находим общее сопротивление системы заземления:
(6.9)
Мы видим, что значение RИ
не превышает предельно допустимое значение (4 Ом) для электроустановок, питающихся напряжением до 1000 В.
6.7 Электромагнитное излучение
Допустимые уровни электромагнитного излучения определяются ГОСТ 12.1.006-84 “”Электромагнитные поля радиочастот. Допустимые уровни на рабочих местах и требования к проведению контроля”. Источниками электромагнитного излучения в исследуемой лаборатории являются монитор электронно-вычислительной машины, электронно-лучевые трубки осциллографов, трансформаторы, антенны, а также естественные источники (солнце, магнитное поле Земли).
Допустимые уровни параметров электромагнитного излучения приведены в таблице 6.7 согласно СанПиН 2.2.2.542-96.
Таблица 6.7 - Допустимые значения параметров неионизирующих электромагнитных излучений
| Наименование параметров до 01.01.1997 |
Допустимое значение |
| Напряженность электромагнитного поля по электрической составляющей на расстоянии 50 см от поверхности видеомонитора |
10 В/м |
| Напряженность электромагнитного поля по магнитной составляющей на расстоянии 50 см от поверхности видеомонитора |
0,3 А/м |
| Напряженность электромагнитного поля на расстоянии 50 см вокруг ВДТ по электрической составляющей должна быть не более: |
| - в диапазоне частот 5 Гц - 2 кГц; |
25 В/м |
| - в диапазоне частот 2 - 400 кГц |
2,5 В/м |
| Плотность магнитного потока должна быть не более: |
| - в диапазоне частот 5 Гц - 2 кГц; |
250 нТл |
| - в диапазоне частот 2 - 400 кГц |
25 нТл |
| Поверхностный электростатический потенциал не должен превышать |
500 В |
Для защиты от действия электромагнитного излучения проводятся следующие мероприятия: уменьшение интенсивности облучения от самого источника, экранирование источника, применение средств индивидуальной защиты.
6.8 Эргономика рабочего места
К психофизиологическим опасным и вредным факторам в работе оператора ЭВМ можно отнести в соответствии с ГОСТ 12.2.032 – 78 нервно – психическое состояние организма, вызванное недостаточной освещенностью и монотонностью труда, а так же плохую организацию рабочего места. Психофизические опасные и вредные факторы ведут к нервно-психическим перегрузкам. В связи с этим производственное оборудование и приборы в лаборатории спроектированы с учетом физиологических и психологических данных человека. Были учтены психическое напряжение работника, использующего разработанное устройство, повышенное внимание и физические нагрузки при работе с устройствами дозирования электрической энергии и количества электричества.
Все виды оборудования удобны для использования. Расположение органов управления обеспечивает экономию движений, исключает неудобное напряжение положения тела.
Для создания благоприятных условий выполнены следующие требования в отношении рабочего места оператора ЭВМ:
рациональный выбор рабочей зоны;
выбор рабочей позы;
выбор оптимального размещения основных и вспомогательных материалов.
Основные элементы рабочего места показаны на рисунке 6.4.

Рисунок 6.4 - Основные элементы рабочего места: 1 - рабочее кресло; 2 - рабочая поверхность; 3 – ЭВМ.
Высота поверхности сиденья определяется высотой подколенной ямки над полом, измеренной в положении сидя при угле сгибания колена на 90°. При высоте стула 400 мм высота рабочей поверхности 710 ± 5 мм является оптимальной. Для удобства эксплуатации монитор ЭВМ установлен на регулируемую подставку, которая позволяет установить его так чтобы обеспечивался удобный зрительный контроль.
В процессе подбора проектирования устройства были учтены следующие факторы:
положение тела оператора;
расположение органов управления;
размер и форма органов управления;
направление, амплитуда и траектория их движения;
отношение величины перемещения ручек управления к величине перемещения указателя индикатора и т.п.
Размер зоны приложения труда ограничивается площадью, оснащенной технологической оснасткой, инструментами и приспособлениями. При расположении элементов рабочего места предусмотрены необходимые средства защиты проектировщика от опасных и вредных факторов в соответствии с ГОСТ 12.0.003 – 74. Взаимное расположение элементов рабочего места способствует оптимальному режиму труда и отдыха, снижению утомления, предупреждению появления ошибочных действий.
Выполнение оператором движений в пределах оптимальной зоны значительно снижает мышечное напряжение. При компоновке ростов и пультов управления учтено, что зона обзора в горизонтальной плоскости без поворота головы составляет 1200
, с поворотом 1300
. Допустимый угол обзора по вертикали 1300
.
Удобное и рациональное расположение материалов, инструментов, приспособлений исключает лишние, непроизводственные движения. Инструменты, обрабатываемые материалы и изделия располагаются на рабочем месте с учетом частоты их употребления: более часто употребляемые размещаются в оптимальной рабочей зоне досягаемости рук без наклонов туловища, редко употребляемые – в более отдаленной зоне.
В целях сведения к минимуму проблемы аварийности и травматизма при эксплуатации изделия, рабочее место соответствует нормам технической и пожарной безопасности, а проектировщик в процессе работы должен соблюдать нормы и требования безопасности труда и не способствовать созданию аварийных ситуаций.
6.9 Противопожарная безопасность
Противопожарная безопасность регламентируется ГОСТ 12.1.004-85 “Пожарная безопасность” и ГОСТ 12.1.010-85 “Взрывобезопасность. Общие требования.”.
Согласно Приказа № 32 от 31.10.95 (введен 1.01.96) лаборатория ЭВМ относится к помещениям категории “Д”, т.е. помещение, содержащее негорючие вещества и материалы в холодном состоянии.
Пожарная безопасность объекта в соответствии с ГОСТ 12.1.004-85 обеспечивается системами предотвращения пожара и противопожарной защиты, предусмотрены организационно – технические мероприятия. Системы пожарной безопасности должны характеризоваться уровнем обеспечения пожарной безопасности людей и материальных ценностей.
Для профилактики пожарной безопасности проводятся следующие мероприятия:
Вентиляция взрывобезопасного исполнения.
Здание строится из несгораемых материалов.
Лаборатория укомплектована переносным огнетушителем.
В центральном коридоре установлен пожарный гидрант.
Во всех помещениях корпуса имеется план эвакуации в случае пожара.
Пожарная сигнализация включает в себя датчики ДИП – 215 3М3. Оповещение световое и звуковое.
Инструктаж персонала по технике безопасности и пожарной безопасности.
В помещении лаборатории, а также в коридоре учебно-лабораторного корпуса находятся первичные средства пожаротушения (огнетушители, гидропомпы, ведра, лопаты, ящики с песком). Лаборатория оборудована порошковым огнетушителем марки ОПС-10. Огнетушитель расположен на видном месте и легкодоступен. Для различных помещений существуют нормы первичных средств пожаротушения. На каждые 100 м2
пола производственных помещений требуется 1-2 огнетушителя. В рабочем помещении установлена пожарная сигнализация с тепловым извещателем. Коридоры, лестничные площадки не заставлены посторонними предметами, затрудняющими эвакуацию людей в случае пожара.
Расстояние от лаборатории до пожарного гидранта около 8 метров.
ЗАКЛЮЧЕНИЕ
В ходе работы проведено обобщение вопросов построения цифровых дозаторов количества электричества и электрической энергии, разработан принцип дозирования количества электричества и электрической энергии на основе квантования по вольт-секундной площади.
На основании результатов исследований была разработана электроустановка контактной сварки с цифровым дозированием электрической энергии.
Во введении обоснована актуальность проводимых исследований, сформулированы цели и задачи работы, отмечены научная новизна и практическая значимость результатов, а также представлена структура проекта.
В первой главе рассмотрено современное состояние вопроса в области дозирования количества электричества и электрической энергии, произведен аналитический обзор существующих электротехнических приборов и изделий, способных работать в структурах проектируемых дозаторов в качестве отдельных элементов этих структур. Проведен сравнительный анализ средств учета и контроля количества электричества и электрической энергии, в котором отмечены как положительные качества, так и недостатки существующих приборов по сравнении с проектируемым.
Во второй главе рассмотрен вопрос о применении принципа квантования интегральных значений измеряемой величины по вольт-секундной площади при аппаратной реализации аналого-цифровых преобразований входных сигналов. Проведено обоснование выбора схемы интегрирующего преобразователя – квантователя, предназначенного для работы в структурах дозирования количества электричества и электрической энергии.
В третьей главе рассмотрен вопрос выбора состава структурной схемы комплекса технических средств дозирования количества электричества и электрической энергии, представлены функциональные схемы.
В четвертой главе проведен метрологический расчет разработанных устройств для цифрового дозирования количества электричества и электрической энергии и дана оценка погрешности спроектированного импульсного интегратора.
В пятой главеприводится экономический расчет разработанных дозаторов количества электричества и электрической энергии, определены затраты на производство указанных устройств (опытные образцы).
В шестой главе рассмотрена организация охраны труда при разработке устройств дозирования количества электричества и электрической энергии, учтены опасные и вредные факторы, которые имеют место при проектировании данных устройств, приведены рекомендуемые организационные мероприятия по улучшению условий труда.
ЛИТЕРАТУРА
1. Прикладная электрохимия. Изд. 2-е, пер. и доп. Под ред. Н.Т. Кудрявцева. М.: «Химия», 1975. 552 с.
2. Мелков М.П., Швецов А.Н. Восстановление автомобильных деталей твердым железом. -М.: Транспорт 1982. 192 с.
3. Зозуля А.П. Кулонометрический анализ. -М.: Химия, 1968.
4. Агасян П.К., Хамракулов Т.К. Кулонометрический метод анализа. - М.: Химия, 1984.
5. Каталог. Приборы и средства автоматизации. № 7. М. 1989.
6. Электрические измерения. Учебн. для вузов. Под ред. А.В.Фремке. -Л.:Энергия, 1973.- 424 с.: ил.
7. Справочник по электроизмерительным приборам. / К.К.Илюнин, Д.И.Леонтьев, Л.И.Набелина и др. Под ред. К.К.Илюнина. -Л.:Энергоатомиздат, 1983,-784 с.: ил.
8. Справочник по электроснабжению и электрооборудованию: в 2 т./Под общ. ред. А.А.Федорова. Т2. Электрооборудование.-М.: Энергоатомиздат, 1987. -592 с.; ил.
9. Бондаренко Н.Н., Братолюбов В.Б. Низковольтные преобразователи для гальванотехники и электрохимических станков. -М.: Энергоатомиздат, 1987.-184 с.
10. И.Ф.Плеханов. Расчет и конструирование устройств для нанесения гальванических покрытий. -М.: Машиностроение, 1988.
11. Ю.К.Делимарский. Электролиз. Теория и практика. -Киев: Тэхника, 1982.
12. Основы метрологии и электрические измерения: Учебник для вузов / Б.Я. Авдеев, Е.М.Антонюк, Е.М. Душин и др.; Под ред. Е.М. Душина.-6-е изд., перераб. и доп. -Л.: Энергоатомиздат, 1987.-480 с.
13. Кулонометрическая установка: Патент №2120625 РФ, МКИ6
G 01 N 27/42/ А.П.Попов, А.Ю.Власов, В.В.Емельянов (РФ).-12 с.: ил.
14. Ковка и штамповка: Справочник. В4-х т./Ред. совет: Е.И. Семенов (пред.) и др. -М.: Машиностроение, 1985-Т.1. Материалы и нагрев. Оборудование. Ковка / Под ред. Е.И. Семенова. 1985.-568 с.
15. Романов Д.И. Электроконтактный нагрев металлов. -2-е изд., перераб. и доп.-М.: Машиностроение, 1981.-168 с., ил.
16. Технология и оборудование контактной сварки: Учебник для машиностроительных вузов / Б.Д.Орлов, А.А.Чакалев, Ю.В.Дмитриев и др.; Под общ. ред. Б.Д.Орлова. – 2-е изд., перераб. и доп. –М.: Машиностроение, 1986. –352 с., ил.
17. Электрооборудование и автоматика электротермических установок: Справочник/Альтгаузен А.П., Бершицкий М.Д. и др.; Под ред. А.П. Альтгаузена. –М.: Энергия, 1978. –304 с.
18. Электротехнический справочник. Под ред. А.Т. Голована. Т.1, - М: Госэнергоиздат, 1961. - 736 с.
19. Орнатский П.П. Автоматические измерения и приборы.–5-е изд., перераб. и доп. -К.: Вища шк. Головное изд-во, 1986.-504 с.
20. Швецкий Б.И. Электронные цифровые приборы.-2-е изд., перераб. и доп.-К.:Тэхника, 1991.-191 с.
21. Пейтон А. Дж., Волш В. Аналоговая электроника на операционных усилителях. - М: БИНОМ, 1994 – 352 с.
22. Коломбет Е.А. Микроэлектронные средства обработки аналоговых сигналов. - М.: Радио и связь, 1991 – 367 с.
23. Электронный измеритель электрической энергии: Патент № 2190861 РФ, МКИ7
G01 R21/06/ А.П.Попов, А.Ю.Власов (РФ).-10 с.
24. Шляндин В.М. Цифровые измерительные устройства. М.: Высшая школа, 1981. –335 с.
25. Атамалян Э.Г. Приборы и методы измерения электрических величин: Учеб. пособие.-М.: Высш. школа, 1982.-223 с.
26. Махнанов В.Д., Милохин Н.Т. Устройства частотного и время-импульсного преобразования.-М.:Энергия, 1970.-129 с.
27. Тарасов В.Ф., Шахов Э.К. Полупроводниковые преобразователи напряжение-частота (обзор) – Приборы и системы управления. 1974, №4, С. 9-14.
28. Электроизмерительные устройства для диагностики машин и механизмов / Р.С.Ермолов, Р.А.Ивашев, В.К.Колесник, Г.Ф.Морозов. -Л.: Энергия. Ленингр. отд-ние, 1979.-128 с., ил.
29. Шляндин В.М. Цифровые измерительные преобразователи и приборы. М.: Высшая школа, 1973. –280 с.
30. Ермолов Р.С. Цифровые частотомеры. -Л.: Энергия, 1973.-175 с.
31. Асаев А.А., Левенталь В.Ф., Баранов В.Г. Гибридные микросборки для аналого-цифрового преобразования сигналов тензорезисторных датчиков. -Приборы и системы управления, 1985, №5.-С. 24-25.
32. В.С. Гутников, В.В. Лопатин, А.И. Недашковский. Измерительные интегрирующие преобразователи с частотно-временным промежуточным преобразованием. -Л.: ЛПИ, 1986.-73 с.
33. Алексенко А.Г., Коломбет Е.А., Стародуб Г.И. Применение прецизионных аналоговых ИС. -М.: Радио и связь, 1981.-224 с.
34. Гутников В.С. Интегральная электроника в измерительных устройствах.-2-е изд., перераб. и доп. -Л.: Энергоатомиздат, 1988.-304 с.
35. Титце У., Шенк К. Полупроводниковая схемотехника. -М.: Мир, 1983.
36. Зыкин Ф.А., Каханович В.С. Измерение и учет электрической энергии. – М.: Энергоатомиздат, 1982 – 104 с.
37. Чернов В.Г. Устройства ввода-вывода аналоговой информации для цифровых систем сбора и обработки данных. - М.: Машиностроение, 1988. - 184 с.
38. Нестеренко Б.К. Интегральные операционные усилители: Справочное пособие по применению. -М.: Энергоиздат, 1982.-128 с.
39. Опадчий Ю.Ф. и др. Аналоговая и цифровая электроника: Учебник для вузов/ Ю.Ф.Опадчий, О.П.Глудкин, А.И.Гуров; Под ред. О.П.Глудкина. -М.: Горячая линия –Телеком, 2002.-768 с.
40. Шахов Э.К., Михотин В.Д. Интегрирующие развертывающие преобразователи напряжения. -М.: Энергоатомиздат, 1986.-144 с.
41. Фолкенберри Л. Применение операционных усилителей и линейных ИС: Пер. с англ.- М.: Мир, 1985.-572 с.
42. Марше Ж. Операционные усилители и их применение.- Л.: Энергия, 1974.-216 с.
43. Келехсаев Б.Г. Нелинейные преобразователи и их применение: Справочник.-М.: Солон-Р, 1999.-304 с.
44. Вострокнутов Н.Н. Цифровые измерительные устройства. Теория погрешностей, испытания, поверка. -М.: Энергоатомиздат, 1990. -208 с.
45. П.П.Орнатский. Теоретические основы информационно-измерительной техники. -Киев: Вища школа, 1983.- 455 с.
46. Электрические измерения. Учеб. пособ. для втузов. Под ред. Е.Г.Шрамкова. -М.:Высш. школа, 1972.-520 с.: ил.
47. Левшина Е.С., Новицкий П.В. Электрические измерения физических величин: Измерительные преобразователи.-Л.: Энергоатомиздат, 1983. -325 с.
48. С.А. Спектор. Электрические измерения физических величин: Методы измерений: Учеб. пособие для вузов. - Л.: Энергоатомиздат. Ленингр. отд-ние, 1987. - 320 с.
49. Измерение электрических величин. Евтихиев Н.Н., Купершмидт Я.А., Папуловский В.Ф., Скугоров В.Н. Под общ. ред. Н.Н. Евтихиева.-М.: Энергоатомиздат, 1990.- 352 с.
50. Ю.В.Афанасьев. Феррозонды. - Л.: Энергия, 1969. - 166 с.
51. Казанский В.Е. Измерительные преобразователи тока в релейной защите.-М.: Энергоатомиздат, 1988.-240 с.
52. Электрические и электронные аппараты: Учебник для вузов / Под ред. Розанова Ю.К. – М.: Энергоатомиздат, 1998. – 752 с.
53. Б.З.Михлин, В.П.Селезнев, А.В.Селезнев. Геомагнитная навигация. - М.: Машиностроение, 1976. – 280 с.
54. Л.А. Бессонов. Теоретические основы электротехники: Электромагнитное поле. Учебник для студентов вузов. - М.: Высш. школа, 1978.-231 с.
55. Нестеренко А.Д. Введение в теоретическую электротехнику. -Киев: Наукова думка, 1969.-351 с.
56. М.А. Розенблат. Магнитные усилители. –М.: Советское радио, 1956.
57. Нейман Л.Р., Демирчян К.С. Теоретические основы электротехники: В 2-х т. Учебник для вузов. Том 1.-3-е изд., перераб. и доп. -Л.: Энергоиздат. Ленингр. отд-ние, 1981.-536 с.
58 Кликушин Ю.Н., Михайлов А.В. Электроника в приборостроении. Тексты лекций.-Омск: ОмГТУ, 2000.-152 с.
59 Справочник. Резисторы. Под ред. Четверткова И.И. И Терехова В.М.-М.: Радио и связь, 1991.-528 с.
60 Методические указания по выполнению организационно-экономической части дипломного проекта по специальности 0642 “Информационно-измерительная техника”. Составитель Добровольский В.Е.-Омск: ОмГТУ,1986.-32 с.
61 Охрана труда в машиностроении. Под ред. Юдина Е.Я. и Белова С.В.-М.: Машиностроение, 1983.-432 с.
62 Курсовое и дипломное проектирование. Методические указания для студентов специальности 200400 “Промышленная электроника”. Составитель Степанов В.И. Омск: ОмГТУ,2004.-44 с.
|