Реферат
Дипломный проект содержит 10 листов графической части формата А1, пояснительную записку на … листах формата А4, включающую … рисунка, … таблиц, 25 литературных источников, 4 приложения.
Теплоснабжение, реконструкция теплосети, центральный тепловой пункт, теплообменник пластичатый, насос повысительно-циркуляционный, расчет тепловой, расчет гидравлический, пьезометрический график, автоматизация.
Целью дипломного проекта является улучшение теплового и гидравлического режима системы теплоснабжения п. Победа г. Хабаровска.
Указанная цель достигается переводом системы теплоснабжения от котельных №3,22,28 на централизованное теплоснабжение от ТЭЦ-3, с подключением части абонентов через центральный тепловой пункт. При этом произведены следующие расчеты: определение тепловых нагрузок, графики теплопотребления, графики регулирования температуры сетевой воды, определение расчетных расходов теплоносителя, гидравлический расчет теплосети, пьезометрические графики, дроссельные устройства. Выполнен расчет и подбор оборудования для реконструируемого участка теплосети. В специальном разделе проведен расчет и подбор теплообменного оборудования центрального теплового пункта, подбор повысительных и смесительных насосов. В разделе автоматизации произведен подбор приборов и средств автоматики для центрального теплового пункта. В разделе организация строительного производства выполнен проект производства работ по реконструкции участка теплотрассы. Общая продолжительность работ составила 16 дней при трудоемкости 145 чел.-дней. В экономическом разделе произведен локальный сметный расчет на реконструкцию теплосети. Договорная цена составила 357 тысяч рублей. Также произведен расчет годовых эксплуатационных затрат. Сумма затрат составляет 5,28 млн. рублей в год. В разделе охрана труда и окружающей проведен анализ вредных и опасных факторов, расчет заземления и строповки.
ПОЯСНИТЕЛЬНАЯ ЗАПИСКА
к проекту по теплоснабжению абонентов
Квартальной котельной и котельных №№22,28,3
Настоящим проектом предусмотрено подключение абонентов квартальной котельной расположенной по ул. Ясная, котельных №22, №28, №3 Краснофлотского района к врезке тепловой сети идущей от ЦТК 337/03 Общая тепловая нагрузка составляет Q = 35,73Гкал/час. с учетом перспективного подключения равного О =4,68 Гкал/час
Забиваем Сайты В ТОП КУВАЛДОЙ - Уникальные возможности от SeoHammer
Каждая ссылка анализируется по трем пакетам оценки: SEO, Трафик и SMM.
SeoHammer делает продвижение сайта прозрачным и простым занятием.
Ссылки, вечные ссылки, статьи, упоминания, пресс-релизы - используйте по максимуму потенциал SeoHammer для продвижения вашего сайта.
Что умеет делать SeoHammer
— Продвижение в один клик, интеллектуальный подбор запросов, покупка самых лучших ссылок с высокой степенью качества у лучших бирж ссылок.
— Регулярная проверка качества ссылок по более чем 100 показателям и ежедневный пересчет показателей качества проекта.
— Все известные форматы ссылок: арендные ссылки, вечные ссылки, публикации (упоминания, мнения, отзывы, статьи, пресс-релизы).
— SeoHammer покажет, где рост или падение, а также запросы, на которые нужно обратить внимание.
SeoHammer еще предоставляет технологию Буст, она ускоряет продвижение в десятки раз,
а первые результаты появляются уже в течение первых 7 дней.
Зарегистрироваться и Начать продвижение
Общая весовая нагрузка составляет G = 649,81 т/час. без перспективной нагрузки 564,68т/ч.
Давление в подающем и обратном трубопроводах тепловой сети в ЦТК соответственно равны Р=8,2 Кг/см Р=3,5 Кг/см.
В качестве теплоносителя принята перегретая вода с параметрами 125-70 С Подсоединение систем теплопотребления абонентов квартальной котельной и частично котельной №22 элеваторное.
Для абонентов котельных №22, №28, №3 предусмотрено независимое подсоединение через бойлерную установку, расположенную в помещении котельной №3
На расчетной схеме указаны диаметры, длины и расходы теплоносителя. На основании гидравлического расчета составлен пьезометрический график в двух вариантах, с учетом перспективной нагрузки и без перспективной нагрузки.
Располагаемый напор перед бойлерной при максимальной нагрузке равен 8,0 м. вод. ст.
Располагаемый напор перед бойлерной без учета перспективного подключения равен 28,0м.вод.ст.
Общие потери давления от ЦТК до бойлерной по первому варианту равны 39,0м.вод.ст., по второму варианту 17,0м.вод.ст.
К проекту прилагается:
Таблица нагрузок;
Гидравлический расчет (2 варианта);
Расчетная схема;
Пьезометрический график.
Инженер режимной группы Н.П. Комиссарова
ПОЯСНИТЕЛЬНАЯ ЗАПИСКА
К проекту теплоснабжения абонентов от бойлерной котельной №3
Настоящим проектом предусмотрено подключение абонентов тепловых сетей от котельной №3, №22, №28
Общая тепловая нагрузка которых составляет Q=3,986 Гкал/час Теплоснабжение выше перечисленных абонентов запроектировано от ЦТК 337/03 через бойлерную установку расположенную в котельной №3. Регулировка отпуска тепловой энергии осуществляется по температурному графику 95-70о
С в зависимости от наружной температуры воздуха. Общая весовая нагрузка равна G =160т/час.
Подсоединение систем теплопотребления непосредственное.
Для определения диаметров тепловой сети составлена расчетная схема с указанием расстояний и нагрузок всех участков.
На основании гидравлического расчета тепловой сети построен пьезометрический график и определены необходимые давления теплоносителя, в подающем и обратном трубопроводах .А именно, на выходе из котельной: давление в подающем трубопроводе должно быть в пределах Р1=6кг/см2 давление в обратном трубопроводе должно быть в пределах Р2=3кг/см2
Сервис онлайн-записи на собственном Telegram-боте
Попробуйте сервис онлайн-записи VisitTime на основе вашего собственного Telegram-бота:
— Разгрузит мастера, специалиста или компанию;
— Позволит гибко управлять расписанием и загрузкой;
— Разошлет оповещения о новых услугах или акциях;
— Позволит принять оплату на карту/кошелек/счет;
— Позволит записываться на групповые и персональные посещения;
— Поможет получить от клиента отзывы о визите к вам;
— Включает в себя сервис чаевых.
Для новых пользователей первый месяц бесплатно.
Зарегистрироваться в сервисе
Максимальные потери по тепловой сети составляют 22,25 м.вод.ст., от котельной №3 до дома №3 по ул Руднева
Наиболее удаленный абонент от источника теплоснабжения (бойлерной) дом №33 по ул. Руднева. Растояние от котельной до этого дома равно 1405 метров.
К пояснительной прилагаются:
Расчетная схема
Пьезометрический график
Инженер режимной группы /Комиссарова Н.П./
Содержание
Введение
1. Перевод системы теплоснабжения от котельных № 3,22, 28 и квартальной котельной п. Победа на централизованное теплоснабжение от ТЭЦ-3
1.1 Определение и уточнение тепловых нагрузок
1.2 Графики теплового потребления
1.3 Графики регулирования температуры сетевой воды
1.4 Определение расчетных расходов теплоносителя
1.5 Гидравлический расчет трубопроводов тепловых сетей
1.6 Разработка гидравлических режимов
1.7 Расчет дроссельных устройств
1.8 Расчет и подбор оборудования для реконструируемого участка
2. Проектирование ЦТП (специальный раздел)
2.1 Тепловой и гидравлический расчет пластинчатых водонагревателей
2.2 Подбор насосов
3. Автоматизация теплового и гидравлического режима ЦТП
3.1 Цели и задачи автоматизации
3.2 Принципы работы локальных схем автоматики
3.3 Приборы и средства автоматизаци
4. Организация строительного производства
4.1 Определение объемов земляных работ
4.2 Подбор оборудования для производства строительно-монтажных работ
4.3 Основные решения по производству работ
4.4 Расчет основных технико-экономических показателей
4.5 Контроль качества производства работ
5. Экономика
5.1 Основы ценообразования строительной продукции в условиях рынка
5.2 Локальная смета на реконструкцию квартальной теплотрассы
5.3 Расчет годовых эксплуатационных затрат
5.4 Основные направления по экономии энергоресурсов в системе теплоснабжения
6. Охрана труда и окружающей среды
6.1 Техника безопасности
6.2 Производственная санитария
6.3 Пожарная безопасность
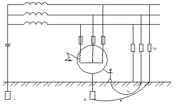
6.4 Контроль защитного заземления
6.5 Расчет прочности грузозахватных устройств
Список использованных источников
Приложение А – Расчетные тепловые потоки и расходы теплоносителя
Приложение Б – Графики регулирования температуры сетевой воды
Приложение В – Гидравлический расчет теплосети
Введение
При теплоснабжении пос. Победа г. Хабаровска от котельных №3,22,28, квартальной котельной по улице Ясная в отопительный период 1999-2000 выявлено множество проблем, связанных с тепловым и гидравлическим режимом системы.
Анализ работы системы теплоснабжения от котельной №3 показал: увеличение расхода теплоносителя в два раза по отношению к расчетному; увеличение подпитки - в полтора раза; отсутствие значимых перепадов давления на концевых участках трассы; перепад температур между подающим о обратным трубопроводом при этом составил не более 5°С.
На данный момент к котельной №3 подключены 16 абонентов с переменной этажностью – от 2-х до 9-и. Котельная оборудована котлами типа «Универсал 6». В качестве топлива используется уголь Райчихинского месторождения. Подпитка котельной осуществляется от холодного водопровода. Химобработка воды отсутствует. Котельная работает в температурном графике 95-70 °С. Общая тепловая нагрузка на отопление составляет 2,7101 Гкал/час. ГВС отсутствует. Схема подключения абонентов безэлеваторная, через ограничительную диафрагму.
Учитывая неудовлетворительную работу данной системы теплоснабжения Хабаровскими тепловыми сетями (ХТС) решено переподключить абонентов котельных №3,22,28, квартальной котельной по улице Ясная к врезке тепловой сети от ЦТК 337/03. Общая тепловая нагрузка которых составляет 35,52 Гкал/час с учетом перспективного подключения равного 4,91 Гкал/час. Общая весовая нагрузка составляет при этом 645,9 т/час, без перспективной нагрузки 558 т/час. Давление в подающем и обратном трубопроводе ЦТК соответственно равны Р1
=82м и Р2
=35 м. Расчетные параметры теплоносителя – воды 125-70 °С. Присоединение систем теплопотребления абонентов квартальной котельной и частично котельной №22 элеваторное.
Для абонентов котельных №3,22,28 предусмотрено независимое подключение через бойлерную установку, установленную в помещении котельной №3.
При анализе проекта теплоснабжения абонентов от бойлерной котельной №3, выявлены неточности в гидравлических расчетах. Поэтому необходимо провести уточненные гидравлические расчеты, выбрать схемы подключения систем отопления и горячего водоснабжения в ЦТП, рассчитать и подобрать оборудование ЦТП, произвести расчет дроссельных устройств для вводов абонентов котельных №3,22,28.
1. Перевод системы теплоснабжения от котельных № 3,22, 28 и квартальной котельной п. Победа на централизованное теплоснабжение от ТЭЦ-3
1.1 Сбор и уточнение тепловых нагрузок
Расчетные расходы тепла на отопление, вентиляцию и горячее водоснабжение для абонентов квартальной котельной, расположенной по улице Ясной, котельных №22, №28, №3 Краснофлотского района, подключаемых к врезке тепловой сети идущей от ЦТК 337/03 – приняты по данным Хабаровских тепловых сетей и представлены в таблице А.1 приложения А. Суммарная нагрузка на отопление Qо
=27,21 Гкал/ч (31,7 МВт), на вентиляцию Qv
=0,172 Гкал/ч (0,2 МВт), горячее водоснабжение (максимальная) Qhmax
=8,351 Гкал/ч (9,72 МВт). Общая нагрузка составила Q=35,739 Гкал/ч (41,6 МВт).
Расчетные расходы тепла на отопление, вентиляцию и горячее водоснабжение для абонентов котельных №22, №28, №3 подключаемых к бойлерной установке, расположенной в котельной №3 Краснофлотского района приняты по данным Хабаровских тепловых сетей и представлены в таблице А.2 приложения А. Суммарная нагрузка на отопление Qо
=5,90 Гкал/ч (6,86 МВт), на вентиляцию Qv
=0 Гкал/ч (0 МВт), горячее водоснабжение (максимальная) Qhmax
=1,4 Гкал/ч (1,64 МВт). Общая нагрузка составила Q=7,306 Гкал/ч (8,5 МВт).
1.2 Графики теплового потребления
Графики теплового потребления необходимы для решения ряда вопросов централизованного теплоснабжения: выбора оборудования источника тепла, выбора режима загрузки и ремонта этого оборудования и т.д. [4].
Сезонные графики расхода тепла на отопление, вентиляцию и горячее водоснабжение представляют собой графическую зависимость часовых расходов тепла от температуры наружного воздуха. Для систем отопления и вентиляции такая зависимость является линейной и может быть показана в виде прямых наклонных линий. Расход тепла на горячее водоснабжение не зависит от температуры наружного воздуха и считается постоянным.
1.2.1 Построение годового графика по суткам
Расход тепла при любой текущей температуре наружного воздуха на отопление определяется по формуле [1]:
(1.1)
где tв
– температура внутреннего воздуха, °С;
tн
– текущая температура наружного воздуха, °С;
tо
– расчетная температура наружного воздуха, °С.
Расход тепла на вентиляцию определяется по формуле [1]:
(1.2)
Расход тепла на горячее водоснабжение определяется по формуле [1]:
(1.3)
где b - коэффициент изменения расхода воды в летнее время.
Результаты расчетов по формулам (1.1-1.3) сведены в таблицу 1.1.
Таблица 1.1 – Данные для построения сезонных графиков расхода тепла в зависимости от температуры наружного воздуха
| tн
|
+18 |
+8 |
-24 |
-31 |
| Qо
, Гкал/час |
0 |
5,510 |
23,143 |
27,000 |
| Qv
, Гкал/час |
0 |
0,035 |
0,147 |
0,172 |
| Qhmd
, Гкал/час |
2,23 |
3,48 |
3,48 |
3,48 |
| Qå
, Гкал/час |
2,23 |
9,025 |
26,77 |
30,652 |
Построенный график приведен на Рис. 1.1.
Для построения графика теплового потребления в зависимости от продолжительности стояния наружных температур составлена таблица 1.2 [3].
Таблица 1.2 – Данные для построения сезонных графиков расхода тепла в зависимости от продолжительности стояния температур
| Интервал температур, ° С |
- 50 и ниже |
- 50
¸
- 45
|
- 45
¸
- 40
|
- 40
¸
- 35
|
- 35
¸
- 30
|
- 30
¸
- 25
|
- 25
¸
- 20
|
| Часы стояния |
- |
- |
- |
2 |
47 |
275 |
630 |
| Интервал температур, ° С |
- 20
¸
- 15
|
- 15
¸
- 10
|
- 10
¸
- 5
|
- 5
¸
0
|
0
¸
5
|
5
¸
8
|
Всего часов |
| Часы стояния |
800 |
666 |
596 |
561 |
583 |
760 |
4920 |
Построенный график представлен на рис. 1.2.
1.2.2 Построение годового графика по месяцам
Для построения годового графика потребления тела по месяцам необходимы среднемесячные температуры наружного воздуха [2]. Температуры приведены в таблице 1.3.
Таблица 1.3 – Среднемесячные температуры наружного воздуха
| Месяц |
tн,ср
, °С |
Месяц |
tн,ср
, °С |
Месяц |
tн,ср
, °С |
| Январь |
-22,3 |
Май |
11,1 |
Сентябрь |
13,9 |
| Февраль |
-17,2 |
Июнь |
17,4 |
Октябрь |
4,7 |
| Март |
-8,5 |
Июль |
21,1 |
Ноябрь |
-8,1 |
| Апрель |
3,1 |
Август |
20,0 |
Декабрь |
-18,5 |
Расчет среднемесячного теплопотребления произведен по формулам (1.1-1.3) и сведен в таблицу 1.4.
Таблица 1.4 – Данные для построения графика теплового потребления по месяцам
| Месяц |
Qо
|
Qv
|
Qо
+ Qv
|
Qhmd
|
Qå
|
| Январь |
22,206 |
0,141 |
22,348 |
3,48 |
25,828 |
| Февраль |
19,396 |
0,124 |
19,519 |
3,48 |
22,999 |
| Март |
14,602 |
0,093 |
14,695 |
3,48 |
18,175 |
| Апрель |
8,210 |
0,052 |
8,263 |
3,48 |
11,743 |
| Май |
0 |
0 |
0 |
2,23 |
2,23 |
| Июнь |
0 |
0 |
0 |
2,23 |
2,23 |
| Июль |
0 |
0 |
0 |
2,23 |
2,23 |
| Август |
0 |
0 |
0 |
2,23 |
2,23 |
| Сентябрь |
0 |
0 |
0 |
2,23 |
2,23 |
| Октябрь |
7,329 |
0,047 |
7,375 |
3,48 |
10,855 |
| Ноябрь |
14,382 |
0,092 |
14,473 |
3,48 |
17,953 |
| Декабрь |
20,112 |
0,128 |
20,240 |
3,48 |
23,720 |

Рис 1.1 - График теплопотребления в зависимости от температуры наружного воздуха

Рис 1.2 - График теплопотребления в зависимости от продолжительности стояния температур наружного воздуха

Рис. 1.3 – График теплового потребления по месяцам
1.3 Графики регулирования температуры сетевой воды
Центральным называется регулирование отпуска теплоты от теплоисточника в его тепловые сети. Центральным регулированием определяется график изменения температур, а иногда и расходов воды в подающих трубопроводах тепловых сетей [6].
В данном дипломном проекте способом регулирования отпуска теплоты является качественное регулирование путем изменения температуры воды в подающих трубопроводах системы при ее постоянном расходе (температура сетевой воды меняется в зависимости от температуры наружного воздуха ).
При таком способе регулирования максимальные (расчетные) температуры воды в трубопроводах системы отопления достигаются при расчетной температуре наружного воздуха . При понижении снижается температура воды в подающем трубопроводе [6].
Качественное регулирование обеспечивает устойчивость гидравлических режимов отдельных нагревательных приборов системы при переменных тепловых нагрузках.
При присоединении к двухтрубным магистральным сетям систем отопления и горячего водоснабжения сохранение в них центрального качественного регулирования в течении всего отопительного периода оказывается невозможным, поскольку температуры воды в подающих трубопроводах таких сетей должны поддерживаться не ниже необходимых для обеспечения заданных температур воды перед водоразборными приборами (не менее 65¸75 °С).
Для соблюдения теплового баланса среднесуточные температуры воды в подающем трубопроводе сети должны приниматься большими, чем по отопительному графику. Величина этого превышения определяется температурой воды в обратном трубопроводе системы отопления и следующим коэффициентом:
(1.4)

При данном значении коэффициента принимается центральное качественное регулирование по нагрузке отопления.
При таком способе регулирования, для зависимых схем присоединения элеваторных систем отопления температуру воды в подающей t1,0
и обратной t2,0
магистралях, а также после элеватора t3,0
в течении отопительного периода определяют по следующим выражениям:
t1,0
= ti
+ Dt [( ti
- tн
)/ (ti
- to
)]0.8
+ (Dt - 0.5q )( ti
- tн
) /( ti
- to
) (1.5)
t2,0
= ti
+ Dt [( ti
- tн
) / (ti
- to
)]0.8
- 0.5q ( ti
- tн
)/(ti
- to
) (1.6)
t3.0
= ti
+ Dt [( ti
- tн
)/ (ti
- to
)]0.8
+ 0.5q ( ti
- tн
)/(ti
- to
) (1.7)
где ti
- расчетная температура внутреннего воздуха, принимаемая для жилых районов 18 °С
tн
- температура наружного воздуха, °С
Dt - расчетный температурный напор нагревательного прибора, °С , определяемый по формуле
( 1.8)
где t3
и t2
температуры воды соответственно после элеватора и в обратной магистрали тепловой сети при to
; для жилых районов, как правило, t3
= 95 °С ; t2
= 70 °С. ; t - расчетный перепад температур сетевой воды в тепловой сети t =t1
-t2
; q - расчетный перепад температур сетевой воды в местной системе отопления
q=t3
-t2
(1.9)
Задаваясь различными значениям и температур наружного воздуха tн
( обычно tн
= +8; 0; - 10; tv
; to
), определяют t1,0
; t2,0
; t3,0
и строят отопительный график температур воды (Приложение Б). Для удовлетворения нагрузки горячего водоснабжения температура воды в подающей магистрали t1,0
не может быть ниже 60 °С в открытых системах теплоснабжения, и 70 °С в закрытых системах теплоснабжения. Для этого отопительный график спрямляется на уровне указанных температур и становится отопительно-бытовым.
Температура наружного воздуха, соответствующая точке излома графиков температур воды - tн
', делит отопительный период на два диапазона с различными режимами регулирования:
в диапазоне I с интервалом температур наружного воздуха от +8 °С до tн
' осуществляется групповое или местное регулирование, задачей которого является недопущение " перегрева " систем отопления и бесполезных потерь теплоты;
в диапазонах II и III с интервалом температур наружного воздуха от tн
' до to
осуществляется центральное качественное регулирование.
1.4 Определение расчетных расходов теплоносителя
Расчетный расход сетевой воды для определения диаметров труб в водяных тепловых сетях при качественном регулировании отпуска теплоты следует определять отдельно для отопления, вентиляции и горячего водоснабжения по формулам:
а) на отопление
, (1.10)
б) на вентиляцию
, (1.11)
в) на горячее водоснабжение в открытых системах теплоснабжения:
средний
, (1.12)
Максимальный
, (1.13)
г) на горячее водоснабжение в закрытых системах теплоснабжения:
средний, при двухступенчатых схемах присоединения водоподогревателей
, (1.14)
максимальный, при двухступенчатых схемах присоединения водоподогревателей
, (1.15)
Суммарные расчетные расходы сетевой воды, кг/ч, в двухтрубных тепловых сетях в открытых и закрытых системах теплоснабжения при качественном регулировании отпуска теплоты следует определять по формуле
(1.16)
Коэффициент K3
, учитывающий долю среднего расхода воды на горячее водоснабжение при регулировании по нагрузке отопления, принят в размере 1,2 для закрытой системы теплоснабжения с общей нагрузкой менее 100 МВт.
Результаты расчетов по формулам (1.10-1.18) приведены в приложении В.
1.5 Гидравлический расчет трубопроводов тепловых сетей
Основной задачей гидравлического расчета является определение диаметров трубопроводов, а также потерь давления на участках тепловых сетей. По результатам гидравлических расчетов разрабатывают гидравлические режимы систем теплоснабжения, подбирают сетевые и подпиточные насосы, авторегуляторы, дроссельные устройства, оборудование тепловых пунктов.
При движении теплоносителя по трубам полные потери давления DР складываются из потерь давления на трение DРл
и потерь давления в местных сопротивлениях DРм
:
DР = DРл
+ DРм
(1.19)
Потери давления на трение DРл
определяют по формуле:
DРл
= R * L (1.20)
где R - удельные потери давления, Па / м2, определяемые по формуле:
(1.21)
где l - коэффициент гидравлического трения; d - внутренний диаметр трубопровода, м; r - плотность теплоносителя, кг / м3
; w - скорость движения теплоносителя, м/c; L - длина трубопровода, м.
Потери давления в местных сопротивлениях DРм
определяют по формуле:
(1.22)
где åx - сумма коэффициентов местных сопротивлений.
Потери давления в местных сопротивлениях могут быть также определены по следующей формуле:
DРм
= R Lэ
(1.23)
где Lэ
- эквивалентная длина местных сопротивлений, которую определяют по формуле.
 (1.24)
Для проведения гидравлического расчета составлена расчетная схема (Рис1.5)
Гидравлический расчет выполнен по таблицам [6] и приводится в приложении В.
Потери давления теплосети от ЦТК 337/03 до квартальной котельной, расположенной по улице Ясной составили 44,14 м в. ст. (при располагаемом напоре на врезке 47 м в. ст.). Общая протяженность теплосети составила 2723 м. Располагаемое давление перед квартальной котельной составило 2,86 м. в. ст.
Потери давления теплосети от квартальной котельной до Руднева 33 составили 23,42 м в. ст. (при располагаемом напоре 30 м. в. ст.). Общая протяженность теплосети составила 1397 м. Располагаемое давление у последнего потребителя составило 6,58 м в. ст.
Потери давления на реконструируемом участке теплосети (Руднева 33-45) при замене диаметров трубопроводов на dу
=150 мм составили 2,35 м. в. ст.
1.6 Разработка гидравлических режимов
Для изучения режима давлений в тепловых сетях и местных системах зданий широко используются пьезометрические графики.
При подключении к существующей тепловой сети исходными данными для построения пьезометрических графиков являются:
перепад давлений в точке подключения;
потери напора в рассматриваемом участке (по данным гидравлического расчета);
профиль теплосети, с указанием отметок трассы.
Для пьезометра теплосети от врезки ЦТК 337/03 до котельной №3 (пьезометр №1):
Р1
= 82 м, Р2
= 35 м, общие потери напора по данным гидравлического расчета DР= 44,14 м.
Для пьезометра теплосети от котельной №3 до Руднева33 (пьезометр №2):
Р1
= 60 м, Р2
= 30 м, общие потери напора по данным гидравлического расчета DР= 23,42 м на существующее положение и DР= 17,65 м при реконструкции концевых участков.
Последовательность построения:
Наносится продольный профиль теплотрассы с соответствующим горизонтальным и вертикальным масштабом (пьезометр №1 – Мг
1:5000, Мв
1:500; пьезометр №2 – Мг
1:2000, Мв
1:500).
Проставляются абсолютные отметки трассы
Наносятся перепады давлений в точках подключения
По данным гидравлического расчета наносятся линии потерь давления в обратном и подающем трубопроводах
Наносится линия статического давления (давление при статическом режиме не должно превышать 60 м - для систем с чугунными отопительными приборами; должно превышать самого высокого потребителя на 5 м – из условий заполнения системы; должно быть в высшей точке трассы не менее 15 м - из условий невскипания воды в подающем трубопроводе)
Для пьезометра №1 статическое давление в абсолютной отметке Рs
= 120 м, для пьезометра №2 Рs
= 100 м.
При анализе построенных пьезометрических графиков обнаружено, что располагаемый напор в конце трассы (пьезометр №1) составляет 2,86 м. Такой напор явно недостаточен для нормальной работы ЦТП в котельной №3. Решения по гидравлическому режиму ЦТП рассмотрены отдельно во второй главе дипломного проекта.
При анализе пьезометра №2, для увеличения гидравлической устойчивости было решено увеличить располагаемый напор на концевых участках трассы путем увеличения диаметров трубопроводов до dу
=150 мм (реконструкция по Руднева 45-33). Проведен повторный гидравлический расчет с учетом замены трубопроводов. Результаты расчета представлены на пьезометре №2 (синим цветом). Располагаемый напор у последнего потребителя составил 12,35 м.
1.7 Расчет дроссельных устройств
При присоединении потребителей к тепловой сети по зависимой безэлеваторной схеме необходимо рассчитать диаметры дроссельных диафрагм, гасящих остаточное давление.
Диаметр отверстий дроссельных диафрагм, d, мм, определяется по формуле [18]:
(1.25)
где G – расход сетевой воды, т/ч;
H – напор, гасимый дроссельной диафрагмой, м
Расчет по формуле (1.25) сведен в таблицу 1.5.
Таблица 1.5 – Расчет дроссельных диафрагм
| Абонент |
Расход сетевой воды (параметры 95-70С), т/ч |
Располагаемый напор, м |
Напор, гасимый диафрагмой, м |
Диаметр отверстия диафрагмы, мм |
| Кирова 9 |
2,89 |
28,5 |
26,5 |
7,4 |
| Кирова 11 |
4,05 |
27,8 |
25,8 |
8,8 |
| Кирова 13 |
3,87 |
26,9 |
24,9 |
8,6 |
| Кирова 17 |
1,2 |
25,5 |
23,5 |
4,9 |
| Кирова 21 |
3,96 |
24 |
22 |
9,0 |
| Федеративная 3 |
2,52 |
24,9 |
22,9 |
7,1 |
| Руднева 53 |
3,24 |
19,5 |
17,5 |
8,6 |
| Руднева 51 |
2,88 |
18,5 |
16,5 |
8,2 |
| Руднева 49 |
2,96 |
17,3 |
15,3 |
8,4 |
| Руднева 47 |
4,42 |
16,5 |
14,5 |
10,4 |
| Руднева 45 |
7,91 |
14,7 |
12,7 |
14,4 |
| Руднева 43 |
3,04 |
13,7 |
11,7 |
9,1 |
| Руднева 41 |
3,4 |
13,34 |
11,34 |
9,6 |
| Руднева 39 |
3,28 |
12,99 |
10,99 |
9,5 |
| Руднева 37 |
7,32 |
12,58 |
10,58 |
14,4 |
| Руднева 35 |
9,06 |
12,39 |
10,39 |
16,0 |
| Руднева 33 |
4,55 |
12,35 |
10,35 |
11,4 |
Полученные диаметры диафрагм удовлетворяют требованиям [18] (не менее 3 мм).
1.8 Расчет и подбор оборудования для реконструируемого участка
1.8.1 Расчет толщины тепловой изоляции
Тепловой расчет проводится с целью определения толщины тепловой изоляции при данном виде прокладки и известном коэффициенте теплопроводности материала по нормируемой плотности теплового потока.
Расчет произведен по методике, приведенной [8]:
1) Суммарное термическое сопротивление слоя изоляции и других дополнительных термических сопротивлений на пути теплового потока, для подающего и обратного трубопровода:
(1.26)
где qe
- нормированная линейная плотность теплового потока, Вт/м, принимаемая по приложениям 4-8 [8];
tw
- средняя за период эксплуатации температура теплоносителя, которая при расчетных параметрах теплоносителя 95-70 и круглогодовом режиме работы тепловых сетей может быть принята для подающего трубопровода 70°С, для обратного - 50°С;
te
- среднегодовая температура окружающей среды; при подземной прокладке - среднегодовая температура грунта, + 2°С;
К1
- коэффициент географического положения (для Дальнего Востока 0,8).


2) Термическое сопротивление поверхности изоляционного слоя, м2о
С/Вт, определяемое по формуле:
(1.27)
где aе
- коэффициент теплоотдачи с поверхности тепловой изоляции в окружающий воздух, Вт/(м2
°С); согласно прил. 9 [8] при прокладке в каналах aе
= 8 Вт/(м2
°С);
d - наружный диаметр трубопровода, м;

3) термическое сопротивление поверхности канала определяемое по формуле:
(1.28)
где aе
- коэффициент теплоотдачи от воздуха к внутренней поверхности канала; aе = 8 Вт / ( м2о
С );
dВЭ
- внутренний эквивалентный диаметр канала, м, определяемый по формуле:
(1.29)
где F - внутреннее сечение канала, м2
;
P - периметр сторон по внутренним размерам, м;


4) термическое сопротивление стенки канала определяется по формуле:

lст
– теплопроводность стенки канала, для железобетона lст
= 2.04 Вт/(м2о
С);
dНЭ
- наружный эквивалентный диаметр канала, определяемый по наружным размерам канала, м:


5) термическое сопротивление грунта:

где h - глубина заложения оси трубопроводов, м;
lгр
– теплопроводность грунта, принято lгр
=2 Вт/(м о
С);

6) термическое сопротивление слоя изоляции, для подающего и обратного трубопровода:


7) толщина тепловой изоляции:

где lи
- теплопроводность теплоизоляционного слоя, определяемая по [8], Вт/(м°С), маты из стеклянного штапельного волокна ГОСТ 10499-78 - l1
=0,061 Вт/м°С, l2
=0,055 Вт/м°С;


В соответствии с приложением 11 [8], по рассчитанным и принимаем: для подающего трубопровода – 80 мм, для обратного – 80 мм.
1.8.2 Расчет П-образного компенсатора
Компенсаторы должны иметь достаточную компенсирующую способность Dlк
для восприятия температурного удлинения участка трубопровода между неподвижными опорами, при этом максимальные напряжения в радиальных компенсаторах не должны превышать допускаемых (110 МПа). Необходимо также определить реакцию компенсатора, используемую при расчетах нагрузок на неподвижные опоры. Тепловое удлинение расчетного участка трубопровода DL, мм, определяют по формуле
DL = aDt L (1.30)
где a - средний коэффициент линейного расширения стали, мм/(мо
С) для типовых расчетов можно принять a = 1.2 10 - 2
мм/(мо
С);
Dt - расчетный перепад температур, определяемый по формуле:
Dt =t1
- to
(1.31)
где t1
- расчетная температура теплоносителя, о
С;
tо
- расчетная температура наружного воздуха для проектирования отопления, о
С;
L - расстояние между неподвижными опорами, м.
Dt = 95-(-31)=126 о
С
Для расчетного участка теплосети (компенсатор К5):
L=26,8+27=53,6 м
DL=1,2*10 –2
*126 * 53,6=81,7 мм
Из справочных данных [8] подбираем П-образный компенсатор с гнутыми отводами. Вылет компенсатора 2,0 м, компенсирующая способность 160 мм (с учетом предварительной монтажной растяжки компенсаторов на 50% расчетного температурного удлинения). Осевая сила при этом составляет 0,6*8,17=4,9 кН.
Схема компенсатора приведена на Рис.1. .

Рис. 1. – Схема П-образного компенсатора
1.8.3 Расчет самокомпенсации
При расчете самокомпенсации основной задачей является определение максимального напряжения у основания короткого плеча угла поворота трассы и определение упругого отпора.
Максимальное напряжение определяют для углов поворотов 90о
по формуле:
(1.32)
где DL - удлинение короткого плеча, м;
L - длина короткого плеча, м;
Е - модуль продольной упругости, равный в среднем для стали 2*105
МПа;
d - наружный диаметр трубы, м;
n = L1
/L - отношение длины длинного плеча к короткому.
При расчетах углов на самокомпенсацию величина максимального напряжения не должна превышать [s] = 80 МПа.
DL=1,2*10 –2
*126 * 7=10,7 мм
n=19,5/7=2,8

Что ниже 80 Мпа. Для расчета упругого отпора необходимо определить удлинение длинного плеча:
DL=1,2*10 –2
*126 * 20=30,5 мм
Координаты упругого центра:


Приведенная длина оси:

Радиус гнутья (для сварного отвода):

где rср
– радиус поперечного сечения трубы (по середине толщины стенки);
a =15° для сварных отводов, составленных из двух секторов, a =11° для отводов из трех и четырех секторов.
Параметры

где s - толщина стенки трубы, м.
Для трубы диаметром 0,159х4.5:











Результаты работы программы:
ПОДБОР Г-ОБРАЗНОГО КОМПЕНСАТОРА
Результаты расчета
Сила упругой деформации по оси Х Px
=1287.88 H
Сила упругой деформации по оси У Pу
=220.42 H
Изгибающее продольное компенсационное напряжение в точке жесткого крепления меньшего плеча б(a)= 45.53 МПа Изгибающее продольное компенсационное напряжение в точке жесткого крепления большего плеча б(b)= 11.77 МПа Изгибающее продольное компенсационное напряжение в точке изгиба б(c)= 20.53 Мпа. За расчетные приняты результаты работы программы Px
=1287.88 H
1.8.4 Расчет усилий на подвижные опоры
Вертикальную нормативную нагрузку на подвижную опору Fv
, Н, следует согласно [1] определять по формуле
Fv
= Gh
L (1.33)
где Gh
- вес одного метра трубопровода в рабочем состоянии включающий вес трубы, теплоизоляционной конструкции и воды, Н/м;
L - пролет между подвижными опорами, м.
Величина Gh
по справочным данным для трубы диаметром 159 мм составляет 513 Н/м. Величина L по требования [1] не должна превышать 5 м.
Соответственно вертикальная нагрузка на опору составит:
Fv
= 513*5=2565 H
1.8.5 Расчет усилий на неподвижные опоры
При определении нормативной горизонтальной нагрузки на неподвижную опору следует учитывать: неуравновешенные силы внутреннего давления при применении сальниковых компенсаторов, на участках имеющих запорную арматуру, переходы, углы поворота, заглушки; следует также учитывать силы трения в подвижных опорах и о грунт для бесканальных прокладок, а также реакции компенсаторов и самокомпенсации. Горизонтальную осевую нагрузку на неподвижную опору следует определять:
на концевую опору - как сумму сил действующих на опору;
на промежуточную опору - как разность сумм сил действующих с каждой стороны опоры.
Неподвижные опоры должны рассчитываться на наибольшую горизонтальную нагрузку при различных режимах работы трубопроводов (охлаждение, нагрев) в том числе при открытых и закрытых задвижках.
Схема прилегающих участков к рассчитываемой неподвижной опоре Н6 изображена на рисунке 1. .

Рис. 1. – Схема для определения горизонтальных усилий на неподвижную опору
Формулы для определения осевого усилия на неподвижную опору (В) [6]:
при нагреве

при охлаждении

где p – давление теплоносителя, Па;
D – диаметр трубопровода, м
Рк
– сила упругого отпора П-образного компенсатора, Н;
Рх
– сила упругого отпора Г-образного компенсатора, Н;
q – весовая нагрузка на 1 м длины трубопровода, Н/м (515 Н/м);
m - коэффициент трения скользящих опор (m=0.3).
Расстояния l1
, l2
, l3
по схеме соответственно равны 26,8; 20 и 7 м.
при нагреве

при охлаждении

За расчетное усилие принято большее значение Р=7464 Н.
Для двух трубопроводов соответственно 14,9 кН.
1.8.6 Определение диаметров спускников
Определение диаметров спускных устройств производится с целью обеспечения слива воды из трубопровода теплосети за определенный период времени. Диаметр штуцера и запорной арматуры d, м, для спуска воды из секционируемого участка трубопровода определяют по формуле [1]:
(1.34)
где d red
, ål, i red
- соответственно приведенный диаметр, м; общая длина, м; приведенный уклон секционируемого участка трубопровода определяемые по следующим формулам:
d red
= ( d1
l1
+ d2
l2
+ ... + dn
ln
) / å l (1.35)
i red
= ( i1
l1
+ i2
l2
+ ... + in
ln
) / å l (1.36)
где l1
, l2
, ... , ln
- длины отдельных участков трубопровода, м, с диаметра
ми d1
, d2
, ..., dn
,м, при уклонах i1
, i2
, ..., i3
;
m - коэффициент расхода арматуры, принимаемый для вентилей
m = 0.0144, для задвижек m = 0.011;
n - коэффициент, зависящий от времени спуска воды t
при t = 2 ч (для труб диаметром 150 мм) n = 0.72
d red
= 0,159 м (т.к. диаметр не меняется);
Для расчета выбран участок теплосети (см. профиль трассы в графической части) с установкой спускника в камере УТ2.
Уклон прилегающих участков определяется по формуле:


В соответствии с требованием [1] принимаем диаметр спускника 50 мм.
Диаметр воздушников по требованиям [1] составил 20 мм.
2. Проектирование ЦТП (специальный раздел)
При расчете и подборе оборудования ЦТП необходимо учитывать тепловой и гидравлический режим присоединяемых систем. Нами рассмотрено два варианта подключения нагрузки отопления и горячего водоснабжения абонентов котельных №3,22,28 к теплосети от врезки в ЦТК 337/03:
закрытая, с зависимым подключением нагрузки отопления (Рис.2.1)
закрытая, с независимым подключением нагрузки отопления (Рис.2.2)
Учитывая меньшие капитальные и эксплуатационные затраты к рассмотрению принята первая схема. Приготовление воды для нужд горячего водоснабжения осуществляется при этом в двухступенчатом теплообменнике. Приготовление теплоносителя для системы отопления производится с помощью смесительного клапана 14 и подмешивающего насоса 8. Снижение давления теплоносителя до допустимого в местных системах производится клапаном 4.
Для прокачки теплоносителя через теплообменники горячего водоснабжения и систему отопления необходимо установить циркуляционный насос на обратной линии. Ниже приведен расчет и подбор оборудования ЦТП.

Рис.2.1 – Двухступенчатая схема подогревателей ГВС с зависимым подключением системы отопления

Рис. 2.2 - Двухступенчатая схема подогревателей ГВС с независимым подключением системы отопления
Таблица 2.1 – Обозначение к Рис.2.1,Рис.2.2

2.1 Тепловой и гидравлический расчет пластинчатых водонагревателей
Схема подключения водонагревателей горячего водоснабжения в закрытых системах теплоснабжения выбирается в зависимости от соотношения максимального теплового потока на горячее водоснабжение и максимального теплового потока на отопление

При таком соотношении применяют двухступенчатую схему присоединения водонагревателей горячего водоснабжения.
Расчет пластинчатых водонагревателей горячего водоснабжения произведен по методике, приведенной в [18].
Порядок расчета:
1) Максимальный расход сетевой воды на отопление:

2) Максимальный расход греющей воды на горячее водоснабжение:

3) Для ограничения максимального расхода сетевой воды на ЦТП в качестве расчетного принимается больший из двух расходов, полученных по пп 1,2:

4) Максимальный расход нагреваемой воды через І и II ступени водоподогревателя:

5) Температура нагреваемой воды за водоподогревателем І ступени:

6) Расчетная производительность водоподогревателя І ступени:

7) Расчетная производительность водоподогревателя II ступени:

8) Температура греющей воды на выходе из водоподогревателя II ступени tІІ
2
и на входе в водоподогреватель І ступени tІ
1
:

9) Температура греющей воды на выходе из водоподогревателя І ступени:

10) Среднелогарифмическая разность температур между греющей и нагреваемой водой для І ступени водоподогревателя:

11) Среднелогарифмическая
разность температур между греющей и нагреваемой водой для II ступени водоподогревателя:

12) По оптимальной скорости нагреваемой в
оды определяем требуемое число каналов:

13) Общее жив
ое сечение каналов в пакете определяем по формуле (mH
принимаем равным 8):

14) фактические скорости греющей и нагрев
аемой воды:


15) Расчет водоподогревателя І ступени:
а) средняя температура греющей воды

б) средняя температура нагреваемой воды

в) коэффициент теплоотдачи от греющей воды к стенке пластины:


г) коэффициент тепловосприятия от стенки пластины к нагреваемой воде:


д) коэффициент теплопередачи, принимая j =
0,8:

е) требуемая поверхность нагрева водоподогревателя І ступени:

ж) количество ходов (или пакетов при разделении на одноходовые теплообменники
):

Принимаем два хода
з)
действительная поверхность нагрева водоподогревателя І ступени:

и) потери давления І ступени водоподогревателя по греющей воде, приним
ая j =
1 и Б =
3:

по нагрваемой воде:

16) Расчет водоподогревателя IІ ступени:
а) средняя температура греющей воды

б) средняя температура нагреваемой воды

в) коэффициент теплоотдачи от греющей воды к стенке пластины:


г) коэффициент тепловосприятия от стенки пластины к нагреваемой воде:


д) коэффициент теплопередачи, принимая j = 0,8:

е) требуемая поверхность нагрева водоподогревателя ІI ступени:

ж) количество ходов (или пакетов при разделении на одноходовые теплообменники):

Принимаем два хода
з) действительная поверхность нагрева водоподогревателя IІ ступени:

и) потери давления ІI ступени водоподогревателя по греющей воде, принимая j = 1 и Б = 3:

по нагрваемой воде j = 1,5 и Б = 3:

Обозначения теплообменников I и II ступени:
, 
2.2 Подбор насосов
Для обеспечения гидравлического режима в соответствии с пьезометрическим графиком тепловой сети необходимо подобрать подкачивающие (повысительные), циркуляционные и смесительные насосы.
При выборе подкачивающих насосов устанавливаемых на обратном трубопроводе в соответствии с пунктом 3.5 [18], следует принимать:
подачу насоса – по расчетному расходу воды на вводе в тепловой пункт,
напор – в зависимости от расчетного давления в тепловой сети и требуемого давления в присоединяемых системах потребления теплоты.
По расходу G=150 м3
/час и требуемому напору H=55 м выбран насос марки К45/55 в количестве четырех штук (один резервный).
При выборе смесительных насосов для системы отопления, устанавливаемых в соответствии с пунктом 3.4 5 [18] на перемычке между подающим и обратным трубопроводом, следует принимать:
напор – на 2-3 метра более потерь в системе отопления;
подачу насоса по формуле:
(2.1)
где Gdo расчетный максимальный расход воды на отопление из тепловой сети, м3
/час;
u – коэффициент смешения (для параметров 125-70 и 95-70 равен 1,2)
По напору 5 м и расходу 132 м3
/час выбран насос марки ЦНШ-80 с частотой вращения 2000 об./мин. в количестве трех (один резервный).
3. Автоматизация теплового и гидравлического режима ЦТП
3.1 Цели и задачи автоматизации
Средства автоматизации (контроль, автоматическое регулирование, защита оборудования, блокировка и сигнализация) теплового и гидравлического режима ЦТП запроектированы в целях:
- безопасной работы;
- сокращения численности обслуживающего персонала;
- экономии теплоты и электроэнергии;
- учета отпущенной тепловой энергии и холодной воды.
Уровень автоматизации технологической схемы выбран в зависимости от технологических требований и экономической целесообразности.
Задачи автоматизации ЦТП:
- местный контроль параметров (температура и давление теплоносителя в подающем и обратном трубопроводе, на перемычке, до и после теплообменных аппаратов);
- регулирование подачи теплоты на отопление и горячее водоснабжение;
- пуск и остановка оборудования;
- регулирование давления;
- учет тепловой энергии и холодной воды;
- блокировка оборудования;
- сигнализация о рабочем состоянии оборудования (рабочая и аварийная);
3.2 Принципы работы локальных схем автоматики
Приборы первого уровня автоматизации работают по общепринятым правилам. При включении и отключении насосного оборудования предусмотрена блокировка работы электродвигателей повысительно-циркуляционных и подмешивающего насосов. Резервные насосы сблокированы с основными насосами по принципу “начало работы резервного оборудования при отключении основного”.
Регулирование температуры в подающем трубопроводе горячего водоснабжения осуществляется с помощью клапана на подающем трубопроводе сетевой воды к теплообменнику второй ступени. При повышении температуры в подающем трубопроводе горячего водоснабжения выше требуемой происходит прикрывание клапана сетевой воды на теплообменник второй ступени. При понижении температуры происходит обратный процесс.
Приготовление теплоносителя для системы отопления производится с помощью трехходового смесительного клапана по графику регулирования в зависимости от температуры наружного воздуха. При повышении температуры на подающем и обратном трубопроводе системы отопления происходит увеличение подмеса воды из обратного трубопровода. При понижении соответствующих температур в подающем трубопроводе системы отопления происходит уменьшение подмеса воды из обратного трубопровода.
Защита системы отопления от повышения давления производится установкой регулирующего клапана, настроенного на поддержание давления в системе отопления не более 6 кг/см2
. Клапан, с регулированием давления «после себя», при увеличении давления сверх установленного, прикрывается, тем самым, понижая давление. При понижении давления происходит открытие клапана, сопротивление клапана уменьшается и за счет этого давление после клапана возрастает.
Аналогичный клапан установлен и на вводе водопровода к теплообменнику горячего водоснабжения.
3.3 Приборы и средства автоматизации
Приборы и средства автоматизации принципиальной схемы ЦТП представлены в таблице 3.1.
Таблица 3.1 – Приборы и средства автоматизации

4. Организация строительного производства
По заданию на дипломное проектирование в разделе организация строительного производства необходимо разработать проект производства работ на реконструкцию участка теплосети участке Руднева 33-45 в составе: календарный план производства работ, графики поступления на объект строительных конструкций и потребности в рабочих кадрах, технологические схемы с описанием последовательности и метода работ.
Монтажная схема и продольный профиль участка теплосети приведен в на листе 5 графической части дипломного проекта.
4.1 Определение объемов земляных работ
При разработке траншей с наклонными стенками для определения объема земляных работ вычисляют площади поперечного сечения на пикетах и используют формулу Мурзо:
(4.1)
где Fср
- средняя площадь поперечного сечения, м2
;
m – крутизна откоса, по [11,17] для суглинка равна 0,5;
h1
, h2
– глубина траншеи в начале и конце участка, берется из продольного профиля сети;
L – длина расчетного участка;
Средняя площадь поперечного сечения Fср
определяется по формуле:
(4.2)
где b – ширина траншеи по низу, принимается в зависимости от размера канала при подземной канальной прокладке;
hср
– полусумма глубин траншеи в начале и конце участка.
Расчеты по (4.1-4.2) сведены в таблицу 4.1.
Таблица 4.1 Ведомость объемов земляных работ
№
уч.
|
Рабочая
отметка
|
Полусумма рабочих отметок

|
Поправка

|
Расчетная площадь поперечного сечения Fср.
, м2
|
Длина участка L, м |
Объем работ, Vр
, м3
|
1
2
3
4
5
6
7
8
9
|
1,30
2,10
1,85
1,81
1,87
1,14
1,30
2,00
1,40
|
1,70
1,97
1,83
1,84
1,50
-
1,65
1,7
|
0
0
0
0
0
-
0
0
|
7,99
9,79
8,84
8,91
6,75
-
7,67
7,99
|
33
40
52
80
69
-
39
22
|
264
392
460
713
465
-
299
176
|
| ИТОГО |
335 |
2769 |
При подсчете объема грунта отвала выброшенного грунта необходимо учитывать, что при разработке грунт разрыхляется и поэтому его объем увеличивается, что характеризуется коэффициентом первоначального разрыхления.
С течением времени грунт постепенно уплотняется и разрыхленность его становится меньше первоначальной, что характеризуется коэффициентом остаточного разрыхления – Ко.р.
Объем грунта, необходимого для засыпки траншеи определяется по формуле:
(4.3)
где Vо.з.
– объем грунта обратной засыпки, м3
;
Vр
– объем траншеи по геометрическим обмерам (расчетный);
Vс
– объем сооружения, м3
;
Ко.р.
– коэффициент остаточного разрыхления.

Объем грунта, подлежащего выгрузке на транспорт:
(4.4)
где Vтр.
– объем отвозимого грунта, м3

Объем работ по подчистке дна траншеи до проектной отметки определятся по формуле:
(4.5)
где Vр.д.
– объем ручной доработки; b – ширина траншеи по дну; m – крутизна откоса выемки; hр.д.
– глубина доработки (принята 0,1м); L – длина траншеи, м.

Определенные объемы земляных работ сведены в таблицу 4.2.
Таблица 4.2 – Баланс земляных масс
| Наименование работ |
Объем грунта, м3
|
| Выемка |
Насыпь |
Транспорт |
| Механизированная разработка грунта в траншее |
2769 |
2087 |
682 |
| Ручная доработка |
103,8 |
| Обратная засыпка |
2087 |
4.2 Подбор оборудования для производства строительно-монтажных работ
В комплект машин для производства земляных работ входят экскаваторы, автосамосвалы и бульдозеры. Этим комплектом машин выполняются работы по отрывке траншеи, отвозе избыточного грунта, засыпке после завершения в ней монтажных работ.
Для разработки траншеи и котлованов наиболее часто используются одноковшовые экскаваторы ёмкостью 0,15 – 1,0 м3
, оборудованные обратной лопатой или драглайном.
При определении требуемых параметров экскаваторов необходимо построить поперечное сечение траншеи в наиболее заглубленном месте (Рис 4.1).

Рис. 4.1 - Схема определения размеров отвала грунта и радиуса выгрузки экскаватора
Требуемый радиус выгрузки экскаватора обуславливается необходимостью устройства отвала грунта определенных размеров. Наиболее предпочтительной схемой движения экскаватора является перемещение экскаватора по оси траншеи.
Поперечное сечение отвала определяется по формуле:
(4.6)
где Fтр
. – поперечного сечения траншеи, м2
; Fс
– площадь поперечного сечения укладываемых коммуникаций, м2
; Кпр.
– коэффициент первоначального разрыхления грунта в долях единицы.

Размеры отвала грунта:
(4.7)
(4.8)
где bотв.
– ширина траншеи по дну, м;
hотв.
– высота отвала, м;
a - угол откоса свежевысыпанного грунта в градусах (45°).
, 
Требуемый радиус выгрузки определяется:
(4.9)
где а – берма траншеи (не менее 0,5м)

Высоту выгрузки принимаем hотв.
+ 0,5м = 3,94 м
Выбираю экскаватор ЭО-33-22А (обратная лопата) с вместимостью ковша 0,4 м3
.
Для монтажа деталей и конструкций систем теплогазоснабжения используют стреловые самоходные краны на автомобильном, пневмоколесном и гусеничном ходу.
На выбор типа крана оказывают влияния грунтовые условия, размеры поперечного сечения траншеи и масса монтируемых элементов. При этом необходимый вылет крюка крана при монтаже сборных элементов тепловых сетей определяется по формуле:
(4.10)
Где dн
– наружный диаметр труб (включая все виды изоляции), м;
Z – расстояние между трубопроводом и наиболее выступающей частью крана, принимается равной 0,8 – 1м

Масса наиболее крупного (железобетонный блок сборных железобетонных камер) элемента составляет 5,2 т.
Выбираю кран КС-4561 и трубоукладчик ТГ-61.
Подбор бульдозера осуществляется исходя из среднего расстояния перемещения грунта из отвала в траншею. Ориентировочно её можно принимать равным расстоянию между осями траншеи и отвала. Подбираю бульдозер Д3-9, с расстоянием перемещения до 5м.
Технические характеристики бульдозера:
тип отвала: неповоротный
длина отвала: 2,56 м
высота отвала: 0,8 м
мощность: 75 л.с.
управление: гидравлическое
4.3 Основные решения по производству работ
4.3.1 Метод производства работ
1. Для производства работ в данном дипломном проекте применяется поточный метод. При поточном методе однородные процессы выполняются последовательно, а разнородные параллельно. Этот метод характеризуется минимальным потреблением ресурсов и небольшой продолжительностью монтажных работ.
2. Электроэнергия необходима для освещения, так как некоторые работы производятся во вторую смену
3. Вода необходима для работников объекта и для гидравлических испытаний тепловой сети
4. Кислород на строительной площадке требуется для резки металла
5. Количество бытовок для нужд рабочих – 4шт. (одно помещение на 10 рабочих).
6. Для строительно-монтажных работ требуется место для складирования материалов (изоляции, труб и т.д.). Количество мест складирования:
лотки на строительной площадке складируются на высоте 1,8м в 2-а ряда по горизонтали и по вертикали. Количество мест складирования считаю исходя из условия: максимальный вылет у крана применяемого на строительной площадке 7м, т. е., находясь на одном месте кран может уложить порядка 12 лотков. Следовательно:
Nобщ.
/12 = n [шт]. 721/12 = 60 шт.
Где Nобщ.
– общее количество лотков
n – количество мест складирования.
На строительной площадке под лотки должно быть отведено 60 мест. В одной кладке 12 лотков.
Площадь складирования лотков составляет:
Площадь одного лотка – 0,9*3 = 2,7м2
. Суммарная площадь необходимая для складирования лотков – 695м2
.
Площадь складирования труб:
принимаю, количество труб укладываемых возле бровки траншеи из расчета, что вылет стрелы крана составляет 7м, а длина одной трубы 11м, 6 штук. Следовательно:
Lобщ.
/ 66м = l [шт]. 1594/66 = 24 шт.
где Lобщ.
– общая длина всех труб привозимых на строительную площадку
l – количество мест складирования труб
Следовательно на строительной площадке нужно 24 места под трубы.
4.3.2 Определение трудоемкости строительно-монтажных операций
Расчет трудоемкости ручных и механизированных строительно-монтажных процессов, а также затрат машинного времени производится по ЕниР.
Трудоемкость работы в чел.-дн. определяется по формуле:
(4.9)
где Нвр.
– норма времени на единицу работы, чел.-час;
V – объем работы в единицах измерения (принято в ЕНиР);
8 – продолжительность рабочей смены, ч.
Результаты расчетов приведены в приложении Г
4.4 Расчет основных технико-экономических показателей
Продолжительность монтажа теплосети – 16 дней
Вся трудоемкость составила – 159,5,01 чел/дн.
Средняя производительность по строительству составила – 105 %
Трудозатраты на монтаж теплосети – 145,01 чел/дн.
Максимальное количество работников – Nmax. – 15 человека
Среднее количество работников – Nср. – 8,56 человека
Коэффициент механизации производства – К = 0,09
4.5 Контроль качества производства работ
Приемку в эксплуатацию законченных строительством тепловых сетей производят в соответствии со СНиП III-3-76 и 111-30-74. Вновь построенные трубопроводы принимают в эксплуатацию комиссии в составе представителей заказчика, подрядчика и управления тепловых сетей (технадзора), а при непосредственном водоразборе и представителя санитарно-эпидемиологической службы. Трубопроводы с горячей водой (t>115°С) принимают в эксплуатацию в соответствии со СНиП III-30-74. Трубопроводы с рабочим давлением 0,07—1,6 МПа (0,7—16 кгс/см2) и температурой свыше 115°С принимают в эксплуатацию с учетом «Правил устройства и безопасности эксплуатации трубопроводов пара и горячей воды» без регистрации теплопроводов в органах Госгортехнадзора.
Сдаче в эксплуатацию законченного строительством всего объекта или его части (которая может самостоятельно эксплуатироваться) предшествует промежуточная приемка отдельных его частей или видов работ в процессе строительства. Промежуточной приемке, оформляемой соответствующими актами, подлежат: разбивка трассы, устройство оснований траншей и котлованов; укладка трубопроводов; сварка трубопроводов и закладных частей сборных конструкций, антикоррозионное покрытие труб; монтаж строительных конструкций; заделка и омоноличивание стыков, тепловая изоляция трубопроводов дренажные устройства; гидроизоляция строительных конструкций; устройство электрозащиты; растяжка П-образных компенсаторов; ревизия и испытание арматуры; сальниковые компенсаторы; засыпка траншей и котлованов; очистка внутренней поверхности груб, укладка футляров; промывка трубопроводов; гидравлическое или пневматическое испытание.
Состав актов на скрытые работы:
проверка уклона трубопроводов
проверка внутренней поверхности труб (определяется просвечиванием)
наружная поверхность труб (качество очистки)
антикоррозионное покрытие (материал)
тепловая изоляция (материал, толщина, корка)
строительная конструкция прокладки (№ чертежа)
Приемку в эксплуатацию теплопроводов осуществляют рабочие комиссии (от заказчика).
5. Экономика
5.1 Основы ценообразования строительной продукции в условиях рынка
Механизм формирования цен на строительную продукцию базируется на нормативных методах. Сметная стоимость строительной продукции на территории Российской Федерации определяется на основе МДС 81-1.99.
Сметная стоимость строительно-монтажных работ (СМР) сумма денежных средств для осуществления строительства в соответствии с проектной моделью.
Сметная стоимость является основой для определения размера капитальных вложений, финансирования строительства, формирования договорных цен на строительную продукцию, расчетов за выполненные подрядные работы.
В составе дипломного проекта выполнен локальный сметный расчет на реконструкцию участка квартальной тепловой сети.
Локальная смета составлена на основе сметно-нормативной базы, введенной в действие с 1.01.1984 г.
Для определения сметной стоимости СМР в ценах 2001 г. использован базисно-индексный метод. Расчетные индексы по видам работ к базе 1984 г. по состоянию на 1.04.2001 г. (Данные РегиоСтройИнформ).
По локальному сметному расчету определены все затраты, связанные с выполнением СМР, которые включают прямые затраты, накладные расходы и сметную прибыль. При разработке локальной сметы учитывались по сборникам ЕРЕР открытые и закрытые расценки. По открытым расценкам дополнительно учитывались на материальные ресурсы по СНиП IV-4-84 и прейскуранту 06-08 (оптовые цены на железобетонные и бетонные изделия и конструкции).
Для расчета приняты рекомендуемые нормы накладных расходов и сметной прибыли. Сметный расчет выполнен на основе исходных данных.
На основе сметного расчета в составе сметной документации сформирована договорная цена. Принятая заказчиком и подрядчиком договорная цена может быть пересмотрена по согласованию сторон. За итогом договорной цены показывается отдельной строкой сумма НДС.
5.2 Локальная смета на реконструкцию квартальной теплотрассы
Для формирования локальной сметы использованы следующие исходные данные:
Наименование объекта – Хабаровские тепловые сети (п. Победа, ул. Руднева № д. 33-45)
Территориальный район строительства - X (ЕРЕР-84, приложение 2)
Районный коэффициент к заработной плате - 1,3 (ЕРЕР-84, приложение 8)
Накладные расходы на СМР - 25,8 % (по установленным нормативам)
Сметная прибыль - 8 % (по установленным нормативам)
Коэффициент перехода от суммы накладных расходов к затратам труда - 0.0092
Доля заработной платы в составе накладных расходов - 0.18
Коэффициент перехода от заработной платы машиниста к затратам труда - 1,29
Индекс перехода от цен 1984 года к ценам 2001 года - 26,5
Объем работ принят в соответствии с конструктивными решениями по технологическим схемам. Локальная смета на реконструкцию квартальной теплотрассы приведена в приложении Д. Договорные цены реконструкцию квартальной теплотрассы приведены в таблице 5.1.
Таблица 5.1 – Ведомость договорных цен
Заказчик (генподрядчик) ____________________________
Генподрядчик (субподрядчик) ________________________
Составлена на основе локального сметного расчета и является приложением к договору подряда (субподряда) № 1 от 15.06.2001 г.
На реконструкцию участка тепловой сети
Ведомость свободной (договорной) цены
на 357713 рублей
| № сметы |
Наименование объекта работ и затрат |
Сметная стоимость |
Договорная цена, т.руб. |
| Строительных работ, т.руб. |
Монтажных работ, т.руб. |
Прочие, т.руб. |
| 1 |
Реконструкция квартальной теплотрассы. Строительно-монтажные работы. |
- |
259,212 |
- |
259,212 |
| Прочие работы, относящиеся к деятельности подрядных (15%) |
- |
- |
38,882 |
38,882 |
| ИТОГО |
259,212 |
38,882 |
298,094 |
| НДС (20%) |
59,618 |
| ИТОГО с НДС |
357,713 |
Руководитель предприятия (организации) заказчика
Руководитель генподрядной (субподрядной) монтажной организации
5.3 Расчет годовых эксплуатационных затрат
5.3.1 Общие положения по расчету годовых эксплутационных затрат
В своей деятельности предприятие руководствуется принципами хозяйственного расчета в основу которого положена самоокупаемость. Основным показателем работы предприятия является себестоимость тепловой энергии. Снижение себестоимости можно достигнуть применением наиболее актуальных технологий в строительстве, эксплуатации, снижении тепловых потерь, применением автоматизированных систем управления, подготовкой квалифицированного персонала.
Годовые эксплутационные затраты одна из важных статей расходов.
При работе тепловой сети, в процессе её эксплуатации, возникают следующие затраты:
(5.1)
где Ст.э.
- затраты на тепловую энергию
Са
– амортизационные отчисления на полное восстановление первоначальной стоимости
Ск.р.
– затраты на капитальный ремонт
Ст.р.
– затраты на текущий ремонт
Сфзп
– фонд заработной платы
Ссн.
– отчисления на социальные нужды
Супр.
– отчисления на управление, охрану труда и технику безопасности
(5.2)
Т – тариф на тепловую энергию бытовых потребителей
Q – годовой расход тепловой энергии
Тарифы на тепловую энергию введены в действие с 01.02.2001г. на основе решения региональной энергетической комиссии Хабаровского края.
5.3.2 Расчет и смета годовых эксплуатационных затрат
Исходные данные к расчету годовых эксплуатационных затрат
годовой расход тепловой энергии системы теплоснабжения Q=21803 Гкалл/год
тариф на тепловую энергию Т = 195 руб/Гкалл+20%НДС=259,212 руб./Гкалл
сметная стоимость СМР по системе теплоснабжения – 259,212 тыс.руб
норма амортизационных отчислений в процентах (%) от сметной стоимости СМР – 4%
нормы затрат на капитальный ремонт в процентах (%) от сметной стоимости СМР – 2%
нормы затрат на текущий ремонт в процентах (%) от сметной стоимости СМР – 1.2%
количество обслуживающего персонала – 2 слесаря III разряда
должностной оклад – 2100 руб.
районный коэффициент – 1.3
дальневосточная надбавка – 1.3
премия к должностному окладу - 20%
единый социальный налог – 35,6%
норма отчислений на управление, охрану труда и технику безопасности – 30%
Результаты сведены в таблицу 5.2.
Таблица №5.2 - Смета годовых эксплутационных затрат
| Элементы затрат |
Затраты, руб\год |
Проценты |
| Затраты на тепловую энергию |
5101902 |
96,56 |
| Амортизационные отчисления |
11411 |
0,21 |
| Затраты на текущий ремонт |
3423 |
0,06 |
| Затраты на капитальный ремонт |
5705 |
0,10 |
| Отчисления от ФЗП |
96768 |
1,83 |
| Отчисления на социальные нужды |
35320 |
0,66 |
| Отчисления на управление, охрану труда и технику безопасности |
29030 |
0,54 |
| Всего |
5286656 |
100,00 |
Себестоимость тепловой энергии составляет:
® 
Основные технико-экономические показатели проекта сведены в таблицу 5.3.
Таблица №5.3 - Основные технико-экономические показатели проекта
| Наименование показателей |
Единицы измерения |
Количество |
Годовая производительность
Часовая производительность
Сметная стоимость
Договорная цена
Эксплуатационные затраты
|
Гкал/год.
т/ч.
руб.
руб.
руб.
|
21803
31,64
259212
357712
5286656
|
5.4 Основные направления по экономии энергоресурсов в системе теплоснабжения
Тепловые сети являются весьма дорогостоящими сооружениями, на их строительство и эксплуатацию затрачиваются значительные средства. В связи с повышением требований к чистоте воздушного бассейна городов и поселков крупные тепловые станции стали сооружать за пределами городской черты на значительном расстоянии от районов теплового потребления. Это вызывает необходимость строительства протяженных транзитных магистралей, что в свою очередь требует увеличения капитальных затрат. Бесперебойная и экономичная работа систем централизованного теплоснабжения зависит главным образом от качества строительства тепловых сетей и от того, насколько правильно осуществляется их техническая эксплуатация.
Основным фактором снижения стоимости строительства тепловых сетей является применение новых эффективных конструкций и материалов, прогрессивных методов строительства при комплексной механизации строительно-монтажных работ.
Стратегия теплосбережения основана на трех основных направлениях: учете тепла, тепло аудите и регулировании теплопотребления.
Для этого необходимо:
Большое внимание уделять вопросам экономии топливно-энергетических ресурсов. Переходить на независимые схемы присоединения потребителей, внедрять телемеханику и создавать АСУ систем теплоснабжения. Применять приборы учета воды и тепловой энергии, обеспечивать теплоснабжение города в оптимальных экономических режимах. Оперативно выявлять и устранять отказы в работе оборудования, ликвидировать утечки в тепловых сетях и подвалах здания, переходить на установку счетчиков горячей воды. Введение теплосчетчиков дает возможность теплосети более эффективно организовать процесс распределения тепла и его потребления. Обобщая опыт работы теплосети с абонентами имеющими приборный учет полученного тепла, для дальнейшего успешного внедрения теплосчетчиков и реализации программы энергосбережения необходимо обеспечить проведение комплекса мероприятий организационного, технического и научного плана. В результате расход воды у потребителей резко сокращается.
Строительство тепловых сетей необходимо выполнять используя современные конструкции теплопроводов с изоляцией из пенополиуретана в полиэтиленовой оболочке, это позволит на порядок сократить тепловые потери по сравнению с традиционными конструкциями
6. Охрана труда и окружающей среды
"Охрана труда в строительстве" является прикладной технической наукой, которая выявляет и изучает производственные опасности и профессиональные вредности и разрабатывает методы их предотвращения или ослабления с целью устранения производственных несчастных случаев и профессиональных заболеваний рабочих, аварий и пожаров.
Главными объектами исследования являются человек в процессе труда, производственная среда и обстановка, взаимосвязь человека с промышленным оборудованием, технологическими процессами, организация труда и производства. Опираясь на выводы классических и инженерных наук, охрана труда разрабатывает систему мероприятий, постоянно повышающих уровень безопасности труда в строительстве.
Методологической основой "Охраны труда в строительстве" является научный анализ условий труда, технологического процесса строительного производства, применяемых и получаемых строительных материалов и конструкций с точки зрения возможности возникновения в процессе строительства и эксплуатации зданий и сооружений, опасностей и вредностей. На основе такого анализа определяют опасные участки производства, выявляют возможные опасные ситуации и разрабатывают меры их предупреждения и ликвидации. Эти вопросы рассматриваются в динамике, в развитии, чтобы обеспечить дальнейший прогресс в охране труда. В основе дисциплины во всех её разделах заложено профилактическое начало.
6.1 Техника безопасности
Правила и нормы по технике безопасности направлены на защиту организма человека от физических травм, воздействия технических средств используемых в процессе труда. Они регулируют поведение людей, обеспечивающее безопасность труда с точки зрения устройства и размещения машин, строительных конструкций, зданий, сооружений и оборудования.
На строительных объектах используют самые различные виды строительных машин и механизмов. Основными строительными машинами являются краны, экскаваторы, подъёмники. Использование машин облегчает труд человека. Однако, в ряде случаев работа этого оборудования связана с производственной опасностью.
Строительные машины по сравнению с другими машинами работают в наиболее тяжёлых и неблагоприятных условиях. Безопасность при их эксплуатации, монтаже, демонтаже и перевозке зависит от состояния самой машины, вспомогательных устройств и приспособлений, рабочей площадки, а также перерабатываемых или перемещаемых материалов и грузов.
Безопасность строительных машин, производственного оборудования обеспечивается правильным выбором принципов их действия, кинематических схем, конструктивных решений, рабочих тел, параметров рабочих процессов, использованием различных защитных средств. Нужно стараться, чтобы защитные устройства позволяли решать несколько задач одновременно и по возможности конструктивно совмещались с машинами и агрегатами, являясь их составной частью. Корпуса машин, механизмов должны обеспечивать не только ограждение опасных элементов, но и способствовать снижению уровня их шума и вибрации. Особо важное значение в обеспечении надёжности имеет прочность конструктивных элементов. Прочность характеризует способность конструкции сопротивляться внешним воздействиям без разрушения и значительных деформаций. Большое значение в обеспечении надёжной работы машин и механизмов имеет наличие необходимых контрольно-измерительных приборов и устройств автоматического управления и регулирования. При установке передвижных, свободно стоящих строительных машин и механизмов должна быть обеспечена их устойчивость как при работе, так и в нерабочем состоянии. Устойчивость любой строительной машины является необходимым условием безопасной её эксплуатации. Устойчивость стационарных машин обеспечивается за счёт правильной их установки на надёжное основание в строго горизонтальном и вертикальном положениях. Устойчивость самоходных кранов и машин характеризуется коэффициентом устойчивости, равным отношению суммарного момента всех удерживающих сил к суммарному моменту опрокидывающих сил относительно точки опрокидывания. При проектировании строительных машин и механизмов необходимо предусмотреть применение защитных устройств или устройств, исключающих возможность контакта человека с опасной зоной. Оградительные устройства применяют для изоляции систем привода машин и агрегатов, ограждения токоведущих систем.
Стационарные ограждения лишь периодически демонтируются для выполнения вспомогательных операций. Такое ограждение может быть полным, когда локализуется опасная зона, или частичным. Подвижное ограждение
представляет собой устройство, сблокированное с рабочим органом машины, вследствие чего оно закрывает доступ в рабочую зону при наступлении опасного момента. Переносные ограждения являются временными. Их используют при ремонтных и наладочных работах для защиты от случайных прикосновений к токоведущим частям, а также от механических травм и ожогов.
6.2 Производственная санитария
В строительстве есть свои специфические особенности, которые требуют определённого подхода к решению санитарно-гигиенических проблем. К этим особенностям относятся: подвижный характер труда строителей, отсутствие постоянных рабочих мест, необходимость в процессе работы постоянно перемещать орудия труда, особый характер продукции труда строителей, значительное разнообразие её видов и форм требуют участия в процессе строительства не отдельных рабочих, а целых производственных коллективов. Это вносит определённые трудности в организацию санитарно-гигиенического обслуживания строителей; совмещение близких по характеру профессий, вызываемое выполнением различных комплексов работ; необходимость использовать в строительстве одного объекта рабочих многих стройуправлений с различной организацией труда; работа в различных климатических условиях на открытом воздухе затрудняет создание нормального микроклимата на рабочем месте. Перечисленные особенности труда строителей требуют определённых форм и методов санитарно-бытового и медицинского обслуживания строек. В условиях строительного производства профессиональные вредности обуславливаются с одной стороны, неправильной организацией и несовершенством трудовых процессов, с другой - условиями окружающей среды.
Заболевания, вызванные вредными условиями труда, называют профессиональными. Факторы, отрицательно влияющие на условия труда, можно разделить на три группы, связанные:
с производственным процессом;
с недостатками в организации труда;
с недостатками в создании санитарно-гигиенических условиях труда.
Вредные производственные факторы по природе действия на организм человека подразделяются на следующие группы: физические, химические, биологические и психофизические.
Группа физических вредных производственных факторов включает повышенную запыленность и загазованность воздуха рабочей зоны, повышенную или пониженную температуру, давление, влажность, скорость движения воздуха, освещенность рабочей зоны, повышенный уровень шума, вибрации, инфразвуковых и ультразвуковых колебаний.
Группа химических вредных производственных факторов по характеру воздействия на организм человека подразделяется на подгруппы: общетоксичные, раздражающие, канцерогенные.
Группа биологических вредных производственных факторов включает биологические объекты, воздействие которых на работающих вызывает заболевание.
Группа психофизических вредных производственных факторов по характеру воздействия подразделяются на подгруппы: физические перегрузки и нервно-психические перегрузки. Физические перегрузки включают статические, динамические и гиподинамию. Нервно-психические перегрузки подразделяют на умственное перенапряжение, монотонность труда и эмоциональные перегрузки.
Перед началом строительства должны проводиться инженерные подготовительные работы, включающие мероприятия производственной санитарии. Одним из важных требований, предъявляемых к строительной площадке с санитарно-гигиенической точки зрения, является оборудование ее санитарно-бытовыми помещениями, пунктами питания, медпунктами, а также правильное расположение их в соответствии со строительным генеральным планом. На территории строительной площадки устанавливают указатели проходов и проездов; в темное время суток площадку следует обеспечивать электрическим освещением. Для защиты работающих на открытом воздухе от неблагоприятных метеорологических условий должны быть предусмотрены, помимо соответствующей спецодежды и защитных приспособлений, помещения для обогрева, тенты, палатки.
В проектах производства работ необходимо предусматривать применение таких технологических процессов, машин и производственного оборудования, которые обеспечивают отсутствие или минимальное выделение в атмосферу и в сточные воды вредных веществ, минимальное образование пыли, шума, вибрации.
6.3 Пожарная безопасность
Мероприятия, при которых исключается возможность пожара и взрыва, а в случае их возникновения предотвращается воздействие на людей опасных и вредных факторов пожара и взрыва и обеспечивается защита материальных ценностей, называют пожарной безопасностью. Возникновение пожаров связано с нарушением противопожарного режима и неосторожным обращением с огнем, что может явиться следствием нарушения мер пожарной безопасности при проектировании и строительстве зданий и сооружений. Нередко причиной пожаров и взрывов бывает неправильная оценка категории взрывопожароопасности производства из-за недостаточной изученности свойств сырья, полуфабрикатов, готовой продукции, определяющих их взрыво и пожароопасные характеристики.
Пожары, как правило, возникают в каком-либо одном месте и в дальнейшем распространяются по горючим материалам и конструкциям. Исключение составляют случаи взрывов производственного оборудования, в результате которых пожары могут возникнуть в нескольких местах.
При разработке генеральных планов промышленных предприятий необходимо: обеспечить безопасное расстояние от границ промышленных предприятий до жилых и общественных зданий; выдержать требуемые нормами противопожарные разрывы между зданиями и сооружениями; сгруппировать в отдельные комплексы родственные по функциональному назначению или признаку взрывопожарной опасности производственные здания и сооружения; расположить здания с учетом местности и направления господствующих ветров; обеспечить территорию предприятия дорогами и необходимым количеством въездом.
6.4 Контроль защитного заземления
Защитное заземление – преднамеренное соединение с землей частей оборудования, не находящихся под напряжением в нормальных условиях эксплуатации, но которые могут оказаться под напряжением в результате нарушения изоляции электроустановки.
Согласно «Правилам устройства электроустановок» сопротивление защитного заземления в любое время года не должно превышать: 10 Ом при мощности трансформатора (генератора) Nтр
< 100 кВт × А; 4 Ом при Nтр
> 100 кВт × А; 0,5 Ом – в установках напряжением выше 1000 В с большими токами замыкания на землю (более 500А).
Необходимо рассчитать заземляющее устройство для заземления электродвигателя серии 4А напряжением U = 380 В в трехфазной сети с изолированной нейтралью при следующих исходных данных: грунт – суглинок с удельным сопротивлением r = 100 Ом × м; в качестве заземлителей приняты стальные трубы диаметром d = 0,02 м и длиной l = 1,5 м, располагаемые вертикально и соединенные на сварке стальной полосой 40*4 мм; мощность электродвигателя серии А4200М2 U = 30 кВт, n = 3000 мин-1
; мощность трансформатора принята 250 кВ × А, требуемое по нормам допускаемое сопротивление заземляющего устройства [r3
] £ 4 Ом.

Рисунок 6.1 - Принципиальная схема защитного заземления
По схеме защитного заземления показанного на рисунке 4.1 определяем сопротивление одиночного вертикального заземлителя RB
, Ом, по формуле:

где: t – расстояние от середины заземлителя до поверхности грунта, м;
l, d – длина и диаметр стержневого заземлителя, м.
Расчетное удельное сопротивление грунта рассчитывается по формуле:

где: y - коэффициент сезонности, учитывающий возможность повышения сопротивления грунта в течении года
Согласно [11] принимаем y = 1,7 для I климатической зоны. Тогда:


Определяем сопротивление стальной полосы, соединяющей стержневые заземлители:

где: l – длина полосы, м;
t – расстояние от полосы до поверхности земли, м
Определяем расчетное удельное сопротивление грунта r’
расч
при использовании соединительной полосы в виде горизонтального электрода длиной 50м. При длине полосы в 50м [11], y’
= 5,9. Тогда:


Определяем ориентировочное число n одиночных стержневых заземлителей по формуле:


Принимаем расположение вертикальных заземлителей по контуру с расстоянием между смежными заземлителями равным 2 l. По таблице 3,2 и 3,3 [11] найдем действительные значения коэффициента использования hВ
и hГ
, исходя из принятой схемы размещения вертикальных заземлителей, hВ
= 0,66, hГ
= 0,39. Определяем необходимое количество вертикальных заземлителей по формуле:


Вычисляем общее расчетное сопротивление заземляющего устройства R с учетом соединительной полосы:


Заземляющее устройство рассчитано правильно, так как R £ [r3
].
6.5 Расчет прочности грузозахватных устройств
Основным несущим гибким элементом инвентарного канатного стропа является стальной проволочный канат. Наиболее характерными дефектами стропов являются: обрыв проволок, некачественная заплетка концов каната, расплющивание и расплетка прядей, износ проволок и коррозионное повреждение прядей каната,
трещины, расслоения, надрывы и коррозионные раковины на поверхностях подвески, крюка, втулки, ковша, сращивание концов каната с помощью узлов.
Канатные стропы следует изготовлять из цельного каната. Сращивание канатов не допускается. При изготовлении ветвей стропов концы канатов должны заделываться способом заплетки, гильзоклиновым соединением или с помощью алюминиевой втулки.
Грузоподъемность стропа с нормируемым запасом должна соответствовать усилию, которое на него передается от веса поднимаемого груза.
Разрывное усилие каната R, кН, определяют по формуле:
R = S x К
Где: S - нагрузка, действующая на канат, кH.
К - коэффициент запаса прочности.
Стропы рассчитываются с учетом количества ветвей канатов и угла их наклона к вертикали.
Где: n - коэффициент, зависящий от угла наклона, a.
Qгр
- масса поднимаемого груза, кг.
m - число ветвей каната.
К1
- коэффициент неравномерности нагрузки на ветвь стропа, зависящий от числа ветвей.
Задание: необходимо установить диаметр каната 6х37 при типе касания ТЛК – 0 для строповки груза Qгр = 2000 кг (что соответствует весу груза Qгр = 20кН), число ветвей m = 4, ветви расположены под углом a = 45о
к вертикали.
Определим усилие в ветви стропа:
S = 1,41 х 20 / (4 х 0,75) = 9,4 кН
Принимаем К = 6 и определим необходимое разрывное усилие:
R = 9,4 х 6 = 56,4 кН
Необходимое ближайшее разрывное усилие S = 66.5 кН, что соответствует канату диаметром 11,5 мм.
В случае уменьшения угла a уменьшается усилие S, тогда потребуется канат меньшего диаметра.
Анализ условий труда
Основными особенностями которые отличают производство строительно-монтажных работ от других современных промышленных предприятий, являются:
недостаточный уровень механизации и автоматизации труда, который вызывает необходимость применять значительные физические усилия для выполнения работ;
постоянное перемещение рабочих мест и орудий труда в результате чего, требуется заново решать вопросы безопасности труда;
необходимость совмещения профессий близких по характеру труда.
В процессе производства монтажа тепловых сетей на рабочего воздействуют различные вредные факторы. Основными из них являются длительные мышечные напряжения и поднимание тяжестей. Кроме того, при сварке трубопроводов на человека воздействует интенсивное излучение и вредные газовые выделения. При работе с различными пневмоинструментами на рабочей площадке возникает шум. Шум, также возникает в следствии работы вентиляторных установок, компрессоров и сварочных агрегатов. Помимо этого, работа данных устройств вызывает вибрацию.
Для устранения последствий от вредных воздействий связанных с переносом тяжестей и длительных физических напряжений требуется максимально механизировать производство строительно-монтажных работ. Подъем и монтаж арматуры и трубопроводов осуществлять с помощью подъемных механизмов. При работе на высоте более 1 м от уровня земли или пола требуется устройство подмостей, лесов или стремянок, в зависимости от ситуации.
Для обеспечения оптимальных условий работы при сварочных работах необходимо применять светофильтры. Кроме того место проведения сварочных и других огневых работ должно быть обеспечено средствами пожаротушения.
Существенное влияние на рабочих оказывает климат на рабочих площадках. В данном проекте принято, что строительные работы производятся в теплый период. Так как в теплый период года возможны высокие температуры воздуха, при огневых и сварочных работах необходимо предусматривать вентиляторные установки.

Рис 6.2 – Схемы строповки
Список использованных источников
1 СниП 2.04.07 – 86. Тепловые сети. М.; Госкомстройиздат, 1989, – 48 с.
2 СниП 2.01.01 – 82. Строительная климатология и геофизика. М.; Стройиздат, 1983, – 125 с.
3 В.И. Манюк, Я.Н. Каплинский и др. Наладка и эксплуатация водяных тепловых сетей. Справочник. М.; Стройиздат, 1988. – 432 с.
4 А.А. Ионин, Б.М. Хлыбов и др. Теплоснабжение. М.; Стройиздат, 1982. – 336 с.
5 А.А. Николаев. Проектирование тепловых сетей. Справочник проектировщика. М.; Стройиздат, 1965. – 360 с.
6 Н.К. Громов, Е.П. Шубин и др. Водяные тепловые сети. Справочное пособие по проектированию. М.; Энергоатомиздат, 1988, – 376 с.
7 СНиП 2.04.01 – 85. Внутренний водопровод и канализация зданий. М.; Государственный комитет по делам строительства., 1986, – 56 с.
8 СНиП 2.04.14 – 88. Тепловая изоляция оборудования и трубопроводов. М.; Государственный строительный комитет. 1989.
9 О.Н. Мельников и др. Справочник монтажника сетей теплогазоснабжения. Л.; Стройиздат, 1980.
10 В.Е. Козин и др. Теплоснабжение. М.; Высшая школа, 1980.
11 СНиП 3.02.01 – 87. Земляные сооружения, основания и фундаменты. – М: Стройиздат, 1988 – 128с.
12 Сборник Е2. Земляные работы. Вып. 1. Механизированные и ручные земляные работы/Госстрой СССР. – М.: Стройиздат, 1988. – 224с.
13 Мельников О. Н. Справочник монтажника сетей теплоснабжения. – Л.: Стройиздат, 1980. – 208с.
14 Сборник Е9. Сооружение системы теплоснабжения, водоснабжения, газоснабжения и канализации. Вып. 2. Наружные сети и сооружения/Госстрой СССР. – М.: Прейскурантиздат, 1988 – 96с.
15 Сборник Е22. Вып.2. Сварочные работы. Трубопроводы/Госстрой СССР. – М: Стройиздат, 1987 –112с.
16 Сборник Е1. Внутрипостроечные транспортные работы./Госстрой СССР. –М: Прейскурантиздат, 1987. – 40с.
17 СНиП III-4-80. Правила производства и приемки работ. Техника безопасности в строительстве.
18 СП 41-101-95. Проектирование тепловых пунктов. М.; Минстрой России, 1997. –79 с.
19 СНиП II-2-80 «Противопожарные нормы проектирования зданий и сооружений» СССР – М: Стройиздат 1981г. – 120 с.
20 СНиП 3.05.06-85 «Электротехнические устройства»
21 СНиП III-4-80. Техника безопасности в строительстве. –М.: Стройиздат, 1980.- 255 с.
22 СНиП II-6-74. Нагрузки и воздействия. –М.: Стройиздат, 1976.- 29 с.
23 СНиП II-12-77. Защита от шума. –М.: Стройиздат, 1978.- 96 с.
24 Санитарные нормы проектирования промышленных предприятий. СН 245-71, Госстрой СССР. –М.: Стройиздат, 1971.- 96 с.
25 СНиП II-2-80. Противопожарные нормы проектирования зданий и сооружений. –М.: Стройиздат, 1981.- 13 с.
Приложение А – Расчетные тепловые потоки и расходы теплоносителя
Таблица А.1 - Расчетные тепловые потоки и расходы теплоносителя для абонентов квартальной котельной, расположенной по улице Ясной, котельных №22, №28, №3 Краснофлотского района, подключаемых к врезке тепловой сети идущей от ЦТК 337/03
| Номер |
Расчетные тепловые потоки Гкал/ч |
Расчетные расходы теплоносителя, т/ч |
| № |
Наименование |
ввода |
на |
на |
на |
на |
на |
на |
Примечание |
| п/п |
абонентов |
по рас- |
отопле- |
калори- |
горячее |
суммарная |
отопле- |
калори- |
горячее |
сум- |
График 125-70 |
| четной |
ние |
ферные |
водосн. |
ние |
ферные |
водосн. |
марная |
| схеме |
устан. |
1 |
устан. |
| Qот |
Qкал |
Qг.в. |
Qсум |
Qот |
Qкал |
Qг.в. |
Qсум |
| 1 |
2 |
3 |
4 |
5 |
6 |
7** |
8** |
9** |
10** |
11** |
12 |
| 1 |
Адмиральская |
10 |
0,092 |
0,066 |
0,158 |
1,67 |
0 |
1,2 |
2,87 |
| 2 |
Адмиральская |
8 |
0,261 |
0,1632 |
0,4242 |
4,75 |
0 |
2,97 |
7,72 |
| 3 |
Газ.станция |
0,012 |
0,012 |
0,22 |
0 |
0 |
0,22 |
| 4 |
Гараж |
0,056 |
0 |
0,056 |
1,02 |
0 |
0 |
1,02 |
| 5 |
Диспетч.эл.сетей |
0,026 |
0,026 |
0,47 |
0 |
0 |
0,47 |
| 6 |
Дом Культуры Рудн. 66 |
0,584 |
0,1 |
0,684 |
10,62 |
0 |
1,82 |
12,44 |
* |
| 7 |
Железнякова |
15 |
0,433 |
0,172 |
0,1305 |
0,7355 |
7,87 |
3,1273 |
2,37 |
13,367 |
| 8 |
Квартальна котельная |
0 |
0,061 |
0 |
0 |
0,061 |
1,11 |
0 |
0 |
1,11 |
* |
| 9 |
Краснофлотская |
3а |
0,227909 |
0,68372 |
0,911629 |
4,14 |
0 |
12,43 |
16,57 |
* |
| 10 |
Краснофлотская |
3 |
0,163934 |
0,4918 |
0,655734 |
2,98 |
0 |
8,94 |
11,92 |
* |
| 11 |
п.Ульчский |
1 |
1,772 |
0,0176 |
1,7896 |
32,22 |
0 |
0,32 |
32,54 |
| 12 |
п.Ясный |
1 |
0,072 |
0,072 |
1,31 |
0 |
0 |
1,31 |
| 13 |
п.Ясный |
4а |
0,131 |
0,034 |
0,165 |
2,38 |
0 |
0,62 |
3 |
| 14 |
п.Ясный |
2 |
0,246 |
0,1679 |
0,4139 |
4,47 |
0 |
3,05 |
7,52 |
| 15 |
п.Ясный |
3 |
0,0825 |
0,0825 |
1,5 |
0 |
0 |
1,5 |
| 16 |
Пельменная |
0,136 |
0,136 |
2,47 |
0 |
0 |
2,47 |
* |
| 17 |
Руднева |
60 |
0,337 |
0,0771 |
0,4141 |
6,13 |
0 |
1,4 |
7,53 |
* |
| 18 |
Руднева |
56 |
0,686 |
0,067 |
0,753 |
12,47 |
0 |
1,22 |
13,69 |
* |
| 19 |
Руднева |
58 |
0,354 |
0,035 |
0,389 |
6,44 |
0 |
0,64 |
7,08 |
* |
| 20 |
Руднева |
58а |
0,352 |
0,0367 |
0,3887 |
6,4 |
0 |
0,67 |
7,07 |
* |
| 21 |
Руднева |
72 |
0,266293 |
0,79888 |
1,065173 |
4,84 |
0 |
14,53 |
19,37 |
* |
| 22 |
Руднева |
74 |
0,302336 |
0,90701 |
1,209346 |
5,5 |
0 |
16,49 |
21,99 |
* |
| 23 |
Руднева |
74а |
0,274747 |
0,82424 |
1,098987 |
5 |
0 |
14,99 |
19,99 |
* |
| 24 |
Руднева |
65 |
0,152 |
0,012 |
0,164 |
2,76 |
0 |
0,22 |
2,98 |
* |
| 25 |
Руднева |
67 |
0,138 |
0,013 |
0,151 |
2,51 |
0 |
0,24 |
2,75 |
* |
| 26 |
Руднева |
69 |
0,043 |
0 |
0,043 |
0,78 |
0 |
0 |
0,78 |
* |
| 27 |
Котельная №22 |
8,257 |
8,257 |
150,13 |
0 |
0 |
150,13 |
* |
| 28 |
Сберкасса |
0,041 |
0,041 |
0,75 |
0 |
0 |
0,75 |
| 29 |
СГПТУ с-в маст. |
0,047 |
0,047 |
0,85 |
0 |
0 |
0,85 |
| 30 |
Столовая |
0,045 |
0,045 |
0,82 |
0 |
0 |
0,82 |
| 31 |
Столярная |
0,045 |
0,045 |
0,82 |
0 |
0 |
0,82 |
| 32 |
Эл.сети |
0,084 |
0 |
0,084 |
1,53 |
0 |
0 |
1,53 |
| 33 |
Ясная |
2б |
0,058 |
0 |
0,058 |
1,05 |
0 |
0 |
1,05 |
* |
| 34 |
Ясная |
4 |
0,299 |
0,1048 |
0,4038 |
5,44 |
0 |
1,91 |
7,35 |
| 35 |
Ясная |
2в |
0,328 |
0,036 |
0,364 |
5,96 |
0 |
0,65 |
6,61 |
* |
| 36 |
Ясная |
2а |
0,361 |
0,042 |
0,403 |
6,56 |
0 |
0,76 |
7,32 |
* |
| 37 |
Адмиральская |
8а |
0,261 |
0,163 |
0,424 |
4,75 |
0 |
2,96 |
7,71 |
| 38 |
Адмиральская |
4а |
0,414 |
0,348 |
0,762 |
7,53 |
0 |
6,33 |
13,86 |
| 39 |
Адмиральская |
25 |
0,275 |
0,096 |
0,371 |
5 |
0 |
1,75 |
6,75 |
| 40 |
Адмиральская |
23 |
0,237 |
0,056 |
0,293 |
4,31 |
0 |
1,02 |
5,33 |
| 41 |
Адмиральская |
9 |
0,234 |
0,374 |
0,608 |
4,25 |
0 |
6,8 |
11,05 |
| 42 |
Кирова |
19а |
0,176 |
0,019 |
0,195 |
3,2 |
0 |
0,35 |
3,55 |
| 43 |
Кирова |
25 |
0,062 |
0,062 |
1,13 |
0 |
0 |
1,13 |
| 44 |
Кирова |
23 |
0,142 |
0,011 |
0,153 |
2,58 |
0 |
0,2 |
2,78 |
| 45 |
Руднева |
40 |
0,288 |
0,0804 |
0,3684 |
5,24 |
0 |
1,46 |
6,7 |
| 46 |
Руднева |
38 |
0,33 |
0,0804 |
0,4104 |
6 |
0 |
1,46 |
7,46 |
| 47 |
Руднева |
31 |
0,28 |
0,0936 |
0,3736 |
5,09 |
0 |
1,7 |
6,79 |
| 48 |
Руднева |
29 |
0,24 |
0,0834 |
0,3234 |
4,36 |
0 |
1,52 |
5,88 |
| 49 |
Руднева |
27 |
0,342 |
0,0822 |
0,4242 |
6,22 |
0 |
1,49 |
7,71 |
| 50 |
Руднева |
25 |
0,27 |
0,069 |
0,339 |
4,91 |
0 |
1,25 |
6,16 |
| 51 |
Руднева |
23 |
0,216 |
0,06 |
0,276 |
3,93 |
0 |
1,09 |
5,02 |
| 1 |
2 |
3 |
4 |
5 |
6 |
7** |
8** |
9** |
10** |
11** |
12 |
| 52 |
Руднева |
21 |
0,216 |
0,0432 |
0,2592 |
3,93 |
0 |
0,79 |
4,72 |
| 53 |
Руднева |
19 |
0,258 |
0,258 |
4,69 |
0 |
0 |
4,69 |
| 54 |
Руднева |
17 |
0,228 |
0,228 |
4,15 |
0 |
0 |
4,15 |
| 55 |
Руднева |
15 |
0,192 |
0,1 |
0,292 |
3,49 |
0 |
1,82 |
5,31 |
| 56 |
Победы |
60 |
0,145 |
0,145 |
2,64 |
0 |
0 |
2,64 |
| 57 |
Победы |
57 |
0,132 |
0,132 |
2,4 |
0 |
0 |
2,4 |
| 58 |
З. Космодемьянск. |
26 |
0,103 |
0,0402 |
0,1432 |
1,87 |
0 |
0,73 |
2,6 |
| 59 |
З. Космодемьянск. |
28 |
0,24 |
0,066 |
0,306 |
4,36 |
0 |
1,2 |
5,56 |
| 60 |
З. Космодемьянск. |
30 |
0,12 |
0,03336 |
0,15336 |
2,18 |
0 |
0,61 |
2,79 |
| 61 |
З. Космодемьянск. |
44 |
0,252 |
0,108 |
0,36 |
4,58 |
0 |
1,96 |
6,54 |
| 62 |
Школа №18 |
0,096 |
0,0215 |
0,1175 |
1,75 |
0 |
0,39 |
2,14 |
| 63 |
З. Космодемьянск. |
23 |
0,06 |
0,06 |
1,09 |
0 |
0 |
1,09 |
| 64 |
З. Космодемьянск. |
25 |
0,258 |
0,0552 |
0,3132 |
4,69 |
0 |
1 |
5,69 |
| 65 |
Детсад №165 |
0,228 |
0,0108 |
0,2388 |
4,15 |
0 |
0,2 |
4,35 |
| 66 |
Майская |
60 |
0,1188 |
0,0426 |
0,1614 |
2,16 |
0 |
0,77 |
2,93 |
| 67 |
Майская |
55 |
0,192 |
0,0468 |
0,2388 |
3,49 |
0 |
0,85 |
4,34 |
| 68 |
Майская |
37 |
0,06 |
0,06 |
1,09 |
0 |
0 |
1,09 |
| 69 |
Майская |
35 |
0,345 |
0,1008 |
0,4458 |
6,27 |
0 |
1,83 |
8,1 |
| 70 |
Школа №68 |
0,228 |
0,0108 |
0,2388 |
4,15 |
0 |
0,2 |
4,35 |
| 71 |
Микрохирургия |
1,2 |
1,2 |
2,4 |
21,82 |
0 |
21,82 |
43,64 |
| 72 |
10 Горбольница |
1,95 |
0,048 |
1,998 |
35,45 |
0 |
0,87 |
36,32 |
| Итого: |
649,83 |
| ИТОГО:
|
27,21552
|
0,172
|
8,35171
|
35,73923
|
494,84
|
3,1273
|
151,86
|
649,83
|
| ИТОГО, МВт:
|
31,67886
|
0,20021
|
9,72139
|
41,60046
|
Таблица А.2 - Расчетные тепловые потоки и расходы теплоносителя для абонентов котельных №22, №28, №3 подключаемых к бойлерной установке, расположенной в котельной №3 Краснофлотского района
| Номер |
Расчетные тепловые потоки Гкал/ч |
Расчетные расходы теплоносителя, т/ч |
| № |
Наименование |
ввода |
на |
на |
на |
на |
на |
на |
Примечание |
| п/п |
абонентов |
по рас- |
отопле- |
калори- |
горячее |
суммарная |
отопле- |
калори- |
горячее |
сум- |
| четной |
ние |
ферные |
водосн. |
ние |
ферные |
водосн. |
марная |
| схеме |
устан. |
устан. |
| Qот |
Qкал |
Qг.в. |
Qсум |
Qот |
Qкал |
Qг.в. |
Qсум |
| 1 |
2 |
3 |
4 |
5 |
6 |
7** |
8** |
9** |
10** |
11** |
12 |
| Котельная №28
|
| 1 |
Федеративная |
16 |
0,056 |
0,0067 |
0,0627 |
2,24 |
0 |
0,27 |
2,51 |
| 2 |
Федеративная |
5 |
0,063 |
0,063 |
2,52 |
0 |
0 |
2,52 |
| 3 |
Руднева |
49 |
0,074 |
0,074 |
2,96 |
0 |
0 |
2,96 |
| 4 |
Руднева |
51 |
0,072 |
0,072 |
2,88 |
0 |
0 |
2,88 |
| 5 |
Руднева |
53 |
0,081 |
0,081 |
3,24 |
0 |
0 |
3,24 |
| 6 |
Руднева |
55 |
0,081 |
0,081 |
3,24 |
0 |
0 |
3,24 |
| 7 |
Руднева |
57 |
0,081 |
0,081 |
3,24 |
0 |
0 |
3,24 |
| 8 |
Руднева |
59 |
0,08 |
0,049 |
0,129 |
3,2 |
0 |
1,96 |
5,16 |
| 9 |
Руднева |
47 |
0,076 |
0,0344 |
0,1104 |
3,04 |
0 |
1,38 |
4,42 |
| 10 |
Федеративная |
14 |
0,239 |
0,0156 |
0,2546 |
9,56 |
0 |
0,62 |
10,18 |
| Итого: |
0 |
40,35 |
| Котельная №3
|
| 1 |
Федеративная |
1 |
0,491935 |
0,16272 |
0,654655 |
19,68 |
0 |
6,51 |
26,19 |
| 2 |
Кирова |
1 |
0,149534 |
0,149534 |
5,98 |
0 |
0 |
5,98 |
| 3 |
Кирова |
2а |
0,172151 |
0,06867 |
0,240821 |
6,89 |
0 |
2,75 |
9,64 |
| 4 |
ОБЭП |
0,006093 |
0,00018 |
0,006273 |
0,24 |
0 |
0,01 |
0,25 |
| 5 |
Кирова |
2б |
0,15336 |
0,05985 |
0,21321 |
6,13 |
0 |
2,39 |
8,52 |
| 6 |
Кирова |
3а |
0,318965 |
0,15309 |
0,472055 |
12,76 |
0 |
6,12 |
18,88 |
| 7 |
Кирова |
3б |
0,063663 |
0,00006 |
0,063723 |
2,55 |
0 |
0 |
2,55 |
| 8 |
Кирова |
4 |
0,225687 |
0,09504 |
0,320727 |
9,03 |
0 |
3,8 |
12,83 |
| 9 |
МПУД "ОСТОН" |
0,013051 |
0,00021 |
0,013261 |
0,52 |
0 |
0,01 |
0,53 |
| 10 |
Кирова |
5 |
0,40488 |
0,13167 |
0,53655 |
16,2 |
0 |
5,27 |
21,47 |
| 11 |
МПУД "ОСТОН" |
0,030872 |
0,00057 |
0,031442 |
1,23 |
0 |
0,02 |
1,25 |
| 12 |
Кирова |
6 |
0,336581 |
0,13356 |
0,470141 |
13,46 |
0 |
5,34 |
18,8 |
| 13 |
Кирова |
8 |
0,141075 |
0,00684 |
0,147915 |
5,64 |
0 |
0,27 |
5,91 |
| 14 |
Кирова |
9 |
0,053206 |
0,0189 |
0,072106 |
2,13 |
0 |
0,76 |
2,89 |
| 15 |
Кирова |
11 |
0,073563 |
0,02772 |
0,101283 |
2,94 |
0 |
1,11 |
4,05 |
| 16 |
Кирова |
13 |
0,073436 |
0,02331 |
0,096746 |
2,94 |
0 |
0,93 |
3,87 |
| Итого: |
0 |
0 |
0 |
0 |
143,61 |
| Котельная №22
|
| 1 |
Руднева |
63 |
0,108 |
0,0035 |
0,1115 |
4,32 |
0 |
0,14 |
4,46 |
| 2 |
Кирова |
16 |
0,068 |
0,068 |
2,72 |
0 |
0 |
2,72 |
| 3 |
Руднева |
61 |
0,063 |
0,063 |
2,52 |
0 |
0 |
2,52 |
| 4 |
Островского |
16 |
0,063 |
0,063 |
2,52 |
0 |
0 |
2,52 |
| 5 |
Островского |
14 |
0,063 |
0,063 |
2,52 |
0 |
0 |
2,52 |
| 6 |
Островского |
12 |
0,063 |
0,063 |
2,52 |
0 |
0 |
2,52 |
| 7 |
Островского |
10 |
0,063 |
0,063 |
2,52 |
0 |
0 |
2,52 |
| 8 |
Кирова |
19 |
0,066 |
0,066 |
2,64 |
0 |
0 |
2,64 |
| 9 |
Кирова |
21 |
0,099 |
0,099 |
3,96 |
0 |
0 |
3,96 |
| 10 |
Кирова |
14 |
0,065 |
0,065 |
2,6 |
0 |
0 |
2,6 |
| 11 |
Кирова |
17 |
0,035 |
0,035 |
1,4 |
0 |
0 |
1,4 |
| 12 |
Кирова |
12 |
0,034 |
0,034 |
1,36 |
0 |
0 |
1,36 |
| 13 |
Островского |
8 |
0,086 |
0,027 |
0,113 |
3,44 |
0 |
1,08 |
4,52 |
| 14 |
Островского |
8 |
0,463 |
0,349 |
0,812 |
18,52 |
0 |
13,96 |
32,48 |
| Итого: |
68,74 |
| Квартальная кот.
|
0 |
| 1 |
Руднева |
33 |
0,101 |
0,0124 |
0,1134 |
4,04 |
0 |
0,5 |
4,54 |
| 2 |
Руднева |
35 |
0,21 |
0,0164 |
0,2264 |
8,4 |
0 |
0,66 |
9,06 |
| 3 |
Руднева |
37 |
0,173 |
0,0101 |
0,1831 |
6,92 |
0 |
0,4 |
7,32 |
| 4 |
Руднева |
39 |
0,082 |
0,082 |
3,28 |
0 |
0 |
3,28 |
| 5 |
Руднева |
41 |
0,085 |
0 |
0,085 |
3,4 |
0 |
0 |
3,4 |
| 6 |
Руднева |
43 |
0,076 |
0,076 |
3,04 |
0 |
0 |
3,04 |
| 7 |
Руднева |
43 |
0,025 |
0 |
0,025 |
1 |
0 |
0 |
1 |
| 8 |
Руднева |
45 |
0,1978 |
0 |
0,1978 |
7,91 |
0 |
0 |
7,91 |
| Итого: |
39,55 |
| ИТОГО:
|
5,899852
|
0
|
1,40649
|
7,306342
|
235,99
|
0
|
56,26
|
292,25
|
| ИТОГО, МВт:
|
6,867428
|
0
|
1,637154
|
8,504582
|
Приложение Б – Графики регулирования температуры сетевой воды

Рис. Б.1 – График 95-70С
Приложение В – Гидравлический расчет теплосети
Таблица В.1 – Гидравлический расчет теплосети квартальной котельной, расположенной по улице Ясной, котельных №22, №28, №3 Краснофлотского района, подключаемых к врезке тепловой сети идущей от ЦТК 337/03
| Номер расчетного участка |
Р А С Ч Е Т Н Ы Е Д А Н Н Ы Е У Ч А С Т К А |
Потери напора от источника тепла |
Располагаемый напор в конце участка Hр |
Примечание |
| диаметр трубопровода |
длина участка, L |
Эквивалентная длина местных сопротивлений Lэ, м |
Расход сетевой воды, G |
скорость воды, W |
удельные потери гнапора при К=0,5мм R |
эквивалентная шероховат.,К |
поправочный коэффициент к удельным потерям в |
расчетное значение удельных потерь Rp |
п о т е р и н а п о р а н а у ч а с т к е |
| по одному трубопроводу |
всего по двум трубопроводам |
| линейные Hл |
местные Hм |
всего H |
| мм |
м |
м |
т/ч |
м/с |
мм/м |
мм |
мм/м |
мм |
мм |
мм |
м |
м |
м |
| 1 |
2 |
3 |
4 |
5 |
6 |
7 |
8 |
9 |
10 |
11 |
12 |
13 |
14 |
15 |
16 |
17 |
| От врезки УТК 337/03 до квартальной котельной |
| 1 |
500 |
111 |
127,2 |
649,81 |
0,88 |
1,45 |
3,5 |
1,71 |
2,48 |
275 |
184 |
460 |
0,92 |
0,92 |
46,08 |
| 2 |
500 |
161 |
100,7 |
606,22 |
0,82 |
1,25 |
3,5 |
1,71 |
2,14 |
345 |
126 |
470 |
0,94 |
1,86 |
45,14 |
| 3 |
500 |
324 |
174,9 |
569,9 |
0,78 |
1,1 |
3,5 |
1,71 |
1,88 |
609 |
192 |
802 |
1,60 |
3,46 |
43,54 |
| 4 |
400 |
109 |
96,96 |
403 |
0,86 |
1,7 |
3,5 |
1,74 |
2,96 |
323 |
165 |
487 |
0,97 |
4,44 |
42,56 |
| 5 |
300 |
121 |
120,4 |
385,06 |
1,48 |
7,5 |
3,5 |
1,79 |
13,43 |
1625 |
903 |
2528 |
5,06 |
9,49 |
37,51 |
| 6 |
300 |
99 |
81,2 |
373,08 |
1,4 |
7 |
3,5 |
1,79 |
12,53 |
1240 |
568 |
1809 |
3,62 |
13,11 |
33,89 |
| 7 |
300 |
110 |
53,2 |
366,47 |
1,4 |
6,8 |
3,5 |
1,79 |
12,17 |
1339 |
362 |
1700 |
3,40 |
16,51 |
30,49 |
| 8 |
300 |
107 |
60,2 |
365,42 |
1,4 |
6,7 |
3,5 |
1,79 |
11,99 |
1283 |
403 |
1686 |
3,37 |
19,89 |
27,11 |
| 9 |
300 |
55 |
67,2 |
306,18 |
1,18 |
4,7 |
3,5 |
1,79 |
8,41 |
463 |
316 |
778 |
1,56 |
21,44 |
25,56 |
| 10 |
300 |
179 |
99,4 |
266,37 |
1 |
3,5 |
3,5 |
1,79 |
6,27 |
1122 |
348 |
1470 |
2,94 |
24,38 |
22,62 |
| 11 |
300 |
513 |
191,8 |
253,93 |
0,96 |
3,4 |
3,5 |
1,79 |
6,09 |
3124 |
652 |
3776 |
7,55 |
31,94 |
15,06 |
| 12 |
300 |
85 |
67,2 |
242,01 |
0,9 |
2,8 |
3,5 |
1,79 |
5,01 |
426 |
188 |
614 |
1,23 |
33,16 |
13,84 |
| 13 |
300 |
203 |
113,4 |
186,08 |
0,69 |
1,7 |
3,5 |
1,79 |
3,04 |
617 |
193 |
810 |
1,62 |
34,78 |
12,22 |
| 14 |
250 |
134 |
106,4 |
164,09 |
1 |
4,5 |
3,5 |
1,82 |
8,19 |
1097 |
479 |
1576 |
3,15 |
37,94 |
9,06 |
| 15 |
250 |
92,5 |
92,4 |
157,58 |
0,84 |
3,3 |
3,5 |
1,82 |
6,01 |
556 |
305 |
861 |
1,72 |
39,66 |
7,34 |
| 16 |
250 |
320 |
96,32 |
150,12 |
0,84 |
3,3 |
3,5 |
1,82 |
6,01 |
1923 |
318 |
2241 |
4,48 |
44,14 |
2,86 |
| Ответвление 14-18 |
| 17 |
70 |
50 |
10,5 |
3,53 |
0,28 |
1,9 |
3,50 |
2,11 |
4,01 |
200,50 |
19,95 |
220,45 |
0,44 |
38,38 |
8,62 |
| 18 |
50 |
63 |
6,3 |
0,78 |
0,14 |
0,48 |
3,50 |
2,22 |
1,07 |
67,41 |
3,02 |
70,43 |
0,14 |
38,52 |
8,48 |
| Ответвление 14-19 |
| 19 |
50 |
20 |
3,7 |
2,98 |
0,45 |
7,4 |
3,5 |
2,22 |
16,43 |
329 |
27 |
356 |
0,71 |
38,65 |
8,35 |
| Ответвление 9-27 |
| 24 |
200 |
39 |
28 |
39,81 |
0,35 |
0,7 |
3,5 |
1,86 |
1,30 |
51 |
20 |
70 |
0,14 |
21,58 |
25,42 |
| 25 |
125 |
52 |
19,4 |
31,06 |
0,74 |
6 |
3,5 |
1,95 |
11,70 |
608 |
116 |
725 |
1,45 |
23,03 |
23,97 |
| 26 |
125 |
46 |
11,3 |
21,51 |
0,5 |
2,9 |
3,5 |
1,95 |
5,66 |
260 |
33 |
293 |
0,59 |
23,62 |
23,38 |
| 27 |
100 |
138 |
27,7 |
14,44 |
0,53 |
4,4 |
3,5 |
2,01 |
8,84 |
1220 |
122 |
1342 |
2,68 |
26,30 |
20,70 |
| Ответвление 24-28 |
| 28 |
70 |
20 |
15,3 |
7,64 |
0,6 |
8,8 |
3,5 |
2,11 |
18,57 |
371 |
135 |
506 |
1,01 |
22,59 |
24,41 |
| Ответвление 25-30 |
| 29 |
80 |
20 |
7,1 |
9,55 |
0,52 |
5,2 |
3,5 |
2,06 |
10,71 |
214 |
37 |
251 |
0,50 |
23,53 |
23,47 |
| 30 |
50 |
30 |
2,47 |
0,38 |
5,4 |
3,5 |
2,22 |
11,99 |
360 |
0 |
360 |
0,72 |
24,25 |
22,75 |
| Ответвление 26-31 |
| 31 |
80 |
10 |
7,07 |
0,39 |
2,9 |
3,5 |
2,06 |
5,97 |
60 |
0 |
60 |
0,12 |
23,74 |
23,26 |
Таблица В.2 - Расчет эквивалентных длин местных сопротивлений для таблицы В.1
| № уч. |
Dн х S, мм |
Вид местного сопротивления |
К.М.С. |
Кол-во |
Сумма К.М.С. |
lэ, при КМС=1 |
Lэ, м |
| 1 |
2 |
3 |
4 |
5 |
6 |
7 |
8 |
| 1 |
500 |
Задвижка |
0,5 |
1 |
0,5 |
| Компенсатор "П" |
2,8 |
1 |
2,8 |
| Отвод 90 град |
0,5 |
1 |
0,5 |
| Тройник на прох. |
1,0 |
1 |
1,0 |
| 4,8 |
26,5 |
127,2 |
| 2 |
500 |
Компенсатор "П" |
2,8 |
1 |
2,8 |
| Тройник на прох. |
1,0 |
1 |
1,0 |
| 3,8 |
26,5 |
100,7 |
| 3 |
500 |
Компенсатор "П" |
2,8 |
2 |
5,6 |
| Тройник |
1,0 |
1 |
1,0 |
| 6,6 |
26,5 |
174,9 |
| 4 |
400 |
Компенсатор "П" |
2,8 |
1 |
2,8 |
| Тройник на прох. |
1,0 |
2 |
2,0 |
| 4,8 |
20,2 |
97,0 |
| 5 |
300 |
Компенсатор "П" |
2,8 |
2 |
5,6 |
| Тройник на прох. |
1,0 |
2 |
2,0 |
| Отвод 90 град |
0,5 |
2 |
1,0 |
| 8,6 |
14,0 |
120,4 |
| 6 |
300 |
Компенсатор "П" |
2,8 |
1 |
2,8 |
| Тройник на прох. |
1,0 |
1 |
1,0 |
| 3,8 |
14,0 |
53,2 |
| 7 |
300 |
Компенсатор "П" |
2,8 |
1 |
2,8 |
| Тройник на прох. |
1,0 |
1 |
1,0 |
| Отвод 90 град |
0,5 |
2 |
1,0 |
| 4,8 |
14,0 |
67,2 |
| 8 |
300 |
Компенсатор "П" |
2,8 |
1 |
2,8 |
| Тройник на прох. |
1,0 |
1 |
1,0 |
| 3,8 |
14,0 |
53,2 |
| 9 |
300 |
Компенсатор "П" |
2,8 |
1 |
2,8 |
| Задвижка |
0,5 |
1 |
0,5 |
| Отвод 90 град |
0,5 |
1 |
0,5 |
| Тройник на прох. |
1,0 |
1 |
1,0 |
| 4,8 |
14,0 |
67,2 |
| 10 |
300 |
Компенсатор "П" |
2,8 |
2 |
5,6 |
| Отвод 90 град |
0,5 |
1 |
0,5 |
| Тройник на прох. |
1,0 |
1 |
1,0 |
| 7,1 |
14,0 |
99,4 |
| 11 |
300 |
Компенсатор "П" |
2,8 |
4 |
11,2 |
| Тройник на прох. |
1,0 |
1 |
1,0 |
| Отвод 90 град |
0,5 |
3 |
1,5 |
| 13,7 |
14,0 |
191,8 |
| 12 |
300 |
Компенсатор "П" |
2,8 |
1 |
2,8 |
| Задвижка |
0,5 |
2 |
1,0 |
| Тройник на прох. |
1,0 |
1 |
1,0 |
| 4,8 |
14,0 |
67,2 |
| 13 |
300 |
Компенсатор "П" |
2,8 |
2 |
5,6 |
| Тройник на прох. |
1,0 |
1 |
1,0 |
| Отвод 90 град |
0,5 |
3 |
1,5 |
| 8,1 |
14,0 |
113,4 |
| 14 |
300 |
Компенсатор "П" |
2,8 |
2 |
5,6 |
| Тройник на прох. |
1,0 |
2 |
2,0 |
| 7,6 |
14,0 |
106,4 |
| 15 |
300 |
Компенсатор "П" |
2,8 |
2 |
5,6 |
| Тройник на прох. |
1,0 |
1 |
1,0 |
| 6,6 |
14,0 |
92,4 |
| 16 |
250 |
Компенсатор "П" |
2,8 |
2 |
5,6 |
| Задвижка |
0,5 |
2 |
1,0 |
| Отвод 90 град |
0,5 |
4 |
2,0 |
| 8,6 |
11,2 |
96,3 |
| 17 |
70 |
Компенсатор "П" |
2,8 |
1 |
2,8 |
| Тройник на прох. |
1,0 |
1 |
1,0 |
| 3,8 |
2,2 |
8,3 |
| 18 |
50 |
Компенсатор "П" |
2,8 |
1 |
2,8 |
| Тройник на прох. |
1,0 |
1 |
1,0 |
| 3,8 |
1,5 |
5,6 |
| 19 |
50 |
Отвод 90 град |
0,5 |
1 |
0,5 |
| Тройник на прох. |
1,0 |
1 |
1,0 |
| 1,5 |
1,5 |
2,2 |
| 20 |
70 |
Компенсатор "П" |
2,8 |
1 |
2,8 |
| Тройник на прох. |
1,0 |
1 |
1,0 |
| 3,8 |
2,2 |
8,3 |
| 21 |
50 |
Отвод 90 град |
0,5 |
1 |
0,5 |
| Тройник на прох. |
1,0 |
1 |
1,0 |
| 1,5 |
1,5 |
2,2 |
| 22 |
40 |
Тройник на прох. |
1,0 |
1 |
1,0 |
| 1,0 |
1,1 |
1,1 |
| 23 |
40 |
Отвод 90 град |
0,5 |
1 |
0,5 |
| Тройник на прох. |
1,0 |
1 |
1,0 |
| 1,5 |
1,1 |
1,6 |
| 24 |
250 |
Отвод 90 град |
0,5 |
1 |
0,5 |
| Тройник на прох. |
1,0 |
1 |
1,0 |
| 1,5 |
11,2 |
16,8 |
| 25 |
125 |
Компенсатор "П" |
2,8 |
1 |
2,8 |
| Тройник на прох. |
1,0 |
1 |
1,0 |
| 3,8 |
4,5 |
17,2 |
| 26 |
125 |
Отвод 90 град |
0,5 |
1 |
0,5 |
| Тройник на прох. |
1,0 |
1 |
1,0 |
| 1,5 |
4,5 |
6,8 |
| 27 |
100 |
Компенсатор "П" |
2,8 |
2 |
5,6 |
| Тройник на прох. |
1,0 |
1 |
1,0 |
| Отвод 90 град |
0,5 |
1 |
0,5 |
| 7,1 |
3,4 |
24,3 |
| 28 |
80 |
Компенсатор "П" |
2,8 |
1 |
2,8 |
| Тройник на прох. |
1,0 |
1 |
1,0 |
| Отвод 90 град |
0,5 |
2 |
1,0 |
| 4,8 |
2,6 |
12,6 |
| 29 |
50 |
Компенсатор "П" |
2,8 |
1 |
2,8 |
| Тройник на прох. |
1,0 |
1 |
1,0 |
| 3,8 |
1,5 |
5,6 |
| 30 |
40 |
Компенсатор "П" |
2,8 |
1 |
2,8 |
| Тройник на прох. |
1,0 |
1 |
1,0 |
| Отвод 90 град |
0,5 |
1 |
0,5 |
| 4,3 |
1,1 |
4,7 |
| 31 |
80 |
Отвод 90 град |
0,5 |
1 |
0,5 |
| 0,5 |
2,6 |
1,3 |
| 32 |
50 |
Отвод 90 град |
0,5 |
1 |
0,5 |
| 0,5 |
1,5 |
0,7 |
| 33 |
80 |
Отвод 90 град |
0,5 |
1 |
0,5 |
| 0,5 |
2,6 |
1,3 |
| 34 |
80 |
Отвод 90 град |
0,5 |
1 |
0,5 |
| 0,5 |
2,6 |
1,3 |
Таблица В.3 – Гидравлический расчет теплосети котельных №22, №28, №3 подключаемых к бойлерной установке, расположенной в котельной №3 Краснофлотского района
| Номер расчетного участка |
Характеристика участка |
Р А С Ч Е Т Н Ы Е Д А Н Н Ы Е У Ч А С Т К А |
Потери напора от источника тепла |
Располагаемый напор в конце участка Hр |
Примечание |
| диаметр трубопровода |
длина участка, L |
Эквивалентная длина местных сопротивлений Lэ, м |
Расход сетевой воды, G |
скорость воды, W |
удельные потери гнапора при К=0,5мм R |
эквивалентная шероховат.,К |
поправочный коэффициент к удельным потерям в |
расчетное значение удельных потерь Rp |
потери напора на участке |
| по одному трубопроводу |
| линейные Hл |
местные Hм |
всего H |
всего по двум трубопроводам |
| мм |
м |
м |
т/ч |
м/с |
мм/м |
мм |
мм/м |
мм |
мм |
мм |
мм |
м |
м |
| 1 |
2 |
3 |
4 |
5 |
6 |
7 |
8 |
9 |
10 |
11 |
12 |
13 |
14 |
15 |
16 |
17 |
| уч. 1-21 (располагаемый напор 30 м) |
| 1 |
250 |
94 |
39,2 |
159,45 |
0,88 |
3,6 |
3,5 |
1,82 |
6,55 |
616 |
141 |
757 |
1514 |
1,51 |
28,49 |
| 2 |
250 |
34 |
42,6 |
156,56 |
0,86 |
3,5 |
3,5 |
1,82 |
6,37 |
217 |
149 |
366 |
731 |
2,24 |
27,76 |
| 3 |
250 |
44 |
42,6 |
152,51 |
0,84 |
3,3 |
3,5 |
1,82 |
6,01 |
264 |
140 |
405 |
810 |
3,05 |
26,95 |
| 4 |
250 |
110 |
42,6 |
148,64 |
0,8 |
3,1 |
3,5 |
1,82 |
5,64 |
620 |
132 |
752 |
1505 |
4,56 |
25,44 |
| 5 |
250 |
25 |
48,2 |
147,24 |
0,8 |
3,1 |
3,5 |
1,82 |
5,64 |
141 |
149 |
290 |
581 |
5,14 |
24,86 |
| 6 |
250 |
60 |
48,2 |
143,28 |
0,78 |
2,9 |
3,5 |
1,82 |
5,28 |
317 |
140 |
456 |
913 |
6,05 |
23,95 |
| 7 |
250 |
74 |
28,0 |
136,68 |
0,76 |
2,6 |
3,5 |
1,82 |
4,73 |
350 |
73 |
423 |
846 |
6,9 |
23,10 |
| 8 |
200 |
46 |
36,6 |
84,27 |
0,75 |
3,7 |
3,5 |
1,86 |
6,88 |
316 |
135 |
452 |
903 |
7,8 |
22,20 |
| 9 |
200 |
84 |
32,3 |
67,21 |
0,6 |
1,7 |
3,5 |
1,86 |
3,16 |
265 |
55 |
320 |
641 |
8,44 |
21,56 |
| 10 |
200 |
144 |
40,8 |
64,69 |
0,57 |
1,9 |
3,5 |
1,86 |
3,53 |
508 |
78 |
586 |
1172 |
9,61 |
20,39 |
| 11 |
150 |
26 |
21,7 |
53,05 |
0,88 |
6,6 |
3,5 |
1,86 |
12,28 |
319 |
143 |
462 |
924 |
10,54 |
19,46 |
| 12 |
150 |
42 |
8,6 |
49,81 |
0,83 |
5,9 |
3,5 |
1,86 |
10,97 |
461 |
50 |
511 |
1022 |
11,56 |
18,44 |
| 13 |
150 |
48 |
21,7 |
46,93 |
0,75 |
5 |
3,5 |
1,91 |
9,55 |
458 |
108 |
567 |
1133 |
12,69 |
17,31 |
| 14 |
150 |
34 |
24,5 |
43,97 |
0,72 |
4,5 |
3,5 |
2,11 |
9,50 |
323 |
110 |
433 |
867 |
13,56 |
16,44 |
| 15 |
150 |
100 |
24,5 |
39,55 |
0,65 |
3,7 |
3,5 |
2,11 |
7,81 |
781 |
91 |
872 |
1743 |
15,3 |
14,70 |
| 16 |
125 |
90 |
19,4 |
31,64 |
0,72 |
5,6 |
3,5 |
2,11 |
11,82 |
1064 |
109 |
1173 |
2345 |
17,65 |
12,35 |
| 17 |
125 |
40 |
21,7 |
27,6 |
0,66 |
4,7 |
3,5 |
2,11 |
9,92 |
397 |
102 |
499 |
998 |
18,65 |
11,35 |
| 18 |
125 |
52 |
17,2 |
24,2 |
0,58 |
3,6 |
3,5 |
2,22 |
7,99 |
415 |
62 |
477 |
955 |
19,6 |
10,40 |
| 19 |
125 |
80 |
21,7 |
20,92 |
0,5 |
2,7 |
3,5 |
2,22 |
5,99 |
479 |
59 |
538 |
1076 |
20,68 |
9,32 |
| 20 |
100 |
90 |
22,6 |
13,6 |
0,5 |
3,9 |
3,5 |
2,06 |
8,03 |
723 |
88 |
811 |
1621 |
22,3 |
7,70 |
| 21 |
70 |
80 |
9,4 |
4,54 |
0,36 |
3 |
3,5 |
2,22 |
6,66 |
533 |
28 |
561 |
1122 |
23,42 |
6,58 |
| ответвл. 1-24 |
| 23 |
80 |
64 |
12,6 |
8,53 |
0,47 |
4,1 |
3,5 |
2,11 |
8,65 |
554 |
52 |
605 |
1211 |
1,21 |
28,79 |
| 24 |
70 |
60 |
8,3 |
5,98 |
0,47 |
5,3 |
3,5 |
2,11 |
11,18 |
671 |
44 |
715 |
1430 |
2,64 |
27,36 |
| ответвл. 1-29 |
| 25 |
200 |
60 |
40,8 |
124,27 |
1,1 |
7 |
3,5 |
2,22 |
15,54 |
932 |
286 |
1218 |
2436 |
2,44 |
27,56 |
| 26 |
200 |
20 |
17,0 |
105,39 |
0,91 |
5 |
3,5 |
2,22 |
11,10 |
222 |
85 |
307 |
614 |
3,05 |
26,95 |
| 27 |
200 |
60 |
40,8 |
82,67 |
0,71 |
3,6 |
3,5 |
2,22 |
7,99 |
479 |
147 |
626 |
1253 |
4,3 |
25,70 |
| 28 |
125 |
30 |
13,6 |
24,71 |
0,6 |
3,8 |
3,5 |
2,06 |
7,83 |
235 |
52 |
286 |
573 |
4,88 |
25,12 |
| 29 |
70 |
70 |
7,2 |
5,91 |
0,47 |
5,1 |
3,5 |
2,06 |
10,51 |
736 |
37 |
773 |
1545 |
6,42 |
23,58 |
| ответвл. 27-30 |
| 30 |
125 |
170 |
36,6 |
26,19 |
0,62 |
4,2 |
3,5 |
1,86 |
7,81 |
1328 |
154 |
1481 |
2963 |
7,26 |
22,73 |
| ответвл. 27-32 |
| 31 |
100 |
60 |
16,4 |
18,41 |
0,7 |
7 |
3,5 |
1,86 |
13,02 |
781 |
115 |
896 |
1792 |
6,09 |
22,20 |
| 32 |
80 |
50 |
12,6 |
8,52 |
0,47 |
4,2 |
3,5 |
1,86 |
7,81 |
391 |
53 |
444 |
887 |
6,98 |
21,31 |
| ответвл. 8-34 |
| 33 |
150 |
130 |
43,3 |
49,69 |
0,83 |
6 |
3,5 |
1,91 |
11,46 |
1490 |
260 |
1750 |
3499 |
10,4 |
19,60 |
| 34 |
100 |
190 |
33,9 |
12,69 |
0,45 |
3,4 |
3,5 |
2,01 |
6,83 |
1298 |
115 |
1413 |
2826 |
13,23 |
16,78 |
| ответвл. 7-36 |
| 35 |
70 |
32 |
10,5 |
6,6 |
0,52 |
6,3 |
3,5 |
2,06 |
12,98 |
415 |
66 |
482 |
963 |
7,01 |
22,98 |
| 36 |
70 |
32 |
8,3 |
4 |
0,31 |
2,3 |
3,5 |
2,06 |
4,74 |
152 |
19 |
171 |
342 |
7,35 |
22,64 |
| ответвл. 9-39 |
| 37 |
80 |
22 |
12,6 |
12,02 |
0,66 |
8,2 |
3,5 |
2,06 |
16,89 |
372 |
104 |
475 |
950 |
8,75 |
21,25 |
| 38 |
80 |
36 |
10,0 |
9,5 |
0,52 |
5,1 |
3,5 |
2,01 |
10,25 |
369 |
51 |
420 |
840 |
9,59 |
20,41 |
| 39 |
70 |
32 |
8,3 |
6,98 |
0,55 |
7,2 |
3,5 |
2,01 |
14,47 |
463 |
60 |
523 |
1046 |
10,64 |
19,36 |
| ответвл. 11-41 |
| 40 |
100 |
36 |
16,4 |
11,64 |
0,41 |
2,9 |
3,5 |
2,01 |
5,83 |
210 |
48 |
257 |
515 |
10,12 |
19,87 |
| 41 |
80 |
46 |
3,9 |
8,4 |
0,47 |
4 |
3,5 |
2,01 |
8,04 |
370 |
16 |
386 |
771 |
10,9 |
19,10 |
Таблица В.4 - Расчет эквивалентных длин местных сопротивлений для таблицы В.3
| № уч. |
Dн х S, мм |
Вид местного сопротивления |
К.М.С. |
Кол-во |
Сумма К.М.С. |
lэ, при КМС=1 |
Lэ, м |
| 1 |
2 |
3 |
4 |
5 |
6 |
7 |
8 |
| 1 |
250 |
Задвижка |
0,5 |
1 |
0,5 |
| Отвод 90 град |
0,5 |
3 |
1,5 |
| Тройник на отв. |
1,5 |
1 |
1,5 |
| 3,5 |
11,2 |
39,2 |
| 2 |
250 |
Компенсатор "П" |
2,8 |
1 |
2,8 |
| Тройник на прох. |
1,0 |
1 |
1,0 |
| 3,8 |
11,2 |
42,6 |
| 3 |
250 |
Компенсатор "П" |
2,8 |
1 |
2,8 |
| Тройник на прох. |
1,0 |
1 |
1,0 |
| 3,8 |
11,2 |
42,6 |
| 4 |
250 |
Компенсатор "П" |
2,8 |
1 |
2,8 |
| Тройник на прох. |
1,0 |
1 |
1,0 |
| 3,8 |
11,2 |
42,6 |
| 5 |
250 |
Компенсатор "П" |
2,8 |
1 |
2,8 |
| Тройник на отв. |
1,5 |
1 |
1,5 |
| 4,3 |
11,2 |
48,2 |
| 6 |
250 |
Компенсатор "П" |
2,8 |
1 |
2,8 |
| Тройник на отв. |
1,5 |
1 |
1,5 |
| 4,3 |
11,2 |
48,2 |
| 7 |
250 |
Отвод 90 град |
0,5 |
3 |
1,5 |
| Тройник на прох. |
1,0 |
1 |
1,0 |
| 2,5 |
11,2 |
28,0 |
| 8 |
200 |
Компенсатор "П" |
2,8 |
1 |
2,8 |
| Задвижка |
0,5 |
1 |
0,5 |
| Тройник на прох. |
1,0 |
1 |
1,0 |
| 4,3 |
8,5 |
36,6 |
| 9 |
200 |
Компенсатор "П" |
2,8 |
1 |
2,8 |
| Тройник на прох. |
1,0 |
1 |
1,0 |
| 3,8 |
8,5 |
32,3 |
| 10 |
200 |
Компенсатор "П" |
2,8 |
1 |
2,8 |
| Тройник на отв. |
1,5 |
1 |
1,5 |
| Отвод 90 град |
0,5 |
1 |
0,5 |
| 4,8 |
8,5 |
40,8 |
| 11 |
150 |
Компенсатор "П" |
2,8 |
1 |
2,8 |
| Тройник на прох. |
1,0 |
1 |
1,0 |
| 3,8 |
5,7 |
21,7 |
| 12 |
150 |
Отвод 90 град |
0,5 |
1 |
0,5 |
| Тройник на прох. |
1,0 |
1 |
1,0 |
| 1,5 |
5,7 |
8,6 |
| 13 |
150 |
Компенсатор "П" |
2,8 |
1 |
2,8 |
| Тройник на прох. |
1,0 |
1 |
1,0 |
| 3,8 |
5,7 |
21,7 |
| 14 |
150 |
Компенсатор "П" |
2,8 |
1 |
2,8 |
| Тройник на отв. |
1,5 |
1 |
1,5 |
| 4,3 |
5,7 |
24,5 |
| 15 |
150 |
Отвод 90 град |
0,5 |
1 |
0,5 |
| Тройник на прох. |
1,0 |
1 |
1,0 |
| Компенсатор "П" |
2,8 |
1 |
2,8 |
| 4,3 |
5,7 |
24,5 |
| 16 |
125 |
Компенсатор "П" |
2,8 |
1 |
2,8 |
| Задвижка |
0,5 |
1 |
0,5 |
| Тройник на прох. |
1,0 |
1 |
1,0 |
| 4,3 |
4,5 |
19,4 |
| 17 |
125 |
Компенсатор "П" |
2,8 |
1 |
2,8 |
| Тройник на прох. |
1,0 |
2 |
2,0 |
| 4,8 |
4,5 |
21,7 |
| 18 |
125 |
Компенсатор "П" |
2,8 |
1 |
2,8 |
| Тройник на прох. |
1,0 |
1 |
1,0 |
| 3,8 |
4,5 |
17,2 |
| 19 |
125 |
Отвод 90 град |
0,5 |
1 |
0,5 |
| Тройник на отв. |
1,5 |
1 |
1,5 |
| Компенсатор "П" |
2,8 |
1 |
2,8 |
| 4,8 |
4,5 |
21,7 |
| 20 |
100 |
Тройник на прох. |
1,0 |
1 |
1,0 |
| Компенсатор "П" |
2,8 |
2 |
5,6 |
| 6,6 |
3,4 |
22,6 |
| 21 |
70 |
Отвод 90 град |
0,5 |
3 |
1,5 |
| Компенсатор "П" |
2,8 |
1 |
2,8 |
| 4,3 |
2,2 |
9,4 |
| 23 |
80 |
Тройник на прох. |
1,5 |
1 |
1,5 |
| Задвижка |
0,5 |
1 |
0,5 |
| Компенсатор "П" |
2,8 |
1 |
2,8 |
| 4,8 |
2,6 |
12,6 |
| 24 |
70 |
Задвижка |
0,5 |
1 |
0,5 |
| Компенсатор "П" |
2,8 |
1 |
2,8 |
| Отвод 90 град |
0,5 |
1 |
0,5 |
| 3,8 |
2,2 |
8,3 |
| 25 |
200 |
Отвод 90 град |
0,5 |
1 |
0,5 |
| Задвижка |
0,5 |
1 |
0,5 |
| Тройник на прох. |
1,0 |
1 |
1,0 |
| Компенсатор "П" |
2,8 |
1 |
2,8 |
| 4,8 |
8,5 |
40,8 |
| 26 |
200 |
Тройник на отв. |
1,5 |
1 |
1,5 |
| Отвод 90 град |
0,5 |
1 |
0,5 |
| 2,0 |
8,5 |
17,0 |
| 27 |
200 |
Тройник на отв. |
1,5 |
1 |
1,5 |
| Задвижка |
0,5 |
1 |
0,5 |
| Компенсатор "П" |
2,8 |
1 |
2,8 |
| 4,8 |
8,5 |
40,8 |
| 28 |
125 |
Тройник на прох. |
1,0 |
1 |
1,0 |
| Отвод 90 град |
0,5 |
4 |
2,0 |
| 3,0 |
4,5 |
13,6 |
| 29 |
70 |
Компенсатор "П" |
2,8 |
1 |
2,8 |
| Задвижка |
0,5 |
1 |
0,5 |
| 3,3 |
2,2 |
7,2 |
| 30 |
125 |
Тройник на отв. |
1,5 |
1 |
1,5 |
| Задвижка |
0,5 |
2 |
1,0 |
| Компенсатор "П" |
2,8 |
2 |
5,6 |
| 8,1 |
4,5 |
36,6 |
| 31 |
100 |
Тройник на отв. |
1,5 |
1 |
1,5 |
| Задвижка |
0,5 |
1 |
0,5 |
| Компенсатор "П" |
2,8 |
1 |
2,8 |
| 4,8 |
3,4 |
16,4 |
| 32 |
80 |
Тройник на прох. |
1,0 |
1 |
1,0 |
| Задвижка |
0,5 |
1 |
0,5 |
| Компенсатор "П" |
2,8 |
1 |
2,8 |
| Отвод 90 град |
0,5 |
1 |
0,5 |
| 4,8 |
2,6 |
12,6 |
| 33 |
150 |
Тройник на отв. |
1,5 |
1 |
1,5 |
| Задвижка |
0,5 |
1 |
0,5 |
| Компенсатор "П" |
2,8 |
2 |
5,6 |
| 7,6 |
5,7 |
43,3 |
| 34 |
100 |
Тройник на отв. |
1,5 |
1 |
1,5 |
| Компенсатор "П" |
2,8 |
3 |
8,4 |
| 9,9 |
3,4 |
33,9 |
| 35 |
70 |
Тройник на отв. |
1,5 |
1 |
1,5 |
| Задвижка |
0,5 |
1 |
0,5 |
| Компенсатор "П" |
2,8 |
1 |
2,8 |
| 4,8 |
2,2 |
10,5 |
| 36 |
70 |
Тройник на прох. |
1,0 |
1 |
1,0 |
| Компенсатор "П" |
2,8 |
1 |
2,8 |
| 3,8 |
2,2 |
8,3 |
| 37 |
80 |
Тройник на отв. |
1,5 |
1 |
1,5 |
| Задвижка |
0,5 |
1 |
0,5 |
| Компенсатор "П" |
2,8 |
1 |
2,8 |
| 4,8 |
2,6 |
12,6 |
| 38 |
80 |
Тройник на прох. |
1,0 |
1 |
1,0 |
| Компенсатор "П" |
2,8 |
1 |
2,8 |
| 3,8 |
2,6 |
10,0 |
| 39 |
70 |
Тройник на прох. |
1,0 |
1 |
1,0 |
| Компенсатор "П" |
2,8 |
1 |
2,8 |
| 3,8 |
2,2 |
8,3 |
| 40 |
100 |
Тройник на отв. |
1,5 |
1 |
1,5 |
| Задвижка |
0,5 |
1 |
0,5 |
| Компенсатор "П" |
2,8 |
1 |
2,8 |
| 4,8 |
3,4 |
16,4 |
| 41 |
80 |
Тройник на прох. |
1,0 |
1 |
1,0 |
| Отвод 90 град |
0,5 |
1 |
0,5 |
| 1,5 |
2,6 |
3,9 |
Таблица В.5 – Гидравлический расчет теплосети (Реконструкция)
| Номер расчетного участка |
Характеристика участка |
Р А С Ч Е Т Н Ы Е Д А Н Н Ы Е У Ч А С Т К А |
Потери напора от источника тепла |
Располагаемый напор в конце участка Hр |
Примечание |
| диаметр трубопровода |
длина участка, L |
Эквивалентная длина местных сопротивлений Lэ, м |
Расход сетевой воды, G |
скорость воды, W |
удельные потери гнапора при К=0,5мм R |
эквивалентная шероховат.,К |
поправочный коэффициент к удельным потерям в |
расчетное значение удельных потерь Rp |
потери напора на участке |
| по одному трубопроводу |
| линейные Hл |
местные Hм |
всего H |
всего по двум трубопроводам |
| мм |
м |
м |
т/ч |
м/с |
мм/м |
мм |
мм/м |
мм |
мм |
мм |
мм |
м |
м |
| уч. 16-21 (располагаемый напор 14,7 м) |
| 16 |
150 |
90 |
19,4 |
31,64 |
0,52 |
2,33 |
3,5 |
2,11 |
4,92 |
443 |
45 |
488 |
976 |
0,98 |
13,72 |
| 17 |
150 |
40 |
21,7 |
27,6 |
0,45 |
1,79 |
3,5 |
2,11 |
3,78 |
151 |
39 |
190 |
380 |
1,36 |
13,34 |
| 18 |
150 |
52 |
17,2 |
24,2 |
0,4 |
1,35 |
3,5 |
2,22 |
3,00 |
156 |
23 |
179 |
358 |
1,71 |
12,99 |
| 19 |
150 |
80 |
21,7 |
20,92 |
0,34 |
1,01 |
3,5 |
2,22 |
2,24 |
179 |
22 |
201 |
402 |
2,12 |
12,58 |
| 20 |
150 |
90 |
29,8 |
13,6 |
0,22 |
0,45 |
3,5 |
2,06 |
0,93 |
84 |
13 |
97 |
194 |
2,31 |
12,39 |
| 21 |
150 |
80 |
19,4 |
4,54 |
0,07 |
0,1 |
3,5 |
2,22 |
0,22 |
18 |
2 |
20 |
39 |
2,35 |
12,35 |
Таблица В.6 - Расчет эквивалентных длин местных сопротивлений для таблицы В.5
| № уч. |
Dн х S, мм |
Вид местного сопротивления |
К.М.С. |
Кол-во |
Сумма К.М.С. |
lэ, при КМС=1 |
Lэ, м |
| 16 |
150 |
Компенсатор "П" |
2,8 |
1 |
2,8 |
| Задвижка |
0,5 |
1 |
0,5 |
| Тройник на прох. |
1,0 |
1 |
1,0 |
| 4,3 |
4,5 |
19,4 |
| 17 |
150 |
Компенсатор "П" |
2,8 |
1 |
2,8 |
| Тройник на прох. |
1,0 |
2 |
2,0 |
| 4,8 |
4,5 |
21,7 |
| 18 |
150 |
Компенсатор "П" |
2,8 |
1 |
2,8 |
| Тройник на прох. |
1,0 |
1 |
1,0 |
| 3,8 |
4,5 |
17,2 |
| 19 |
150 |
Отвод 90 град |
0,5 |
1 |
0,5 |
| Тройник на отв. |
1,5 |
1 |
1,5 |
| Компенсатор "П" |
2,8 |
1 |
2,8 |
| 4,8 |
4,5 |
21,7 |
| 20 |
150 |
Тройник на прох. |
1,0 |
1 |
1,0 |
| Компенсатор "П" |
2,8 |
2 |
5,6 |
| 6,6 |
4,5 |
29,8 |
| 21 |
150 |
Отвод 90 град |
0,5 |
3 |
1,5 |
| Компенсатор "П" |
2,8 |
1 |
2,8 |
| 4,3 |
4,5 |
19,4 |
|