Московский государственный университет экономики,
статистики и информатики
(МЭСИ)
Курсовая работа по менеджменту на тему:
«Работа менеджера.
Специфика и критерии оценки»
Содержание
Введение
1. Профессиональные и личностные требования к менеджеру
1.1 Профессиональные и личностные компетенции
1.2Особенности труда руководителя, критерии оценки труда
1.3 Развитие карьеры менеджера
2. Анализ деятельности управленческого персонала
2.1 Анализ деятельности управленческого персонала в туристических организациях
2.2 Анализ деятельности менеджеров в русских турфирмах. Обслуживание клиентов
Заключение
Библиография
Приложение 1
Введение
Многие люди, стремящиеся стать достойными руководителями, предпочитают действовать по наитию, инстинктивно. Им не удается изменить себя и развиваться с течением времени. В то же время психологи давно установили основные препятствия, стоящие на пути карьерного роста. В первую очередь это именно внутренние барьеры. Они — результат нашего прошлого опыта, убеждений, ограничений и привычек. Неуверенность, страх, раздражение становятся для многих непреодолимыми препятствием на пути к поставленной цели.
Суть превращения в хорошего менеджера заключается не в том, чтобы «изучить все секреты», а в том, чтобы стать самим собой и полностью использовать те уникальные свойства, которые нам даны — все навыки, дарования, энергию. Иначе все попытки будут лишь пустой имитацией, жалким стремлением казаться тем, кем мы не являемся.
Задача будущего менеджера — найти и проанализировать свои подходы и способности, выявить свой потенциал, научиться действовать по-иному. Это «нечто» внутри нас, с которым надо суметь найти контакт. Затем нужно поверить в успех, даже если в настоящий момент нет никаких предпосылок к этому. Потом наступает черед мужества и силы воли, так необходимых для того, чтобы реализовать поставленные цели. И самое главное — мы не должны бояться потерпеть поражение. На этом пути каждому приходится учиться на собственном опыте; мало в чем можно убедить с помощью описаний, пока человек не почувствует и не познает это самостоятельно.
Необходимо также заметить, что хороший менеджер является персонифицированным воплощением организации, и к ее целям и проблемам он должен относиться как к своим собственным.Поэтому он сегодня становится организатором самостоятельной работы исполнителей, часто объединенных в команды. Такая работа является особым видом творческой деятельности, причем по мере роста сложности объекта управления и уровня занимаемой должности требования к творчеству увеличиваются.Менеджеру, особенно в крупной организации, приходится осуществлять в течение рабочего дня до двухсот различных видов деятельности, часто бывать в других городах и странах, общаться с самыми разными людьми — подчиненными, коллегами, партнерами, политиками, общественными деятелями, акционерами, к каждому из которых необходимо иметь свой подход. Стремление выделиться часто приводит к тому, что руководители работают по 10 – 12 часов в день. Таким образом, в настоящее время особо актуальным становится вопрос о деятельности менеджера, профессиональных и личностных его качествах.
Забиваем Сайты В ТОП КУВАЛДОЙ - Уникальные возможности от SeoHammer
Каждая ссылка анализируется по трем пакетам оценки: SEO, Трафик и SMM.
SeoHammer делает продвижение сайта прозрачным и простым занятием.
Ссылки, вечные ссылки, статьи, упоминания, пресс-релизы - используйте по максимуму потенциал SeoHammer для продвижения вашего сайта.
Что умеет делать SeoHammer
— Продвижение в один клик, интеллектуальный подбор запросов, покупка самых лучших ссылок с высокой степенью качества у лучших бирж ссылок.
— Регулярная проверка качества ссылок по более чем 100 показателям и ежедневный пересчет показателей качества проекта.
— Все известные форматы ссылок: арендные ссылки, вечные ссылки, публикации (упоминания, мнения, отзывы, статьи, пресс-релизы).
— SeoHammer покажет, где рост или падение, а также запросы, на которые нужно обратить внимание.
SeoHammer еще предоставляет технологию Буст, она ускоряет продвижение в десятки раз,
а первые результаты появляются уже в течение первых 7 дней.
Зарегистрироваться и Начать продвижение
Цель данной курсовой работы:
- анализ деятельности менеджера, специфики и критериев ее оценки.
Задачи курсовой работы:
- рассмотреть основные профессиональные и личностные качества современного менеджера;
- изучить лидерские качества менеджера;
- проанализировать требования, предъявляемые к менеджеру;
- дать оценку профессии менеджера;
- рассмотреть особенности подготовки менеджера как специалиста.
Объект исследования:
- деятельность управленческого персонала в туристической компании.
Предмет исследования:
- процессы и явления, влияющие на деятельность менеджера.
1.1 Профессиональные и личностные компетенции
«Компетенции – это характеристики, необходимые для успешной управленческой деятельности».
МакКлеланд.
При рассмотрении качеств человека, способствующих формированию определенных трудовых навыков и выполнению определенных служебных обязанностей, обычно выделяют профессиональные и индивидуальные (личные) компетенции. К профессиональным относят, как правило, те, которые касаются выполнения им работы, его служебной деятельности, усиливаются при профессиональной специализации человека, а также отражают преимущественно рациональное в поведении человека. В противоположность этому считается, что индивидуальные (личные) компетенции - те, которые проявляются и вне служебных отношений, в быту, в семье, в повседневном общении с друзьями, членами семьи, родственниками и другими людьми. В качестве важнейших личностных качеств руководителя рассматриваются: доброжелательность, справедливость, коллективизм, умение держать слово, отзывчивость, уравновешенность, скромность, внешняя привлекательность, жизнерадостность, широта кругозора. К числу деловых качеств менеджера относятся трудолюбие, инициативность, аккуратность, профессионализм, организованность, исполнительность, энергичность, ответственность, способности к работе, дисциплинированность.
Сервис онлайн-записи на собственном Telegram-боте
Попробуйте сервис онлайн-записи VisitTime на основе вашего собственного Telegram-бота:
— Разгрузит мастера, специалиста или компанию;
— Позволит гибко управлять расписанием и загрузкой;
— Разошлет оповещения о новых услугах или акциях;
— Позволит принять оплату на карту/кошелек/счет;
— Позволит записываться на групповые и персональные посещения;
— Поможет получить от клиента отзывы о визите к вам;
— Включает в себя сервис чаевых.
Для новых пользователей первый месяц бесплатно.
Зарегистрироваться в сервисе
Вместе с тем практика показывает, что указанное разделение не только условно, но зачастую не вполне отражает реальную действительность. Дело в том, что эффективность управления и успешность деятельности организации напрямую связаны не только с чисто профессиональными, но и со всеми иными качествами руководителя. В частности, существуют управленческие ситуации, успешное разрешение которых зависит, определяющим образом именно от нравственных качеств руководителя.
Не случайно целый ряд источников среди качеств руководителя, имеющих значение для эффективности управления организацией, не разделяет профессиональные и индивидуальные (личные) [8, с. 96]. Так, среди важнейших качеств лиц, принимающих решения в бизнесе, особое внимание уделяется следующим (рис. 1):
       Качества лиц, принимающих решения в бизнесе
:
мотивации самооценка | индивидуальная рисковая стратегия |
|
| Субъективная значимость денег |
|
и уровень притязаний| конфликтное поведение, возможное девиантное поведение, а также невротическое и патологическое поведение. |
|
Рис. 1.
В процессе своей деятельности руководитель неизбежно проецирует свой внутренний мир, свои качества,все свои достоинства и недостатки на возникающие управленческие ситуации, на деятельность коллектива и развитие организации. В зависимости от этих качеств ситуации гармонизируются и разрешаются позитивно, способствуют развитию и усилению возглавляемого им коллектива и в целом организации, или наоборот, усугубляются, способствуют возникновению новых проблем и ведут к разложению коллектива, деградации, разрушению и, в конечном счете, к ликвидации организации.
Таким образом, не менее важны для успешности работы менеджера общее отношение к жизни и деятельности и его нравственные качества, в том числе уважение к людям, чувство долга, верность слову и делу, честность перед собой и перед другими, энтузиазм по отношению к работе, оптимизм, открытость, любознательность, креативность, самостоятельность суждений, гибкость поведения, беспристрастие, способность к критике и самокритике, доброжелательность, чуткость, отзывчивость, требовательность, великодушие, скромность, чувство нового.
Трудно переоценить значение для руководства и управления коммуникативных качеств менеджера, и, прежде всего, общительность, тактичность, умение слушать и понимать собеседника, умение ладить с людьми, вежливость, умение психологически корректно воздействовать на людей, умение сохранять дистанцию.
Весьма необходимы для менеджера его волевые качества - настойчивость, терпение, самообладание, способность к длительной концентрации внимания.
Большое значение для эффективности работы менеджера имеют также его эмоциональные проявления: естественность поведения, непринужденность, искренность в общении, устойчивость к стрессу, эмоциональная стабильность, способность к сопереживанию.
Следует отметить и иные качества, нередко забываемые, такие как алертность (расслабленная собранность, мгновенная готовность к адекватному действию без суеты и перенапряжения) и трезвость (подход к жизни и ситуациям в ней, при котором происходит объективная, истинная оценка происходящих событий и действий всех участвующих в них лиц, в том числе самого себя).
С другой стороны, для различных сфер деятельности менеджера - научной, практической, консультационной - можно выделить некоторые качества, которые имеют для этих сфер особое значение (рис. 2).
  Качества менеджера
| Практический руководитель |
Ученый руководитель |
Руководитель-консультант |
-Лидерские способности;
-уверенность в поведении с подчиненными, партнерами и клиентами, но эта уверенность не должна доходить до своих крайних проявлений – самоуверенности и самоутверждения.
|
-спонтанная любознательность;
-способность длительное время заниматься решением одной и той же проблемы;
-творческое мышление;
-фантазия;
-наблюдательность.
|
-уверенность в поведении с подчиненными, партнерами и клиентами, но эта уверенность не должна доходить до своих крайних проявлений – самоуверенности и самоутверждения. |
Рис. 2.
Коммуникативные качества имеют исключительно важное значение для деятельности практического руководителя и консультанта в области управления, менее важны они для ученого, специализирующегося на проблемах науки управления.
Следует иметь в виду, что в профессиональной деятельности, особенно на первых ее этапах трудно быть успешным во всем. Не ко всем видам деятельности, присущим менеджеру, начинающий руководитель проявляет одинаковые склонности и способности. Далеко не все свойственные сфере управления формы и методы осваиваются одинаково успешно. В этой связи начинающему менеджеру важно целенаправленно формировать свой индивидуальный стиль руководства, который бы учитывал с одной стороны, его склонности и способности, различного рода индивидуальные особенности, а с другой - необходимость развития профессиональных качеств и самосовершенствования.В этой связи начинающему менеджеру важно иметь адекватную самооценку, осознавать свои индивидуальные особенности, способности и склонности, сильные и слабые стороны характера, а также способы и методы компенсации собственных недостатков. Абсолютно недопустимы как исключающиеэффективное социальное управление негативные качества менеджера: вероломство, зазнайство, косность (рабская приверженность отжившим привычкам и традициям, неспособность воспринимать и поддерживать новое, диктуемое потребностями жизни), догматизм, формализм, авторитаризм.
Такого рода знания своих качеств помогают менеджеру формировать индивидуальный стиль управления, способствуют повышению эффективности его деятельности, а значит успешности действий возглавляемого им коллектива, стабильному развитию организации.
Для самостоятельной оценки своих качеств, в частности мышления, менеджерских способностей, волевого фактора, нравственных качеств менеджера следует учитывать мнение окружающих, использовать самонаблюдение, а также психологические тесты.
Вместе с тем следует учитывать, что стремление заниматься организаторской деятельностью и общаться с людьми во многом зависит от содержания соответствующих форм активности и от особенностей самого человека. В значительной мере это стремление определяется субъективной ценностью и значимостью для конкретного человека будущих результатов его деятельности и отношением к лицам, с которыми он взаимодействует. Часто склонности появляются в ходе таких видов деятельности и общения, которые вначале человеку безразличны, но по мере его включения в них становятся значимыми. Здесь весьма важны постановка человеком перед собой целей собственного развития, а также усилия, прилагаемые человеком в достижении поставленной цели.
Для эффективного руководства на любом уровне управления имеют значение две группы индивидуальных качеств менеджера [9, с. 152]:
1. качества, знания, навыки и умения, определяемые сферой деятельности организации (экономика, наука, культура, военное дело и т.д.). Здесь большое значение имеют образование по профилю деятельности, опыт работы в данной сфере, а также наличие личных связей в сфере деятельности организации;
2. качества и навыки, относящиеся к области руководства людьми и в своей сути не зависящие от сферы деятельности организации (лидерские качества и навыки, степень развития волевой, интеллектуальной и эмоциональной сферы, нравственные качества человека). В этой связи важным является то обстоятельство, что знания приобретаются в результате возможно весьма интенсивных учебных занятий, полного погружения в служебные ситуации, приобретаются и закрепляются относительно быстро при наличии Учителя и источников информации (книг, документации и т.д.), а также практики работы в конкретных жизненных ситуациях.
В то же время воля, эмоциональная и интеллектуальная сферы, нравственные качества руководителя (как и любого человека) формируются в течение всей его жизни. Развитие этих качеств требует напряженной работы над собой, осознания и нравственной оценки жизненных ситуаций, конкретных событий, своей роли и места в них. Это длительный процесс, резкие скачки в нем чрезвычайно редки и маловероятны.
Сущность большинства проблем в деятельности любой организации, сложных управленческих ситуаций составляют различного рода этические конфликты. Подобного рода конфликты возникают вследствие различия в интересах различных подразделений организации, разных работников, интересов отдельного работника и трудового коллектива или всей организации, интересов организации и потребителя или общества в целом и т.д. Для адекватного реагирования на уникальные управленческие ситуации и успешного, гармоничного разрешения возникающих проблем в деятельности организации требуются, прежде всего, нравственные качества руководителя, а также развитые эмоциональная, волевая и интеллектуальная сферы.
Таким образом, структура личности менеджера проецируется на деятельность управляемой им организации, поэтому для успешности управления важны все качества менеджера. Их нельзя разделить на профессиональные и индивидуальные качества, имеющие значение для эффективности управления. В этом состоит одна из особенностей профессии менеджера.
Некоторые качества человека имеют особое значение для разных сфер деятельности менеджера (практическое руководство, управленческое консультирование, научная деятельность в области социального управления), в их числе: лидерство, организаторские способности, коммуникативные качества.
Профессия менеджера не только требует для эффективности управления некоторых качеств у человека, но и сама формирует со временем эти качества.
В условиях современного управления организацией менеджер должен обладать рядом необходимых ему качеств, как личных так и профессиональных.
К профессиональным относят те, которые характеризуют любого грамотного специалиста. Обладание ими является лишь предпосылкой успешного выполнения служебных обязанностей.
Такими качествами являются:
1. высокий уровень образования, производственного опыта, компетентности в соответствующей профессии;
2. широта взглядов, эрудиция, глубокое знание не только своей, но и смежных сфер деятельности;
3. стремление к постоянному самосовершенствованию, критическому восприятию и переосмыслению окружающей действительности;
4. поиск новых форм и методов работы, помощь окружающим в овладении ими, их обучение;
5. умение рационально использовать время, планировать свою работу.
Личностные качества менеджера также мало чем должны отличаться от качеств других работников, желающих, чтобы их уважали и с ними считались. Здесь можно упомянуть:
1. высокие моральные стандарты;
2. физическое и психологическое здоровье;
3. внутренняя и внешняя культура, справедливость, честность;
4. отзывчивость, заботливость, доброжелательность к людям;
5. оптимизм, уверенность в себе.
Но обладание ими — тоже всего лишь предпосылка успешного руководства, ибо менеджером делают человека не профессиональные или личностные, а деловые качества, к которым необходимо отнести:
1. умение организовать деятельность подчиненных, обеспечить ее всем необходимым, ставить и распределять задания, координировать и контролировать их выполнение;
2. доминантность, честолюбие, высокий уровень притязаний, стремление к независимости, власти, лидерству в любых обстоятельствах, а порой и любой ценой, смелость, решительность, напористость, воля, бескомпромиссность;
3. контактность, коммуникабельность, умение расположить к себе людей, убедить в правильности своей точки зрения (специалисты полагают, что 80 процентов знаний менеджера должны составлять знания о человеке);
4. инициативность, оперативность в решении проблем, способность сконцентрироваться на главном;
5. умение управлять собой, своим поведением, отношениями с окружающими;
6. стремление к преобразованиям, нововведениям, готовность идти на риск и увлекать за собой подчиненных.
Требования к менеджерам в отношении этих качеств на различных уровнях управления неодинаковы.
На низких уровнях ценятся решительность, коммуникабельность, некоторая агрессивность; на средних - в большей степени умение общаться, отчасти концептуальные навыки; на высших уровнях на первое место выдвигаются умение стратегически мыслить, оценивать ситуацию, ставить новые цели, осуществлять преобразования, организовывать творческий процесс подчиненных.
Поскольку менеджер любого уровня не только организует и направляет работу сотрудников, но и при необходимости оказывает влияние на их поведение, в том числе и внеслужебное, он должен быть достаточно хорошо подготовлен педагогически.
1.2 Особенности труда руководителя, критерии оценки труда
Основное содержание деятельности менеджера, - это управление, руководство людьми и это является главной особенностью профессии менеджера. Управление выступает как важнейший и наиболее эффективный в современном мире способ осуществления власти. В общем случае власть - это способность и возможность осуществлять свою волю, оказывать определяющее влияние на поведение и деятельность отдельных людей и их групп с использованием авторитета, права, насилия, денег и т.д. В свою очередь, наличие власти является необходимым условием эффективного руководства [13, с. 49].
Основные особенности профессиональной управленческой деятельности обусловлены следующим [7, с. 92]:
1. неопределенностью условий принятия решений (дефицит информации и времени для выработки обоснованных критериев выбора управленческого решения);
2. высоким уровнем рисков, имеющих значение не только для самого руководителя, но и для подчиненного ему коллектива, а также организации в целом;
3. повышенной ответственностью субъекта управления за последствия принимаемых решений. В случае негативных последствий речь идет об ответственности не только административной (иногда и уголовной), но главным образом моральной;
4. положением, при котором субъект управления является одновременно руководителем и подчиненным;
5. особыми (повышенными) требованиями, предъявляемыми к уровню профессионализма субъекта управления, — к знаниям, навыкам, уровню образования и качеству воспитания, а также к нравственным и деловым качествам руководителя;
6. наличием значительного конфликтного потенциала во взаимодействии руководителя и подчиненного, руководителя и коллектива, между руководителями, между различными организациями. Этот потенциал требует нейтрализации, а ситуации конфликта — гармонизации и разрешения без ущерба для участвующих сторон;
7. весьма высокой интенсивностью контактов субъекта управления с другими людьми. Каждый из подобного рода контактов требует от руководителя внимания, определенного психического напряжения и больших затрат энергии;
8. определяющим влиянием, которое оказывают на содержание решений личные качества и интересы лиц, принимающих это решение;
9. конкурентным характером взаимодействия интересов представителей различных звеньев и уровней управления деятельностью организации, которые в большинстве случаев не совпадают;
10. уникальностью управленческих ситуаций. Каждая управленческая ситуация существенно отличается от всех других, несмотря на то, что существуют и так называемые типовые и стандартные ситуации. Неповторимость реальной, даже стандартной, ситуации определяется уникальностью ее участников, каждый раз новым сочетанием условий и факторов, имеющих значение для ее разрешения. Успешное разрешение любой управленческой ситуации предполагает использование руководителем своего творческого потенциала.
Для характеристики профессии менеджера важными являются также следующие основания общей классификации профессий:
1. содержание труда (по предмету, цели, средствам, способам, условиям), т.е. характеристика объекта труда;
2. характер требований к психике человека, т.е. характеристика субъекта труда.
По объекту труда профессию менеджера следует отнести к числу профессий, ориентированных на взаимодействие «человек- человек». Вместе с тем менеджер может руководить и группой людей, профессионально ориентированных на взаимодействие «человек - живая природа» (инженеры, механики), «человек - знаковая система» (редакторы, чертежники), «человек - художественный образ» (артисты, телеведущие).
По целям профессия менеджера - преобразующая, причем объектом преобразования выступает социальная реальность (различные ее аспекты).
По средствам труда менеджер относится преимущественно к числу профессий умственного труда, используются при необходимости средства обработки информации - вычислительная и организационная техника.
По условиям труда профессия менеджера относится, скорее, к числу профессий, связанных с работой в микроклимате, близкому к комфортному, нередко в условиях повышенной ответственности за жизнь и здоровье людей.
Профессия менеджера требует высококвалифицированного труда и длительной дорогостоящей подготовки кадров, наиболее высокой степени активности и уровня ответственности человека, а также требующая сочетания у человека многих качеств, прежде всего коммуникативных и организационных.
По мере повышения уровня должностного положения менеджера характер требований к психофизическим особенностям человека изменяются от относительной профессиональной пригодности (отсутствие необходимых качеств может компенсироваться мотивацией, опытом) до абсолютной профессиональной пригодности, для которой необходимы определенные природные данные (качества лидера, организаторские способности и т.д.).
Труд менеджера с повышением его должностного положения изменяется также от самостоятельного (в пределах задачи предоставляется простор для самостоятельного выбора приемов работы) до свободного творческого труда (характерен для «топ-менеджеров» - работник самостоятельно выбирает не только приемы деятельности, но и задания).
Важная особенность профессии менеджера заключается в том, что он может руководить работой групп людей, профессия которых связана с иными [2, с. 342]:
1. целями (гностическими профессиями - эксперт, ревизор; изыскательскими - научный работник);
2. объектами (взаимодействие «человек - живая природа» - инженер, механик и др.; «человек- человек»- врач, учитель, продавец и др.);
3. средствами (ручного труда - представители ремесел; машинно-ручного труда - машинист, водитель; с применением автоматизированных систем - оператор);
4. условиями - с работой в необычных условиях (пожарный, водолаз), с экстренными и экстремальными ситуациями (сотрудники МВД, МЧС и др.);
5. степенью квалификации (профессии с простым квалифицированным трудом, профессии, не требующие специальной подготовки);
6. характером труда (автоматический труд - строго регламентированный, с однотипными мелкими операциями в течение дня, задания и приемы однообразны, в частности рабочий-сборщик; полуавтоматический труд - действия не всегда строго регламентированы, перечень заданий и приемов однообразен, но возможно разнообразие в ритме и стиле, в частности машинистка; шаблонный исполнительский труд - задания и приемы разнообразны, но строго оговорены инструкциями, в частности швея).
Существует четыре типа профессии управленца (менеджера организации) [8, с. 32]:
1. руководитель. Его основная деятельность- управление конкретным коллективом людей (организацией), принятие управленческих решений для решения практических задач в рамках своей компетенции;
2. консультант в области управления. Здесь его деятельность также связана с решением практических задач, однако она ограничивается консультированием, т.е. подготовкой и представлением руководителю (организации) конкретных советов по решению проблем в области социального управления. Принятие решения с учетом полученного совета остается за руководителем. Он же несет и всю полноту ответственности за принятое решение;
3. ученый в области управления. Суть его основной деятельности - научные исследования, направленные на поиск и формирование знаний в области управления, изучение закономерностей социального управления, выявление, объяснение, обоснование и прогнозирование событий и явлений в сфере менеджмента;
4. преподаватель менеджмента. Смысл деятельности преподавателя заключается в обучении, передаче знаний в области управления, руководстве самообразованием менеджеров, управленческом просвещении.
С каждым из указанных типов профессии управленца связаны специфичные требования к профессиональной подготовке и индивидуальным качествам специалиста [13, с. 162]. Так, для руководителя особенно важны лидерские качества, свободное владение управленческим инструментарием на практике. Для ученого в области управления - творческие способности, склонность к анализу, обобщению информации, к поиску новых знаний в сфере научного управления. Для преподавателя менеджмента - его способности методиста и дидактика, умение заинтересовать учащихся решением проблем управления, направить его самостоятельное обучение, навыки передачи знаний.
Любая профессия требует опыта и мастерства, по мере профессионального роста человек может расширять сферу своих профессиональных интересов или искать новые сферы приложения своих способностей и знаний, специализироваться в более узких или новых областях. Так, ротация управленцев высшего звена управления является основой для формирования так необходимого сейчас России корпуса «топ-менеджеров» (высшего менеджмента). В качестве более широкой сферы приложения сил и способностей менеджера федерального уровня можно рассматривать, в частности, руководство межведомственной комиссией. Как более узкая сфера деятельности управляющего крупным предприятием может выступать руководство федеральной целевой программой.
В связи с реформированием экономики России до настоящего времени возникают новые области, в которых требуется квалифицированное управление, в их числе риск-менеджмент, антикризисное управление, создание единой системы благотворительности, разработка и внедрение новых социальных идей (связанных с экологией, распространением здорового образа жизни и т.д.) [7, с. 9].
Роль менеджера в организации - направляющая, формирующая, структурирующая, и в целом организующая. Деятельность менеджера направлена на то, чтобы работники стали не просто арифметической суммой людей со своими проблемами и интересами, но сплоченным коллективом, нацеленным на созидание, на выполнение общественной задачи, чтобы проявились все позитивные эффекты социальной организации, ради которых люди и объединятся в ней, чтобы организация стала действительно организацией.
Структурирующее воздействие менеджера касается работников организации, самой организации, ее связей с внешним миром и даже фрагментом внешнего мира, представляющего собой сферу деятельности организации.
Менеджер организации (руководитель) выполняет также многообразные иные, дополняющие друг друга функции (рис.3).
      Функции менеджера:
Админис
тратор
|
Организатор |
Профессионал |
Общественный деятель |
Преподаватель |
Психолог |
Воспит
атель
|
Рис. 3.
Руководитель (менеджер) организации использует свои административные полномочия для достижения целей организации, действует в строгом соответствии с нормативно-правовыми актами, участвует в реализации кадровой политики.
В роли организатора руководитель проявляет способность квалифицированно определить предпосылки и цели деятельности, подобрать исполнителей, распределить между ними функции в соответствии с их способностями, опытом и склонностями, поставить перед ними задачи, распределить ответственность, правильно расставить акценты в деятельности, выделить необходимые ресурсы, а затем координировать деятельность подчиненных.
Роль профессионала (специалиста) в деятельности руководителя связывается, прежде всего, с его знаниями и опытом в конкретной области практической деятельности, способностью сформулировать критерии оценки деятельности, осуществить ее планирование, провести инструктаж, анализировать ход выполнения решения, наконец, в случае необходимости самостоятельно эффективно осуществить профессиональную деятельность, решить конкретную профессиональную задачу, показав личный пример подчиненному.
Руководитель в роли преподавателя (педагога) должен проявить способность обучить подчиненного необходимым приемам и навыкам труда, этике профессии, подходам к разрешению возможных конфликтов интересов взаимодействующих сторон, использованию специфичных форм и методов в конкретной сфере профессиональной деятельности, передать ему свои знания и опыт.
Выполнение руководителем роли психолога означает его деятельность, направленную на сплочение коллектива, учет особенностей психики подчиненного в процессе общения, обмена информацией с подчиненным, при постановке целей и задач деятельности перед подчиненным и коллективом в целом, при распределении обязанностей, при оценке результатов труда, при определении мер поощрения и наказания.
Роль воспитателя предполагает помощь работнику со стороны руководителя в понимании традиций организации, в осознании общественно значимых целей деятельности организации. Весьма важным является также формирование у работника чувства служебного долга, усвоение им элементов корпоративной культуры. Руководитель помогает подчиненному, с одной стороны, проникнуться духом организации, а с другой - укрепить его гражданские позиции.
Роль представителя организации (общественного деятеля) - подписывает от имени организации документы, представляет организацию во внешней среде, в вышестоящих организациях, взаимодействует со средствами массовой информации, принимает посетителей организации, в целом, как теперь принято говорить, осуществляет связи с общественностью, принимает совместно с общественными организациями решения по социальным вопросам, участвует в конференциях и иных общественных мероприятиях.
Следует иметь в виду также, что во всех случаях главенствующей для руководителя (менеджера) остается роль организатора.
Таким образом, основным содержанием деятельности менеджера является управление людьми.Целью деятельности менеджера является обеспечение максимально эффективной совместной деятельности людей.
Профессия менеджера ориентирована на взаимодействие «человек - человек», это профессия преимущественно умственного труда, преобразующая социальную действительность, требующая квалифицированного труда, высокой активности и ответственности человека. На высших уровнях управления требуется абсолютная профессиональная пригодность.
Менеджер может руководить группами людей, профессия которых имеет различные цели, связана с разными объектами, средствами, условиями и характером труда, степенью квалификации.
Основными видами профессиональной деятельности менеджера организации являются: управленческая, организационная, экономическая, планово-финансовая, маркетинговая, информационно-аналитическая, проектно-исследовательская, диагностическая, инновационная, методическая, консультационная, образовательная.
Акцент на одну или несколько из своих ролей менеджер делает в зависимости от своего образования, индивидуальногопрофессионального опыта работы в соответствующей сфере, от продолжительности работы в конкретной должности, от уровня управления.
1.3 Развитие карьеры менеджера
Для успешного менеджера необходимы многие качества. Но основа - это способность к развитию. Развитие — это постепенное увеличение количества задач, которые менеджер может решать качественно, без посторонней помощи. Если руководитель со временем не увеличивает количество этих задач, то это может означать, что его развитие остановилось.
Можно также определить причины результативности работы и вывести некую формулу для успешного менеджера:
1. Образование.
Фундаментальные знания позволяют заглянуть внутрь процессов, происходящих на предприятии.
2. Управленческий потенциал.
Должен быть лидер, работающий по современным технологиям, разрабатывающий свои методики, проекты и программы. Также важна компетенция. Чтобы контролировать ситуацию, руководитель должен досконально знать каждый участок своего предприятия. Иначе процесс управления может свестись к некомпетентным распоряжениям.
3. Маркетинг.
Каждый руководитель, работающий на динамичных рынках, должен знать базовые законы рынка, уметь отличать торговую марку от бренда.
4.
Опыт прямых продаж.
5.
Личностные качества
(высокие этические нормы, интеллигентность, ум, честность, открытость).
6.
Самомотивация.
Каждый человек знает и умеет гораздо больше того, что делает.
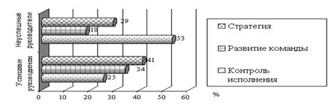
Залог успешной работы в современной организации, в том числе успешного восхождения по корпоративным ступеням, — совокупность качеств, которая в последние годы обозначается как «эмоциональный интеллект». Умение общаться, говорить с людьми, понимать настроение и интересы присутствующих, мотивировать — все эти качества обладают обманчивой, кажущейся простотой и вместе с тем они не столь очевидны, как конкретные и четко очерченные технические знания и навыки. В последние годы проводились исследования, посвященные сравнению работы успешных и неуспешных руководителей организаций. По данным исследований, проведенных компанией Хагберг Консалтинг Групп
(рис. 1), успешные руководители по сравнению с неуспешными тратят меньше времени на контроль исполнения (25% против 53%), больше занимаются развитием команды и согласованностью работы (34% против 18%) и максимум усилий сосредоточивают на формировании стратегии (41% против 29%).
Сравнение работы успешных и неуспешных руководителей организации

Рис. 1.
На первый взгляд, задача развития менеджеров ясна: повышать культуру и навыки управления. Однако не все так просто. Вот как формулирует запрос к обучению менеджеров директор по персоналу крупной компьютерной фирмы: «Все наши менеджеры выпускники престижных вузов — МГУ, МФТИ, МАИ, МВТУ и т. д. Они — высококлассные технические специалисты с замечательным интеллектом, прекрасно информированы, много читают. Но это не значит, что они готовы к ролевой позиции менеджера. Есть разрыв между их знаниями и реальной позицией. К роли менеджера многие из них попросту еще не готовы». «Наших менеджеров с самого начала тренинга нужно проблематизировать - добиться, чтобы они поняли, чего они не понимают. Ведь их основная проблема в том, что они не понимают, не видят своей собственной проблемы. Они — классные специалисты, и мышление у них чисто техническое. Они видят техническую задачу и бросаются ее решать. Им легче сделать самим, чем организовать других людей. То есть они не понимают, что они в позиции организатора работы. С самого начала тренинга нужно что-то, что помогло бы им понять, что у них есть проблема».
Представим себе профессионала, который начинал как технический специалист и постепенно продвигался по ступеням менеджерской лестницы. По мере перехода от роли технического специалиста к роли менеджера значение технических навыков снижается. Для успешной работы менеджера наиболее важными становятся выработка и принятие решений, планирование, организация работы, мотивирование сотрудников, контроль за ходом выполнения работ, руководство как отдельными сотрудниками, так и работой команды, навыки общения. Для руководителей высшего звена успех все в большей степени зависит от интуиции, гибкости, оперативности, разносторонности, цельности и других личностных качеств, которые проявляются в реализации и развитии корпоративной политики.
Туризм является одной из крупнейших и динамично развивающихся отраслей экономики. Высокие темпы его развития, большие объемы валютных поступлений активно влияют на различные сектора экономики, что способствует формированию собственной туристской индустрии. На сферу туризма приходится около 6% мирового валового национального продукта, 7% мировых инвестиций, каждое 11% мировых потребительских расходов и 16-е рабочее место. Поэтому, в наши дни нельзя не заметить того огромного влияния, которое оказывает индустрия туризма на мировую экономику. Необходимо заметить, что вопрос подбора персонала для туризма в целом и для туристической организации в отдельности имеет первостепенное значение. Кадры до сих пор, несмотря на все современнейшие достижения, «решают все».
Но, на мой взгляд, одной из главных проблем туризма сегодня является отсутствие профессионально подготовленного персонала для сферы услуг. Отрасль динамично развивается, число турфирм, отелей и, особенно, ресторанов растёт на глазах, а кадров не хватает. Разумеется, каждый владелец турфирмы, отеля или ресторана хочет иметь грамотный персонал – все хотят получить услугу хорошего качества.
Один из французских деятелей туризма так сформулировал принцип сервиса: «Сверхзаботливость и сверхпредупредительность любой фирмы и ее великолепных сотрудников имеет лишь одну цель - удержать привлеченного рекламой клиента и выкачать из него как можно больше денег». И это действительно так, ведь качественное обслуживание туристов, обретение постоянной клиентуры и обеспечение себе тем самым устойчивой финансовой и конкурентной позиции на рынке туристских услуг - вот что является важным фактором для любого туристского предприятия, причём работа в этом направлении должна вестись постоянно.
Поэтому в данном исследовании будут рассмотрены различные примеры высокой и низкой культуры обслуживания клиентов наиболее крупными организациями, действующими в сфере туризма (гостиницы Ritz-Carlton, Holiday Inn, FourSeasons, La Quinta Motor Inns, компания «Disney» и др.)
Главным достижением этого десятилетия можно считать появление конкуренции в сфере туризма, которая заставляет руководство туристических фирм искать ответы на вопросы: что их потребители хотят покупать? Где? Как? Сколько и почему? Дело в том, что в системе рыночной экономики направления деятельности любой фирмы определяет потребитель, который приобретает туристский продукт по своему собственному усмотрению, и тем самым указывает продавцу, что необходимо предлагать на рынке. Туристское предприятие, предлагающее услуги, которые эффективно удовлетворяют нужды и запросы клиентов, будет щедро вознаграждено. И наоборот, тот, кто не сумеет добиться этого, будет наказан потерей потребителей со всеми вытекающими отсюда последствиями. Исследование потребителей, выявление основных мотивов приобретения туристских услуг и анализ потребительского поведения вооружает руководителей и специалистов фирмы мощным арсеналом, без которого невозможна успешная деятельность на современном рынке, а именно - знанием своего клиента.
Итак, одна из главных задач индустрии туризма состоит в том, чтобы развивать обслуживающую сторону бизнеса, развивать культуру сервиса. А это, прежде всего, культурный сотрудник фирмы (менеджер). Для этого требуется работать профессионально, со знанием дела, точно, быстро, предупредительно, с чувством собственного достоинства и уважения к гостю, работать вежливо, тактично, красиво и с улыбкой, не путать гостеприимство с подобострастием, вести себя с достоинством.
Важно именно то, что люди, занятые в сфере туристского бизнеса, должны быть всецело ориентированы на клиента. Они сами являются своего рода частью туристского продукта, предлагаемого их туристской фирмой. Как они отвечают по телефону, приветствуют гостя и решают его проблемы, от этого зависит, будет ли он удовлетворен предложенными услугами. В настоящее время весь персонал организаций индустрии туризма должен выполнять свою работу так, чтобы клиент вернулся из путешествия с глубоким чувством удовлетворения. Их отношение, внешний вид и готовность выполнить любую просьбу туриста формируют общие впечатления от поездки. Менеджеры организаций, осуществляющих прием туристов, предоставляют услуги, которые через их посредничество становятся частью продукта. Они должны обслужить туриста так, чтобы он стал постоянным клиентом. От этого напрямую зависит доход туристской организации, т. к. увеличение постоянных клиентов на 5 % может обеспечить возрастание прибыли до 125%.
Индивидуальный характер туристического обслуживания обуславливает продолжительный контакт с потребителем. При этом процессы производства и предоставление услуг совпадают во времени, в клиенты являются прямыми свидетелями, а в некоторых случаях - и участниками обслуживания. Отсюда высокие личные и профессиональные требования к персоналу предприятий туристической индустрии.
К первой группе требований относятся личные характеристики, которые тяжело поддаются изменениям. Большинству профессий туристической индустрии присущи естественная презентабельность и приветливость, творческий подход к выполнению обязанностей, быстрая реакция, отличная память, порядочность.
К второй группе относятся требования, которые касаются профессиональных знаний и умений, приобретенных в процессе обучения и трудового стажа, к которым относят: уровень квалификации, умение общаться, владение иностранными языками, производительность работы, трудовая дисциплина, качество работы и т.п.
Уровень квалификации характеризует физические и умственные способности человека, которые она использует в трудовом процессе во время выполнения конкретной задачи. Свойствами персонала, которые обеспечивают соответствующий уровень квалификации, являются эрудированность, профессиональная компетентность работников, знание, умение, привычки.
Для персонала предприятия туристической индустрии несоответствие занимаемой должности приводит к ошибкам при осуществлении отдельных действий, манипуляций и операций, которое увеличивает время их выполнения (при организации трансферов, экскурсий, путешествий в пределах страны и за границей в туристическом бизнесе, а также при предоставлении услуг гостеприимности на предприятиях гостиничного хозяйства).
К управленческому персоналу предприятий туризма и гостиничного хозяйства (менеджеров) профессиональные требования имеют более специфический характер: понимание природы управленческой работы и процессов менеджмента, знание должностных и функциональных обязанностей менеджера, путей достижения поставленных целей и повышения эффективности работы предприятия, умение; пользоваться современными информационными технологиями и средствами коммуникации, которые необходимые в процессе руководства, владение искусством управления человеческими ресурсами и отладка внешних связей, способность к самооценке, умение строить правильные заключения и беспрерывно повышать квалификацию. Соблюдение вышеупомянутых требований обеспечивает высокую конкурентоспособность персонала,
под которой понимают совокупность личных и профессиональных свойств персонала, которые дают возможность быстро воспринимать и анализировать ситуацию, принимать оптимальные решения и эффективно исполнять функциональные обязанности, а также эффективно реализоваться на рынке работы.
Итак, исходя из всего вышеперечисленного, менеджер, работающий в сфере туризма, должен владеть многими нужными навыками (Приложение 1). Он должен быть человеком высокой культуры, знать и выполнять правила этикета, усвоить общепринятые нормы международного права, обладать высокоразвитым эстетическим вкусом, разбираться в вопросах политики, экономики, культуры, уметь на надлежащем уровне принять каждого приезжающего, создать уют, обеспечить высокое качество обслуживания. Лучшим проявлением эмоциональной культуры руководителя является умение создать обстановку так называемого максимального благоприятствования: приветливость, улыбка, добросердечие и доброжелательность находят отклик у каждого клиента.
Так, например, Айсадор Шарп (руководитель сети отелей «FourSeasons») поддерживает культуру обслуживания в отелях компании личным примером общения с персоналом и последовательной политикой компании в этом вопросе. Принцип приоритета интересов клиента у них связан с практикой поощрения служащих за неординарные действия, направленные на удовлетворение нужд клиента, - их провозглашают лучшими работниками года.
Хотелось бы привести некоторые примеры обслуживания туристов сотрудниками службы сервиса в наиболее крупных зарубежных предприятиях индустрии туризма
:
1. Как-то остановившись в гостинице Holiday Inn, гость поинтересовался у клерка стола регистрации относительно структуры компании: сколько гостиниц они объединяют? Где они расположены? Служащий не мог ответить ни на один вопрос.
2. Чтобы эффективно работать, служащие должны регулярно получать информацию о своей компании. Историю компании, текущее состояние дел, миссию фирмы и ее видение - все это должны знать служащие. В них надо поощрять чувство гордости их новым нанимателем. У них должно быть желание вносить вклад в общий успех компании. В компании Disney все новые служащие проходят курс обучения «Традиции», где они узнают о своей компании, ее основателе и системе ценностей и убеждений. Затем служащие обучаются по своим конкретным специальностям. Disney обучает продавцов билетов в течение четырех дней, так как компания хочет, чтобы они были больше, чем просто продавцы билетов, и стали прекрасными членами коллектива. Это означает, что все они - члены одной команды. Подобно другим сотрудникам Disney они берут на себя роль представителей фирмы. В то время как они продают в киоскахбилеты, посетители парка аттракционов постоянно задают много вопросов. Они должны знать ответы на эти вопросы или уметь быстро найти их. Компания Disney понимает важность этих моментов.
3. La Quinta Motor Inns собирает служащих своих гостиниц из каждого из 18 регионов в головную контору для специальных сессий. Цель этих сессий: высказать признательность служащим и подчеркнуть, что все служащие уполномочены делать все необходимое, чтобы оправдать ожидания гостя. Когда фирма уполномочивает служащих на самостоятельные решения в пользу потребителя, это перемещает полномочия и ответственность при принятии решения от различного рода начальников к рядовым служащим.
4. В ресторане быстрого обслуживания не разрешалось посетителям пользоваться служебным телефоном, хотя телефонов, предназначенных специально для клиентов, в помещениях не было. Но как-то вечером один человек, на которого напали недалеко от ресторана, попросил разрешения воспользоваться телефоном. Служащие отказали ему в этом. Инструкция предписывала не разрешать посетителям пользоваться телефоном. Направленность их общей культуры обслуживания приучила служащих действовать строго в соответствии с инструкцией. Они оказались неспособны к принятию неординарного решения, которое шло вразрез с указаниями руководства компании. В прессе эта история была представлена как яркий пример безразличного отношения бизнеса к человеку. В результате ресторан получил отрицательную рекламу, и только удача помогла фирме избежать судебного иска.
5. Гость позвонил сотруднику регистрации гостиницы Las Hadas, курорта с пятью звездами в Мексике, и попросил принести ему дополнительные полотенца. Клерк, отвечающий на телефонный звонок, был озадачен. Конечно, гость мог знать, что по поводу полотенец нужно звонить в соответствующий отдел. Поэтому оператор заявил, что это - регистрация и в его служебные обязанности такой вопрос не входит, затем он посоветовал гостю звонить в хозяйственный отдел и повесил трубку.
6. Или, например, часто посетители ресторана, сидя за столами и просматривая меню обеда, просили принести им спиртное. Некоторым из этих гостей отвечали, что они должны обратиться не к официанту, разносящему еду, а к официанту по коктейлям. Официант, переадресовывая клиента другому человеку, тем самым делает ошибку, оставляя просьбу посетителя невыполненной. В обоих упомянутых выше инцидентах первый служащий, к которому обратился клиент, должен был позаботиться о его просьбе и сам передать ее соответствующему служащему. Такой подход называется соучастием в решении проблемы. В отеле Ritz-Caгlton первый служащий, получивший запрос гостя или его жалобу, отвечает за это. Именно первый служащий добивается, чтобы гость получил то, в чем он нуждается, и сам переадресует поступившую просьбу в соответствующие подразделения фирмы, а затем удостоверится, что все было выполнено хорошо, и клиент остался доволен. Данная организация нанимает «специальных тренеров», чтобы они в течение дня поработали со служащими компании, которые контактируют с клиентами, и привили им интерес к качественному обслуживанию клиента.
Нужно сказать, что люди сразу же чувствуют высокую культуру организации. Так, у сотрудников отеля Marriott уже вошло в привычку сразу же «поворачиваться лицом к клиенту». Глава компании Й. Уиллард Билл Марриотт-мл. последовательно наставляет, обучает и напоминает сотрудникам о важности клиента и его запросов. Сеть Four Seasons включает несколько гостиниц, и в любой из них служащие неизменно встречают гостя тепло, с искренним желанием помочь.
7. В гостинице Ritz-Carlton посыльный по ошибке принес гостю багаж лишь через час после того, как тот поселился в гостинице. После того как багаж был доставлен с опозданием, он сказал об этом руководителю своего участка. Руководитель участка лично принес извинения гостю и отметил в банке данных компьютера гостиницы, что у этого гостя были проблемы, и он должен получить исключительное обслуживание в течение всего остального времени его пребывания. Это рациональный способ решения проблемы, но такое бывает исключительно редко. В гостинице с обычной организационной структурой служащий, допустив ошибку, надеется, что его непосредственный начальник никогда об этом не узнает и даже пробует скрыть этот факт. Он знает, что его могут наказать, если начальник узнает о допущенной ошибке. Это говорит о том, что гостиница Ritz-Carlton обладает высокой культурой обслуживания, здесь во главе стоит задача наилучшим образом обслужить клиента. Посыльный был обеспокоен, прежде всего, проблемой постояльца и знал, что непосредственный начальник примет меры, которые позволят гостинице поправить его ошибку. Тот, в свою очередь, также не побоится сообщить о допущенной ошибке другим отделам и их руководству.
В данном случае всё зависит от организационной структуры. Кэн Блэншард, автор «Менеджер на одну минуту», утверждает, что проблема обычной организационной структуры состоит в том, что каждый сотрудник работает на своего начальника. А поскольку служащие хотят преуспевать в организации, то они больше всего обеспокоены тем, как руководство оценивает их работу. Проблема такого типа организации компании состоит в том, что каждый сотрудник обеспокоен тем, как он выглядит перед начальником, и вся организация мало внимания уделяет клиенту. В компании, обладающей высокой культурой обслуживания, на первом месте всегда стоит клиент, а администрация и руководство - в самом низу организационной структуры. При таком типе организации работа каждого сотрудника направлена на то, чтобы как можно лучше обслужить клиента. Общекорпоративное руководство помогает генеральным менеджерам обслуживать клиента, генеральные менеджеры поддерживают соответствующие отделы в обслуживании клиента, начальники отделов разрабатывают системы, которые позволяют руководителям участков лучше обслуживать клиента, и руководители участков помогают рядовым служащим в обслуживании клиента.
Таким образом, исходя из всех выше перечисленных примеров, мы можем сказать, что руководство должно развивать культуру сервиса, культуру, которая направлена на обслуживание клиента на основе определенных правил, процедур, системы поощрений и действий. Но, несмотря на действия человека как работника, качественно ли он трудится или нет, каждый работник компании - личность. Человек живет, работая, и в процессе работы он реализует себя как личность. Для руководства любой туристской организации важно не столько стимулировать, сколько оценивать значение его труда, ведь именно учёт заслуг, благодарность за выполненную работу усиливают стимулы к труду.
2.2 Анализ деятельности менеджеров в русских турфирмах. Обслуживание клиентов
В настоящее время (по материалам ВТО) одно из 15 - 17 рабочих мест в мире относится к сфере туризма. Для сравнения - в России - 1 рабочее место из 300 может быть отнесено к данной сфере, в Москве - 1 из 130. Согласно экспертным оценкам ВТО, в индустрии туризма занято около 130 млн. человек, что составляет около 7 % общей занятости.[1]
Естественно, что в области национального и международного туризма российским турфирмам приходится конкурировать с чётко организованным туризмом зарубежных фирм, опирающимся на устоявшиеся правовые нормы, признаваемые большинством крупнейших туроператоров, владельцев гостиниц и перевозчиков.
Анализ деятельности многих отечественных туристских фирм, гостиниц и ресторанов показывает, что уровень подготовки персонала, качество предоставляемых в них услуг уступают общепринятым на Западе мировым стандартам. Анализ же кадрового потенциала предприятий туризма таких крупных туристских центров, как Москва, Санкт-Петербург, в свою очередь, показывает, что, за редким исключением, работники либо вообще не имеют высшего специального туристского образования, либо получили отрывочные знания на краткосрочных платных семинарах и курсах. Именно поэтому производительность труда в российском туристском секторе остаётся достаточно низкой.
Насколько наши гости чувствительны к уровню качества предоставленных услуг и культуре обслуживания, свидетельствуют следующие отзывы[2]
:
- Туристы из Англии: «Недостатки в обслуживании заставляют нас колебаться, приехать ли нам ещё раз в Россию»;
- Владелец двух отелей из Аргентины: «Обслуживание нуждается в 100-процентном улучшении - в противном случае туризм у вас никогда не будет процветать. Обратитесь к международной практике, правилам и традициям, изучите их, улучшите обслуживание - и у вас увеличится поток туристов, прибывающих в вашу страну, ваш отель.
Да, туризм в России развивается, продолжается создаваться заинтересованность для поездок в нашу страну, но уровень сервиса, как уже было отмечено выше, в нашей стране очень не высок. В настоящее время данная проблема находит своё решение в обеспечении профессионального обучения персонала, а также в его профподготовке.
Все мы знаем известный лозунг - «Клиент всегда прав». В сфере туризма он производит двойной эффект. Не случайно опытные специалисты по туризму говорят: «Та страна, то предприятие, которые лучше удовлетворят запросы туристов, получат и лучший кусок туристского пирога». Потребитель определяет сущность бизнеса, его направленность и шанс на успех. Именно поэтому работники туристского предприятия должны всецело ориентироваться на клиента.
Таким образом, в туристской индустрии персонал - самый важный компонент товара, так как он непосредственно контактирует с клиентами, и повышение культуры обслуживания является важным фактором повышения конкурентоспособности предприятия, при этом можно предложить следующие направления повышения уровня конкурентоспособности персонала предприятий туристической индустрии:
1. Повышение требований к персоналу во время приема на работу.
2. Повышение квалификации кадров:
- первичное обучение в соответствии с задачами предприятия и специфики работы;
- обучение для ликвидации разрыва между требованиями к должности и личными качествами;
- обучение для повышения общей квалификации;
- обучение для работы за новыми направлениями развития организации;
- обучение для усвоения новых приемов и методов выполнения трудовых операций.
3. Внедрение новых технологий в обслуживании туристов.
4. Применение метода нулевого дефекта.
5. Сокращение случаев нарушения трудовой дисциплины благодаря проведению работы с персоналом.
6. Снижение количества затрат, связанных с проведением работ относительно обслуживания персонала.
7. Внедрение мероприятий научной организации работы: расстановка кадров в соответствии с квалификацией, образованием, возрастом, темпераментом.
Профессия «менеджер», содержание которой составляет управленческая деятельность, ориентированная на условия рыночной экономики, представляет собой сложное образование. Для овладения этой профессией необходимо иметь самые высокоорганизованные из личностных качеств и способностей, обладать самыми сложными из практических умений и навыков.
Профессию «менеджер» отличает сложность в содержании и разделении труда, характерная для управленческой деятельности, отсутствие четких критериев оценки квалификации, взаимосвязь профессии менеджера с особенностями личности её носителя. Будучи продуктом общего разделения труда, управленческая деятельность сама предполагает такое разделение, что отражает сложность этой профессиональной сферы деятельности.
В современной теории существует множество различных концепций профессии «менеджер», акцентирующих внимание либо на требованиях к компетентности, либо на особенностях ролей, присущих труду менеджера в организации.
Компетентность (научно-профессиональные качества) менеджера предполагают наличие у него специального образования, широкой общей и специальной эрудиции, постоянное повышение своей научно-профессиональной подготовки. При этом компетентность имеет отношение к конкретному менеджеру, а компетенция – к определённой должности
Ролевое содержание управленческого труда отличается широким разнообразием и представляет большой теоретический и практический интерес для понимания сущности профессии «менеджер». Так, М.Х.Мескон и соавторы называют десять ролей, выполняемых руководителем, в рамках таких групп, как: межличностные, информационные, роли, связанные с принятием решения. В частности, в группе межличностных ролей выделяют роль «связующего звена», среди связанных с принятием решений – роль распределителя ресурсов (в том числе и профессионального потенциала подчиненных). Э.М.Коротков называет такие роли, присущие труду менеджера, как: концептолог, инноватор, организатор, эксперт. Ролевое развитие выступает в качестве важного условия успешной карьеры менеджера.
1. Гаврилов А. И. Профессионализм кадров // Туристические фирмы. - 1998 год. - № 16. - С. - 121.
2. Зайцев Н.Л. Экономика, организация и управление предприятием. – М.: Инфра-М, 2004.
3. Зорина Г. И. Основы туристской деятельности. - М.: Советский спорт, 2002.
4. Кабушкин Н. И. Менеджмент туризма. – Минск: ООО Новое знание, 2001.
5. Квартальнов В. А. Теория и практика туризма. - М.: Финансы и статистика, 2003.
6. Котлер Ф., Боуэн Д., Мейкенз Д. Маркетинг. Гостеприимство. Туризм. – М.: ЮНИТИ, 1998.
7. Общий и специальный менеджмент. / Под общ. ред. А.Л. Гапоненко, А.Н. Панкрухина. – М.: РАГС, 1997.
8. Одинцов А.А. Менеджмент организации. Введение в специальность. – М.: Экзамен, 2004.
9. Психология личности./Под ред. Ю.Б. Гиппенрейтер, А.А. Пузырея.- М.: Просвещение, 1992.
10. Румянцева З.А. Общее управление организацией. Теория и практика. – М.: Инфра-М, 2001.
11. Сенин В. С. Организация международного туризма. – М.: Финансы и статистика, 2000.
12. Сусанов А.Н. Ваш психологический портрет. – Минск: Полымя, 1997.
13. Управление организацией для современных руководителей./ Под ред. Е.А. Борисова. - СПб.:Питер, 2003.
14. Халипов В. Введение в науку о власти. – М.: Просвещение, 1996.
15. Черных Н. Б. Технология путешествий и организация обслуживания клиентов. - М., 2002.
16. Чудновский А. Д. Туризм и гостеприимное хозяйство. – М., 2000.
17. Экономика и организация рыночного хозяйства. / Под ред. Б.К. Злобина. – М.: Экономика, 2000.
Таблица 1.
Перечень основных должностей работников туристического предприятия, основных навыков и уровня образования, необходимого для их выполнения.
| Должность |
Основные навыки, необходимые для выполнения должностных обязанностей |
| Менеджер, ответственный за работу с клиентами |
Владение деловым иностранным языком, высокая культура общения, привычки введения переговоров как инструмента продажа, послепродажное обслуживание клиентов, принятие оптимальных решений по жалобам, знание 2-3 иностранных языков, пользование офисной оргтехникой с соблюдением правил безопасности |
| Менеджер по маркетингу |
Умение проводить маркетинговые исследования спроса и существующих предложений туристического продукта, организация и проведение рекламных кампаний, владение методами продвижения турпродукта, доведение достоверной информации к клиентам, умение составлять рекламные брошюры и материалы, культура межличностного общения, владение 2-3 языками, пользование офисной оргтехникой, соблюдение правил безопасности. |
| Менеджер по направлениям |
Складывание турпакета (размещение, питание, перевозка, дополнительные услуги), калькуляция стоимости турпакета, организация ознакомительных туров, высокая культура общения, владение техникой оформления туристской документации, техникой бронирования услуг, учет личных пожеланий клиентов (диета, медицинское обслуживание), знание 1-2 иностранных языков, владение офисной оргтехникой, соблюдение правил безопасности. |
| Секретарь-референт |
Умение работать с офисным оснащением, владение основами делопроизводства, культура межличностного общения, знание 2-3 иностранных языков, владение технологией документооборота, пользование офисной оргтехникой с соблюдением правил безопасности |
| Бухгалтер |
Ведение, обработка и анализ финансовой и статистической отчетности, количественная оценка и сравнение информации, владение 1 иностранным языком, пользование офисной оргтехникой с соблюдением правил безопасности |
[1]
- Сенин В. С. Организация международного туризма. – М.: Финансы и статистика, 2000.
[2]
- Гаврилов А. И. Профессионализм кадров // Туристические фирмы. - 1998 год. - № 16. - С. - 121.
|