Становление и развитие конкурентных отношений на отечественном рынке газа. Анализ перспектив реализации стратегических интересов России на газовом рынке Европы
Содержание
1 Мировой опыт создания конкурентной среды в газовой промышленности
2 Основные вопросы конкуренции на основе ценообразования в мировой торговле газом. Формирование цен на природный газ в России
3 Зарубежный опыт формирования конкурентных условий поставки газа с позиций его применимости в условиях Российской Федерации
4 Проблемы повышения экономической эффективности и конкурентоспособности работы крупных компаний газового комплекса РФ в современных рыночных условиях
Список использованной литературы
Нормативные акты
Литература
Естественные монополии - это монополии на рынках, где неизбежное отсутствие конкуренции требует от государства регулирования цен. К таким рынкам относятся, в частности, рынок природного газа, рынок электроэнергии, железнодорожные перевозки. Во избежании предполагаемого роста издержек и соответственно цен в случае либерализации этих рынков государство, передавая право управлять ими компаниям-монополистам, одновременно устанавливает контроль над издержками и ценами.
Что касается рынка газа, то монопольный характер его регулирования не распространяется на его добычу, поскольку конкуренция в области добычи не ведет к росту цен, а, наоборот, способствует их снижению. Монопольный вид деятельности касается только транспортировки газа, передачи его по трубопроводам.
Государство либо полностью владеет компанией-монополистом, являясь его собственником, либо выступает в роли куратора с решающими полномочиями. Например, во Франции сразу же после окончания второй мировой войны была установлена государственная монополия на рынке природного газа и электроэнергии. В 1945 г.управление рынком природного газа было возложено на государственную компанию «Газ де Франс», управление рынком электроэнергии - на «Электрисите де Франс».
В руках «Газ де Франс» были сосредоточены основные рычаги управления газовым хозяйством страны. Ей было предоставлено монопольное право на транспортировку, хранение и распределение природного газа на территории Франции, а также на внешнюю торговлю природным газом. Деятельность компании не касалась производства газа, но все производители газа не допускались к распределительной сети и обязаны были продавать газ компании-монополисту.
Забиваем Сайты В ТОП КУВАЛДОЙ - Уникальные возможности от SeoHammer
Каждая ссылка анализируется по трем пакетам оценки: SEO, Трафик и SMM.
SeoHammer делает продвижение сайта прозрачным и простым занятием.
Ссылки, вечные ссылки, статьи, упоминания, пресс-релизы - используйте по максимуму потенциал SeoHammer для продвижения вашего сайта.
Что умеет делать SeoHammer
— Продвижение в один клик, интеллектуальный подбор запросов, покупка самых лучших ссылок с высокой степенью качества у лучших бирж ссылок.
— Регулярная проверка качества ссылок по более чем 100 показателям и ежедневный пересчет показателей качества проекта.
— Все известные форматы ссылок: арендные ссылки, вечные ссылки, публикации (упоминания, мнения, отзывы, статьи, пресс-релизы).
— SeoHammer покажет, где рост или падение, а также запросы, на которые нужно обратить внимание.
SeoHammer еще предоставляет технологию Буст, она ускоряет продвижение в десятки раз,
а первые результаты появляются уже в течение первых 7 дней.
Зарегистрироваться и Начать продвижение
В 1946 г. был принят закон, в соответствии с которым «Газ де Франс» получала финансовую самостоятельность и выступала в деловой сфере как частное юридическое лицо. За государством сохранялись контрольные функции. В частности, инвестиционные программы и тарифы «ГдФ» должны были быть одобрены органами государственной власти. Контрольные функции за деятельностью «ГдФ» возлагались на министра промышленности и министра экономики.
В настоящее время «Газ де Франс» управляется административным советом, в который помимо президента входят 18 человек, в том числе 6 представителей государственной администрации. В ряд оперативных управлений «ГдФ» включены представители «Электрисите де Франс». Такие смешанные управления созданы для обеспечения единства в энергетической политике двух естественных монополий, чтобы изменения тарифов на электроэнергию корреспондировались с ценами на газ.
«ГдФ» развивает газовую инфраструктуру - строит магистральные газопроводы, газораспределительные сети, терминалы для метановозов, подземные хранилища. В частности, «ГдФ» построила подземные хранилища газа под водоносными горизонтами в районах Гурнайа, Байнсе и Шемера, в соляных пластах в районах Терзаниа и Этреза. Объем хранилищ газа, принадлежащих «ГдФ», превысил в середине 90-х годов 14 млрд.куб.м.
На внутреннем рынке «ГдФ» конкурирует только с производителями других энергоносителей - электричества, нефтепродуктов, каменного угля. Иностранных поставщиков газа «ГдФ» стремится не допускать непосредственно до французских потребителей (и что ему до последнего времени удавалось), установив режим единого импортера. Таким образом, конкуренция «газ - газ» на внутреннем рынке полностью исключалась.
В Италии функционирование естественных монополий имеет свои особенности, но во многом сходно с французской системой. Как и во Франции, в Италии в первые послевоенные годы была учреждена компания-монополист - Энте национале идрокарбури - «ЭНИ» (Национальная компания углеводородного сырья). В отличие от «Газ де Франс» «ЭНИ» монополизировала не только рынок газа, но и рынок нефти, а также добычу газа. Когда после второй мировой войны в долине р. По были открыты сравнительно крупные месторождения природного газа, «ЭНИ» получила монопольное право на их разработку. Такое же право она получила впоследствии на разработку газовых месторождений на континентальном шельфе в Северной Адриатике.
Сервис онлайн-записи на собственном Telegram-боте
Попробуйте сервис онлайн-записи VisitTime на основе вашего собственного Telegram-бота:
— Разгрузит мастера, специалиста или компанию;
— Позволит гибко управлять расписанием и загрузкой;
— Разошлет оповещения о новых услугах или акциях;
— Позволит принять оплату на карту/кошелек/счет;
— Позволит записываться на групповые и персональные посещения;
— Поможет получить от клиента отзывы о визите к вам;
— Включает в себя сервис чаевых.
Для новых пользователей первый месяц бесплатно.
Зарегистрироваться в сервисе
Первоначально «ЭНИ» имела статус государственного финансового холдинга, т.е. являлась держателем контрольных пакетов ряда компаний, в том числе и газовых. До начала 90-х годов группа «ЭНИ»входила в число предприятий, которые в организационном плане контролировались Министерством государственные участий. В результатеначавшейся в 90-е годы приватизации Министерство государственныхучастий было упразднено, а в 1992 г. группа «ЭНИ» была преобразована в акционерное общество.
Практически вся работа по газообеспечению Италии осуществляется фирмой «СНАМ», являющейся дочерней компанией «ЭНИ». В настоящее время «ЭНИ» контролирует 90% добычи природного газа в стране. 100% его импорта и 99% его распределения. В 1996 г. длина магистральной трубопроводной газотранспортной системы Италии достигла 27 тыс. км, из которых 97% принадлежат «ЭНИ».
Италия заинтересована в зарубежных поставках газа и с целью поощрения его ввоза установила более льготный импортным режим по сравнению с другими энергоносителями. В частности, налог на добавленную стоимость, взимаемый при импорте, установлен на природный газ в 4%, в то время как для каменного угля он составляет 12%, для нефти и нефтепродуктов - 19%. Вместе с тем импорт монополизирован компанией «СНАМ».
Продажа природного газа проводится на основе государственной тарифной системы, ставки которой едины для всей страны. Согласно действующим нормативам, цены на газ контролируются государственной администрацией, в частности, межминистерским комитетом цен и провинциальными комитетами цен. Законом предусмотрено,что продажа газа фирмой «СНАМ» подчиняется так называемому режиму наблюдения, суть которого состоит в контроле за тем, чтоб цены устанавливались согласно критериям, которые отвечают требованиям национальной энергетической политики.
Что же касается другой естественной монополии - электроэнергетики, то до начала 60-х годов в Италии рынок электроэнергии формально не был монополизирован, хотя на нём доминировал трест«Эдисон». После национализации электроэнергетики в 1962 г. ролькомпании-монополиста стала играть государственная организация «ЭНЕЛ» (Эитс национале ди элеттричита).
Монопольное положение на рынке природного газа французской компании «Газ де Франс» и итальянской «ЭНИ» способствует концентрации усилий по созданию сложной и дорогостоящей инфраструктуры с единым, но контролируемым хозяином. И это, на наш взгляд, оправдано, поскольку в современных условиях ведет к повышению надежности и эффективности снабжения потребителей природным газом, предотвращает ненужную растрату капитала. Возникновение естественных монополий направлено против возможного, а иногда неизбежного роста цен, т.е. на защиту потребителей. В то же время конкурентную среду на рынке природного газа целесообразно создавать за счет участия иностранных поставщиков.
Протекционистская позиция в отношении иностранных поставщиков газа противоречит общемировым и, в частности, общеевропейским тенденциям либерализации товарообменов, снятия ограничений и открытия рынков для конкурентной борьбы. В начале 1992г. Европейская комиссия выпустила две директивы, касающиеся либерализации рынка природного газа и электроэнергии.
Тенденция к либерализации рынка природного газа в значительной степени проявляется и в Великобритании. Известно, что компания «Бритиш гэс» долгое время была государственной и являлась монополистом на британском рынке. Она объединяла добычу газа, дальнюю транспортировку и конечное распределение между потребителями. В 1986 г. по решению правительства М. Тэтчер «Бритиш гэс» была денационализирована, но осталась монополистом на рынке природногогаза. В начале 90-х годов правительство, следуя, курсу либерализации,разрешило промышленным потребителям покупать газ у иностранныхкомпаний. В этих условиях «Бритиш гэс» столкнувшись с мощной конкуренцией, была вынуждена существенно сократить поставки на внутренний рынок. Впоследствии в целях преодоления все увеличивающихся трудностей «Бритиш гэс» разделилась на две независимые компании, каждая из которых имеет, на наш взгляд, хорошие шансы на успех. Пример с «Бритиш гэс» показывает оздоровляющее воздействие конкуренции, хотя в ряде случаев это воздействие носит «хирургический» характер и может сопровождаться банкротством некоторых компаний, не выдержавших жестких требований открытого рынка.
Среди ведущих стран Западной Европы наибольшей степени либерализации рынка природного газа достигла ФРГ, где изначально не было единой компании-монополиста, держащего весь рынок в своих руках, пусть и под контролем государства. На территории ФРГ действуют 10 газодобывающих и 19 газоснабженческих компаний - импортеров, которые поставляют его непосредственно крупным потребителям, а также 650 местным распределительным предприятиям, которые продают газ конечным потребителям. Среди газоснабженческих компаний-импортеров до начала 90-х годов доминирующие позиции занимал концерн «Рургаз АГ», на который приходилось около 3/4 поставок природного газа конечным потребителям.
С начала 90-х годов после объединения Германии, в газовом хозяйстве страны произошли большие изменения, вызванные интенсивной газификацией новых федеральных земель, что привело к существенному расширению емкости рынка природного газа в стране.
Следствием активного внедрения в экономику и бытовой сектор новыхфедеральных земель (НФЗ) природного газа стало резкое обострениеконкурентной борьбы на рынке «голубого топлива» Германии.
Занимающему доминирующее положение на рынке природного газа старых земель ФРГ концерну «Рургаз АГ» не удалось создать столь же прочные позиции на востоке страны, хотя этот концерн имеет 35% акций основной газоснабжающей компании в новых федеральных землях «Фербунднетц Газ АГ» (ФНГАГ). Рынок природного газа НФЗ привлек внимание крупнейшего химического концерна «БАСФ». Дочерняя компания этого концерна «Винтерсхалл АГ» с каждым годом укрепляет свое положение в области дальнего газоснабжения. «Винтерсхалл АГ» создала совместно с РАО «Газпром» предприятие «Винтерсхалл Газ АГ» («Вингаз»). Па наш взгляд, следует ожидать усиления конкурентной борьбы между концерном «Рургаз АГ» и ее новым конкурентом - фирмой «Вингаз», за плечами которой стоят растущие поставки российского газа, цены на который фирма может снижать без особых колебаний. «Рургаз», по имеющимся сведениям, вынужден предоставлять своим покупателям ценовые скидки, так что конкуренция, как видно, уже дает свои положительные плоды для потребителей газа.
Здесь уместно обратить внимание на определенную парадоксальность конъюнктуры, сложившейся на внутреннем рынке природного газа ФРГ. На рынке выступают многочисленные производители газа, и многочисленные импортеры газа, работающие непосредственно с потребителями. Государство не вмешивается в ценовую практику компаний, поскольку не придерживается концепции естественной монополии. Казалось бы сформировались идеальные условия для конкуренции, которая должна сопровождаться снижением цен. Однако этого до последнего времени не отмечалось. Наоборот, уровень внутренних цен на газ в ФРГ был на 25% выше, чем в странах Европейского Союза (за исключением Италии и Франции).
Объяснение высоких цен на газ при наличии множества поставщиков заключается в том, что в ФРГ не сформировалась конкурентнаясреда и причинами ее отсутствия является, во-первых, закрытие рынка для иностранных поставщиков, обязательства которых заканчиваются на границе, а, во-вторых, доминирование на рынке мощного концерна «Рургаз АГ». Другие компании на рынке газа в своей ценовой политике предпочитают конкуренцию тактике «следования за лидером», т.е. придерживаться цен, устанавливаемых «Рургазом».
Такое джентльменское соглашение устраивало «Рургаз АГ» и другиекомпании, тем более что цены лидера были достаточно внушительными: например, российский газ поставлялся по цене франко-граница около 1/3 пфеннинга за куб. м, а конечным потребителям продавался по 4 пфеннинга.
Ситуация существенно изменилась, когда российский газ начал поступать непосредственно потребителям. Это стало возможным после того как совместное российско-германское предприятие «ВИЕХ» («Винтерсхалл Эрдгаз Хандедьсхаус ГмбХ») построило собственную газотранспортную систему Стегал Мидал - ПХГ Реден, которая впоследствии вошла составной частью в систему Ямал - Европа. В результате «Рургаз» забеспокоился. Появились высказывания в прессе о том, что российские поставки дестабилизируют рынок и т.д. Но на самом деле существо вопроса заключается не в дестабилизации рынка, а в формировании реальной конкурентной среды. Газовые компании ФРГ отказались от тактики «следования за лидером». Ключевым моментом в конкурентной борьбе стало участие в развитии сети магистральных газопроводов и других элементов инфраструктуры.
В январе 1995 г. новый руководитель Европейской комиссии Жак Сантер заявил, что намерен дать импульс новой энергетической политике Сообщества, которая должна предоставить потребителям большевозможностей выбора при покупке энергии и энергоносителей, включая иностранных производителей. В качестве первого шага в осуществлении провозглашенной политики Жак Сантер выразил намерение провести либерализацию рынков природного газа и электроэнергии, подчеркнув, что либерализация необходима для создания равных условий на едином европейском рынке всех товаров. Надо подчеркнуть, что такие условия пока не созданы, что в значительной мере объясняется разницей цен на газ и электроэнергию, которые при производстве «закладываются» в цены многих товаров. Открытость рынка иусиление конкуренции позволит снизить цены на энергию в рамкахвсего Сообщества.
В 1995 г. Комиссия разработала документ, предлагающий различные варианты либерализации. При этом позиции разных стран по отношению к нему были неодинаковыми. Так, Германия и Голландия поддержали либерализацию электроэнергетики, но выступили против аналогичных мер в газовой промышленности. Франция высказалась за то, чтобы приобретение энергии осуществлялось для каждой страны посреднической организацией без прямых контактов между потребителями и поставщиками. И все же несмотря на противоречивые подходы к либерализации рынка энергии со стороны отдельных стран ЕС, в конечном итоге была достигнута договоренность о соблюдении права свободной конкуренции на рынке природного газа и был соответственно учрежден специальный орган надзора.
Здесь, правда, следует заметить, что формирование конкурентной среды на рынке природного газа в Европе только начинается и протекает с систематическими нарушениями договорённостей о либерализации и свободной конкуренции. В частности, возникают многочисленные претензии, предъявляются иски. Например, нефтегазовая компания «Маратон Ойл» из Техаса (США) предъявила иск на сумму в 1,2млрд. долл. немецкому концерну «Рургаз». Вместе с ним по делу проходит и государственная нефтегазовая компания «Статойл» (Норвегия). Причиной иска, с которым «Маратон Ойл» обратилась в высшую инстанцию американского суда, является, согласно ее заявлению, несправедливая конкурентная политика в отношении цен на норвежский газ, о чем сообщил немецкий еженедельник «Дер Шпигель». Речь идет прежде всего о транспортировке газа от месторождения Трольфельт в Северном море и продаже его на континенте. По заявлению американцев, соглашение по Трольфельту между норвежскими производителями и покупателями газа в Европе привело к снижению цен на него по сравнению с периодом начала 80-х годов. В результате чистая прибыль от добычи газа в Северном море компанией «Маратон Ойл» с последующей его реализацией на континенте стала резко сокращаться. «Маратон Ойл» является крупнейшим иностранным совладельцем (23,8%) месторождения Хенмдал, входящего в первую пятерку эксплуатирующихся залежей газа в Северном море. И вследствие «нечистой игры» конкурентов компания намеревается продать свою долю.
Согласно Шпигелю американцы усматривают в деятельности «Рургаз» и норвежской «Статойл» попытки монополизировать рынок газа в Европе. Журнал далее сообщает, что в своем письме министру экономики Германии Понтеру Рексродту американское правительство выразило озабоченность такой деловой практикой, которая может негативно отразиться на свободе конкуренции в секторе торговли газом. Ранее подобные обвинения в адрес норвежских производителей газа уже высказывала немецкая компания «Вингаз», совладельцем которой является «Газпром».
Подытоживая вышесказанное, имеет смысл отметить, что несмотря на провозглашенную либерализацию рынка природного газа, создание на немконкурентной среды весьма проблематично. Доступ поставщика к потребителю связан с наличием «трубы», а стать собственником или совладельцем трубы возможно далеко не всегда. При всех попытках либерализации рынка газа и ограничения на нем монополизма эта проблема остается дискуссионной. Ее окончательному решению наряду с институционально-организационной спецификой газоснабжения противодействуют как государственные, так и корпоративные интересы.
В настоящее время в газовой отрасли России газораспределительные организации (ГРО) занимают положение, очень близкое к монопольному, при отсутствии серьезной межгазовой конкуренции и конкуренции газа с другими видами топлив.
В этих условиях, с одной стороны, несомненно, существуют потенциальные возможности для злоупотребления ГРО своим монопольным положением, следовательно, существует и необходимость в государственном регулировании. С другой стороны, на экономику деятельности самих ГРО может негативно повлиять текущая свобода действий в сфере регулирования, предоставленная региональным энергетическим комиссиям (РЭК) и администрациям субъектов РФ. Соответственно в этом отношении также необходима некоторая форма регулирования для защиты ГРО.
Однако в современной государственной политике регулирования деятельности ГРО существуют серьезные нерешенные проблемы.
Одной из них является отсутствие целостной концепции регулирования газовой отрасли, включая формирование цен, тарифов и вопросы возмещения издержек. Другая проблема - наличие перекрестного субсидирования для потребителей газа. Промышленные и другие регулируемые группы потребителей дотируют разные группы населения, для которых существует большое число ценовых льгот при оплате за газ.
Фиксированный уровень сбытовых надбавок для газоснабжения всех потребителей, кроме населения, анархия в установлении цен для населения приводит в итоге к образованию у ГРО таких доходов (или убытков), которые никоим образом не связаны с их затратами.
Соответственно не обеспечивается баланс интересов всех участников процесса газоснабжения, прежде всего, потребителей, предприятий газовой отрасли и государства.
Судя по научным публикациям, исследований по комплексному анализу политики государственного регулирования в газораспределении проведено недостаточно.
Значение совершенствования государственного регулирования в газораспределении в последние годы усиливается в связи с невыполнением Федеральной программы развития газификации России, а также потому, что тарифы на услуги ГРО для различных категорий потребителей устанавливаются на разных уровнях управления.
Рассмотрим состояние и проблемы государственного регулирования в газораспределении.
Постановка и решение проблем совершенствования государственного регулирования в газораспределении не могут быть реализованы без учета специфики газового комплекса России и анализа зарубежного опыта действующей системы государственного регулирования.
Сложившаяся к настоящему времени структура системы газоснабжения (газового сектора экономики) в России укрупненно может быть представлена следующим образом (рис. 1):
• в добыче газа - добывающие предприятия РАО «Газпром» (94% в общероссийской добыче газа) и независимые поставщики, среди которых есть мелкие газодобывающие компании, нефтяные компании, поставляющие осушенный нефтяной газ, и другие;
• в магистральном транспорте газа - региональные компании «Трансгаза», каждая из которых на 51% принадлежит РАО «Газпром»; эти компании занимаются доставкой газа по единой сети магистральных газопроводов и лишены прав и полномочий в области реализации газа;
• в реализации газа - местные газораспределительные организации (оптовый рынок) и отдельные крупнейшие потребители - ООО «Межрегионгаз» - учрежденная РАО «Газпром» дочерняя компания для централизации сбыта газа;
• в распределении газа конечным потребителям - региональные (республиканские, краевые, областные, районные и городские) газораспределительные организации (ГРО), осуществляющие доставку газа потребителям обслуживаемой ими территории, реализующие газ на розничном рынке.

Рис. 1. Структура газоснабжения Российской Федерации.
Основным доминирующим хозяйствующим субъектом в газовой промышленности является РАО «Газпром». Доля РАО «Газпром» в ВВП приближается к 10%, доля налоговых поступлений в государственный бюджет превышает в среднем 20%.
РАО «Газпром» обеспечивает в стране стабильность поставок энергоносителей значительному кругу потребителей вне зависимости от их платежеспособности, что законодательно закреплено при его учреждении, формирование доходов бюджетов различных уровней, поддержание стабильной социально-экономической обстановки в стране в целом. Именно выполнение «Газпромом» социальных обязанностей в значительной мере определило специфические подходы к его реформированию в переходный период функционирования российской экономики в начале 90-ых годов.
Предложения по изменению цен на природный газ для промышленных потребителей в течение ряда лет готовились самой компанией без должного анализа и экспертизы динамики и структуры издержек (в качестве механизма пересчета цен использовалась поквартальная индексация единожды утвержденной цены предложения в соответствии с темпом инфляции).
Регулирование режима доступа потенциальных независимых производителей газа к системе магистральных трубопроводов и тарифная политика в этой области также были возложены на компанию.
В течение ряда лет разрабатывалась и принималась программа структурной перестройки газовой промышленности, целью которой являлось создание условий для роста эффективности и развития рыночных отношений в ТЭК и его отраслевых системах:
1. Отделение непрофильных видов деятельности (в числе которых немалое место занимает деятельность в области поддержки социально-бытовой инфраструктуры) от профильных. В результате все буровые предприятия были объединены в отдельную компанию, а дочерние предприятия по добыче газа преобразованы в общества с ограниченной ответственностью.
2. Переход на оплату транспорта газа по тарифам, определяемым исходя из дальности транспортировки и регулируемым Федеральной энергетической комиссией.
Ярким примером корпоративной логики в этом вопросе явился разработанный «Газпромом» и утвержденный Федеральной энергетической комиссией тариф на транспортировку газа для независимых поставщиков, по крайней мере, в два раза превышающий внутренний тариф компании и практически закрывающий для независимых производителей газа возможность использования услуг магистральных транспортных сетей.
3. Рационализация финансовых потоков. Для реализации последней была создана дочерняя фирма ООО «Межрегионгаз», задачей которой является организация расчетов за газ. Это мероприятие явилось реакцией на рост неплатежей на внутреннем рынке газа. Кредиторская задолженность потребителей перед РАО «Газпром» составляла на конец 2007 года 19 трлн. руб. (более 3 млрд. USD). За газ принимались и сейчас принимаются платежи в любых формах: помимо «живых» денег также векселя, налоговые освобождения, взаимозачеты.
В функцию фирмы входит реализация газа и заключение контрактов на его поставку потребителям на внутреннем рынке России. Одним из первых шагов в этом направлении явилась организация тройственных договоров «Межрегионгаз» - «ГРО» - «крупный промышленный потребитель», при реализации которых ГРО предоставляет только услуги по распределению газа по своим сетям, получая за это платежи в размере «сбытовой надбавки».
Фирма «Межрегионгаз» организует свою деятельность по территориальному принципу - посредством более 70 филиалов в субъектах Российской Федерации. При этом компания наделена правом собственности на поставляемый потребителям газ. В качестве штрафной санкции за несвоевременную оплату выступает снижение лимита газа на будущий год. Компания уполномочена в разрешенных государством пределах рассматривать вопросы снижения цены на газ (до 40%), возобновления снабжения газом предприятий, признанных банкротами, но имеющих возможностьреализации производимой продукции и улучшения своего финансового положения.
Одновременно наблюдается эскалация «Газпрома» в сферу обслуживания газораспределительных компаний - попытки отъема наиболее благополучных потребителей, близко расположенных к магистральным газопроводам (отводы при этом принадлежат либо самому «Газпрому», либо потребителю), а также строительство новых подводящих газопроводов к потребителям с последующей передачей их в полную собственность РАО. Газораспределительные компании при этом лишаются части рынка сбыта, как правило, наиболее платежеспособной его части, что значительно ухудшает их финансовое положение.
Приватизация ГРО осуществлялась в 2007 году без предварительной работы по оптимизации размеров и конфигурации систем газораспределения, а именно, по территориально-административному принципу в той структуре организации предприятий, которая сложилась в период административной экономики.
Главными направлениями деятельности местных ГРО являются:
• предоставление услуг по газоснабжению потребителям, включающих доставку и реализацию природного газа;
• предоставление услуг по распределению газа, включающих доставку газа потребителям в соответствии с трехсторонними договорами;
• содержание, эксплуатация и ремонт газораспределительных сетей, а также деятельность по газификации потребителей (расширение распределительных сетей) на обслуживаемой территории;
• обслуживание газового хозяйства потребителей (мелких и средних потребителей и во всех иных необходимых случаях);
• доставка и реализация сжиженного газа (это направление деятельности, как правило, является убыточным вследствие занижения розничных цен, устанавливаемых местной Администрацией, по существу -социальная нагрузка на ГРО).
В настоящее время в стране насчитывается около 350 местных ГРО. После приватизации они в большинстве своем стали «независимыми» юридическими лицами.
Как правило, в пределах области, края или республики они объединены в структуры типа холдинга, в состав которого входят районные и городские ГРО, а головной является областная (краевая, республиканская) ГРО. Так, Свердловскую область обслуживают 13 районных «дочек», каждая из которых на 15-30% принадлежит Свердловскоблгазу. Некоторые городские ГРО не входят в состав областных организаций и не являются их дочерними или зависимыми от них предприятиями (например, Рязаньгоргаз).
Часть предприятий газораспределения не были приватизированы и остались в собственности государства (Московская городская сеть, Мособлгаз, ГРО Чувашии).
В отрасли газораспределения не существует общенациональной холдинговой компании. В отличие от региональных электрокомпаний и предприятий связи и телекоммуникаций, контрольные пакеты акций которых сосредоточены в соответствующих холдинговых компаниях, региональные ГРО сами являются владельцами ОАО «Росгазификация», преобразованного из Центрального Треста газораспределения, который управлял отраслью в период плановой экономики. Основной функцией ОАО «Росгазификация» является разработка и отслеживание технических норм и стандартов, общефедеральных регулирующих нормативов, относящихся к сфере распределения газа, и обеспечение содействия при разработке ТЭО, прогнозов и анализов развития отрасли. 51% акций ОАО «Росгазификация» принадлежит государству, остальные акции распределены между работниками ОАО «Росгазификация» и региональными ГРО.
Фондовый рынок газораспределительной отрасли находится в настоящее время только на пути своего становления. Из всех предприятий отрасли не более 10% представлены в соответствующих котировках этого рынка, причем во внебиржевом его секторе. Не менее 25,5% акций закрепляются в федеральной собственности, поскольку газораспределение рассматривается как стратегический сектор. Значительные пакеты акций находятся в собственности региональных властей, местные власти (муниципалитеты) имеют лишь очень незначительную долю собственности, остальные акции находятся в собственности юридических и физических лиц.
Газораспределительные компании до сих пор выплачивали очень незначительные дивиденды либо не выплачивали их совсем. Если, как ожидается, они будут реинвестировать свои доходы в расширение сетей, это положение сохранится.
Таким образом, специфика газораспределения, в значительной степени определяющая задачи, условия и методические особенности государственного регулирования, состоит в следующем:
• газораспределение является отраслью, осуществляющей жизненно важную функцию - распределение газа от магистрального транспорта до потребителей, и единственным поставщиком газа для средних и мелких потребителей;
• региональные ГРО представляют собой полностью обособленные по административному признаку компании;
• в отрасли имеет место значительное разнообразие организационной структуры, форм и структуры собственности ГРО различных субъектов Федерации.
Анализ проблем системы государственного регулирования в газораспределении Российской федерации.
Отраслевая специфика газораспределения предопределила необходимость дополнительных по сравнению с другими отраслями мер государства по регулированию условий деятельности. Это потребовало, помимо разработки специального законодательства, создания в структуре федеральных органов исполнительной власти специального органа регулирования - Федеральной энергетической комиссии (ФЭК).
Одновременно были образованы Региональные комиссии (РЭК), осуществляющие регулирование на территории соответствующих субъектов Федерации.
Таким образом, были созданы организационные предпосылки для формирования полноценной системы государственного регулирования деятельности в газовом секторе экономики как на федеральном, так и на региональном уровнях.
Однако в отличие от электроэнергетики этого не произошло, так как одновременно с организационными не были решены вопросы методического обеспечения регулирующей деятельности государства в газораспределении. При этом до настоящего времени остаются в методическом плане нерешенными проблемы достаточного охвата регулированием сфер (видов) деятельности в газораспределении, а также не обеспечено методическое единство регулирования на федеральном и региональном уровнях.
Такое положение объясняется, в первую очередь, следующими причинами:
• несовершенством антимонопольного законодательства;
• отсутствием вертикали подчиненности в системе органов регулирования.
В электроэнергетике предметом государственного регулирования является вся система тарифов, включая тарифы на электроэнергию, отпускаемую конечным потребителям. Более того, деятельность по регулированию тарифов регламентируется специальным Федеральным законом. В то же время в газовой отрасли предметом антимонопольного регулирования, требующего как минимум контроля над уровнем цен и тарифов, признана исключительно транспортировка газа по трубопроводам.
Таким образом, регулирование (или хотя бы его методическое обеспечение) ценообразования на газ для населения выпало из сферы внимания и деятельности ФЭК.
Вместе с этим создаваемые в регионах РЭК не входят в единую систему государственного регулирования, и решения ФЭК в области цен на газ для населения носят для них практически исключительно рекомендательный характер. Можно сказать, что этот уровень регулирования полностью подчинен руководству местных администраций, что определяет разнонаправленную политику в сфере ценообразования на газ для населения.
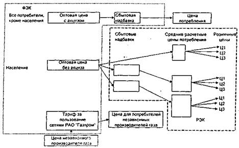
Рис. 2 иллюстрирует сложившуюся в настоящее время систему регулирования цен и тарифов в газораспределении с характерным разрывом функций и полномочий федерального и регионального уровней регулирования.

Рис. 2. Схема регулирования цен и тарифов в газовой отрасли Российской Федерации.
Становление рыночных отношений в газоснабжении РФ с очевидностью проявляет искусственный и непоследовательный характер существующей схемы формирования цен на газ.
Представляется целесообразным выделить пять основных взаимосвязанных групп методических и организационных проблем подхода к формированию тарифов на газ, решение которых необходимо для повышения эффективности хозяйственных отношений в региональном газоснабжении.
Первая группа проблем связана с нарушениями соответствия устанавливаемых тарифов реальным стоимостным характеристикам производства и транспортирования газа, а именно, установлением разных уровней цен на оптовом рынке газа - повышенных для промышленных потребителей и пониженных для населения, при этом дополнительным источником искажения цен является отсутствие акциза при поставке газа для населения.
Это привело к следующим основным результатам:
• общий рост цен на товарную продукцию промышленности (особенно на повышение тарифов в электроэнергетике) дополнительно обострил кризис неплатежей;
• сформировалась целая спираль удорожаний, что в конечном счете проявилось в удорожании потребительской корзины населения.
Такой метод экономической «поддержки» населения не решает проблемы, перекладывая груз роста стоимости жизни на один из потребляемых продуктов.
Вторая группа проблем связана с установлением сбытовой надбавки для газораспределительных организаций (ГРО). Сбытовая надбавка на газ является одной из составляющих цен потребления, и регулирование ее размера не может и не должно рассматриваться в отрыве от всей системы ценообразования в условиях рыночной экономики. Сложившиеся экономические диспропорции в системе газоснабжения в значительной степени являются результатом изолированного регулирования сбытовых надбавок без учета их роли в ценообразовании и в отрыве от существующих в данной отрасли организационной структуры и структуры собственности. Отрыв методов регулирования от условий хозяйственной деятельности проявляется даже в сохранении самого названия составляющей цены потребления на газ, которая формирует доход предприятий газораспределения - «сбытовая надбавка».
Более соответствующим экономическому содержанию этого показателя является термин «тариф на услуги» ГРО, которые осуществляют поставку газа потребителям и предоставляют им другие услуги.
Действующий порядок определения уровней сбытовых надбавок к оптовой цене газа в значительной мере явился следствием отсутствия при переходе к рыночной экономике общей методологии и нормативной базы ценового регулирования в газовой отрасли.
Традиционно, как следствие плановой экономики и государственной собственности на производственные мощности систем распределительного транспорта газа, сохранился метод установления сбытовой надбавки для промышленных потребителей (ДЦп) в долях к единой по стране оптовой цене газа для этих потребителей (Цпо), с той разницей, что в плановой экономике устанавливаемая величина доли принималась для обеспечения покрытия эксплуатационных затрат отрасли в целом без учета необходимых финансовых ресурсов на неотложное замещение и модернизацию части существующих газораспределительных сетей и различных технологических объектов обслуживающего и подсобного назначения, а также на выполнение намеченных программ по развитию газификации.
Вывод о занижении оплаты сбытовых услуг подтверждается и сопоставлением ее уровня с уровнями в дореформенном периоде. Так, до 1991 года сбытовые надбавки к оптовой цене на газ составляли в среднем по регионам 25%, что обеспечивало покрытие текущих эксплуатационных затрат и частичную замену ветхих газопроводов и газового оборудования. Кроме этого ежегодно выделялись бюджетные капиталовложения на развитие газификации регионов, практически прекращенные в период перестройки экономики. Соответственно, чрезвычайное отставание ремонтных и строительно-монтажных работ в региональном газоснабжении объясняет и ситуацию, сложившуюся с реализацией программ развития газификации, которые выполнялись в период перестройки лишь на 10-15%.
Действующий порядок установления единой по всей территории страны сбытовой надбавки не учитывал специфику структуры, протяженности и состояния газораспределительных сетей, структуры потребителей газа, территориальных особенностей, а также реализации программ газификации каждой конкретной ГРО. В действительности себестоимость услуг различных ГРО колеблется в соответствии с долей населения на обслуживаемой территории. Следствием этого является нарушение экономически обоснованных уровней и дифференциации тарифов, что противоречит существующим различиям в размещении потребителей и специфике издержек при газоснабжении различных категорий потребителей газа и приводит к искажению объективной оценки экономического положения как газоснабжающих организаций, так и потребителей.
Со временем оптовые цены на газ для промышленных потребителей были дифференцированы сначала по 3 зонам, а затем по 6 ценовым поясам, но сбытовая надбавка для промышленности была установлена на уровне 29,5 тыс.руб./ тыс. м куб. газа, а для населения была дана рекомендация не выходить за пределы налога на добавленную стоимость (20%).
Одновременно с подготовкой зональных оптовых цен на газ в конце 2007 г. были предприняты попытки дифференциации надбавок для ГРО. Однако вследствие трудности задачи в условиях неоптимального формирования и последующей приватизации ГРО (по принадлежности Субъектам Федерации) надбавка для промышленных потребителей была оставлена на прежнем уровне.
Третья группа проблем связана с тем, что тарифы на сбытовые услуги для различных категорий потребителей устанавливаются на разных уровнях управления: для промышленных - на федеральном уровне, для населения - на региональном (РЭК совместно с главами администрации), что с учетом отсутствия независимости этих органов в политическом иэкономическом аспектах не способствует реализации согласованных методов и процедур определения тарифов.
Поскольку российская ценовая политика в газоснабжении практически противоречила мировым стандартам соотношения затрат для разных категорий потребителей, то уже в 2005 году привела к структуре цен, отличающейся от мировых с точностью до «наоборот» (табл. 1).
Таблица 1.Сопоставление тарифов на газ на рынке России и Западной Европы в 2005 г., долл./1000 м3.
| Страна |
Оптовый рынок |
Категории конечного потребления |
| Промышленность |
ТЭС |
Ком/быт и население |
| Россия |
59-61* |
64-66* |
64-66* |
6-10** |
| Германия |
70-90 |
140-170 |
120-140 |
300-350 |
| Франция |
70-90 |
130-140 |
н.д. |
410-420 |
* Уровни тарифов приведены с учетом НДС.
** Приведенный интервал значений соответствует средневзвешенном величине потребительских цен с учетом предоставления льгот отдельным категориям потребителей.
Конечно, это сравнение носит относительный характер, поскольку осуществляется со странами рыночной экономики, с более высоким уровнем жизни населения и наличием значительной доли импорта газа. Эти факты скорее свидетельствуют о том, что газом пользуется платежеспособное население. И все же нельзя не обратить внимание на противоположное соотношение цен на газ для промышленности (работающей на все население) и населения. При этом, как будет указано ниже, страны рыночной экономики не отказываются от элементов перекрестного субсидирования, но не за счет промышленности.
Как следует из данных табл. 1., цены на газ для населения и комбыта в России не превышали 15% от цен для промышленных потребителей, и только к 2007 году это соотношение выросло до 50 %.
В 2009 году по методике Федеральной энергетической комиссии впервые были утверждены дифференцированные (отдельно за пользование сетями и транспортировку газа) надбавки по 18 ГРО субъектов Федерации.
Эта работа ФЭК продолжается, однако, как и прежде, регулирование цен для населения осуществляет РЭК. Поскольку ФЭК не затрагивает вопросов ценообразования для населения даже в методическом плане, представляется, что перекрестное субсидирование населения за счет промышленности останется на прежнем уровне.
- Четвертая группа проблем связана с формированием ГРО и их приватизацией. В условиях рыночной экономики не могли бы сложиться ГРО со столь неэффективной структурой потребителей, приводящей к убыточной деятельности.
Проблема в том, что приватизация отечественных ГРО осуществлялась практически по административному делению, сложившемуся в период административно-командной системы, без учета профиля деятельности субъектов Федерации и их экономического фактора. И хотя необходимый передел собственности в настоящее время пугает как самих ГРО, так и государственные органы, квалификационный рост управленцев рано или поздно должен привести их к этому решению.
Пятая группа проблем связана с наличием в составе ГРО убыточных подразделений по снабжению населения сжиженным газом. Их убыточность определяется тем фактом, что близлежащие заводы требуют предоплату, нищая ГРО не может ее осуществить, и сжиженный газ приходится привозить из Западной Сибири. Тарифы на транспортировку в этом случае складываются из железнодорожного тарифа, регулируемого государством, и нерегулируемой оплаты услуг специализированного предприятия «СГ-Транс» (специальные транспортные средства, хранение и перевалка на кустовых базах, в некоторых случаях - перепродажа).
В зависимости от состояния ГРО (осуществляется ли перекрестное субсидирование потребителей сжиженного газа за счет природного, или в других случаях) растет задолженность ГРО за природный газ перед Газпромом и бюджетами разных уровней.
Нерешенность совокупности экономических и организационных проблем, связанных с совершенствованием функционирования и развития потребительского рынка газа в России, обусловливает актуальность изучения зарубежного опыта в этой сфере. Исследованию проблем государственного регулирования и контроля в указанном секторе экономики посвящено большое количество работ.
Среди экономических проблем регулирования первостепенное методическое значение имеет выбор модели ценообразования. В качестве основных экономических концепций ценообразования в мировой практике рассматриваются, как правило, две модели. Первая из них - «ценообразование по рыночной стоимости», вторая - «ценообразование на основе издержек газоснабжения». При этом в реальной практике регулирования могут использоваться различные сочетания этих моделей. В частности, при использовании принципов одного из них в качестве основного, второй может применяться с целью контроля над эффективностью ценообразования.
Коротко указанные принципы можно охарактеризовать следующим образом.
Ценообразование по рыночной стоимости. Базовая концепция ценообразования по рыночной стоимости заключается в том, что цена на газ устанавливается на уровне, который более или менее соответствует его ценности/стоимости на рынке. В свою очередь, эта ценность/стоимость газа определяется на фоне цен на альтернативные конкурирующие ТЭР с использованием сравнительного анализа экономики применения этих альтернативных ТЭР и применения природного газа.
Цены на альтернативные ТЭР могут несколько различаться между собой, а экономика конкуренции между ними и природным газом может существенно различаться от потребителя к потребителю. В основном такие различия зависят от вида использования природного газа потребителем на уже существующих энергопотребляющих объектах и установках, либо на совершенно новых установках. Если предполагается заменить газом другое топливо (как правило, нефтепродукт), уже используемое на существующей установке, то потребуется устанавливать цену на газ на несколько более низком уровне (с учетом паритета по теплотворности), чем цены на конкурирующее топливо. Это объясняется тем, что владельцу установки придется понести некоторые издержки для ее перевода с потребления текущего топлива на природный газ. Если же установка изначально была спроектирована на использование другого топлива, то может также произойти некоторая потеря тепловой эффективности, что характерно для такого перехода на природный газ. По контрасту, при использовании газа как главного топлива в новых проектах (установках) его ценность/стоимость будет выше с учетом теплового паритета с альтернативным топливом. Как правило, установки, спроектированные с самого начала на потребление природного газа, стоят меньше, чем установки, спроектированные на сжигание других видов топлива (при этом также отпадает необходимость в перевалке и хранении твердых или жидких топлив). Газопотребляющие установки также характеризуются в целом несколько более высокой тепловой эффективностью, чем установки, работающие на прочих топливах, и, вероятно, намного более высокой эффективностью при использовании технологии комбинированного цикла (парогазовые турбинные установки). Таким образом, при прочих равных условиях ценность/стоимость газа при использовании в новых проектах обычно выше, чем при переоборудовании уже существующих топливопотребляющих объектов.
В ценообразовании по рыночной стоимости также учитываются конечные цены реализации газа и конкурирующих топлив, включая налоги. Во многих случаях важным фактором при выборе топлива становится именно налоговая составляющая конечной цены. Из этого следует, что государство может эффективно влиять на степень использования природного газа на рынке путем корректировки относительного налогообложения газа и прочих ТЭР.
Теоретически использование метода ценообразования по рыночной стоимости приводит к получению наивысших возможных цен на газ. Как указано выше, продавец газа рассчитывает максимальную стоимость газа, а затем устанавливает свою цену на него близко к этому уровню. В теории этот метод также дает различные цены для каждого потребителя, что отражает различную экономику использования газа таким потребителем. На практике же существует целый ряд ограничений. Как уже указывалось, продавец газа может в определенных случаях реализовывать газ по цене ниже его стоимости - только потому, что иначе получаемая им прибыль будет рассматриваться потребителями, государством или регулирующим органом как сверхприбыль. С учетом же большого числа мелких потребителей представляется непрактичным устанавливать разную цену для каждого из них.
Ценообразование на основе издержек газоснабжения. Ценообразование на основе издержек газоснабжения («затраты плюс») широко используется на тех газовых рынках Запада, где существует фактор естественной монополии. Этот метод в своей простейшей форме предусматривает учет всех издержек газоснабжения и установление цены на газ на уровне, при котором выручка от реализации соответствует совокупным издержкам. При этом, однако, в составе издержек важно учитывать также определенную норму возмещения инвестиционных затрат и стимулы для предприятия по сохранению и развитию своей хозяйственной деятельности. На Западе такие стимулы обычно выражаются в виде нормы возврата на инвестиции, то есть на стоимость производственных фондов, задействованных в хозяйственной деятельности.
Теоретически метод ценообразования на основе издержек газоснабжения дает минимально возможные цены на газ. В то же время для обеспечения включения в состав издержек лишь строго регламентированных видов затрат и исключения возможности завышения этих затрат необходим тщательный контроль и отслеживание использования этого метода на практике со стороны регулирующих органов.
Как и в случае с применением метода ценообразования по рыночной стоимости, этот подход теоретически дает разные цены на газ для каждого потребителя. Однако так же, как и для первого метода, на практике обычно рассчитывается средневзвешенное (или репрезентативное) значениецен, которое затем применяется по отношению к мелким потребителям, а в некоторых случаях - и к более крупным потребителям газа.
Метод ценообразования, применяемый в газовой отрасли конкретной страны, зависит от многих факторов, в том числе исторических условий развития этой отрасли хозяйственной деятельности. В то же время для обоснования метода ценообразования решающее значение имеют рыночные условия и предпосылки, а также наличие необходимой информации. Ниже анализируются предпосылки и условия для эффективного применения рассматриваемых нами методов ценообразования.
Реализация ценообразования по рыночной стоимости предъявляет следующие требования:
• Необходимо наличие на рынке одного или более альтернативных ТЭР. Как правило, такие условия существуют на рынках Запада, где хорошо развита инфраструктура нефтепереработки и распределения нефтепродуктов, которые доступны практически повсеместно, а топливопотребляющие приборы переключаются с одного вида топлива на другое.
• Необходима информация о ценах на конкурирующие ТЭР для проведения сравнительного анализа и расчета стоимости газа. При этом наличие хорошо развитой инфраструктуры нефтепереработки и распределения нефтепродуктов, как правило, приводит к тому, что ценовая дифференциация в различных районах связана в основном с транспортной логистикой и в целом не слишком велика.
• С учетом вышеизложенного следующим необходимым шагом является проведение экономического анализа межтопливной конкуренции для установления стоимости газа. В нем учитываются такие факторы, как цены на конкурентные ТЭР, включая налоги, различия в величине инвестиционных затрат, эксплуатационных издержек и тепловой эффективности для газа и альтернативного топлива (топлив). Кроме того, на выбор топлива могут влиять и другие факторы, например, плановые и экологические ограничения, удобство или иные преимущества использования газа как чистого топлива, опасения потребителя, связанные с возможными ограничениями в перспективе на использование «грязных» топлив. Все это в совокупности следует учитывать при определении рыночной стоимости газа в конкретной ситуации.
• Наконец, необходимо также принять во внимание стратегию маркетинга газовой компании. Ценообразование на газ на основе его стоимости относительно стоимости конкурирующих ТЭР не всегда может обеспечить желаемую долю на рынке или увеличение объема реализации. Как указано выше, метод ценообразования по рыночной стоимости обычно позволяет определить «потолок» цены на газ, но часто фактические цены устанавливаются несколько ниже для того, чтобы обеспечить стимулирование спроса на газ.
С учетом всех вышеизложенных факторов и возможной реакции потребителей, государственных или иных органов, отвечающих за регулирование рынка и антимонопольной практики, продавец газа принимает решение в отношении своей ценовой политики и конкретных цен на газ для потребителей. Для реализации этого метода ценообразования обязательно наличие достаточной информации, аналитических проработок и экспертных оценок.
Как отмечалось выше, ценообразование на основе издержек газоснабжения обычно применяется при отсутствии достаточных условий конкуренции для обеспечения цен на газ на таком разумном уровне, который обеспечивает баланс между интересами газовой компании и ее потребителей. Для реализации метода ценообразования на основе издержек газоснабжения возникают следующие требования:
• Необходима достаточная информация об эксплуатационных издержках ГРО как в отношении прошлых периодов, так и в отношении плановых периодов деятельности. Необходима разработка прогнозов эксплуатационных затрат, которые должны соответствовать прошлым уровням и тенденциям изменения издержек.
• Необходима достаточная информация о капитальных затратах и инвестициях ГРО. При этом можно разрешить газовой компании заложить в свой бюджет небольшой объем капитальных затрат, не выделенных по категориям, но любые крупные инвестиционные расходы, а также те капитальные затраты, которые ГРО желает затем возместить, должны быть обоснованы.
• Для того, чтобы этот метод ценообразования функционировал эффективно и сбалансированно, в большинстве случаев необходима отлаженная система регулирования. Регулирующий орган обязан обеспечить, чтобы в соответствующих расчетах использовались только разрешенные виды издержек, а размеры этих издержек находились на разумном уровне. Кроме того, необходима разработка и внедрение правил и инструкций, регулирующих осуществление капитальных затрат и инвестиций, а также положений для расчета разрешенной нормы возврата на инвестиции.
• Наконец, при реализации данного метода ценообразования необходимо учитывать вопросы эффективности. Упрощенный метод реализации не обеспечивает стимула для газовой компании повышать эффективность своей деятельности или снижать издержки. Поэтому желательно иметь определенные рычаги регулирования эффективности - «стимулирующее регулирование».
Необходимость обобщения опыта с учетом различий в условиях газоснабжения и влияния других разнообразных факторов потребовала проведения анализа по группе стран, являющихся представительными с точкизрения зрелости рыночных отношений, специфики принятой схемы регулирования ценообразования и т.п.
В качестве таких стран, в которых структура и деятельность предприятий газовой отрасли существенно различаются, были выбраны приведенные ниже страны.
Франция, в которой газовая отрасль принадлежит в основном государству, осуществляющему достаточно жесткий централизованный контроль и регулирование газоснабжения. Конкуренция на рынке газа практически отсутствует. Все предприятия газораспределения в структуре «Газ де Франс», а также 17 независимых муниципальных ГРО несут по закону обязательства по публичному энергоснабжению, основными из которых являются следующие:
• осуществлять непрерывное (кроме форс-мажорных обстоятельств) газоснабжение любого постоянно подключенного потребителя в концессионной зоне (зоне обслуживания);
• осуществлять подключение любого потенциального потребителя по его просьбе и при условии достаточной рентабельности его обслуживания; при этом критерии рентабельности определяются на национальном уровне государственными органами;
• в соответствии с принципом бездискриминационного подхода все потребители, получающие газ в пределах одной и той же географической зоны, а также имеющие одинаковые характеристики потребления (и стоимость их подключения), должны обслуживаться по единому тарифу;
• все тарифы утверждаются государством и подлежат открытому опубликованию.
При этом фактически действующие тарифы учитывают стоимость покупки газа, издержки сооружения, эксплуатации, поддержания и обновления объектов хранения, транспортировки и распределения газа.
Великобритания, газовый рынок которой в настоящее время характеризуется наивысшей степенью конкуренции среди стран Европы в сфере добычи газа и поставки его в газотранспортную систему, деятельность регулирующих органов сосредоточена на развитии конкурентной среды и защите интересов потребителей.
Структура газовой отрасли этой страны (см. рис. 26) отличается от соответствующих структур других стран Запада тем, что в Великобритании существует одна организация, которая отвечает практически за всю деятельность по транспорту газа, включая и магистральные, и местные распределительные сети.
Добыча газа осуществляется большим числом независимых нефтегазовых компаний, и цены на газ устанавливаются на договорной основе в конкурентной среде и не регулируются. Газотранспортные операции и тарифы регулируются Генеральным директором газоснабжения Великобритании, который имеет свой секретариат и известен как регулирующий орган «Офгаз» (рис. 3 и 4).

Рис. 3. Схема транспортной и газораспределительной системы Великобритании

Рис. 4. Действующая схема управления газовой отраслью Великобритании.
Стоимость газотранспортных услуг для различных потребителей в целом учитывает различия в величине издержек, хотя и не в полной мере. Учет социальных факторов приводит к некоторому субсидированию тарифов для самых малых потребителей.
Германия представляет собой промежуточный случай, характеризующийся весьма широким и смешанным диапазоном форм собственности в газовой отрасли, ограниченным (в настоящий момент) уровнем конкуренции и «мягким» регулированием отрасли.
Абсолютный уровень цен на газ в Германии специально не регулируется ни федеральными, ни местными властями. Германская система ценообразования исходит из допущения, что конкуренция между полными издержками газоснабжения и нефтеснабжения сама по себе обеспечивает адекватное ценовое регулирование.
Что касается газификации и расширения сетей, принятие инвестиционных решений основывается на анализе возмещения издержек, который проводится самими ГРО. В связи с тем, что в последние годы были осуществлены высокие объемы инвестирования, главной текущей задачей формирования тарифов в Германии является возмещение этих капвложений.
Цены реализации газа корректируются по инициативе ГРО с учетом динамики изменений издержек, главным элементом которых является цена покупки газа. При этом, однако, тарифы ГРО находятся под наблюдением со стороны Федеральной антикартельной комиссии и ее региональных отделений, которые проводят сравнительный анализ розничных тарифов ГРО и имеют право потребовать их снижения в случае необоснованного завышения. Давление со стороны этой комиссии иногда приводит к такому снижению тарифов, которое может негативно повлиять на объем выручки ГРО.
В таких случаях ГРО не остается ничего другого, как только заняться уменьшением своих расходов, чтобы получить приемлемую рентабельность.
В Канаде газовый рынок представлен высоким уровнем развития как конкурентных условий, так и регулирования отрасли. Регулирование газовой отрасли в Канаде находится в компетенции Национального Энергетического Комитета (НЭК), а на уровне провинций - соответствующих энергетических комиссий провинций. Сфера обязанностей НЭК включает регулирование межрегиональных магистральных газопроводов, а энергетические комиссии провинций отвечают за регулирование деятельности отдельных газораспределительных компаний.
Добыча газа осуществляется в условиях конкурентной среды, и цены на добываемый газ не регулируются. Газораспределительные компании покупают газ, заключая контракты с его производителями, затем организуют магистральный транспорт газа, пользуясь услугами регулируемых предприятий дальнего газопроводного транспорта, и, наконец, распределяют его своим потребителям, используя собственные сети и тарифы, с применением традиционного метода возмещения издержек газоснабжения. Хотя главное внимание при регулировании деятельности ГРО уделяется объему ее общей выручки, региональный регулирующий орган также утверждает ее тарифы, предлагаемые потребителям. ГРО представляет в комиссию свои прогнозные расчеты объемов реализации, издержек и необходимой выручки, свои предложения по распределению издержек по направлениям регулируемой деятельности и, конечно, между регулируемой и нерегулируемой деятельностью.
Аргентина и Венгрия - страны, в которых газовые отрасли находятся на переходном этапе от прежде централизованных государственных систем к приватизированным и ориентированным на рынок отраслям.
Несмотря на то, что в газовой отрасли Аргентины разрешена вертикальная интеграция, на практике она имеет четкую трехуровневую структуру с разделением добычи, магистрального транспорта и распределения газа. Цены на добытый газ не подлежат регулированию. В то же время «Энаргаз» отслеживает максимальный уровень цен добычи, заявленных поставщиками по основным добывающим бассейнам. Газораспределительные компании проводят индивидуальные переговоры с производителями газа и обычно покупают у них газ со скидкой против объявленных цен.
Регулирование аргентинских ГРО осуществляется по методу возмещения издержек газоснабжения, но также с применением механизма обеспечения эффективности в виде ценового потолка (предельных уровней тарифов).
До 1991 г. в газовой отрасли Венгрии доминировала монопольная интегрированная государственная компания «МОЛ», которая отвечала практически за всю деятельность в области нефтяной и газовой промышленности. В 1991 г. газораспределительное направление деятельности «МОЛ» было передано пяти ГРО, которые позднее (в 1995 г.) были проданы иностранным инвесторам. Сегодня Министерство промышленности и торговли и Министерство финансов Венгрии отвечают за утверждение тарифов на газ для конечных потребителей и передаточной цены на газ от «МОЛ» к ГРО, а генеральный директор Венгерской Энергетической Комиссии (независимый регулирующий орган, отвечающий за регулирование газовой и электроэнергетической отраслей под эгидой Министерства промышленности и торговли) готовит рекомендации по ценообразованию. Цены и тарифы устанавливаются для использования на всей территории страны, и все потребители в границах одного сектора конечного потребления (промышленность, население и «общие потребители») платят одну и ту же цену газоснабжения вне зависимости от их географического положения.
Как потребительские тарифы, так и передаточные цены между «МОЛ» и ГРО должны обеспечивать погашение обоснованных капитальных затрат и эксплуатационных издержек эффективно работающих держателей лицензий, а также определенную прибыль для долгосрочной деятельности.
Действующее в Венгрии регулирование цен и тарифов в своем практическом воплощении больше всего напоминает метод «ценового потолка». Его суть заключается в том, что орган, отвечающий за регулирование цен и тарифов, устанавливает их на несколько лет вперед. При этом вначале определяются стартовые цены и тарифы (как указано выше), а затем они корректируются с использованием некой формулы, обычно обеспечивающей соблюдение динамики инфляции (с небольшим лагом). В то же время венгерская модель регулирования также содержит элементы регулирования по методу «затраты плюс».
Наиболее важным преимуществом такого метода является то, что он стимулирует ГРО повышать эффективность своей работы и снижать издержки. Поскольку ГРО понимают, что фиксируется не их прибыль, а их тарифы, они могут оставлять себе дополнительную прибыль, полученную от экономии затрат, по крайней мере, до следующего планового периода регулирования. В этой точке регулирующий орган учитывает уже сниженные издержки (себестоимость) основной деятельности при формировании новых тарифов, что обеспечивает потребителям долгосрочную выгоду за счет снижения тарифов (в реальном выражении) и повышения эффективности услуг.
По результатам анализа схем организации газораспределения в рассматриваемых странах, различий в подходах к ценообразованию и регулированию рынков газа можно выделить следующие особенности и сделать следующие обобщения:
1. В условиях преобладающего централизованного газоснабжения (Франция) количество газораспределительных организаций (ГРО), как правило, незначительно. Это существенно упрощает процедуры принятия решения регулирующими органами. В то же время в странах, где развит конкурентный тип газового рынка (Великобритания, Италия и др.), газораспределение осуществляется множеством самостоятельных конкурирующих фирм (ГРО).
2. Существует широкий диапазон форм собственности и схем организации отрасли. Успешно функционирующая газовая отрасль может быть создана и развиваться на основе одной из целого ряда различных структур, при этом главные различия между ними связаны с:
• глубиной вертикальной интеграции;
• степенью горизонтальной (географической) интеграции;
• масштабами государственной и частной формой собственности в различных подотраслях.
3. Наблюдается широкий спектр подходов к формированию цен и тарифов на газ. Наряду с ориентацией на рыночную стоимость газа в условиях развитого конкурентного рынка, при поставках газа на рынках с доминирующими монопольными свойствами цены; как правило, устанавливаются по формуле «затраты плюс».
На всех изученных рынках газа газораспределительные организации (ГРО) осуществляют возмещение своих затрат за счет реализации газа и оказания услуг своим потребителям. Внешнее субсидирование отсутствует.
4. При установлении уровней тарифов на услуги ГРО для различных потребителей, несмотря на некоторую разницу в издержках на газоснабжение (в зависимости от дальности транспортирования, объема поставок и т. д.), во всех странах используется группирование тарифных ставок по определенным категориям потребителей.
Анализ подходов к установлению уровней тарифов для различных категорий потребителей показывает, что степень дифференциации тарифных ставок во многом зависит от общей зрелости газового рынка и уровня профессионального развития принятой системы регулирования.
Так, в Великобритании, отличающейся высоким уровнем развития газового рынка, используется несколько десятков тарифных ставок, учитывающих детализированные особенности предлагаемых услуг, а также различие в издержках обслуживания потребителей, которые относятся к разным категориям. В то же время в Венгрии, где рыночные отношения в газоснабжении находятся в стадии становления, приняты различные тарифные ставки лишь для трех - четырех категорий потребителей.
5. Особое значение для обеспечения эффективности функционирования газового рынка имеет подход к определению различий в тарифных ставках для промышленных потребителей газа и населения. В табл. 2. приведено сопоставление средних тарифов на природный газ для различных стран. Как следует из данных таблицы, лишь в Чехии и России тарифы для населения были более низкими по отношению к их уровням для промышленности. Это обстоятельство свидетельствует о наличии в Чехии и России субсидирования населения со стороны промышленных потребителей, так как в реальности удельные затраты на газоснабжение населения являются более высокими (в 4-6 раз) по сравнению с соответствующими издержками в промышленности.
Вместе с тем следует отметить следующее:
• наряду со снижением уровня жизни у одной части населения России наблюдается значительное увеличение уровня жизни у другой;
• удорожание промышленной продукции (за счет удорожания стоимости газа) бумерангом возвращается к населению за счет удорожания стоимости потребительской корзины и в наибольшей степени сказывается на той части населения, чей уровень жизни снизился;
Таблица 2.Сравнение средних тарифов па природный газ по странам (долл.США/млн.БТЕ, 1977, источник: МЭА)
| Страна |
Промышленность |
Население |
Соотношение насел./ пром-сть |
| Россия |
1,7 |
0,9 |
0,53 |
| Чехия |
3,8 |
3,3 |
0,87 |
| Венгрия |
2,7 |
4,0 |
1,48 |
| Ирландия |
7,6 |
11,3 |
1,49 |
| Турция |
4,0 |
6,0 |
1,50 |
| Польша |
3,3 |
5,7 |
1,73 |
| Канада |
3,0 |
5,3 |
1,77 |
| США |
3,4 |
6,7 |
1,97 |
| Германия |
4,8 |
10,5 |
2,19 |
| Австралия |
3,4 |
8,4 |
2,47 |
| Нидерланды |
3,4 |
9,1 |
2,68 |
| Франция |
3,9 |
10,5 |
2,69 |
| Япония |
11,7 |
32,4 |
2,77 |
| Бельгия |
3,3 |
10,4 |
3,15 |
| Великобритания |
2,8 |
9,5 |
3,39 |
| Испания |
3,9 |
13,8 |
3,54 |
| Италия |
4,8 |
17,6 |
3,67 |
• отсутствие измерительной аппаратуры у населения (газовых счетчиков) и использование расчетных норм потребления газа, во-первых, практически уравнивают отмеченные категории потребителей и, во-вторых, перерасход газа (не исключено, категорией потребителей с повышенным уровнем жизни) оплачивается из прибыли газораспределительной организации (ГРО). Таким образом, налицо участие и ГРО в перекрестном субсидировании населения.
6. Помимо различий в установлении тарифных ставок организация функционирования газового рынка в различных странах характеризуется разнообразием принятых схем расчета ГРО с потребителями. В этом отношении интересен опыт Великобритании в области расчета за газ с населением. Он заключается в следующем. На период 1997-2007 гг. было введено дополнительное деление потолка выручки по четырем группам потребителей с учетом возможного метода оплаты (табл. 3.):
МЭА- международное энергетическое агентство: БТЕ - британские тепловые единицы.
Таблица 3.Тарифные ставки по методам оплаты.
| Абонентная ставка |
Объемная ставка |
Всего за год |
| фунт ст./год |
пенсов/тепловую
ед.
|
Фунт ст./год |
| Прямой платеж |
| 34,17 |
41,04 |
300,93 |
| 100% |
100% |
100% |
| Опционный платеж |
| 28,02 |
42,62 |
305,05 |
| 82% |
104% |
101,4% |
| В кредит |
| 46,45 |
42,62 |
323,48 |
| 136% |
104% |
107,5% |
| Предоплата |
| 45,15 |
41,06 |
312,04 |
| 136% |
100% |
104% |
• прямая оплата - причитающаяся сумма снимается непосредственно с банковского счета потребителя;
• опционная оплата - потребитель договаривается о ежемесячном снятии определенной суммы с его банковского счета, с корректировкой баланса в конце года;
• стандартный кредит - потребитель оплачивает счет за газ задним числом;
• предоплата - потребитель должен купить жетоны или специальный ключ для включения подачи газа (малообеспеченные граждане). Газовые счетчики при этом предоставляются на условиях аренды.
В последнем случае вследствие экономного расхода газа сумма оплаты газа за год может оказаться значительно ниже расчетных данных и даже ниже, чем в трех первых случаях.
7. Анализ зарубежного опыта в газоснабжении показал, что используются различные схемы регулирования газового рынка. Формы регулирования могут быть «мягкими» в условиях развитой конкурентной среды либо «жесткими» и «предписывающими», когда доминируют монопольные тенденции в организации рынка.
В случае «мягких» форм регулирования в качестве основных регуляторов используются лицензирование прав деятельности отдельных газораспределительных фирм, налоговая политика, а также установление предельных уровней тарифов для различных категорий потребителей.
При «жестком» регулировании главным регулятором обычно служит более детальный контроль необходимых затрат и установление уровней цен в соответствии с формулой «затраты плюс» при соблюдении нормативной величины рентабельности деятельности ГРО.
8. Изучение основных параметров газового рынка за ряд лет показало, что газовая отрасль, включая ее структуры, ценообразование и принципы регулирования, находится в процессе постоянной эволюции. Для целого ряда стран преобладающей тенденцией становится рост конкуренции, а также комбинированных форм рыночных отношений. Одновременно с указанной тенденцией в некоторых публикациях отмечаются мнения, обосновывающие целесообразность усиления централизованного регулирования, связанного, в частности, с укрупнением ГРО, организацией газоснабжающих пулов и т. д.
Исходные принципы ценообразования на природный газ (до начала преобразований в 1992 году) были заложены в рамках реформы цен 1967 года. Основным принципом ценообразования на топливо, принятым в рамках данной реформы цен, являлся принцип единых цен для потребителей на взаимозаменяемые виды топлива. С 1 июля 1967 года так называемые оптовые цены промышленности на газ были установлены на уровне замыкающих затрат на единицу условного топлива в районах потребления. Разница между уровнями оптовых цен промышленности и затратами на добычу и транспортировку газа в форме так называемых рентных платежей и налога с оборота (аналога современного акциза) изымалась в государственный бюджет. При этом налог с оборота изымался через систему оптовых цен промышленности и представлял собой разницу между суммой оптовых цен на газ и суммой внутренних расчетных цен на газ управлений магистральных газопроводов. Изъятие экономической ренты в госбюджет осуществлялось в двух формах:
1) рентных платежей, включенных в оптовые цены газодобывающих предприятий;
2) налога с оборота, входившего в оптовые цены промышленности на природный газ.
В целом система оптовых цен на природный газ была двухуровневой (двух прейскурантной):
1-й уровень - оптовые цены предприятий на природный газ (обеспечение в основном всем добывающим предприятиям безубыточной текущей хозяйственной деятельности);
2-й уровень - оптовые цены на сетевой газ (формирование по принципу единых цен на тонну условного топлива в районах потребления).
Построение системы оптовых цен на топливо с ориентацией на худшие условия производства было направлено на то, чтобы компенсировать в угольной промышленности более высокие затраты на добычу и транспортировку угля по сравнению с затратами на добычу и транспортировку газа, мазута и нефти в районы потребления. При этом оптовые цены промышленности на природный газ были дифференцированы для перепродавцов («горгазов») и двух групп потребителей - социально-ориентированных и промышленных объектов. Такие принципы ценообразования на природный газ приводили к весьма значительной дифференциации оптовых цен реализации природного газа в территориальном разрезе - средние цены реализации сетевого газа по стране различались более чем в два раза.
На первом этапе перехода к рыночной экономике (в 1992-1996 годах) в ценообразовании на природный газ имела место не либерализация принципов ценообразования, а, напротив, их значительное ужесточение. Прежде всего, это связано с тем, что в 1992-1993 годах были осуществлены:
• отказ от зональных цен на природный газ и переход на единые цены по всей территории России (независимо от дальности поставок);
• сохранение дифференциации цен только в рамках двух категорий потребителей - коммунально-бытового сектора и промышленности;
• установление базовых оптовых цен промышленности на природный газ исходя из рентабельного функционирования газовой промышленности в целом;
• переход от эпизодического утверждения цен на природный газ к систематической индексации оптовых цен на него;
• усиление фискального бремени за счет увеличения доли налоговой составляющей непосредственно в оптовых ценах промышленности на природный газ и, как следствие, - доведение налоговой составляющей до 62-65% от цены реализации природного газа конечным потребителям.
Начиная с 1992 года в основу формирования цен на природный газ был положен принцип изолированного ценообразования. То есть цены на природный газ стали устанавливаться только на основе издержек, складывающихся в газовом секторе экономики. При этом целесообразность состава издержек и их уровня (включая рентабельность отдельных звеньев «газовой цепочки») определялась основной действующей хозяйственной единицей - Государственным газовым концерном (а затем - РАО) «Газпром». По существу, с 1992 года правительство отошло от принципа единых цен для потребителей на взаимозаменяемые виды топлива, то ecть от формирования цен на основе их сопоставления по различным видам энергоресурсов. В определенном смысле такое сопоставление цен выполняло функцию, аналогичную межтопливной конкуренции в странах с рыночной экономикой.
Одной из основных причин отхода от принципа межтопливной конкуренции было стремление правительства сдержать инфляционные процессы в экономике за счет усиления контроля за уровнем цен в наиболее управляемых и благополучных (с точки зрения состояния производственных активов) секторах экономики, к числу которых относился и гaзовый сектор. Этому сектору в процессе проведения реформ была oтведена роль не только финансового донора, но и стабилизатора социально-экономической ситуации в стране (прежде всего за счет обеспечения бесперебойных поставок природного газа - независимо от состояния платежной дисциплины получателей).
Переход на единые оптовые цены промышленности на природный газ в значительной степени был также обусловлен особенностями активов газового сектора, в частности, необеспеченностью замерной аппаратурой и устройствами в необходимом количестве, слабой степенью разветвленности системы магистральных газопроводов и др. У АО «Газпром» не было достаточного опыта коммерческой работы по реализации газа - до этого времени его основная задача состояла в том, чтобы добывать природный газ и осуществлять его поставку на дальние расстояния. В определенном смысле «платой» за отход от формирования цен на природный газ на основе сопоставления цен по взаимозаменяемым видам топлива стало повышение степени непрозрачности издержек в рамках «газовой цепочки».
Социальные функции поставок газа, а также отсутствие учета платежеспособного спроса при определении направлений изменения оптовых цен (особенно в период их индексации в 1993-1995 годах) предопределили появление и нарастание неплатежей - феномена российских экономических реформ. Так, в 1993 году потребителями внутреннего рынка было оплачено чуть более половины всего поставленного природного газа, а в 1998 году - только 48% (всеми формами расчетов -денежной, бартерной, взаимозачетами и т.д.).
В итоге в газовом секторе и вокруг него сформировался значительный как по кругу вовлеченных в него участников, гак и по объему операций рынок долговых обязательств. Его конечное назначение — приведение в соответствие предложения природного газа с платежеспособным спросом на внутреннем рынке. Важная особенность данного рынка - множественность цен на природный газ при формальном сохранении принципа единых цен в рамках зон или для отдельных групп потребителей. Множественность цен на газ обусловлена особенностями применения тех или иных форм расчетов, положением тех или иных участвующих в сделке сторон (прежде всего с точки зрения ликвидности товарных групп или иных заменителей платежных средств).
В период 1997-1999 годов ведущими предприятиями газовой промышленности России проводились попытки стимулирования платежеспособного спроса. В указанный период в условиях сохранения основных принципов формирования цен на природный газ и нарастающих неплатежей начал складываться весьма своеобразный подход, суть которого состояла в привнесении элементов контрактного ценообразования. Однако при этом контрактная составляющая была связана не с ценами продажи природного газа, которые утверждались органами исполнительной власти, а с величиной скидок к регулируемым ценам. Уже в конце 1993 года Указом Президента РФ объединению «Газпром» было предоставлено право принимать решения по изменению государственных регулируемых цен на газ при наличии договоренности с потребителями на внутреннем рынке о срочном погашении ими задолженности и применении авансовых платежей. В дальнейшем такая практика получила более широкое распространение. Тем самым официально был осуществлен переход как бы к более гибкой системе цен, учитывающей платежеспособный спрос различных конкретных потребителей (и это при условии действия регулируемых государством цен). При этом, несмотря на рост неплатежей и чрезвычайно низкую оплату природного газа на внутреннем рынке в денежной форме, которая по итогам 1996 года едва составила 2%, до начала 1997 года продолжался периодический пересмотр регулируемых (номинальных) цен на природный газ в сторону их повышения.
Следующим шагом к учету спросовых ограничений, обусловленных платежеспособностью различных групп потребителей в различных районах, стал переход к дифференцированным оптовым ценам промышленности на природный газ. С 1 февраля 1997 года решением Федеральной Энергетической Комиссии (ФЭК) была введена дифференциация оптовых цен по трем поясам. А в конце того же года (с 1 декабря) была введена шкала с еще большей дифференциацией цен - по шести поясам - с их разрывом в 25%, что значительно меньше степени дифференциации цен на сетевой газ, которая существовала в СССР. Наряду с дифференциацией цен начиная с 1997 года проводится опережающее повышение цен на бытовой газ по сравнению с ценами на природный газ для промышленных потребителей. В результате к концу 1998 года цены на бытовой газ были лишь на 12% ниже цен на газ для промышленности, тогда как в 1993 году соотношение данных цен составляло 1:5.
Отсюда следует, что ценообразование на природный газ (особенно начиная с 1997 года) все больше и больше учитывает спросовые ограничения, то есть происходит:
• расширение сферы контрактных взаимоотношений в ценообразовании (за счет расширения сферы применения различных скидок с устанавливаемых государством цен в случае своевременной оплаты);
• приближение цен на природный газ, отпускаемый населению, к природный газ, отпускаемый промышленности;
• углубление дифференциации цен с учетом особенностей различных групп потребителей и различных районов потребления природного газа.
В целом на начало 2008 года выручка от реализации газа конечным потребителям России составила 75 млрд. руб. Однако доля денежных средств в структуре выручки за газ достигла лишь 21%. Остальные средства были получены в виде ликвидных банковских векселей, федеральных денежных зачетов, товарных зачетов, зачетов ценными бумагами, налоговыми освобождениями и прочими расчетами. Среди крупнейших неплательщиков фигурируют предприятия электроэнергетики -40,5 млрд. руб., металлургии - 3 млрд. руб., агрохимии - 2,9 млрд. руб. Долг предприятий, финансируемых из бюджетов всех уровней, составил 15,2 млрд. руб. Наибольшие долги перед ООО «Межрегионгаз» имеют предприятия, финансируемые из федерального бюджета - 4,6 млрд. руб. По состоянию на конец 2007 года во главе списка должников, финансируемых федеральным правительством, находились предприятия оборонной промышленности, организации системы Минобороны, МВД и учебные заведения Минобразования. В территориальном разрезе основными должниками за газ остаются регионы с высоким уровнем газопотребления: Москва и Московская область, Санкт-Петербург, Пермская, Самарская. Челябинская области и др. Ряд регионов в течение 1999 года не расплатились за газ, поставленный еще в 1995 году. К ним относятся Волгоградская, Калужская, Пермская, Пензенская, Рязанская, Тверская, Ульяновская, Ярославская области, Ставропольский край, республики Кабардино-Балкария, Татарстан, Чувашия .
Проблема неплатежей за поставленный природный газ - это не просто проблема своевременности расчетов. Из-за отсутствия соответствующей законодательной базы, а также вследствие технологической специфики энергообеспечения и завышенных социальных обязательств со стороны государства ОАО «Газпром» не располагает действенным механизмом принуждения потребителей платить по счетам за поставленный газ и поэтому превратился в крупнейшего донора экономики России в целом. Низкий уровень платежей за газ ставит компанию перед выбором: либо мобилизовагь ликвидность для расчетов с бюджетом, либо сократить поставки газа до уровня платежеспособного спроса, что, естественно, может сказаться на функционировании всей российской экономики.
В газовом секторе (и с этой точки зрения он не исключение на общероссийском фоне) неплатежи за поставляемую продукцию, приводя к множественности цен фактической реализации, являются одной из основных причин формирования расчетов, ориентированных на реально складывающийся на внутреннем рынке платежеспособный спрос.
Ситуация, сложившаяся в ценообразовании на природный газ, и тотальные неплатежи несомненно приводят к искажению топливно-энергетического баланса страны, дефициту газа и ослаблению устойчивого развития Единой системы газоснабжения.
Чтобы как-то выправить ситуацию, «Газпром» уже с 1 ноября 2008 года повысил оптовые цены на газ на 15%, а с 1 января 2007 года были вдвое увеличены тарифы на транспортировку газа для независимых производителей. В 2009 году ФЭК, проанализировав представленные «Газпромом» расчеты, решила ограничиться повышением цен - в среднем на 21%, что с учетом вступления принятого решения в силу с 1мая дало рост среднегодовой цены лишь на 12%.
В какой-то степени дифференцированный подход был реализован уже в майском решении ФЭК 2001 г.. Если для промышленности цены повысили на 20%, то для федеральных электростанций - на 40%. Правда, такое решение не является дискриминацией энергетиков, а лишь выполняет законодательное требование о прекращении перекрестного субсидирования одних потребителей за счет других. До сих пор федеральные электростанции получали газ на 15% дешевле, чем остальные промышленные потребители. Теперь всех энергетиков уравняли. Что касается цен на газ, потребляемый населением, то ФЭК решила увеличить их всего на 15%, считая, что и это повышение для некоторых категорий граждан будет довольно существенным.
Возникает вопрос: насколько уникальна российская ситуация? Законы экономики диктуют, что все товары должны быть равны с точки зрения экономических условий их реализации, и поэтому природный газ пойдет туда, где складываются наиболее высокие конкурентные цены на него. Исторически цены на природный газ в европейских странах устанавливались в результате влияния двух составляющих - изменения цен на нефтепродукты (прежде всего котельно-печное топливо) и действия принципа net-back (формирования цен у потребителя с учетом дальности поставки в местах формирования «базисных» цен на энергоресурсы). В целом эта система доказала свою жизнеспособность в различных рыночных условиях. Однако в настоящее время имеется ряд обстоятельств, которые оказывают свое влияние на ценообразование. Среди них следует выделить такие:
• потенциально возможно понижение цен на нефть, и как следствие этого, почти полное исчезновение рентной составляющей;
• привязка цен на газ к ценам на нефтепродукты все в большей степени ставится под вопрос. Рост в Северо-Западной Европе потребления природного газа более не определяется заменой нефти, а в основном связан с ростом генерирующих мощностей в электроэнергетике. В этих условиях цены на уголь и цены на электричество предположительно будут играть большую роль в определении цен на природный газ.
В современных условиях на европейском газовом рынке итоговая цена природного газа для потребителя не является результатом балансирования спроса и предложения - она определяется комплексом ценовых условий, в том числе динамикой иен на нефть. В то же время характерно сохранение и совершенствование принципа формирования цен на природный газ на основе межтопливной конкуренции, развитие которой является следствием формирования и расширения конкурентной среды. К числу основных последствий появления конкурентной среды в энергетическом секторе относятся:
• определение цен на энергоресурсы рынком, а не издержками производства;
• определяющая роль соотношения между рыночной ценой и издержками компании в оценке перспектив бизнеса и выбора направлений деятельности для местных распределительных компаний;
• отмена закрытых зон для поставок энергоресурсов на национальном, региональном и местном уровнях.
В конечном счете проведенные этапы либерализации рынка энергоресурсов показывают, что в газовой промышленности Европы в ближайшее время могут произойти следующие изменения:
• снижение цен на газ;
• потеря рядом компаний традиционных ключевых потребителей;
• исчезновение различных рыночных барьеров;
• еще большая сегментация рынка и появление узкоспециализированных групп потребителей и поставщиков;
• усиление дифференциации ценовых механизмов и повышение их прозрачности;
• расширение рынка за счет как появления новых продуктов, так и еще большей диверсификации;
• устранение барьеров между различными составляющими энергетического сектора, прежде всего в рамках цепочки «газ - электроэнергия - топливо - торговля».
Европейский энергетический рынок характеризуется все большим усилением роли потребителя в определении цен на энергоресурсы и усилением в этой связи роли и значения межтопливной конкуренции. Основные направления формирования и дальнейшего развития газового рынка определены в соответствующей Газовой Директиве Европейского Союза 1998 года. Основная цель Директивы - обеспечить безопасную, низкозатратную и экологически приемлемую поставку энергии и природного газа в интересах всего общества. С точки зрения ценообразования Директива отражает приверженность реализации принципа межтопливной конкуренции и определяет лишь общие рамки формирования цен.
Согласно отчетности "Газпрома", поставки природного газа в Европу в 2008 году были осуществлены в объеме 129,5 млрд м3
, что составило 25% потребления. С вводом месторождения Заполярное, где "Газпром" в будущем намерен добывать 100 млрд м3
, стало возможным преодоление негативных тенденций в газодобыче, связанных со вступлением в стадию падающей добычи крупнейших месторождений "Газпрома": Медвежьего, Уренгоя и Ямбурга. Сегодня можно говорить о возможности увеличения экспорта России в Европу. Ведь если в странах ЕС поставкам из России существует альтернатива в виде Норвегии и Алжира, то на перспективном рынке Восточной Европы Россия фактически является монополистом. Расширение присутствия России на европейском рынке требует помимо освоения новой ресурсной базы диверсификации маршрутов транспортировки газа, чему служат новые газотранспортные коридоры, такие как "Голубой поток", ориентированные на различные сегменты европейского рынка. Эти проекты создают основу для устойчивого экспорта газа в будущем.
Экспортные контракты на поставку природного газа в Европу в 2010 году составляют 180 млрд м3
. Сможет ли «Газпром» и другие российские газовые экспортеры продать больше газа в Европу? Ответить на этот вопрос сегодня достаточно сложно, однако есть три базовых фактора, без учета которых говорить о расширении экспорта российского газа не представляется возможным. Первым фактором является положение на внутреннем рынке газа, которое во многом будет зависеть от того, в каком направлении пойдет реструктуризация газового сектора. Вторым - необходимость ввода новых добывающих и транспортных мощностей в российскую газовую промышленность "Газпромом" и "независимыми" производителями. Третий фактор - это сотрудничество со среднеазиатскими производителями природного газа и интеграция их газа на российский рынок. Совокупность этих факторов окажет существенное влияние на экспортную стратегию России.
Крупнейшим отечественным мега-проектом в сфере добычи должно стать освоение месторождений полуострова Ямал, а в газотранспорте планируется строительство Северо-Европейского газопровода. Согласно прогнозу американских специалистов EIA, ежегодный экспорт российского газа в Европу с 2010 года составляет в среднем 190 млрд м3
.
Сегодня российские интересы защищены системой долгосрочных контрактов, от которой единой Европе, по мнению ряда специалистов, в том числе и ведущего экономиста BP П.Дэвиса, будет достаточно сложно отказаться даже к 2012 году. Причину эксперт видит в том, что каждая страна при осуществлении общеевропейских директив о либерализации будет руководствоваться также и национальными интересами. Ряд стран ЕС будут требовать более гибкого подхода и сохранения системы долгосрочных контрактов.
В реализации Ямальской программы, как основе газовой промышленности будущего, заинтересовано государство. Можно предположить, что проект освоения Ямала будет принят правительством и президентом в качестве приоритетного направления для газовой отрасли России. Такой шаг предусматривается согласно проекту Энергетической стратегии России до 2020 года.
Следует отметить, что существуют два принципиально возможных направления в ценообразовании на природный газ - на основе межтопливной конкуренции или на основе издержек в рамках «газовой цепочки» с учетом определенного уровня рентабельности каждого из ее звеньев. В обобщенном виде особенности этих двух подходов к ценообразованию представлены в табл. 4:
Таблица 4. Особенности подходов к формированию цен на природный газ.
| Межтопливная конкуренция |
На основе издержек |
| Рамки, в которых формируются цены па природный газ |
Весь топивно-энергетический сектор (или основная его часть) |
Только газовый сектор
|
| Направления государственного регулирования |
Определение общих законодательных рамок (прежде всего в области налогообложения) |
Определение правил учета и определения обоснованных издержек в звеньях «газовой цепочки» |
| Государственное регулирование в условиях переходной экономики |
Контроль предельных уровней цен на энергоресурсы |
Установление и контроль конкретных уровней иен и тарифов |
| Регулирующий орган |
Правительственное агентство |
Правительственное агентство, государственная компания |
Помимо отмеченных выше «крайних» подходов (формирования цен на основе межтопливной конкуренции и на основе издержек в рамках «газовой цепочки») возможны также их различные комбинации – формирование цен на основе издержек производства различных энергоресурсов, как это было при централизованны планировании и управлении. Также к числу комбинаций отмеченных выше подходов относится, и разделение принципов ценообразования на природный газ в зависимости от состояния основных производственных активов сектора - прежде всего с точки зрения сроков ввода в разработку месторождений. Как правило, такой подход применяется в случае необходимости стимулирования ввода в разработку новых месторождений (при наличии регулируемых цен на природный газ). В частности, данный подход был применен в 80-х годах в Канаде, где по новым месторождениям цены были либерализованы, а для находящихся в разработке были установлены предельные уровни цен.
Аналогичный подход в 1993-1994 годах предлагался рядом специалистов и для России. Однако при этом не учитывалось, что введение гибких и комплексных систем ценообразования требует наличия соответствующих систем учета и контроля, а также высококвалифицированных специалистов и соответствующих учреждений (как правило, в статусе государственных агентств), чем Россия тогда не располагала. Правительство в тот период фактически рассматривало и принимало предложения, подготовленные в недрах монопольного производителя природного газа - АО «Газпром». В большинстве стран мира деятельность соответствующих агентств по регулированию естественно-монопольных видов деятельности отделена не только от государственных компаний, но и от соответствующих органов исполнительной власти. Во многом именно в силу данных обстоятельств в России и была сформирована ФЭК. Последнее означает, что, несмотря на объективные преимущества того или иного подхода к регулированию цен на природный газ, существует также группа факторов и условий, связанных с реализуемостью различных подходов в конкретных условиях.
Возможность перехода к формированию цен на природный газ на условиях межтопливной конкуренции зависит от целого ряда обстоятельств - таких как социально-экономическая роль того или иного вида энергоресурсов (и, следовательно, возможность формирования цен на него под определяющим влиянием экономических факторов), соотношение в топливно-энергетическом балансе различных энергоресурсов (что определяет лидирующую роль того или иного энергоресурса вформировании цен), наличие необходимой производственно-технологической инфраструктуры и пр.
Начиная со второй половины 70-х годов в СССР энергетическая политика была направлена на ускоренное освоение и развитие газовых ресурсов. Особенно значительные изменения произошли в 80-е годы - с вводом крупнейших месторождений природного газа в Западной Сибири - Уренгойского (мощностью по добыче 290 млрд. м3
в год) и Ямбургского (мощностью 190 млрд. м3
). Ускоренный ввод данных месторождений в разработку не мог не вызвать резкого увеличения доли природного газа в производстве первичных энергоресурсов. Увеличение поставок природного газа привело к тому, что уже в начале 80-х годов его доля в производстве первичных энергоресурсов превысила 20%.
Экономический кризис, сопровождавшийся значительным спадом производства энергоресурсов (в частности, почти двухкратным уменьшением добычи нефти и более чем двухкратным спадом добычи угля), привел к еще большему увеличению доли природного газа в производстве первичных энергоресурсов в России - в первой половине 90-х годов она превысила 40%. Данная тенденция сохранилась и во второй половине 90-х годов - доля природного газа в производстве первичных энергоресурсов в 1998 году составила уже 50%. Характерно, что указанный процесс идет ускоренными темпами - быстрее, чем предполагалось.
За последние 20 лет потребление газа в России увеличилось почти в 2 раза. Наиболее высокие приросты газопотребления имели место в Центральном, Уральском и Поволжском экономических районах. Доля газового топлива уже сейчас превышает 70% в энергобалансе многих регионов европейской части страны. В то же время крайне низки показатели газификации Дальнего Востока и Восточной Сибири - около 9% в каждом регионе. Не газифицирован огромный регион на востоке России - Бурятия, Тува, Иркутская, Читинская Амурская, Магаданская и Камчатская области. Приморский край. Крайне низки показатели газификации и основных сырьевых регионов. В некоторые области Западной Сибири газ либо начал подаваться только в последнее время, как, например, на Алтай, либо его доля в суммарном потреблении котельно-печного топлива незначительна - например, в Омской, Томской, Новосибирской и Кемеровской областях.
Столь парадоксальная, на первый взгляд, география газопотребления объясняется весьма просто: прежде газифицировались, как правило, крупные города и области, расположенные вблизи основных экспортных магистралей, протянувшихся от месторождений тюменского Севера на запад. При этом газификация тех или иных регионов определялась зачастую исходя из ведомственных приоритетов, то есть без оценки последствий принимаемых решений с точки зрения развития производства альтернативных видов топлива. Например, расширение поставок природного газа в Кемеровскую область в свое время привело к значительному уменьшению потребления угля, а также к консервации существующих технологий его использования (вследствие более низких цен на природный газ по сравнению с углем). Аналогичная ситуация складывается и с расширением поставок природного газа в Архангельскую область - резко уменьшается потребность области в использовании угля из Республики Коми.
При расширении потребления природного газа в том или ином регионе и переходе данного вида энергоресурсов в разряд доминирующего резко снижаются возможности действия межтопливной конкуренции. Более того, на газовую промышленность в неявной форме налагаются обязательства по поддержанию производства экономически менее эффективных энергоресурсов. Для выполнения данной задачи государство увеличивает налоговое бремя на газовую промышленность, чтобы обеспечить финансирование программ реструктуризации, например, угольной промышленности.
В отраслевом разрезе крупнейшим потребителем газа в стране является промышленность, в которой абсолютное потребление газа растет ежегодно. Однако в структуре потребления ее удельный вес с 1980 года снизился почти на 20%. Доля коммунально-бытовых потребителей остается практически на одном уровне - 11-13%. Потребление газа электростанциями растет высокими темпами и в настоящее время составляет порядка 130-140 млрд. м3
в год. В топливном балансе электростанций природный газ стоит на первом месте (62%), затем - уголь (29%) и мазут (9%).
В формировании топливно-энергетического баланса России на ближайшие 20 лет природному газу отводится ведущая роль. Один из прогнозов спроса на газ внутри России (он достаточно широко цитировался ведущими менеджерами ОАО «Газпром»), основан на предположении о сокращении потребления ориентировочно до 2000 года с последующим восстановлением и ростом уровня потребления газа до 435-440 млрд. м3
к 2012 году. В соответствии с данным прогнозом, в 2014 году потребление газа в стране должно увеличиться еще на 9-11%. Следует отметить, что приведенный прогноз является, на наш взгляд, чересчур оптимистическим. Он во многом основан на физических предпочтениях потенциальных потребителей (то есть на том, сколько природногогаза они могли бы потребить) и не принимает во внимание реальный платежеспособный спрос и реальное финансово-экономическое состояние различных групп потребителей. На наш взгляд, относительное (и отчасти абсолютное) увеличение потребления природного газа на внутреннем рынке России в 90-е годы происходило во многом по инерции - за счет быстрого спада производства альтернативных энергоресурсов и, напротив, устойчивого функционирования комплексов по добыче и транспортировке газа (созданных, как мы отметили выше, в 80-е годы) и необходимости обеспечения бесперебойных поставок (независимо от состояния платежной дисциплины).
На ближайшие 10-15 лет «Новой энергетической политикой России» предусматривается дальнейшее наращивание использования природного газа во всех сферах экономики - прежде всего в коммунально-бытовом секторе. Газ должен обеспечить не только прирост энергопотребления, но и компенсировать снижение добычи угля и нефти. В 2002 году потребителям России было поставлено по системам магистральных газопроводов 350 млрд. м3
газа, а к 2012 году прогнозируемая потребность (по оценкам, которыми оперирует ОАО «Газпром») может возрасти на 15-20% . Столь существенные изменения в структуре производства первичных энергоносителей - значительное повышение удельного веса природного газа в энергобалансе России в целом, а также еще более значительное увеличение доли природного газа в энергобалансах ведущих промышленных регионов (до 70% и более) - не могли не повлиять на резкое ослабление роли и значения межтопливной конкуренции при формировании цен на природный газ. Очевидно, что повышение удельного веса природного газа в энергобалансе оказывает понижающее влияние на общий уровень цен на энергоресурсы.
В то же время данная объективная тенденция понижения цен на энергоносители оказалась в явном противоречии с государственной политикой в области ценообразования на альтернативные виды энергоресурсов. Суть противоречия состоит в том, что были предприняты (и реализованы) шаги, направленные:
• на либерализацию цен на альтернативные энергоресурсы;
• на жесткое регулирование (сдерживание) цен на природный газ;
• на сохранение (и даже усиление) социальной роли топливно-энергетического сектора экономики (и прежде всего ведущей его части - газовой промышленности);
• на сохранение и поддержание функционирования неэффективных групп производителей и потребителей.
Данные обстоятельства привели, как нам представляется, к резкому уменьшению возможностей реализации схемы ценообразования на природный газ в рамках межтопливной конкуренции. Проявлению данной тенденции также способствовала ориентация во внутренней энергетической поли гике России на расширение использования природного газа (осуществление так называемой «газовой паузы») без учета и оценки направлений развития добычи и использования альтернативных видов топлива в более широком социально-экономическом контексте (а не только в рамках решения проблемы изменения структуры топливно-энергетического баланса). Не случайно поэтому в конце 90-х годов перед Россией остро встала необходимость пересмотра прежней идеологии баланса добычи, производства и потребления первичных энергоресурсов (прежде всего с позиции усиления внимания к региональным аспектам эффективности использования тех или иных видов первичных энергоресурсов).
Резкое увеличение доли природного газа в структуре энергобаланса - как России в целом, так и отдельных ее регионов - создало предпосылки к снижению цен на энергоресурсы ввиду относительной дешевизны природного газа, получаемого с уникальных месторождений севера Западной Сибири (несмотря на значительную дальность транспортировки до основных районов газопотребления). Однако реализация данных объективных предпосылок снижения цен на энергоресурсы предполагает:
• сокращение производства неэффективных энергоресурсов;
• наличие условий для обеспечения межтопливной конкуренции (прежде всего - необходимой производственной инфраструктуры, такой как разветвленная сеть распределительных трубопроводов, хранилищ природного газа и пр.);
• отсутствие социальной нагрузки на топливно-энергетический комплекс в виде дотационных или просто бесплатных поставок энергоресурсов социально-значимым группам потребителей.
Во многом именно в силу отмеченных выше причин и обстоятельств в рамках общей политики либерализации экономики и был peaлизован такой сценарий изменения цен на первичные энергоресурсы, при котором цены на природный газ устанавливаются государством, а цены на альтернативные виды энергоресурсов (прежде всего на уголь и жидкое котельно-печное топливо) устанавливаются под воздействием факторов предложения и спроса.
Одним из основных факторов, препятствующих конкуренции природного газа с альтернативными видами топлива в экономике России, является высокий уровень издержек на доставку и распределение других видов топлива по сравнению с транспортировкой природного газа но системе магистральных и распределительных трубопроводов. Именно из-за отсутствия инфраструктуры распределения альтернативных видов топлива они не поставляются в целый ряд регионов России. В этих случаях использование природного газа не имеет альтернатив. К тому же зачастую в тех районах, где природный газ является безальтернативным энергоресурсом, сосредоточены социально-значимые потребители (населенные пункты, государственные учреждения) или же экономически неэффективные производства.
Отмеченные выше обстоятельства (такие как ведущая роль природного газа в топливно-энергетическом балансе России, а также значительная социальная направленность поставок природного газа) затрудняют применение в условиях России принципов рыночного ценообразования, основанного на сопоставлении цен на альтернативные конкурентные виды первичных энергоресурсов. Повышение цен на природный газ до уровня цен на альтернативные энергоресурсы должно сопровождаться не только развитием инфраструктуры, но и повышением платежеспособности социально-значимых потребителей.
Таким образом в настоящее время ценообразование на природный газ основано, как отмечалось выше, не на конкуренции альтернативных видов топлива, а на прямом учете издержек по всем звеньям «газовой цепочки» (добыча - магистральный транспорт - газораспределение). При этом если в рамках системы централизованного планирования и управления имело место определенное сочетание формирования цен на основе как издержек, так и «нормативной» рентабельности производства и транспортировки различных видов первичных энергоресурсов, то начиная с 1991 года ценообразование на природный газ стало «изолированным», то есть основанным исключительно на учете издержек в рамках «газовой цепочки».
Основная особенность существующей системы ценообразования заключается не столько в ее «затратном» характере (ориентации на стоимость услуг производителей и поставщиков и «нормативную» рентабельность операций в пределах различных звеньев «газовой цепочки»,сколько в ее зависимости от представлений об уровнях издержек, определяемых основным хозяйствующим субъектом - монополистом ОАО «Газпром». Государство в настоящее время не присутствует на таких стадиях ценообразования, как определение издержек на стадии добычи и транспорта природного газа.
Эволюцию, точнее, адаптацию системы ценообразования к новым условиям, как нам представляется, будут определять следующие обстоятельства:
• сохранение в обозримой перспективе монопольного положения «Газпрома» на рынке производства природного газа;
• сохранение монопольного положения «Газпрома» на рынке предоставления услуг по магистральному транспорту природного газа;
• сохранение и усиление ведущей роли природного газа в балансе производства и потребления первичных энергетических ресурсов.
В конце настоящей главы сделаем выводы по конкурентным возможностям России на основном экспортном рынке поставки газа – европейскому.
В целом к 2014 году потребление природного газа в Европе вырастет, как минимум, на 18% по сравнению с 2008 годом, и на рынке будут происходить значительные изменения.
Совокупное потребление на европейском рынке составит, как прогнозировалось, 610-640 млрд м3
, что как минимум на 76 млрд м3
больше суммы объемов добычи европейскими странами и поставок традиционных экспортеров России и Алжира, чьи совокупные возможности оцениваются на сегодняшний день в 534 млрд м3
. Тем не менее, о дефиците газа в Европе говорить не приходится, поскольку дополнительные объемы природного газа, необходимые для ее устойчивого развития, могут быть поставлены на рынок иными производителями, а именно, странами Африки, Персидского залива и некоторыми государствами бывшего СССР. Африканские производители будут активнее расширять свое присутствие на европейском рынке по сравнению со странами Средней Азии или Персидского залива. Для последних более важным представляется формирующийся газовый рынок стран АТР, где спрос на газ растет более быстрыми темпами, нежели в Европе. Тем не менее, переориентировать свои поставки на Европу для них, как показывает практика, не составит никакой трудности. Для государств постсоветского пространства существует три реализуемых на практике варианта поведения на мировом газовом рынке: самостоятельный выход на рынок Европы (Азербайджан), продажа газа России и фактический отказ от экспансии в Европу (Туркменистан), создание совместных с Россией предприятий для работы на европейском рынке (Казахстан).
России удастся выполнить свои существующие экспортные обязательства, однако стратегию укрепления ее присутствия на европейском газовом рынке нужно строить исходя из развития внутреннего рынка, возможностей отечественной газовой промышленности по развитию новых проектов добычи и транспорта газа и расширения сотрудничества России со среднеазиатскими производителями. Реализация этих трех положений будет способствовать сохранению и укреплению России в роли ведущего партнера ЕС в сфере энергетики.
1. Договор к Энергетической Хартии и связанные с ним документы/ Секретариат КЭХ, 1996.
2. Доктрина энергетической безопасности России. М. Минтопэнерго России. 1998.
3. Закон Российской Федерации от 22 марта 1991 г. № 948-1 «О конкуренции и ограничении монополистической деятельности на товарных рынках».
4. Федеральный Закон от 14 апреля 1995 г. № 41-ФЗ «О государственном регулировании тарифов на электрическую и тепловую энергию в Российской Федерации».
5. Федеральный закон от 17 августа 1995 г. N 147-ФЗ «О естественных монополиях».
6. Федеральный закон от 25 августа 1995 г. N 153-ФЗ «О федеральном железнодорожном транспорте».
7. Федеральный Закон от 31 марта 1999 г. N 69-ФЗ «О газоснабжении в Российской Федерации».
8. Указ Президента РФ от 1 июня 1992 г. № 539 «О неотложных мерах по освоению новых крупных газовых месторождений на полуострове Ямал, в Баренцевом море и на шельфе острова Сахалин».
9. Указ Президента РФ от 5 ноября 1992 г. N 1333 «О преобразовании Государственного газового концерна «Газпром» в Российское акционерное общество «Газпром».
10. Указ Президента РФ от 29 ноября 1995 г. N 1194 «О Федеральной энергетической комиссии Российской Федерации».
11. Указ Президента РФ от 28 февраля 1995 г. N 220 «О некоторых мерах по государственному регулированию естественных монополий в Российской Федерации».
12. Постановление Правительства РФ от 9 марта 1994 г. N 191 «О Государственной программе демонополизации экономики и развития конкуренции на рынках Российской Федерации (основные направления и первоочередные меры)».
13. Постановление Правительства РФ от 12 февраля 1996 г. № 140 «О мерах по ограничению роста цен (тарифов) на продукцию (услуги) естественных монополий».
14. Постановление Правительства РФ от 13 августа 1996 г. N 960 «Об утверждении Положения о Федеральной энергетической комиссии Российской Федерации».
15. Постановление Правительства РФ от 7 августа 1997 г. N 987 «Об утверждении Программы мер по структурной перестройке, приватизации и усилению контроля в сферах естественных монополий».
16. Постановление Правительства России «О мероприятиях по решению задач государственной антимонопольной политики, демонополизации экономики и дальнейшего развития конкуренции на товарных рынках Российской Федерации в 1998-2000 годах» от 21 февраля 1998 г. № 239.
17. Постановление № 253 от 3 марта 1999 г. «О мерах, исключающих необоснованный рост затрат и цен (тарифов) на продукцию (услуги) субъектов естественных монополий в 1999 году».
18. Постановление от 13 октября 1999 г. № 1158 «Об обеспечении соблюдения экономически обоснованных принципов формирования цен на продукцию (услуги) субъектов естественных монополий».
19. Распоряжение Правительства РФ от 26 июля 2000 г. N 1072-р «О Плане действий Правительства Российской Федерации в области социальной политики и модернизации экономики на 2000-2001 годы».
20. Абалкин Л.И., Львов Д.С., Макаров ВЛ. и др. Предложения РАН по повышению эффективности ТЭК в Российской экономике. Энергетическая политика. М., 2008, вып. 5.
21. Апарин Н., Мымрикова Л.. Методология изучения эффективности концентрации и монополизма в промышленности. // Вопросы статистики, 2007, № 12.
22. Арбатов А.А., Шакай А.Ф.. Обострение сырьевой проблемы и международные отношения. М.: Международные отношения. М., 2005.
23. Асланова Т.О. Регулирование внешнеэкономической сферы: некоторые проблемы совершенствования. Проблемы прогнозирования. 2006. №2.
24. Башмаков И.А. и др. Энергетика мира: уроки будущего. М.: ИНЭИ РАН, 2007.
25. Башмаков И.А., Бесчинский А.А. Сопоставление основных показателей развития энергетики и энергетической эффективности производства в СССР, США и Западной Европе в 1971-2008 годах. М.: ИНЭИ РА И, 2009,т.1,т.2.
26. Белоусова Н.И., Васильева Е.М., Лившиц В.Н. Реформирование естественных монополий в России: теоретический аспект. // ЭКО, 2009, №4.
27. Бесчинский А.А., Клокова Т.Н., Баграмян И.С. Мировая торговля энергоресурсами. - В кн.: Материалы международной конференции "Евразийский рынок энергоресурсов: новые стимулы и приоритеты устойчивого развития" 23-24 ноября 2007 г., М.: МТЭА, 2007.
28. Боксерман Ю.И., Ремизов В.В., Смирнов В.А. Проблемы целостности единой системы газоснабжения. М.: ИНЭИ РАН, 2006.
29. Боксерман Ю.И., Ремизов В.В., Смирнов В.А. Проблемы целостности единой системы газоснабжения. М.: ИНЭИ РАН, 2007.
30. Боксерман Ю.И., Смирнов В.А. Единая система газоснабжения. Проблемы перехода к рынку. М.: ИНЭИ РАН. 2008.
31. Болматова, О. "Газпром" создаст себе условия для спокойной работы. Нефть и капитал. 2006, № 1, с.64.
32. Власов П. Выбор императора. // Эксперт, №37,4 октября 2008 г.
33. Власов П. Турнир в Кайзбурге. // Эксперт, №10, 15 марта 2008 г.
34. Вяхирев Р.И. Газовая промышленность на пороге XXI века - В кн.: Юбилейный сборник научных трудов: 50 лет газопроводу Саратов-Москва. Т.1. М.: ВНИИгаз, ИРЦ «Газпром», 2006.
35. Вяхирев Р.И. Проблемы и перспективы развития Единой системы газоснабжения России. Энергетическая политика. М., 2006, вып.З-4.
36. Газовая дипломатия в российской политике. Независимая газета, 25 октября 2007.
37. Гельвановский М, Глазова Е., Никитин С. Монополия в конкурентном и неконкурентном хозяйстве// Экономические науки и современность, 2008, № 3.
38. Глобальная энергетическая проблема. М.: Посткриптум, 2008.
39. Голубева Е. Неоднозначность естественного монополизма. // Власть, 2007, №10.
40. Долан Э.Дж., Линдсэй Д. Микроэкономика: Пер. с англ. В. Лукашевича и др. / Под общ. ред. Б. Лисовкина и В. Лукашевича. СПб., 2006.
41. Домнина И. Проблемы взаимодействия естественных монополий с регионами. // Экономист, 2008, №11.
42. Жизнин С. Энергетическая дипломатия: Россия и страны мира на рубеже XXI века: Баланс и конфликт интересов. Москва: Дипломатическая академия МИД России. "Научная книга". 2007.
43. Земляков Д.Н. Конспект лекций по курсу «Микроэкономика». Учебн. пос. - М., 2006.
44. Золотухин В.Г. Ценовая дискриминация — главный фактор распространения неплатежей в экономике России.// Общество и экономика, 2007, № 7.
45. Инвестиции в энергетику. Совместный доклад секретариата Энергетической хартии МЭА для встречи министров энергетики стран "восьмерки" в Москве 31 марта — 1 апреля 2008 г.
46. Информационный бюллетень./ Пресслужба «Газпром», №922, №923.
47. Исходные условия для прогноза развития отраслей ТЭК. М.: ИНЭИ РАН, 2007.
48. Как делили «BritishGas», «Коммерсант», 22 апреля 2007 г.
49. Кокорев В. Институциональная реформа в сфере инфраструктуры в условиях естественной монополии. // Вопросы экономики, 2008, № 4.
50. Колесников А.С. Концепция энергетической политики России в современных экономических условиях. М.: Факт-М, 2006.
51. Коломийченко О.В., Котелкина Е.И., Соколова И.П. Регулирование естественных монополий: анализ мирового опыта и построение системы регулирования в Российской федерации. // Антимонопольное законодательство. - С-Пб, 2007, №1.
52. Концепция научно-технической политики РАО "Газпром" до 2015г. М., 2008.
53. Концепция преимущественного использования природного газа в энергетике России и других стран СНГ в рамках мирового энергетического рынка (проект «Эпоха метана»). М.: МТЭА. ИНЭИ РАН, Энергоцентр, 2007.
54. Корсаков О.Н. Газовая промышленность России. Стратегия развития и научные проблемы. М.: РАО «Газпром», ВНИИ газ, 2008.
55. Котелкина Е.И. Государственное регулирование естественных монополий (на материалах промышленности и отраслей инфраструктуры).- С-Пб, 2007.
56. Лакомова О.Т. Топливно-энергетический комплекс России: контроль и регулирование внешнеэкономической деятельности. Внешняя торговля. 2007, № 6.
57. Латынин О.Р. Топливно-энергетический комплекс России: контроль и регулирование внешнеэкономической деятельности. М., Энергоатомиздат, 2006.
58. Макаров А.А., Мировая энергетика и Евразийское энергетическое пространство. М.: Энергоатомиздат. 2008.
59. Макарова Г.Н. Командно-административный монополизм и его модификации в условиях постсоциалистической экономики. - Иркутск: Изд-во Иркутского ун-та, 2005.
60. Малинникова Е.В. Естественные монополии в России: проблемы, противоречия и первые итоги.// Экономический журнал ВШЭ, Том 2,2006, №4.
61. Малинникова Е.В. Зарубежный опыт регулирования естественных монополий.// Экономический журнал ВШЭ, Том 2,2006, №3.
62. Маршалл А. Принципы экономической науки: В 3 т.: Пер. с англ. - М.: Изд. Группа «Прогресс», «Универс», 2007.
63. Материалы Международной Конференции "Восточная энергетическая политика: проблемы интеграции в энергетическое пространство АТР". 22-26 сентября 2006, Иркутск.
64. Материалы Международной конференции «Европейский рынок энергоресурсов: новые стимулы и приоритеты устойчивого развития».М.: МТЭА, 2008.
65. Научно-технический прогресс в газовой промышленности и рынок/Смирнов В.А., Боксерман Ю.И., Седых А.Д., Вольский Э.Л. М.: РАН «Газпром», ИНЭИ РАИ, МТЭА, Энергоцентр. Некрасов А.С., Борисову И.Н., Критинина Ю.С. и др. Цены на энергию в экономике России / Проблемы прогнозирования, 2006, №3.
66. Национальная безопасность России: преодоление стереотипов. Аналитическая группа «Россия: вызов времени». Март 2007..
67. Новые принципы финансовой поддержки регионов. Известия, 10 июля 2007 г.
68. Ойкен В. Основные принципы экономической политики. - М.: Прогресс, 2007.
69. Основные концептуальные положения развития нефтегазового комплекса России //Нефтегазовая вертикаль. 2007. №1.
70. Патрушев П.М. Геоэкономическая стратегия России. Россия и современный мир, М.,Факт-М, 2008.
71. Перемышлев В. Локомотив экономики. // Паспорт экспресс, 2006, № 2.
72. Перерва С.В. Состояние и развитие РАО «Газпром». М.,Энергоатомиздат, 2007.
73. Перспективы развития мировой энергетики до 2020 г./Доклад МЭАдля заседания министров энергетики стран "восьмерки" в Москве31 марта-1 апреля 2008 г.
74. Перспективы развития производства и применения в России моторных топлив и химических продуктов из природного газа до 2014 г. М.: РАО "Газпром", МТЭА, ИНЭИ РАН, Энергоинформцентр.,2008.
75. Перспективы развития производства и применения в России моторных топлив и химических продуктов из природного газа до 2014 г. М.: РАО «Газпром», МТЭА, ИНЭИ РАН, Энергоцентр, 2008.
76. Политика РАО «Газпром» в области охраны окружающей среды// Научно-технический сб. «Экономика, организация и управление производством в газовой промышленности», 2008, № 5.
77. Роль газовой промышленности в интеграции стран СНГ/ М.: Газоил-пресс. 2008.
78. Российский статистический ежегодник./ Статистический сборник. Госкомстат России.-М., 2009.
79. Россия в цифрах. / Краткий статистический сборник. Госкомстат России.- М., 2009.
80. Салманов Ф. Топливно-энергетический комплекс России в период реформ. М., Экономика, 2008.
81. Седых А.Д., Галиуллин З.Т., Одишария Г.Э. Прогноз научно-технического прогресса в магистральном транспорте газа до 2015 года. - В кн.: Юбилейный сборник научных трудов: 50 лет газопроводу Саратов-Москва. Т.2. М.: РАО «Газпром», ВНИИгаз, ИРЦ «Газпром», 2006.
82. Стратегия развития газовой промышленности России / Под ред. Р.И. Вяхирева, АЛ. Макарова. М,: Энергоатомиздат. 2007.
83. Стратегия развития газовой промышленности России, М. Энерго-атомиздат, 2008 (под редакцией Вяхирева Р.И., Макарова А.А.).
84. Телегина Е.А. Международные инвестиции в мировую энергетику. М.: РГУНГ. 2009.
85. Телегина Е.А. Международный бизнес нефтегазовой корпорации. М.: ГАНГ. 2008.
86. Топливно-энергетический комплекс России: Вчера, сегодня, завтра. М.: Минтопэнерго России. 2008.
87. Топливно-энергетический комплекс России: Современное состояние и взгляд в будущее./ Г.В.Агафонов, Е.Д.Волкова, Н.И.Воропай и др. - Новосибирск: «Наука» Сибирская издательская компания РАН, 2007.
88. Фейгин В. Газовая промышленность России: состояние и перспективы. // Вопросы экономики, 2008, № 1.
|