Истощение ресурсов гидросферы. Загрязнение воды. Нормирование параметров качества воды.
Гидросфера
- одна из важнейших составляющих нашей планеты, объединяющая все свободные воды. Она занимает около 70% поверхности земного шара. Общие запасы воды в свободном состоянии составляют 1386 млн. км3
. Если бы этой водой равномерно покрыть земной шар, то ее слой составил бы 3700 м. В то же время 97-98% воды - это соленые воды морей и океанов. И лишь 2-3% - пресная вода, необходимая для жизни. 75% пресной воды на Земле находится в виде льда, значительную часть ее составляют подземные воды, и лишь 1% доступен для живых организмов.
Вода входит в состав всех элементов биосферы. Это составная часть не только водоемов, но и воздуха, почвы, живых существ.
Вода - это источник жизни, без нее невозможно существование ни животных, ни растений, ни человека. Она входит в состав клеток и тканей любого животного и растения. Сложнейшие реакции в животных и растительных организмах могут протекать только при наличии воды. Тело человека на 65% состоит из воды. Тела животных содержат, как правило, не менее 50% воды. Растения также содержат много воды: картофель - 80%, помидор - 95% и т.д.
Под влиянием солнечной энергии и сил гравитации воды Земли могут переходить из одного состояния в другое и находятся в непрерывном движении. Круговорот воды увязывает воедино все части биосферы, образуя в целом замкнутую систему; океан - атмосфера - суша.
Гидросфера играет решающую роль в формировании особых черт планеты. Она имеет большое значение в процессах обмена кислородом и углекислым газом с атмосферой, способствует поддержанию относительно неизменного климата, что позволило жизни воспроизводиться в течение более 3 млрд. лет. Климат на Земле во многом зависит от водных пространств и содержания водяного пара в атмосфере. Океаны и моря оказывают смягчающее, регулирующее воздействие на температуру воздуха, накапливая тепло летом и отдавая его атмосфере зимой. В океане происходит циркуляция и перемешивание теплых и холодных вод.
В гидросфере протекает основное количество химических реакций, обусловливающих производство биомассы и химическую очистку биосферы. Факторы самоочищения водоемов многочисленны и многообразны. Условно их можно разделить на три группы: физические, химические и биологические.
Забиваем Сайты В ТОП КУВАЛДОЙ - Уникальные возможности от SeoHammer
Каждая ссылка анализируется по трем пакетам оценки: SEO, Трафик и SMM.
SeoHammer делает продвижение сайта прозрачным и простым занятием.
Ссылки, вечные ссылки, статьи, упоминания, пресс-релизы - используйте по максимуму потенциал SeoHammer для продвижения вашего сайта.
Что умеет делать SeoHammer
— Продвижение в один клик, интеллектуальный подбор запросов, покупка самых лучших ссылок с высокой степенью качества у лучших бирж ссылок.
— Регулярная проверка качества ссылок по более чем 100 показателям и ежедневный пересчет показателей качества проекта.
— Все известные форматы ссылок: арендные ссылки, вечные ссылки, публикации (упоминания, мнения, отзывы, статьи, пресс-релизы).
— SeoHammer покажет, где рост или падение, а также запросы, на которые нужно обратить внимание.
SeoHammer еще предоставляет технологию Буст, она ускоряет продвижение в десятки раз,
а первые результаты появляются уже в течение первых 7 дней.
Зарегистрироваться и Начать продвижение
Среди физических факторов первостепенное значение имеют разбавление, растворение и перемешивание веществ. Этому способствует интенсивное течение рек. Кроме того, на процесс очистки влияют оседание в воде нерастворимых осадков, а также отстаивание загрязненных вод. Важным физическим фактором самоочищения является ультрафиолетовое излучение Солнца. Под его влиянием гибнут бактерии, вирусы, микробы.
Из химических факторов самоочищения следует отметить окисление органических и неорганических веществ кислородом, растворенным в воде.
Активную роль в самоочищении гидросферы играет совокупная деятельность всех населяющих водоемы организмов. В процессах жизнедеятельности они окисляют (разлагают) органические загрязнители.
Кроме всего указанного выше, гидросфера является важным источником продовольствия для людей и других обитателей суши, источником получения ценного сырья и топлива. Океаны, моря, реки и другие водоемы представляют собой природные пути сообщения и имеют рекреационное значение.
Водоемкость всего человеческого хозяйства в XX столетии увеличилась в 12 раз и достигла около 5 тыс. км в год. Это почти 14% годового стока всех рек мира. Реки остаются преобладающим источником водоснабжения в мире.
Около 70% мирового водопотребления приходится на сельское хозяйство, 13% - на промышленность, 10?/о - на коммунально-бытовые нужды, 7% - на собственные нужды водного хозяйства (гидроэнергетика, судоходство, рыбное хозяйство и др.).
Главными источниками антропогенного загрязнения гидросферыслужат:
• сточные воды промышленных Предприятий;
• сточные воды коммунального хозяйства городов и других населенных пунктов;
• стоки систем орошения, поверхностные стоки с полей и других сельскохозяйственных объектов;
• атмосферные выпадения загрязнителей на поверхность водоемов и водосборных бассейнов;
• преднамеренное захоронение на дне морей и океанов различных токсических отходов (в том числе радиоактивных);
• утечка и аварийные выбросы загрязняющих веществ с судов и из подводных трубопроводов.
Сточные воды
- это воды, использованные на бытовые, производственные или другие нужды и загрязненные различными примесями, изменившими их первоначальный химический состав и физические свойства, а также воды, стекающие с территорий населенных пунктов и промышленных предприятий в результате выпадения атмосферных осадков или поливки улиц,
Сервис онлайн-записи на собственном Telegram-боте
Попробуйте сервис онлайн-записи VisitTime на основе вашего собственного Telegram-бота:
— Разгрузит мастера, специалиста или компанию;
— Позволит гибко управлять расписанием и загрузкой;
— Разошлет оповещения о новых услугах или акциях;
— Позволит принять оплату на карту/кошелек/счет;
— Позволит записываться на групповые и персональные посещения;
— Поможет получить от клиента отзывы о визите к вам;
— Включает в себя сервис чаевых.
Для новых пользователей первый месяц бесплатно.
Зарегистрироваться в сервисе
В зависимости от происхождения, вида и состава они подразделяются на три основные категории:
• бытовые;
• производственные:
• атмосферные (поверхностные).
Ежегодно в водоемы сбрасывается 160 км3
промышленных стоков, в почвы вносится свыше 500 млн. т минеральных удобрений и около 3 млн. т ядохимикатов, треть которых смывается поверхностными стоками в водоемы. 30% поверхности океана покрыто нефтепродуктами, которые затрудняют поступление кислорода из атмосферы в воду. Сюда же в огромных количествах попадают хлорорганические токсины, радионуклиды, тяжелые металлы.
Около 1,3 млрд. человек пользуются в быту только загрязненной водой, В результате - эпидемии холеры, тифа и других инфекционных заболеваний. Загрязнение рек и морей сопровождается размножением микроорганизмов, массовой гибелью рыб и других водных животных и растений.
Общая масса загрязнителей гидросферы огромна - около 15 млрд. т. в год. К наиболее опасным загрязнителям относятся соли тяжелых металлов, фенолы, пестициды и другие органические яды, нефтепродукты, синтетические поверхностно-активные вещества (СПАВ) и другие моющие средства, минеральные удобрения.
Кроме химического загрязнения, определенное значение имеют также механическое, тепловое, радиоактивное и биологическое загрязнения.
Нормирование качества воды рек,
озер и водохранилищ проводится в соответствии с санитарными правилами и нормами охраны поверхностных вод от загрязнения СанПиН № 4630-88. Согласно указанным правилам, все водоемы делятся на две категории:
1) водоемы питьевого и культурно-бытового назначения;
2) водоемы рыбохозяйственного назначения.
Правила устанавливают нормируемые значения для следующих параметров воды водоемов:
• содержание плавающих примесей и взвешенных веществ,
• органолептические показатели (запах, привкус, окраска),
• температура воды,
• значение рН,
• состав и концентрации минеральных примесей,
• количество растворенного в воде кислорода,
• биохимическая потребность воды в кислороде,
• химическая потребность воды в кислороде,
• состав и предельно допустимая концентрация ядовитых, вредных веществ и болезнетворных бактерий.
ПДКв (г/м3
) - предельно допустимая концентрация вещества в воде водоемов питьевого и культурно-бытового водопользования. Эта концентрация не должна оказывать прямого или косвенного влияния на организм человека в течение всей его жизни и на здоровье последующих поколений, а также не должна ухудшать гигиенические условия водопользования.
Органолептическими показателями, характеризующими качество воды водоемов, являются запах, привкус, окраска.
Значение рН характеризует кислотные свойства среды. Нейтральными считаются воды с рН, находящейся в пределах от 6,5 до 8,5.
Общий уровень загрязнения водоемов может характеризоваться количеством кислорода, расходуемым на окисление загрязнителей. При этом различают биохимическую (БПК) и химическую (ХПК) потребности в кислороде.
Под БПК (мг О2
/л) понимается такое количество кислорода в воде, которое требуется живым организмам для окисления органических загрязнителей, присутствующих в воде, за определенный промежуток времени. Процесс биохимического окисления протекает медленно, поэтому БПК записывается с индексом, обозначающим количество суток, в течение которых шло окисление: БПК5
, БПК10
и т.д. Причем, БПК5
< БПК 10
.
С увеличением индекса БПК стремится к какой-то предельной величине, Эту максимальную величину называют полной биохимической потребностью (БПКп
). Под ХПК понимается величина, характеризующая общее содержание в воде восстановителей, реагирующих с сильными окислителями. ХПК выражается количеством кислорода, эквивалентным количеству расходуемого окислителя, необходимого для окисления всех восстановителей, содержащихся в воде. На практике в качестве окислителя могут использоваться хлор, озон и другие вещества.
Экологические факторы: абиотические, биотические, антропогенные факторы.
Экологические факторы
- это такие свойства компонентов экосистемы и ее внешней среды, которые оказывают непосредственное действие на живые организмы, а также на характер их отношений друг с другом и особями других популяций.
По природе источников и характеру действия факторы среды разделяются на: абиотические, биотические и антропогенные.
Абиотические факторы
- это все свойства неживой природы, которые прямо или косвенно влияют на живые организмы. К ним относятся физические и химические факторы.
Физические факторы, в свою очередь, включают космические, климатические, почвенно-грунтовые, геологические, физические поля (гравитационное, магнитное, электромагнитное), ионизирующую и проникающую радиацию, движение сред (акустические колебания, волны, течения, приливы), суточные и сезонные изменения в природе.
Космические факторы - это поступающая от Солнца энергия и периодическая смена освещенности по времени суток и года, космическая пыль, метеоритное вещество, астероиды, вещества и волны галактического пространства.
Климатические факторы - температура, влажность и прозрачность атмосферного воздуха, движение воздушных масс, атмосферное давление, количество осадков и т.п.
К почвенно-грунтовым факторам относятся почвы различной плодородности и вода различной степени прозрачности, кислотности и наличия растворенных веществ.
Химические факторы - это компонентный состав воздуха, воды, почвы, примеси промышленного происхождения.
Биотические факторы
- это вся совокупность влияния жизнедеятельности одних организмов на другие. Воздействие происходит как внутри видов, так и между видами. Каждый организм постоянно испытывает на себе прямое или косвенное влияние других существ, вступает в связь с представителями своего вида и других видов, зависит от них и сам оказывает воздействие. К этому типу факторов относятся совместная охота и защита от врагов, борьба за пищу и территорию, хищничество, симбиоз и т.п.
Особую роль в биосфере играют антропогенные факторы,
порожденные деятельностью человека и человеческого общества в целом. Часть их связана с хозяйственным изъятием природных ресурсов, нарушением естественных ландшафтов - это вырубка лесов, промысел растений, рыб, птиц и зверей, замена природных комплексов сооружениями, коммуникациями, свалками и пустырями. Другие антропогенные воздействия обусловлены загрязнением природной среды (воздуха, водоемов, земли) побочными продуктами, отходами производства и потребления.
Преобладающая часть антропогенных факторов, связанная с производством, применением техники, машин, с влиянием промышленности, транспорта, строительства на природные экологические системы, носит название техногенных факторов. Нетехногенная часть антропогенных факторов связана, в основном, бытом и поведением человека в природе. Следует подчеркнуть, что значимость разнообразия для природных систем в значительной мере действительна и для социальных структур. Всякое стремление к упрощению социальной структуры общества, перевод ее на однообразие, авторитаризм может дать кратковременный положительный результат, за которым неминуемо проявляются отрицательные последствия.
Рациональное использование водных ресурсов. Защита гидросферы от загрязнений.
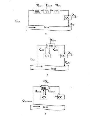
Санитарные правила и нормы охраны поверхностных вод от загрязнения запрещают сбрасывать в водоемы сточные воды, если этого можно избежать, используя более рациональную технологию, безводные процессы и системы повторного и оборотного водоснабжения, а также если сточные воды содержат ценные отходы, которые можно утилизировать. Широкое распространение получило повторное
(последовательное) использование водных ресурсов, При этой системе водоснабжения вода используется последовательно в нескольких производственных процессах или в оборудовании без дополнительной обработки и очистки или после соответствующей очистки (рис,8а). Особенно часто такой способ встречается в отделочном производстве при промывке или крашении продукции. В ряде отраслей промышленности 90-95% сточных вод используется в системах оборотного
водообеспечения (рис. 86), предназначенных для многократного использования воды в технологических процессах. При оборотном водоснабжении предусматривается очистка сточной воды, охлаждение оборотной воды, обработка и повторное использование сточной воды. Применение оборотного водоснабжения позволяет в 10-50 раз уменьшить потребление природной воды.
Основным направлением уменьшения сброса сточных вод и загрязнения ими водоемов является создание замкнутых систем водного хозяйства. Под замкнутой
системой водного хозяйства промышленного предприятия понимается система, в которой вода используется в производстве многократно без очистки или после соответствующей обработки, исключающей образование каких-либо отходов и сброс сточных вод в водоем (рис. 8в). Создание оборотных и замкнутых систем водоснабжения -
наиболее перспективный путь уменьшения потребления свежей воды. Для защиты гидросферы от загрязнения применяют различные методы очистки производственных и бытовых сточных вод. Их можно разделить на пять групп; механические, биохимические (биологические), физико-химические, химические, термические.
Загрязнение и деградация почв. Классификация твердых отходов
Почва - главный фундамент жизни. Это уникальное и, в тоже время, легкоуязвимое природное образование. Человек разрушает почву на глубину 1 см всего за 3 года. Основные причины потерь и деградации почв;
•ветровая и водная эрозия при механической обработке;
•отведение земель под строительство городов, предприятий, дорог и т.п.;
•затопление при строительстве ГЭС;
•загрязнение отходами производства и быта;
•закисление кислотными дождями;
•засоление при неграмотной агротехнике и мелиорации;
•химическое и радиационное загрязнение;
потери при авариях.
Загрязнение земель может осуществляться путем непосредственного внесения в них избыточного количества минеральных удобрений, ядохимикатов, твердых отходов, а также опосредованно через воздушную или водную сред) выхлопными газами автотранспорта, осадками, сточными водами и т.п. Актуальной проблемой для Беларуси является радиоактивное загрязнение местности, вызванное аварией на Чернобыльской АЭС, которому подвержено 22% территории республики.

Рис. 1. Схемы водообеспечения промышленных предприятий:
а) повторно-последовательная; б) оборотная; в) замкнутая ПП - производственный процесс: ОС - очистные сооружения; ОУ - охладительные установки; QИст
- вода, подаваемая от источника; Qпот
- вода, безвозвратно потребляемая предприятием; Q
шл
-
вода, удаляемая со шламом; Qсбр
- вода, сбрасываемая в водоем: Qоб1
- оборотная вода после очистки; Qоб2
- оборотная вода после охладительных установок; Qподпитки
- вода, подаваемая от источника на восполнение ее потерь в процессе использования; Qзамк.1
- вода, возвращаемая в процесс после очистки; Qзамк.2
- вода, возвращаемая в процесс после охлаждения
Поверхность земли испытывает самую значительную по массе и очень опасную антропогенную нагрузку. Ежегодно на землю попадает примерно 85 млрд. т антропогенных отходов. Преобладающая часть этого количества химически инертна. Однако, чтобы разместить его на земле, требуется уничтожить природные экосистемы на значительной площади.
На каждого жителя Земли приходится в среднем за год 0,12 т отходов потребления и около 14 т отходов переработки сырья,
По РБ эти цифры несколько отличаются от мировых: отходов потребления на одного человека приходится около 0,2 т, отходов производства - 2,3 т.
Согласно классификации, все твердые отходы делятся на отходы производства, отходы потребления и опасные (токсичные) отходы.
Отходы производства
- остатки сырья, материалов и полуфабрикатов, образующиеся в процессе производства продукции или выполнения работ и утратившие полностью или частично исходные потребительские свойства, а также сопутствующие вещества, образующиеся в процессе производства и не находящие применения в производстве.
Отходы потребления
- изделия и материалы, утратившие свои потребительские качества вследствие физического либо морального износа. К отходам потребления принадлежат и твердые бытовые отходы, образующиеся в результате жизнедеятельности людей.
Опасные отходы
- отходы, которые в результате реакционной способности или токсичности создают непосредственную или потенциальную опасность для здоровья человека или состояния окружающей среды самостоятельно либо при вступлении в контакт с другими веществами (отходами) и окружающей средой.
Опасные отходы, в свою очередь, включают токсичные и радиоактивные отходы.
Основные положения концепции безотходного производства. Основные направления создания безотходных производств.
Безотходная технология
- это такой способ производства (процесс, предприятие, территориально-производственный комплекс), при котором наиболее рационально и комплексно используется сырье и энергия в цикле: сырьевые ресурсы - производство - потребление - вторичные сырьевые ресурсы таким образом, что любые воздействия на окружающую среду не нарушают ее нормального функционирования, связи с этим можно выделить следующие основные положения концепции безотходного производства.
I.Безотходная технология должна быть практически замкнутой системой, организованной по аналогии с природными экологическими системами.
Основу безотходного производства должен составлять сознательно организованный и регулируемый человеком техногенный круговорот сырья, продукции и отходов. Общая схема названного круговорота представлена на рисунке 1.

Рис. 2. Техногенный круговорот сырья, продукции и отходов.
С - первичное сырье, П - продукция. Р - рассеивание в окружающей среде газообразных и жидких отходов, О - твердые отходы, BMP ~ вторичные материальные ресурсы, ВС -вторичное сырье, НО - неутилизируемые отходы.
Вторичные материальные ресурсы
- совокупность отходов производства и потребления.
Вторичное сырье
- часть вторичных материальных ресурсов, которая в настоящее время может повторно использоваться в хозяйстве.
Неутилизируемые отходы
- часть вторичных материальных ресурсов, для которой в настоящее время отсутствуют условия использования.
2. Основой безотходных производств является комплексная переработка сырья с использованием всех его компонентов.
При этом должно быть обеспечено максимально возможное использование потенциала энергетических ресурсов.
Сырье следует использовать полностью. Между «основным» и «побочным» продуктами не должно быть принципиальных отличий
3. Составной частью концепции безотходного производства является сохранение или ненарушение нормального функционирования окружающей среды.
Теория безотходного производства в рамках основных законов природопользования базируется на 2-х предпосылках:
1) исходные природные ресурсы должны добываться один раз для всех возможных продуктов, а не каждый раз для отдельных;
2) создаваемые продукты после использования по прямому назначению должны относительно легко превращаться в исходные элементы нового производства. Определение безотходной технологии подразумевает не только производственный процесс, но затрагивает и конечную продукцию, которая должна характеризоваться:
* долгим сроком службы изделий;
• возможностью многократного использования;
* простотой ремонта;
• легкостью возвращения в производственный цикл или перевода в эко логически безопасную форму после выхода из строя.
Создание безотходного производства - длительный процесс, требующий решения сложнейших взаимосвязанных технологических, экономических, организационных, психологических и других задач. Поэтому в качестве промежуточного этапа для практических целей используется понятие малоотходного производства.
Малоотходная технология
- это такой способ производства (процесс, предприятие, территориально-производственный комплекс), при котором вредное воздействие на окружающую среду не превышает уровня, допустимого санитарно-гигиеническими нормами; при этом по техническим, организационным, экономическим или другим причинам часть сырья и материалов переходит в отходы и направляется на длительное хранение или захоронение.
Основные направления создания безотходных производств
.
1.Разработка и внедрение принципиально новых технологических процессов и совершенствование существующих технологических процессов получения традиционных видов продукции, позволяющих исключить или сократить технологические стадии, на которых происходит образование основного количества отходов.
2.Повышение комплексности использования материальных и топливно-энергетических ресурсов, разработка и внедрение систем переработки отходов производства и потребления, которые рассматриваются как вторичные материальные ресурсы.
3.Разработка и внедрение замкнутых водо- и газооборотных циклов.
Комбинирование и кооперирование производств на базе комплексной переработки сырья и использования отходов; организация и развитие территориально-производственных комплексов.
ЛИТЕРАТУРА
Основная:
1. Шимова, О.С. Основы экологии и экономика природопользования: Учебник / О.С. Шимова, Н. К. Соколовский. - Мн.: БГЭУ, 2001 -367 с.
2. Акимова, Т.А. Экология: Учебник для вузов / Т.А. Акимова, ВЛЗ. Хаскин. - М: ЮНИТИ, 1998, - 445 с.
З.Маврищев, В.В. Основы общей экологии: Учеб. пособие / В.В, Маврищев. - Мн.: Выш. шк., 2000, - 317 с.
4. Экология: Учебное пособие / Общая ред. С.А. Боголюбова. - М: Знание, 1997.-288 с.
5. Экология и безопасность жизнедеятельности: Учеб. пособие для вузов / Под ред. Л.А. Муравья. - М. ЮНИТИ-ДАНА, 2000. - 447 с.
6.Кормилицын В.И. Основы экологии: Учеб, пособие / В.Ц. Кормилицын. - М.: Интерстиль. 1997. - 368 с.
7. Реймерс, Н.Ф. Охрана природы и окружающей человека среды: Словарь-справочник / Н.Ф. Реймерс. - М: Просвещение, 1992. - 320 с,
8. Охрана окружающей среды: Учеб, для техн. спец, вузов / Под ред. СЗ.
Белова. - М.: Высшая школа, 1991. - 319 с.
Дополнительная:
1. Маглыш,
С.С. Основы экологии и экономика природопользования: Пособие / С.С. Маглыш. - Гродно: ГрГУ, 2002 ~ 126 с.
2.Шимова, О.С. Основы экономики природопользования: Учеб. пособие / О.С. Шимова, Н.К. Соколовский. -Мн: НКФ "Экоперспектива'\ 1995. - 127 с.
3.Шимова, О.С. Эколого-экономическое регулирование: Учеб. пособие / О.С. Шимова. - -Мн., 1998. -НО с.
4.Бобылев, С.Н. Экономика природопользования: Учеб. пособие / С.Н. Бобылев, А.Ш. Ходжаев. - М: ТЕИС, 1997. - 272 с.
5.Неверов, А.В. Экономика природопользования: Учеб. пособие для вузов инж.-экон спец. / А.В, Неверов. - Мн., 1990. - 215с.
6.Экономика природопользования: Учебник / Под ред. Т.С. Хачатурова. -М/. Изд. МГУ, 1991.-271 с,
Т.Глухов, В.В. Экономические основы экологии: Учебник / В.В. Глухов. -СПб: Специальная литература, 1997. - 304 с.
8.Боголюбов, С.А. Экологическое право: Учебник для вузов / С.А, Боголюбов. - М.: НОРМА: ИНФА.,1999. - 448 с.
9. Челноков, А.А. Основы промышленной экологии: Учеб. пособие / А.А, Челноков, Л.Ф, Ющенко. - Мн.: Выш, шк,, 2001. - 343 с.
10. Донской. Н.П. Основы экологии и экономика природопользования: Учеб. пособие для экон. спец. вузов / Н.П. Донской, С А. Донская. - Мн.: УП «Технопринт», 2000. - 308 с
|