Тема: Конструкции и расчёт объёмных гидромашин и элементов гидропривода
1. Гидравлические машины объёмного действия
а) поршневые
б) планетарные
в) пластинчатые
г) шестерённые
2. Гидродвигатели В.П. движения
3. Кондиционеры (резервуары, охладители, Р.В.Д.)
4. Контрольно-регулирующие и распределительные элементы
5. Фильтры и рабочие жидкости гидроприводов
При изучении гидродинамических машин (насосов) мы уже рассматривали их конструкцию.
Вспомним: Гидронасос − машина, преобразующая механическую энергию твёрдого тела в гидравлическую энергию жидкости.
Гидродвигатель − машина, преобразующая гидравлическую энергию жидкости в механическую энергию твёрдого тела.
Объемной гидравлической машиной называют такие гидравлические машины у которой рабочий процесс происходит за счёт попеременного (поочерёдного) заполнения и вытеснения рабочей жидкости из рабочей камеры.
Объёмный гидропривод находит всё большее распространение в сельскохозяйственной отрасли.
При изучении с/х техники в хозяйствах с ней поступит документация, а именно:
- тех паспорт
- инструкция по эксплуатации, где найдёте схему гидросистемы, как ей пользоваться? Что есть что?
Давайте рассмотрим:
Обозначение на схемах:
Насосы:
     
Q- constQ≠constQ−constQ≠const
не регул. Регул. Не регул. Регул.
                   не реверс. Не реврс. Реверс. Реверс.
Гидроматоры:
Применение: ГСТ, в ходовых системах Дон-1500, Е-512, 516 КСК-100 «Полесье»
Гидромашины классифицируются:
1) по принципу действия
− с постоянным и регулируемым объёмом
− с постоянным и регулируемым потоком потоком
- одно, - двух и – многократного действия
2) По конструкции:
− шестерённые, − поршневые,
− пластинчатые, - винтовые, - планетарные и др.
Общие параметры и характеристики гидромашин:
1. рабочий объём, q0
, см3
/об
2. расход жидкости (производительность)
Q=q0
∙n где n[c-1
]
К.П.Д. ηг.м.
=n0
∙ n1
∙ nм
3. Момент, развиваемый гидролмашиной:
M=0.159ΔP∙ q0
∙n
где q0
−см3
/об
ΔP=Pн−Pcп, МПа
4. Мощность
N= M∙ω, где ω-[c-1
]
Поршневые гидромашины: − предназначены для перекачки воды, топлива, масел, жидких удобрений и т.д.
Бывают одно-, двух-, трёх- … … многопоршневые
Забиваем Сайты В ТОП КУВАЛДОЙ - Уникальные возможности от SeoHammer
Каждая ссылка анализируется по трем пакетам оценки: SEO, Трафик и SMM.
SeoHammer делает продвижение сайта прозрачным и простым занятием.
Ссылки, вечные ссылки, статьи, упоминания, пресс-релизы - используйте по максимуму потенциал SeoHammer для продвижения вашего сайта.
Что умеет делать SeoHammer
— Продвижение в один клик, интеллектуальный подбор запросов, покупка самых лучших ссылок с высокой степенью качества у лучших бирж ссылок.
— Регулярная проверка качества ссылок по более чем 100 показателям и ежедневный пересчет показателей качества проекта.
— Все известные форматы ссылок: арендные ссылки, вечные ссылки, публикации (упоминания, мнения, отзывы, статьи, пресс-релизы).
— SeoHammer покажет, где рост или падение, а также запросы, на которые нужно обратить внимание.
SeoHammer еще предоставляет технологию Буст, она ускоряет продвижение в десятки раз,
а первые результаты появляются уже в течение первых 7 дней.
Зарегистрироваться и Начать продвижение

Для любого поршневого насоса объёмная постоянная будет оределятся:
q0
=
где h − ход z − число поршней

Для обеспечения постоянства подачи (равномерности) применяют демпферные устройства:
- гидроколпаки, - гидроаккумуляторы, и др.
Аксиально-поршневые гидромашины:

Применяются в ГСТ:
Особенность: имеют наклонный диск 6
1. Корпус
2. Распределитель
3. Поршень
4. Направляющие обоймы
5. Каналы
Корпус не вращается, вращается наклонный диск (шайба)
q0
=
угол β регулируется (−30…+30)
Имеются машины с наклонным блоком у них угол β − const = 200
…300
.
Применяют у машин, совершающих поворотное движение:краны, экскаваторы, грейдеры и т.п.
Планетарные гидромашины
Применяют для привода рабочих органов с/х машин

При повороте вала на один оборот происодит переключение каналов по следующему циклу: I−IV−VII−VI−II−I. Следовательно, за один оборот ротора у гидромашин происходит шесть рабочих циклов при семи циклах распределителя.
Рабочий узел это шестерённая пара внутреннего зацепления.
q0
=
Dе − диаметр делительной окружности
z1
− число зубьев ротора
z2
− число зубьев статора
е − эксцентриситет
b − величина шестерни
− объёмный К.П.Д.
К.П.К. гидропривод на выгрузном шнеке комбайна
Механические характеристики гидродвигателей в тех. паспорте

Радиально-поршневые машины
Используются в ходовых системах как гидродвигатели;
q0
=
где е − эксцентриситет
z − число поршней
К − число рядов

Радиально-поршневые машины
1. Плунжер
2. Ротор с цилиндрами
3. Распределительное устройство
4. Направляющая обойма
5. Канал
Подача регулируется изменением «е»
Одной из распространённых модификаций является высокомоментальный гидропривод для ходовых колёс.
Высокомоментальный гидродвигатель называют ещё тихоходные гидромоторы.
К.П.Д.
M=
Шестерённые гидромашины
бывают с наружным зацеплением и с внутренним.

Схема шестерённых гидромашин
а) 1. Ведомая шестерня
2. Корпус
3. Ведущая шестерня
4. Вал
А и Б − всасывающая и нагнетательная полости
б) С внутренним зацеплением
1. Внутренняя шестерня
2. Подвижная шестерня
3. Разделитель
4. Вал
5. Корпус
А и Б − всасывающая и нагнетательная полости
q0
=
где m − модуль
b − ширина шестерни
z − число зубьев


где R − радиус выступов
r − радиус впадин
b − ширина шестерни
z − число зубьев
Используются Р=20…50 МПа
Роторно-пластинчатые гидромоторы:

Пластинчатый насос однократного действия
Сервис онлайн-записи на собственном Telegram-боте
Попробуйте сервис онлайн-записи VisitTime на основе вашего собственного Telegram-бота:
— Разгрузит мастера, специалиста или компанию;
— Позволит гибко управлять расписанием и загрузкой;
— Разошлет оповещения о новых услугах или акциях;
— Позволит принять оплату на карту/кошелек/счет;
— Позволит записываться на групповые и персональные посещения;
— Поможет получить от клиента отзывы о визите к вам;
— Включает в себя сервис чаевых.
Для новых пользователей первый месяц бесплатно.
Зарегистрироваться в сервисе
1. Всасывающее окно
2. Пластина
3. Нагнетательное окно
4. Ротор
5. Статор
Объём рабочей жидкости:

где k − число пластин
h − толщина пластин
b − ширина пластин

Промышленный выпуск насосов с постоянным объёмом рабочей жидкости:
q0
=10…850 см3
/об
Рабочее давление ΔP=16…20 МПа
Для роторно-пластинчатых гидромоторов:
q0
=80…16000 см3
/об
Mкр= до 50 кН∙м
Гидродвигатели возвратно-поступательного движения (действия)
Гидродвигатели возвратно-поступательного движения (действия) – машина преобразующая гидравлическую энергию жидкости в возвратно-поступательное движение твёрдого тела.
К ним относятся
− гидроцилиндры
− поворотники различного рода
− вибраторы (ДВП−80)
Гидроцилиндры
1) 2)
3) 
1) Гидродвигатель одинарного действия
2) Гидродвигатель двойного действия
3) Телескопический
Основной характер является усилие на штоке

где ηц
=0,97…0,98
Мощность гидроцилиндра
N=F∙σ=

Крутящий момент

ΔP − перепад давления
Sп
− площадь поршня
De
− диаметр делительной окружности шестерни
z − количество одновременно работающих поршеней
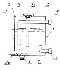
3. КОНДИЦИОНЕРЫ (Резервуары, охладители, гидроаккумуляторы, трубопроводы, фильтры)
Обозначаются на схемах

Корпус
1. Перегородка
2. Фильтр
3. Горловина
4. Сливная магистраль
5. Сапун
6. Всасывающая магистраль
7. Сливная пробка с магнитом
8. Щуп
9. Охладитель
Резервуары могут быть с атмосферным давлением и с избыточным
Тракторный резервуар с атмосферным
ГСТ−90 с избыточным
Объём резервуара:
V=
c − количество тепла выделяемое при работе
a − коэффициент перевода [Дж] 0,06−0,069
Ктп −коэффициент теплопередачи жидкости окружающему воздуху.
tж
− темп. жидк.
tв
− тепература
Трудно подсчитать V − резервуара можно подсчитать, используя формулу:
V=(0,5÷2)qH
где qH
− производительность насоса в л/мин
НШ−32 − qH
=40 л/мин
Если работает система перемешки, то V=0,5 qH
≈20 л
то V=2∙qH
≈80 л
ОХЛАДИТЕЛИ
На схемах:

открытый закрытый охладитель отвода
тепла
Площадь охладителя:

В результате нагрева рабочей жидкости
C − тепло гидроприв. отвод.
Cp
− количество тепла отводящееся поверхности резервуара
ГИДРОАККУМУЛЯТОРЫ
Могут быть диафрагмовые, плунжерные, поршневые
V=Sп∙h
h − зависит от глубины обработки
При сжатии газа происходит политропный процесс (закон)

χ=1,4
V1
− объём при Рт
V,P − объём и давление текущее (изменение) при текущем Р
Гидроаккумулятор газовый поршневой
ТРУБОПРОВОДЫ
     На схемах: соедин. не соед.
   необходимо соед.
Диаметр труб выбирает исходя из уравнения неразрывности
Q=v∙S

где v − скорость движения жидкости в трубопроводе.
Q − расход.
Для тонкой очистки необходимы керамические фильтры. Если бы примеси удалось уменьшить с 25 до 5, то срок службы увеличился бы в 10 раз.
Жидкости могут отстаиваться (очищаться) в − гравитационном поле
− центробежном поле
− магнитном поле
− и очищающих элементах
Фильтры: поверхностные, объёмные, комбинированные.
Различают фильтры: 1) сетчатые
2) из тонкой войлочной бумаги
3) сетки с войлочной бумагой
Фильтры характеризует коэффициент фильтрации:
К= ,
где n1
− количество частиц вне фильтрации
Пропускная способность фильтра Qф
,
где К − удельная пропускная способность
S − полощадь фильтрующего материала
μ − коэффициент динамической вязкости
Если взять загрязнённость воздуха она находится в пределах (от 0,047 до 3,43) г/м3
пыли
Для жидкости это загрязнение активное.
     На схеме:
фильтр
Контрольно-регулирующие и распределительные элементы.
Клапана: − переливные
− предохранительные
− разности потоков
                       На схемах: регулируемые винтом
Наиболее распространённые
− шариковые
                         
h − величина подъёма клапана (сжатая пружина)
                        − конусные
dу
− условный диаметр
Расход жидкости через клапан

Коэффициент расхода μкл
=0,6÷0,72;
Высота подъёма клапана:

α=450
− для шариковых
α=300
=600
− для конусных
Если необходимо отрегулировать давление, то при определенном давлении срабатывает клапан
;
Cn
− жёсткость пружины
h − высота срабатывания (деформация пружины)
Делители потока (мощности)
− дроссельные, − объёмные регулируемый
    На схемах: дроссель дроссель
                   Дроссельный делитель
Объёмные делители:
     N1
      NN2
N=N1
+N2
ΔPQ=ΔP1
Q1
+ΔP2
Q2
без учёта η
Контрольно-регулирующие и распределительные элементы.
Распределители: − золотниковые (ьракторные), − крановые(комбайн), − клапанные (комбайн)
одно-, двух- (Т-25)… − многосекционные (3-х МТЗ)
двух−позиционные 3-х позиционные
   подъём опускание подъём опускание
4-х позиционные пл
пл заперто
С управлением: − ручным, − механическим, − электрическим, − пневматическим, − гидравличеким.
       На схемах: с ручным управленеим
  4-х позиционные электромагнитный
            2-х поточные управляемый
  Характеристики распределителей
               а − ширина протока
           Qab − ширина пояска
 золотника
a=b − золотник с нулевым
                           X перекрытием
зол.
перемещ.
 Q
b
   b>a золотник с положительным перекрытием
a>b золотник с отрицательным перекрытием X
Q
 зона запаздывания
(Релейная характеристика)
X
Расход через золотник:

                        Sз
= sinα=1
sinα=1
α
sinα≠1sinα≠1
Плавное изменение параметров
Уплотнения и герметичность
В элементах гидропривода бывают подвижные и неподвижные соединения, радиальные и торцовые……
                                                                                                       Уплотнение достигается эластичными кольцами, которые уплотняют.
П −образн. Х− образн.
Манжета
                       Механические уплотнители
Лабиринтное уплотнение
Клапан с проточками
Кроме этого набивочное, диафрагмой……
По герметичности имеется 11 классов герметизации
1 класс − нет утечек или min
11 класс − допустимые утечки.
              Подбор колец для уплотнения:
dк

dк= ,
Жидкости
Свойства изучаемые на первом занятии:
Все относится к гидроприводам.
Особенности жидкости гидропривода в том, что они работают при T=−500
…+500
С и при Р=0,1 до 25 МПа (гидроприводы с/х машин)
Изменение температуры на 1 градус приводит к изменению v на 1 порядок.
Изменение давления приводит к изменению v на 4 порядка.
В жидкости присутствует воздуха 7÷12% воздуха эти воздушные составляющие нарушают работу гидропривода, изменяя жесткость работы.
Марки жидкостей применяемых в ГСМ
М−10Т
МГ−10, 30.
|